20-检验科标本接收流程图
- 格式:doc
- 大小:661.00 KB
- 文档页数:2
检验科工作流程图住院病人就诊检验流程门诊病人就诊检验流程检验科不合格标本处理流程.检验科各岗位日常工作流程图生化室岗位日常工作流程图.免疫室岗位日常工作流程图.血液组岗位日常工作流程图常规室体液组岗位日常工作流程图血凝分析岗位日常工作流程图骨髓细胞分析岗位日常工作流程图.微生物室岗位日常工作流程图.HIV抗体筛查室岗位日常工作流程图检验科废物处置流程检验科生化室临检室 微生物 1.废弃血液标本、尿液、加样枪尖、针头等,各类医用后用品等 2.废弃仪器试剂包、实验室质控品等3.一次性手套、口罩、帽子等。
1.废弃的血液 、血清、清洗液等2.一次性吸管、加样枪尖、微量吸管、表抗等试剂条等3.实验室质控品等4.一次性使用的口罩、帽子、手套等5.传染病患者或者疑似传染病患者产生的生活垃圾等 6微量吸管、一次性吸管以及移液器头等 7.使用后一次性医疗用品及医疗器械等 8.化学试剂等1.被检患者血液污染的棉签、一次性试管等物品2. 各个仪器使用后的废液等。
3.血图片,各类染色分片4.废弃的体夜(如尿液、胸腹水、穿刺液等)、粪便等。
1各个仪器使用后的废液等。
2.各种化学废液1.病原体培养基、标本和菌种、毒种等 2.结核等传染病人的标本等 3.一次性用品、棉签、衣、帽、试管等 4.接种生化反应管等黄色利器盒用防渗漏的专用桶加入2000mg /L 的含氯消毒剂浸泡24小时后倒入下水道 每日由科室工作人员负责收集、分类、高压消毒出科前工作人员与保洁人员一起核实并填写《医疗废物转交登记表》医院医疗废物暂存地(专业人员负责管理)医疗废物集中处理机构由产生废物的实验室负责 免疫室 黄色包装袋每日由专人用密闭容生活 垃圾1.一般废物、家居及办公废物、剩余饭菜、果皮果核、罐头盒、饮料瓶、手纸、包装纸等2.使用后,未被病人血液、体液、排泄物污染的的各种玻璃制品等医 疗 废 物环卫部门 设置的普通垃圾筒、箱黑色代经专用管道排入医院污水处理系统废液医疗废物处理流程医疗废物产生地.采血室岗位日常工作流程图。
标本接收流程The Standardization Office was revised on the afternoon of December 13, 2020标本接收流程一、流程图(一)标本接收1、明确标本类型 (1)常规的标本类型:如血清、血浆、全血、尿液、分泌物、病理组织、脱落细胞等。
大多数项目检测需要血清,特殊项目有不同的标本要求,接收时注意区分。
(2)异常标本的识别:①性状不符合检测要求(例如溶血、脂浊等),应拒绝接收或者跟客户确定后送检,在接收单上备注原因。
②量少的标本(以项目册上的标本要求为准),应当场要求多采一些或者应客户要求送检,但需在接收单上体现。
③标本类型不符合的,应拒绝接收并告知客户标本要求,建议重新采样。
如客户执意要求送检的,需要在申请单上注明“此标本属不合格标本,院方要求试做”,并要求院方签字。
2、核对检测项目明确送检项目的名称,以中心项目册为准,不能有歧义,部分项目是必须按中心组套检测的,要特别注意。
如中心未开展的项目,不予接收,如有疑问,要与客服联系。
3、标本、申请单、接收单的核对在接收单上签字 接收标本、包装(1)申请单和标本上条码一致,条码一式三份,保证送检的标本及申请单上各一份,注意血清管上的条形码要竖贴。
(2)使用正确的申请单,检查信息是否完整。
申请单字迹要清晰,若医生字迹潦草,则需要与检验科医生确认后在旁边重新用正楷书写一遍。
(3)申请单和接收单信息要相符(中心实验室以申请单上的检测项目为准)。
(4)标本接收单,上面信息要书写完整、明确(包括客户名称、病人的条形码、姓名、性别、年龄、检测项目、性状、类型、客户及接收者签名)。
写好之后核对一次,然后给客户签字。
4、填写《每日工作汇报表》记录完整且记录修改的要符合体系文件要求。
5、包装每个标本用小号自封袋分装开,并将申请单和标本接收单(检验中心联)一起装入中号或者大号的自封袋。
长沙市区可以用试管架(保持平衡)。
检验科工作流程图当天检验标本住院病人就诊检验流程各类穿刺液等血液大小便门诊病人就诊检验流程大小便其它检验项目血液标本检验检验科不合格标本处理流程检验科各岗位日常工作流程图生化室岗位日常工作流程图免疫室岗位日常工作流程图血液组岗位日常工作流程图常规室体液组岗位日常工作流程图血凝分析岗位日常工作流程图骨髓细胞分析岗位日常工作流程图微生物室岗位日常工作流程图HIV抗体筛查室岗位日常工作流程图检验科废物处置流程检验科生化室临检室 微生物 1.废弃血液标本、尿液、加样枪尖、针头等,各类医用后用品等 2.废弃仪器试剂包、实 1.废弃的血液 、血清、清洗液等2.一次性吸管、加样枪尖、微量吸管、表抗等试剂条等4.一次性使用的口罩、帽子、手套等 5.传染病患者或者疑似传染病患者产生的生活垃圾等 6微量吸管、一次性吸管以及移液器头等1.被检患者血液污染的棉签、一次性试管等物品2. 各个仪器使用后的废液等。
3.血图片,各类染色分片1各个仪器使用后的废液等。
2.各种化学废液1.病原体培养基、标本和菌种、毒种等2.结核等传染病人的标本等3.一次性用品、棉签、衣、帽、黄色利器盒用防渗漏的专用桶加入2000mg/L 的含氯消毒每日由科室工作人员负责收集、分类、高压消毒出科前工作人员与保洁人员一起核实并填写《医疗废物转交登记表》医院医疗废物暂存地(专业人员负责管理)医疗废物集中处理机构免疫室 黄色包装每日由专人用生活垃圾1.一般废物、家居及办公废物、剩余饭菜、果皮果核、罐头盒、饮料瓶、手纸、包装纸等2.使用后,未被病人环卫部门 设置的普通垃圾黑色代经专用管道排入医院污水处废液医疗废物处理流程医疗废物产生地采血室岗位日常工作流程图。
标本接收流程一、流程图二、流程说明(一)标本接收1、明确标本类型(1)常规的标本类型:如血清、血浆、全血、尿液、分泌物、病理组织、脱落细胞等。
大多数项目检测需要血清,特殊项目有不同的标本要求,接收时注意区分。
(2)异常标本的识别:①性状不符合检测要求(例如溶血、脂浊等),应拒绝接收或者跟客户确定后送检,在接收单上备注原因。
②量少的标本(以项目册上的标本要求为准),应当场要求多采一些或者应客户要求送检,但需在接收单上体现。
③标本类型不符合的,应拒绝接收并告知客户标本要求,建议重新采样。
如客户执意要求送检的,需要在申请单上注明“此标本属不合格标本,院方要求试做”,并要求院方签字。
2、核对检测项目明确送检项目的名称,以中心项目册为准,不能有歧义,部分项目是必须按中心组套检测的,要特别注意。
如中心未开展的项目,不予接收,如有疑问,要与客服联系。
3、标本、申请单、接收单的核对(1)申请单和标本上条码一致,条码一式三份,保证送检的标本及申请单上各一份,注意血清管上的条形码要竖贴。
(2)使用正确的申请单,检查信息是否完整。
申请单字迹要清晰,若医生字迹潦草,则需要与检验科接收员到达医院 核对检测项目、标本类型与数量 在接收单上签字接收标本、包装 检查备用物料 填写每日工作汇报表包装、托运向物流部报标本 次日早上配送报告单医生确认后在旁边重新用正楷书写一遍。
(3)申请单和接收单信息要相符(中心实验室以申请单上的检测项目为准)。
(4)标本接收单,上面信息要书写完整、明确(包括客户名称、病人的条形码、姓名、性别、年龄、检测项目、性状、类型、客户及接收者签名)。
写好之后核对一次,然后给客户签字。
4、填写《每日工作汇报表》记录完整且记录修改的要符合体系文件要求。
5、包装每个标本用小号自封袋分装开,并将申请单和标本接收单(检验中心联)一起装入中号或者大号的自封袋。
长沙市区可以用试管架(保持平衡)。
附上《每日工作汇报表》。
标本一般都要低温运送,夏天附冰袋(避免溶血,培养、病理等特殊标本例外)。
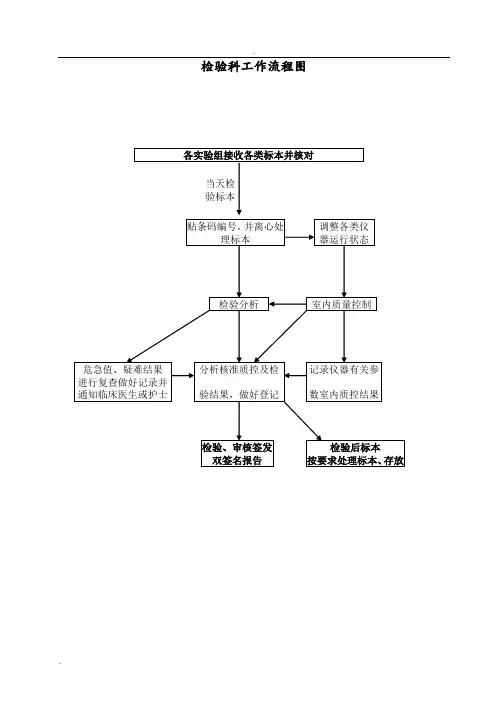
检验科工作流程图各实验组接收各类标本并核对危急值、疑难结果进行复查做好记录并通知临床医生或护士调整各类仪器运行状态检验分析贴条码编号,并离心处理标本检验后标本按要求处理标本、存放当天检验标本记录仪器有关参数室内质控结果检验、审核签发双签名报告室内质量控制分析核准质控及检验结果,做好登记住院病人就诊检验流程送回各病房并签收各实验组检验后签发报告单检验科各实验组 具体实验组进行检验嘱病人按要求留取标本 按有关要求采取血液样本护士工作站填写患者标识、抽血、上费用穿刺标本按要求处理各类穿刺液等医生申请检验项目申请、填写检验申请输入电脑网络血液 大小便 签收门诊病人就诊检验流程大小便到医生处诊疗患者取报告患者取报告体液实验室或相关部门各实验组检验后并核对签发报告到相应实验组留取病人留取标本病人凭检验单到门诊采血室采血(按项目要求),瞩病人取报告时间病人持就诊卡到收费处交费医生填写检验申请单其它检验项目血液标本检验病人持就诊卡各实验组检测后签发报告单检验科不合格标本处理流程不合格标本不合格标本送实验室处理不合格标本记录后,通知申请科室重新留取病房检验单每天下午返回病房门诊检验单:血液每天下午13点30分取 体液其它按检验人员提示取病房标本接收 检查核对患者信息及条形码,观察标本状态门诊标本采集核对条形码及患者信息,观察标本状态不合格标本登记后退回重新留取重新留取后,各实验组检验后并核对签发报告检验科各岗位日常工作流程图生化室岗位日常工作流程图接收标本(门诊、病房)准备阶段:在收到标本后,按条码组合进行分类、编号,离心分离血清,并将血清吸入检测杯或直接将样品管按顺序放入样品架上(盘)。
血清标本上机分析:开机后先检查试剂,用省临检中心提供的质控物做病人标本和室内质控检测,质控在控(±2SD)范围合格。
否则需要检查不合格项单个项目和小组合先安排,如有急诊项目则于急诊程序优先检测。
结果报告与审核核对:生化分析仪每完成一个组合的测定即给出结果,其结果实时传送到LIS系统,通过在电脑屏幕上根据条码收费项目逐一审核后打印出检验报告。
.检验科工作流程图各实验组接收各类标本并核对当天检验标本贴条码编号并离心调整各类仪器运行状理标检验分室内质量控危急值、疑难结果分析核准质控及检记录仪器有关参进行复查做好记录并数室内质控结果验结果,做好登记通知临床医生或护士检验、审核签发检验后标本双签名报告按要求处理标本、存放..住院病人就诊检验流程医生申请检验项目申请、填写检验申请输入电脑网络各类穿护士工作站填写患者标刺液等识、抽血、上费用血液大小便穿刺标本按要求处理嘱病人按按有关要求采取血液样求留取标检验科各实验组签收具体实验组进行检验各实验组检验后签发报告单送回各病房并签收..门诊病人就诊检验流程病人持就诊卡医生填写检验申请单病人持就诊卡到收费处交费大小便其它检验项目血液标本检验到相应实验组留取病人留取标本病人凭检验单到门诊采血室采血(按项目要求),瞩病人取报告时间体液实验室或相关部门各实验组检验后并各实验组检测后签发报告单核对签发报告患者取报告患者取报告到医生处诊疗..检验科不合格标本处理流程不合格标本登记后退不合格标本记录后,通知申请科室重新留取回重新留取重新留取后,各实验组检验后并核对签发报告病房检验单每天下午返回病房分取13门诊检验单:血液每天下午点30体液其它按检验人员提示取..检验科各岗位日常工作流程图生化室岗位日常工作流程图审核签发报告单发出生化室,送至检验报告发单处病房报告单送往各个病区..如临床医生对患者结果有疑问或反馈意见时,生化室工作人员要及时查找原因和处理,并做出合理解释,处理不了的要报告室组长,再由室组长报告科主任。
免疫室岗位日常工作流程图如临床医生对患者结果有疑问或反馈意见时,免疫室工作人员要及时查找原因和处理,并做出合理解释,处理不了要报告室组长,再由室组长报告科主任。
..血液组岗位日常工作流程图打印出的检验报告单上,并记录方可发出。
审核签发报告单送至检验报告发单处病房报告送往各个病区如临床医生对患者结果有疑问或反馈意见时,常规室工作人员要及时查找原因和处理,并做出合理解释,处理不了的要报告室组长,再由室组长报告科主任。
检验科工作流程图住院病人就诊检验流程各类穿刺液等血液大小便门诊病人就诊检验流程检验科不合格标本处理流程检验科各岗位日常工作流程图生化室岗位日常工作流程图免疫室岗位日常工作流程图血液组岗位日常工作流程图.常规室体液组岗位日常工作流程图.血凝分析岗位日常工作流程图.骨髓细胞分析岗位日常工作流程图微生物室岗位日常工作流程图.HIV抗体筛查室岗位日常工作流程图.. 检验科废物处置流程检验科生化室临检室微生物1.废弃血液标本、尿液、加样枪尖、针头等,各类医用后用品等2.废弃仪器试剂包、实验室质控品等3.一次性手套、口罩、帽子等。
1.废弃的血液、血清、清洗液等2.一次性吸管、加样枪尖、微量吸管、表抗等试剂条等3.实验室质控品等4.一次性使用的口罩、帽子、手套等5.传染病患者或者疑似传染病患者产生的生活垃圾等6微量吸管、一次性吸管以及移液器头等7.使用后一次性医疗用品及医疗器械等8.化学试剂等1.被检患者血液污染的棉签、一次性试管等物品2. 各个仪器使用后的废液等。
3.血图片,各类染色分片4.废弃的体夜(如尿液、胸腹水、穿刺液等)、粪便等。
1各个仪器使用后的废液等。
2.各种化学废液1.病原体培养基、标本和菌种、毒种等2.结核等传染病人的标本等3.一次性用品、棉签、衣、帽、试管等4.接种生化反应管等黄色利器盒用防渗漏的专用桶加入2000mg/L的含氯消毒由产生废物的实验室负责免疫室黄色包装袋每日由专人用密闭容生活垃圾1.一般废物、家居及办公废物、剩余饭菜、果皮果核、罐头盒、饮料瓶、手纸、包装纸等2.使用后,未被病人血液、体液、排泄物污染的的各种玻璃制品等医疗废物废液医疗废物处理流程.医疗废物产生地采血室岗位日常工作流程图..。
查验科工作流程图各实验组接收各种标本并查对当日检验标本贴条码编号,并离心处理标本调整各种仪器运转状态查验剖析室内质量控制紧急值、疑难结果剖析批准质控及检记录仪器有关参进行复查做好记录并通知临床医生或护士验结果,做好登记数室内质控结果查验、审查签发双署名报告查验后标本按要求办理标本、寄存各种穿刺液等穿刺标本按要求办理医生申请查验项目申请、填写查验申请输入电脑网络护士工作站填写患者标识、抽血、上花费血液大小便按有关要求采嘱病人按要取血液样本求留取标本查验科各实验组签收详细实验组进行查验各实验组查验后签发报告单送回各病房并签收病人持就诊卡医生填写查验申请单血液标本查验病人持就诊卡到收费处交费大小便其余查验项目病人凭查验单到门病人留取标本到相应实验组留取诊采血室采血(按项目要求),瞩病人取报告时间体液实验室或有关部门各实验组查验后并各实验组检测后签发报告单查对签发报告患者取报告患者取报告到医生处诊断查验科不合格标本办理流程病房标本接收检查查对患者信息及条形码,察看标本状态门诊标本采集核对条形码及患者信息,察看标本状态不合格标本不合格标本送实验室办理不合格标本记录后,通不合格标本登记退后知申请科室从头留取回从头留取从头留取后,各实验组检验后并查对签发报告病房查验单每天下午返回病房门诊查验单:血液每天下午13点 30分取体液其余按查验人员提示取查验科各岗位平时工作流程图生化室岗位平时工作流程图接收标本(门诊、病房)准备阶段:在收到标本后,按条码组合进行分类、编号,离心分别血清,并将血清吸入检测杯或直接将样品管按次序放入样品架上(盘)。
血清标本上机剖析:开机后先检查试剂,用省临检中心供给的质控物做病人标本和室内质控检测,质控在控(± 2SD)范围合格。
不然需要检查不合格项单个项目和小组合先安排,若有急诊项目则于急诊程序优先检测。
结果报告与审查查对:生化剖析仪每达成一个组合的测定即给出结果,其结果及时传递到 LIS 系统,经过在电脑屏幕上依据条码收费项目逐个审查后打印出查验报告。
检验科工作流程图住院病人就诊检验流程门诊病人就诊检验流程检验科不合格标本处理流程检验科各岗位日常工作流程图生化室岗位日常工作流程图免疫室岗位日常工作流程图血液组岗位日常工作流程图常规室体液组岗位日常工作流程图血凝分析岗位日常工作流程图骨髓细胞分析岗位日常工作流程图微生物室岗位日常工作流程图HIV抗体筛查室岗位日常工作流程图检验科废物处置流程检验科生化室临检室 微生物 1.废弃血液标本、尿液、加样枪尖、针头等,各类医用后用品等 2.废弃仪器试剂包、实验室质控品等3.一次性手套、口罩、帽子等。
1.废弃的血液 、血清、清洗液等2.一次性吸管、加样枪尖、微量吸管、表抗等试剂条等3.实验室质控品等4.一次性使用的口罩、帽子、手套等5.传染病患者或者疑似传染病患者产生的生活垃圾等 6微量吸管、一次性吸管以及移液器头等 7.使用后一次性医疗用品及医疗器械等 8.化学试剂等1.被检患者血液污染的棉签、一次性试管等物品2. 各个仪器使用后的废液等。
3.血图片,各类染色分片4.废弃的体夜(如尿液、胸腹水、穿刺液等)、粪便等。
1各个仪器使用后的废液等。
2.各种化学废液1.病原体培养基、标本和菌种、毒种等 2.结核等传染病人的标本等 3.一次性用品、棉签、衣、帽、试管等 4.接种生化反应管等黄色利器盒用防渗漏的专用桶加入2000mg /L 的含氯消毒剂浸泡24小时后倒入下水道 每日由科室工作人员负责收集、分类、高压消毒出科前工作人员与保洁人员一起核实并填写《医疗废物转交登记表》医院医疗废物暂存地(专业人员负责管理)由产生废物的实验室负责 免疫室 黄色包装袋每日由专人用密闭容生活 垃圾1.一般废物、家居及办公废物、剩余饭菜、果皮果核、罐头盒、饮料瓶、手纸、包装纸等2.使用后,未被病人血液、体液、排泄物污染的的各种玻璃制品等医 疗 废 物环卫部门 设置的普黑色代经专用管道排废液医疗废物处理流程医疗废物产生地采血室岗位日常工作流程图(专业文档是经验性极强的领域,无法思考和涵盖全面,素材和资料部分来自网络,供参考。
检验科工作流程图住院病人就诊检验流程门诊病人就诊检验流程检验科不合格标本处理流程检验科各岗位日常工作流程图生化室岗位日常工作流程图精品文档免疫室岗位日常工作流程图血液组岗位日常工作流程图常规室体液组岗位日常工作流程图血凝分析岗位日常工作流程图骨髓细胞分析岗位日常工作流程图微生物室岗位日常工作流程图HIV抗体筛查室岗位日常工作流程图检验科废物处置流程检验科生化室临检室 微生物 1.废弃血液标本、尿液、加样枪尖、针头等,各类医用后用品等 2.废弃仪器试剂包、实验室质控品等3.一次性手套、口罩、帽子等。
1.废弃的血液 、血清、清洗液等2.一次性吸管、加样枪尖、微量吸管、表抗等试剂条等3.实验室质控品等4.一次性使用的口罩、帽子、手套等5.传染病患者或者疑似传染病患者产生的生活垃圾等 6微量吸管、一次性吸管以及移液器头等 7.使用后一次性医疗用品及医疗器械等 8.化学试剂等1.被检患者血液污染的棉签、一次性试管等物品2. 各个仪器使用后的废液等。
3.血图片,各类染色分片4.废弃的体夜(如尿液、胸腹水、穿刺液等)、粪便等。
1各个仪器使用后的废液等。
2.各种化学废液1.病原体培养基、标本和菌种、毒种等 2.结核等传染病人的标本等 3.一次性用品、棉签、衣、帽、试管等 4.接种生化反应管等黄色利器盒用防渗漏的专用桶加入2000mg /L 的含氯消毒剂浸泡24小时后倒入下水道 每日由科室工作人员负责收集、分类、高压消毒出科前工作人员与保洁人员一起核实并填写《医疗废物转交登记表》 医院医疗废物暂存地(专业人员负责管理)医疗废物集中处理机构由产生废物的实验室负责 免疫室 黄色包装袋每日由专人用密闭容生活 垃圾1.一般废物、家居及办公废物、剩余饭菜、果皮果核、罐头盒、饮料瓶、手纸、包装纸等2.使用后,未被病人血液、体液、排泄物污染的的各种玻璃制品等医 疗 废 物环卫部门 设置的普通垃圾筒、箱黑色代经专用管道排入医院污水处理系统废液医疗废物处理流程医疗废物产生地采血室岗位日常工作流程图。
资料内容仅供您学习参考,如有不当或者侵权,请联系改正或者删除。
检验科工作流程图
住院病人就诊检验流程
门诊病人就诊检验流程
检验科不合格标本处理流程
检验科各岗位日常工作流程图生化室岗位日常工作流程图
免疫室岗位日常工作流程图
血液组岗位日常工作流程图
常规室体液组岗位日常工作流程图
血凝分析岗位日常工作流程图
骨髓细胞分析岗位日常工作流程图
微生物室岗位日常工作流程图
HIV抗体筛查室岗位日常工作流程图
检验科废物处理流程检验科
医疗废物处理流程
黄色利器
用防渗
漏的专用桶加
入
mg/L 的含氯
每日由科室工作人员负责收集、 分类、 高压消毒 出科前工作人员与保洁人员一起核实并填写《医疗废物转交
医院医疗废物暂存地( 专业人员负责管理)
医疗废物集中处理机构
黄色包装
环卫部
门 设置的普通垃圾筒、 箱
黑色代
经专用管道排入医院污水处
医疗废物产生地
采血室岗位日常工作流程图。
检验科中的标本接收与登记流程在检验科中,标本接收与登记是非常重要的环节。
正确的标本接收与登记流程可以确保标本信息的准确性,为后续的检验工作提供可靠的数据支持。
下面将介绍检验科中标本接收与登记的具体流程。
一、标本接收
1. 标本送达:当患者将标本送至检验科时,接待员需要先进行标本的核对,确保患者信息与标本信息一致。
2. 标本识别:接待员需要根据标本上的标识符号,如患者姓名、病历号等信息,对标本进行识别并确认无误。
3. 标本验收:接待员在验收标本时,需要检查标本容器的密封性、完整性,并注意标本类型和数量是否符合要求。
二、标本登记
1. 登记信息录入:接待员将标本相关信息录入系统,包括患者基本信息、标本类型、送检科室等内容。
2. 标本分配:接待员根据标本的类型和检验项目,将标本分配给相应的实验室或技师进行进一步处理。
3. 标本储存:接待员需将已登记的标本妥善存放于指定位置,确保标本不受污染或交叉感染。
以上是检验科中标本接收与登记的基本流程,每一个环节都至关重要。
只有严格遵守标本接收与登记规程,才能确保检验结果的准确性
和可靠性,保障患者的健康与安全。
希望每一位工作人员都能严格执行标本接收与登记流程,做好每一个细节,为医疗检验工作的顺利进行贡献自己的力量。
检验科工作流程图各实验组接收各类标本并核对当天检验标本住院病人就诊检验流程门诊病人就诊检验流程病人持就诊卡医生填写检验申请单病人持就诊卡到收费处交费血液标本检验大小便其它检验项目1! 1病人凭检验单到门诊米血室米血(按项目要求),瞩病人取报告时间各实验组检验后并核对签发报告患者取报告患者取报告到医生处诊疗检验科不合格标本处理流程门诊标本米集核对条形码及患者信息,观察标本状态不合格标本记录后,通知申请科室重新留取不合格标本登记后退回重新留取重新留取后,各实验组检验后并核对签发报告病房检验单每天下午返回病房门诊检验单:血液每天下午13点30分取体液其它按检验人员提示取病房标本接收检查核对患者信息及条形码,观察标本状态检验科各岗位日常工作流程图生化室岗位日常工作流程图血清标本上机分析:开机后先检查试剂,用省临检中心提供的质控物做病人标本和室内质控检测,质控在控(土2SD范围合格。
否则需要检查不合格项单个项目和小组合先安排,免疫室岗位日常工作流程图血液组岗位日常工作流程图常规室体液组岗位日常工作流程图血凝分析岗位日常工作流程图骨髓细胞分析岗位日常工作流程图微生物室岗位日常工作流程图HIV抗体筛查室岗位日常工作流程图如医生对患者结果有疑问和反馈意见时,HIV抗体筛查室工作人员及时查找原因和处理,处理不了的HIV抗体筛查室岗位日常工作流程图先报告纟组长,再由纟组长报告科主任。
生化室检验科废物处置流程由产生废物的实验室负责医疗废物临检室免疫室微生物废液1. 废弃血液标本、尿液、加样枪尖、针头等,各类医用后用品等2. 废弃仪器试剂包、实验室质控品等3. 一次性手套、口罩、帽子等。
1. 被检患者血液污染的棉签、一次性试管等物品2. 各个仪器使用后的废液等。
3. 血图片,各类染色分片4. 废弃的体夜(如尿液、胸腹水、穿刺液等)、粪便等。
4. 一次性使用的口罩、帽子、手套等5. 传染病患者或者疑似传染病患者产生的生活垃圾等6微量吸管、一次性吸管以及移液器头等7. 使用后一次性医疗用品及医疗器械等8. 化学试剂等1. 废弃的血液、血清、清洗液等2. 一次性吸管、加样枪尖、微量吸管、表抗等试剂条等3. 实验室质控品等1. 病原体培养基、标本和菌种、毒种等2. 结核等传染病人的标本等3. 一次性用品、棉签、衣、帽、试管等4. 接种生化反应管等1各个仪器使用后的废液等。