检验科工作流程图(参考模板)
- 格式:doc
- 大小:45.00 KB
- 文档页数:3
检验科工作流程图住院病人就诊检验流程门诊病人就诊检验流程检验科不合格标本处理流程.检验科各岗位日常工作流程图生化室岗位日常工作流程图.免疫室岗位日常工作流程图.血液组岗位日常工作流程图常规室体液组岗位日常工作流程图血凝分析岗位日常工作流程图骨髓细胞分析岗位日常工作流程图.微生物室岗位日常工作流程图.HIV抗体筛查室岗位日常工作流程图检验科废物处置流程检验科生化室临检室 微生物 1.废弃血液标本、尿液、加样枪尖、针头等,各类医用后用品等 2.废弃仪器试剂包、实验室质控品等3.一次性手套、口罩、帽子等。
1.废弃的血液 、血清、清洗液等2.一次性吸管、加样枪尖、微量吸管、表抗等试剂条等3.实验室质控品等4.一次性使用的口罩、帽子、手套等5.传染病患者或者疑似传染病患者产生的生活垃圾等 6微量吸管、一次性吸管以及移液器头等 7.使用后一次性医疗用品及医疗器械等 8.化学试剂等1.被检患者血液污染的棉签、一次性试管等物品2. 各个仪器使用后的废液等。
3.血图片,各类染色分片4.废弃的体夜(如尿液、胸腹水、穿刺液等)、粪便等。
1各个仪器使用后的废液等。
2.各种化学废液1.病原体培养基、标本和菌种、毒种等 2.结核等传染病人的标本等 3.一次性用品、棉签、衣、帽、试管等 4.接种生化反应管等黄色利器盒用防渗漏的专用桶加入2000mg /L 的含氯消毒剂浸泡24小时后倒入下水道 每日由科室工作人员负责收集、分类、高压消毒出科前工作人员与保洁人员一起核实并填写《医疗废物转交登记表》医院医疗废物暂存地(专业人员负责管理)医疗废物集中处理机构由产生废物的实验室负责 免疫室 黄色包装袋每日由专人用密闭容生活 垃圾1.一般废物、家居及办公废物、剩余饭菜、果皮果核、罐头盒、饮料瓶、手纸、包装纸等2.使用后,未被病人血液、体液、排泄物污染的的各种玻璃制品等医 疗 废 物环卫部门 设置的普通垃圾筒、箱黑色代经专用管道排入医院污水处理系统废液医疗废物处理流程医疗废物产生地.采血室岗位日常工作流程图。
江苏省儿童医院检验科各岗位业务流程检验科生化分析岗位日常工作流程图检验科免疫分析岗位日常工作流程图检验科血凝分析岗位日常工作流程图检验科分子生物(PCR)分析岗位日常工作流程图各位尊敬的读友,谢谢大家观看本文,如有需要请下载编辑使用,谢谢大家,本人将继续为大家分享跟多的文档资料,谢谢!以下为附加文档,如果不需要请下载后编辑删除二、管理规定和制度公司资质、法人委托书的管理制度1、公司的各种资质证书、样本、ISO9001质量证书、ISO14001环境证书、ISO18001安全证书由工程管理部统一进行管理。
2、各工程处对外洽谈工程前,应填写资质领取申请表,提供工程名称、建设单位、工程详细地址和工程具体情况后方可登记领取公司资质复印件壹套。
工程信息由公司统一编号,统一发资质文件。
该资质所加盖公司证件章上注明工程名称、有效期、编号。
此资质复印无效。
无具体工程名称者不得领取资质。
3、领取资质文件须与公司签订合作协议和缴纳管理费。
否则,公司拒绝出据任何资料。
4、工程项目登记以谁先登记,谁为主的原则。
5、资质应由各工程处负责人到工程管理部领取。
若负责人确实无法亲自领取资质的,由负责人委托1-2人办理领取资质事宜。
委托应注明被委托人的姓名、职务、详细联系方式。
被委托人对登记的项目应跟踪落实,及时了解详细项目进展情况。
6、对工程情况不详细的,公司有权不办理资质登记手续。
如登记项目名称相似,以甲方正确名称和详细工程地址为准。
7、各分公司应设立信息员,每天及时将本区域的项目信息电话及传真报公司登记。
8、资质有效期为三个月,三个月内,工程处对所跟踪项目应主动续领资质,如不申报将视为自动放弃,公司不再进行核实,其他工程处有权直接登记和领取资质。
9、各工程处领取资质后应积极主动跟踪项目进展情况,如遇到两个工程处相遇且不让出项目,又不报名参加投标,对此公司将作出处罚,同时取消该工程处项目登记优先权。
10、工程处在工程管理部领取公司样本及承接工程的加盖证件章的公司资质文件,须交纳工本费。
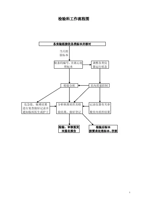
查验科工作流程图各实验组接收各种标本并查对当日检验标本贴条码编号,并离心处理标本调整各种仪器运转状态查验剖析室内质量控制紧急值、疑难结果剖析批准质控及检记录仪器有关参进行复查做好记录并通知临床医生或护士验结果,做好登记数室内质控结果查验、审查签发双署名报告查验后标本按要求办理标本、寄存各种穿刺液等穿刺标本按要求办理医生申请查验项目申请、填写查验申请输入电脑网络护士工作站填写患者标识、抽血、上花费血液大小便按有关要求采嘱病人按要取血液样本求留取标本查验科各实验组签收详细实验组进行查验各实验组查验后签发报告单送回各病房并签收病人持就诊卡医生填写查验申请单血液标本查验病人持就诊卡到收费处交费大小便其余查验项目病人凭查验单到门病人留取标本到相应实验组留取诊采血室采血(按项目要求),瞩病人取报告时间体液实验室或有关部门各实验组查验后并各实验组检测后签发报告单查对签发报告患者取报告患者取报告到医生处诊断查验科不合格标本办理流程病房标本接收检查查对患者信息及条形码,察看标本状态门诊标本采集核对条形码及患者信息,察看标本状态不合格标本不合格标本送实验室办理不合格标本记录后,通不合格标本登记退后知申请科室从头留取回从头留取从头留取后,各实验组检验后并查对签发报告病房查验单每天下午返回病房门诊查验单:血液每天下午13点 30分取体液其余按查验人员提示取查验科各岗位平时工作流程图生化室岗位平时工作流程图接收标本(门诊、病房)准备阶段:在收到标本后,按条码组合进行分类、编号,离心分别血清,并将血清吸入检测杯或直接将样品管按次序放入样品架上(盘)。
血清标本上机剖析:开机后先检查试剂,用省临检中心供给的质控物做病人标本和室内质控检测,质控在控(± 2SD)范围合格。
不然需要检查不合格项单个项目和小组合先安排,若有急诊项目则于急诊程序优先检测。
结果报告与审查查对:生化剖析仪每达成一个组合的测定即给出结果,其结果及时传递到 LIS 系统,经过在电脑屏幕上依据条码收费项目逐个审查后打印出查验报告。
检验科质量控制流程图1. 概述该文档旨在介绍检验科的质量控制流程图,以确保检验结果的准确性和可靠性。
2. 流程以下是检验科的质量控制流程:2.1. 样本采集与标识在进行检验之前,必须正确采集样本,并进行准确的标识。
样本采集时,需要按照相关规定使用合适的,并记录样本相关信息(如患者姓名、日期和时间等)。
2.2. 样本处理与准备采集到样本后,需要进行适当的处理和准备工作。
可能包括样本离心、分装、稀释等步骤,以确保样本符合检验要求。
2.3. 质量控制样本在进行实际检验之前,必须进行质量控制样本的检测。
质量控制样本是已知浓度或状态的样本,用于评估仪器和检验过程的准确性和稳定性。
通过与质量控制样本的比对,可以及时发现并纠正任何可能的误差。
2.4. 检验过程检验过程是根据实际需要进行的具体实验操作,通常包括样本准备、试剂配制、仪器操作等步骤。
在整个过程中,操作人员必须按照标准操作流程进行,遵循相关质量控制要求,以保证结果的准确性。
2.5. 结果记录与审核检验结果应及时记录,并进行审核。
操作人员应将结果记录在相关记录表格中,包括样本标识、测量结果和质量控制结果等信息。
同时,在结果审核环节,需要确保结果与质量控制标准相符,并进行必要的纠正和复核。
2.6. 结果报告与解释最后,根据检验结果,制作完整的检验报告。
报告中应包含样本信息、结果、参考范围以及结果的解释等内容,以便医生或患者理解和应用。
3. 总结以上是检验科质量控制的流程图,涵盖了样本采集、处理、质量控制、检验过程、结果记录与审核以及结果报告。
通过严格执行这一流程,可以确保检验结果的准确性和可靠性,为医疗服务提供有力支持。
检验科工作流程图检验科不合格标本处理流程检验科各岗位日常工作流程图生化室岗位日常工作流程图免疫室岗位日常工作流程图血液组岗位日常工作流程图常规室体液组岗位日常工作流程图血凝分析岗位日常工作流程图骨髓细胞分析岗位日常工作流程图微生物室岗位日常工作流程图HIV抗体筛查室岗位日常工作流程图检验科废物处置流程检验科生化室临检室 微生物 1.废弃血液标本、尿液、加样枪尖、针头等,各类医用后用品等 2.废弃仪器试剂包、实验室质控品等3.一次性手套、口罩、帽子等。
1.废弃的血液 、血清、清洗液等2.一次性吸管、加样枪尖、微量吸管、表抗等试剂条等3.实验室质控品等4.一次性使用的口罩、帽子、手套等5.传染病患者或者疑似传染病患者产生的生活垃圾等 6微量吸管、一次性吸管以及移液器头等 7.使用后一次性医疗用品及医疗器械等 8.化学试剂等1.被检患者血液污染的棉签、一次性试管等物品2. 各个仪器使用后的废液等。
3.血图片,各类染色分片4.废弃的体夜(如尿液、胸腹水、穿刺液等)、粪便等。
1各个仪器使用后的废液等。
2.各种化学废液1.病原体培养基、标本和菌种、毒种等 2.结核等传染病人的标本等 3.一次性用品、棉签、衣、帽、试管等 4.接种生化反应管等黄色利器盒用防渗漏的专用桶加入2000mg /L 的含氯消毒剂浸泡24小时后倒入下水道 每日由科室工作人员负责收集、分类、高压消毒出科前工作人员与保洁人员一起核实并填写《医疗废物转交登记表》医院医疗废物暂存地(专业人员负责管理)医疗废物集中处理机构由产生废物的实验室负责 免疫室 黄色包装袋每日由专人用密闭容生活 垃圾1.一般废物、家居及办公废物、剩余饭菜、果皮果核、罐头盒、饮料瓶、手纸、包装纸等2.使用后,未被病人血液、体液、排泄物污染的的各种玻璃制品等医 疗 废 物环卫部门 设置的普通垃圾筒、箱黑色代经专用管道排入医院污水处理系统废液医疗废物处理流程医疗废物产生地采血室岗位日常工作流程图。
精品文档韩城市中医院检验科各岗位业务流程
检验科生化分析岗位日常工作流程图
接收标本
预备阶段
在收到标本后,一边按条码组合进行分类、编号,一边离心分离血清并对
号入座将血清吸入检测杯或直接将样品管按顺序放入样品盘。
报告单发出生化工作区,送至检验分单处
发往各个病房
检验科免疫分析岗位日常工作流程图
预备阶段
在收到标本后,一边按条码组合进行分类、编号,一边离心分离血清并对号入座将血清吸入酶标板,严格按照试剂说明书加酶、加底物、加终止液等。
酶标板上机读结果
报告单发出免疫工作区,送至检验分单处
发往各个病房
如医生对患者结果有疑问和反馈意见时,免疫工作人员及时查找和处理,
处理不了的报告科主任。
检验科临床血液分析岗位日常工作流程图
检验科临床血液分析岗位日常工作流程图
结果报告与审核校对
根据收费项目逐一审核,当发现有符合手工复检标准者,必须手工复检后将结果手写在打印出的检验报告单上方可发出。
检验科血凝分析岗位日常工作流程图
检验科微生物分析岗位日常工作流程图
报告单发出微生物室,送至检验分单处
发往各个病房
检验科HIV初筛实验室日常工作流程图。
检验科工作流程图住院病人就诊检验流程门诊病人就诊检验流程检验科不合格标本处理流程.检验科各岗位日常工作流程图生化室岗位日常工作流程图.免疫室岗位日常工作流程图.血液组岗位日常工作流程图常规室体液组岗位日常工作流程图血凝分析岗位日常工作流程图骨髓细胞分析岗位日常工作流程图.微生物室岗位日常工作流程图.HIV抗体筛查室岗位日常工作流程图检验科废物处置流程检验科生化室临检室 微生物 1.废弃血液标本、尿液、加样枪尖、针头等,各类医用后用品等 2.废弃仪器试剂包、实验室质控品等3.一次性手套、口罩、帽子等。
1.废弃的血液 、血清、清洗液等2.一次性吸管、加样枪尖、微量吸管、表抗等试剂条等3.实验室质控品等4.一次性使用的口罩、帽子、手套等5.传染病患者或者疑似传染病患者产生的生活垃圾等 6微量吸管、一次性吸管以及移液器头等 7.使用后一次性医疗用品及医疗器械等 8.化学试剂等1.被检患者血液污染的棉签、一次性试管等物品2. 各个仪器使用后的废液等。
3.血图片,各类染色分片4.废弃的体夜(如尿液、胸腹水、穿刺液等)、粪便等。
1各个仪器使用后的废液等。
2.各种化学废液1.病原体培养基、标本和菌种、毒种等 2.结核等传染病人的标本等 3.一次性用品、棉签、衣、帽、试管等 4.接种生化反应管等黄色利器盒用防渗漏的专用桶加入2000mg /L 的含氯消毒剂浸泡24小时后倒入下水道 每日由科室工作人员负责收集、分类、高压消毒出科前工作人员与保洁人员一起核实并填写《医疗废物转交登记表》医院医疗废物暂存地(专业人员负责管理)医疗废物集中处理机构由产生废物的实验室负责 免疫室 黄色包装袋每日由专人用密闭容生活 垃圾1.一般废物、家居及办公废物、剩余饭菜、果皮果核、罐头盒、饮料瓶、手纸、包装纸等2.使用后,未被病人血液、体液、排泄物污染的的各种玻璃制品等医 疗 废 物环卫部门 设置的普通垃圾筒、箱黑色代经专用管道排入医院污水处理系统废液医疗废物处理流程医疗废物产生地.采血室岗位日常工作流程图。
检验科各岗位日常工作流程图检验科主要负责实验室样品的检验和分析,为科研和工程方面提供了重要的技术支持。
检验科涉及到的工作涵盖了许多方面,包括取样、样品交接、检验、质量控制、数据处理、结果报告等等。
为了更好地管理和组织检验科的工作,需要明确各岗位的工作职责,建立工作流程图。
检验科各岗位日常工作流程图取样员取样员是检验科的重要职位之一,主要负责样品的取样和送样,通常工作流程如下:1.样品接收取样员接收实验室内或外不同部门的样品,并核对样品名称、数量、编号等信息是否正确。
2.样品处理根据要求选择、切割、加压等方法处理样品,以备检验所需。
3.样品记录记录要求的样品名称、数量、来源、日期等信息,并标记好样品编号,以便后期检索。
4.样品交接按照实验要求或客户需求填写样品交接单,记录上交或借用的样品信息。
检验员检验员在检验科中是主要岗位之一,主要负责检验和分析样品,通常工作流程如下:1.样品确认检验员接收样品后,核对样品和检验单的信息是否相符。
2.样品准备根据样品类型和检验要求准备检验所需的试剂、仪器和设备。
3.检验操作进行检验操作,根据仪器读数或颜色变化判断样品的检测结果。
4.结果记录记录实验结果,并填写样品的检测报告,将结果交给下一岗位进行审核。
审核员审核员在检验科中也是比较重要的岗位之一,主要负责样品检验结果的审核和承认,通常工作流程如下:1.结果确认核对检验结果是否符合规定,确认结果是否正确。
2.应用判定根据实验要求和标准相关文件判定质量是否合格,符合检验标准就可以批准。
3.记录管理对每个样品的检验结果进行记录,包括检验人员、检验日期、检验结果、审核人员及批准日期等信息。
数据员数据员是检验科中起到重要作用的一员,通常需要完成以下工作:1.数据整理对于检验结果,需要对数据进行整理,提取主要参数进行统计,如数据的平均值、标准差、相对标准差、偏差范围和最大值等。
2.数据检查通过数据分析来检测样品质量,比较检验结果与标准值的差异,以确保检验结果的有效性和准确性。
查验科工作流程图设备和环境查验设备试剂查验科工作流程图外面服务和供给人员管理分担保理抱怨查验环境、标准物质、档案等寄存地水、电、温度、湿度条件查验环境、标准物质、档案等存放地水、电、温度、湿度条件监控,并进行记录知足条件进行查验或使用,并进行设施和环境的保护不知足条件停止查验或使用完美环境条件按查验标准要求选择设备试剂需新购买的编制采买计划并选定外面服务新购买的查验设备、试剂及标准物质进行验质量查收合格资料及标准物质交托使用,检验设备进行计量检定计量检定合格的设备进行标识交托使用并如期校验计量检定不合格的设备停止使用进行退赔按查验领域和范围对所需的外面服务和供应方进行调研对所需的外面服务的供给方的质量保证能力进行考察考察合格的外面服务和供给方登记并成立质量档案和名录为待选外面服务和供给方进行人员装备,岗位人员委任并知足资历条件要求对新进人员及技术岗位人员进行培训、查核和持续教育查核合格人员获得资格证书成立人员技术业绩档案并进行业绩查核查核不合格人员离岗或不可以独立上岗工作,并持续参加培训、查核选择合格分包检测单位,并征得对分包检测单位的检测和质量保证能力进行调查知足要求签订分包检测合保留对分包检测单位质量保证能力检查的记录并建档采集来自客户的诉苦信息反应到质量负责人责任部门实施对诉苦所波及到问题客户的抱怨波及的问题严重时,质量负责人要亲自组织处理针对客户的诉苦涉及的严重问题拟订纠正举措,防备诉苦再次发生质量查收不合格的资料及标准物质进行退赔或销上岗工作接受客户的监测拜托、样检品测过程进行内部质量和督管理系统审查质量控制依据客户的查验拜托进行资源配置利用内部质量校核和实验室间比对进行考证按查验内容要求准备设备和试剂利用查验过程对其质量实行监察检查按查验标准或数据办理检测细则进行和校核检测提出纠正举措防备问题再次发生并对可能造成的影响进行整顿查验记录报告每 12个月进行一次质量管理系统管理评审资料归档改正质量管理系统文件完美质量管理系统监不切合工作的辨别和纠正预防举措。
传播优秀Word版文档 ,希望对您有帮助,可双击去除!
检验科工作流程图
传播优秀Word版文档 ,希望对您有帮助,可双击去除!
检验科工作流程图
设施和环
境
检验设备试剂
外部服务和供应
人员管理 分包管理 抱 怨
检验环境、标准物质、档案等存放地水、电、温度、湿度条件 检验环境、标准物质、档案等存放地水、电、温度、湿度条件监控,并进行记录 满足条件进行检验或使用,并进行设施和环境的维护 不满足条件停止检验或使用 完善环境条件 检测过程和质量控制监督 按检验标准要求选择设备试剂 新购置的检验设备、试剂及标准物质进行验需新购置的编制采购计划并选定外部服务质量验收合格材料及标准物质交付使用,检验设备进行计量检定 计量检定合格的设备进行标识交付使用并按期校验 计量检定不合格的设备停止使用进行退赔质量验收不合格的材料及标准物质进行退赔或销按检验领域和范围对所需的外部服务和供应方进行调研 对所需的外部服务的供应方的质量保证能力进行考查 考查合格的外部服务和供应方登记并建立质量档案和名录 为待选外部服务和供应方 进行人员配备,岗位人员任命并满足资历条件要求 对新进人员及技术岗位人员进行培训、考核和继续教育 考核合格人员获取资格证书建立人员技术业绩档案并进行业绩考核 考核不合格人员离岗或不能独立上岗工作,并继续参加培训、考核 上岗工作 选择合格分包检测单位,并征得对分包检测单位的检测和质量保证能力进行调查 满足要求签定分包检测合保存对分包检测单位质量保证能力调查的记录并建档 收集来自客
户的抱怨信
息反馈到质
量负责人
责任部门实
施对抱怨所
涉及到问题
客户的抱
怨涉及的
问题严重
时,质量负
责人要亲
自组织处
理
针对客户
的抱怨涉
及的严重
问题制定
纠正措施,
防止抱怨
再次发生
进行内部质量
管理体系审核
利用内部质量校
核和实验室间比
对进行验证
利用检验过程对
其质量实施监督检
查
提出纠正措施防止
问题再次发生并对
可能造成的影响进
行整改
每12个月进
行一次质量
管理体系管
理评审
修改质量管
理体系文件
完善质量管
理体系
接受客户的
监测委托、样
品
根据客户的检验委托进行资源配置 按检验内容要
求准备设备和
试剂
按检验标准或
检测细则进行
数据处理和校核 检验记录报告 资料
归档
传播优秀Word版文档 ,希望对您有帮助,可双击去除!
不符合工作的识别和纠正 预防措施