检验科工作流程图
- 格式:doc
- 大小:59.50 KB
- 文档页数:2
检验科工作流程图
住院病人就诊检验流程
各类穿刺液等
血液
大小便
门诊病人就诊检验流程
检验
检验科不合格标本处理流程
检验科各岗位日常工作流程图生化室岗位日常工作流程图
免疫室岗位日常工作流程图
血液组岗位日常工作流程图
常规室体液组岗位日常工作流程图
血凝分析岗位日常工作流程图
骨髓细胞分析岗位日常工作流程图
微生物室岗位日常工作流程图
HIV抗体筛查室岗位日常工作流程图
检验科废物处置流程
医疗废物处理流程
黄色利器盒
用防渗漏的专用桶加入2000mg /L 的含氯消毒剂浸泡24小时后倒入下水道 每日由科室工作人员负责收集、分类、高压消毒
出科前工作人员与保洁人员一起核实并填写《医疗废物转交登记表》
医院医疗废物暂存地(专业人员负责管理)
医疗废物集中处理机构
黄色包
袋
环卫部门 设置的普通垃圾筒、箱
黑
经专用管道排入医院污水处理系统
医疗废物产生地
采血室岗位日常工作流程图。
检验科工作流程图住院病人就诊检验流程门诊病人就诊检验流程精品文档检验科不合格标本处理流程精品文档检验科各岗位日常工作流程图生化室岗位日常工作流程图精品文档免疫室岗位日常工作流程图血液组岗位日常工作流程图常规室体液组岗位日常工作流程图结果报告与审核核对:尿液结果会实时传送到LIS 系统,通过在电脑屏幕上根据条码收费项目逐一审核,当发现 有符合手工复检标准者,必须手工复检后将结果手写在打印出的检验报告单上方可发出;大便或其它标本结果 靠手工精品文档血凝分析岗位日常工作流程图精品文档骨髓细胞分析岗位日常工作流程图微生物室岗位日常工作流程图HIV抗体筛查室岗位日常工作流程图精品文档生化室检验科废物处置流程检验科由产生废物的实验室负责医疗废物临检室免疫室微生物废液1. 废弃血液标本、尿液、加样枪尖、针头等,各类医用后用品等2. 废弃仪器试剂包、实验室质控品等3. 一次性手套、口罩、帽子等。
1. 被检患者血液污染的棉签、一次性试管等物品2. 各个仪器使用后的废液等。
3. 血图片,各类染色分片4. 废弃的体夜(如尿液、胸腹水、穿刺液等)、粪便等。
4. 一次性使用的口罩、帽子、手套等5. 传染病患者或者疑似传染病患者产生的生活垃圾等6微量吸管、一次性吸管以及移液器头等7. 使用后一次性医疗用品及医疗器械等8. 化学试剂等1.废弃的血液 1.病原体培养、血清、清洗基、标本和菌液等种、毒种等2. 一次性吸 2.结核等传染管、加样枪尖、病人的标本等微量吸管、表 3. 一次性用抗等试剂条等品、棉签、衣、3.实验室质控帽、试管等品等 4.接种生化反应管等黄色利器盒黄色包装袋每日由专人用密闭容每日由科室工作人员负责收集、分类、高压消毒岀科前工作人员与保洁人员一起核实并填写《医疗废物转交登记表》医疗废物集中处理机构1各个仪器使用后的废液等。
2.各种化学废液用漏用入2000mg/L氯剂24后的含消毒浸泡小时倒入下水道经专用管道排入医院污水处理系统精品文档医疗废物处理流程医疗废物产生地精品文档采血室岗位日常工作流程图。
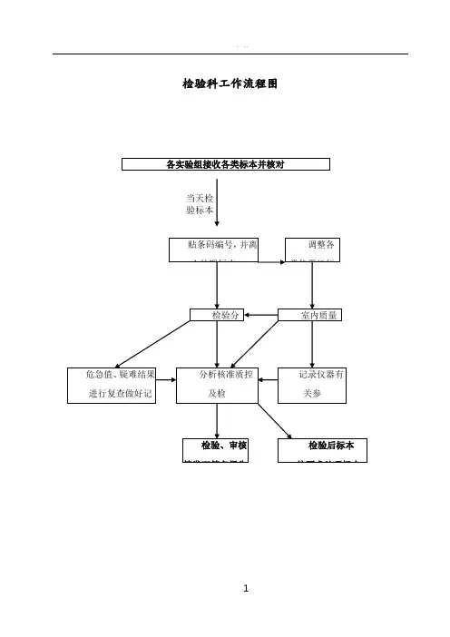
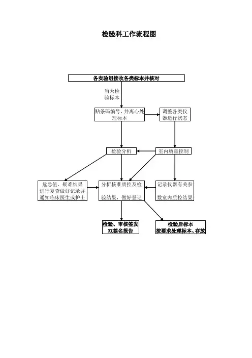
检验科工作流程图各实验组接收各类标本并核对危急值、疑难结果进行复查做好记录并通知临床医生或护士调整各类仪器运行状态检验分析贴条码编号,并离心处理标本检验后标本按要求处理标本、存放当天检验标本记录仪器有关参数室内质控结果检验、审核签发双签名报告室内质量控制分析核准质控及检验结果,做好登记住院病人就诊检验流程送回各病房并签收各实验组检验后签发报告单检验科各实验组 具体实验组进行检验嘱病人按要求留取标本 按有关要求采取血液样本护士工作站填写患者标识、抽血、上费用穿刺标本按要求处理各类穿刺液等医生申请检验项目申请、填写检验申请输入电脑网络血液 大小便 签收门诊病人就诊检验流程大小便到医生处诊疗患者取报告患者取报告体液实验室或相关部门各实验组检验后并核对签发报告到相应实验组留取病人留取标本病人凭检验单到门诊采血室采血(按项目要求),瞩病人取报告时间病人持就诊卡到收费处交费医生填写检验申请单其它检验项目血液标本检验病人持就诊卡各实验组检测后签发报告单检验科不合格标本处理流程不合格标本不合格标本送实验室处理不合格标本记录后,通知申请科室重新留取病房检验单每天下午返回病房门诊检验单:血液每天下午13点30分取 体液其它按检验人员提示取病房标本接收 检查核对患者信息及条形码,观察标本状态门诊标本采集核对条形码及患者信息,观察标本状态不合格标本登记后退回重新留取重新留取后,各实验组检验后并核对签发报告检验科各岗位日常工作流程图生化室岗位日常工作流程图接收标本(门诊、病房)准备阶段:在收到标本后,按条码组合进行分类、编号,离心分离血清,并将血清吸入检测杯或直接将样品管按顺序放入样品架上(盘)。
血清标本上机分析:开机后先检查试剂,用省临检中心提供的质控物做病人标本和室内质控检测,质控在控(±2SD)范围合格。
否则需要检查不合格项单个项目和小组合先安排,如有急诊项目则于急诊程序优先检测。
结果报告与审核核对:生化分析仪每完成一个组合的测定即给出结果,其结果实时传送到LIS系统,通过在电脑屏幕上根据条码收费项目逐一审核后打印出检验报告。
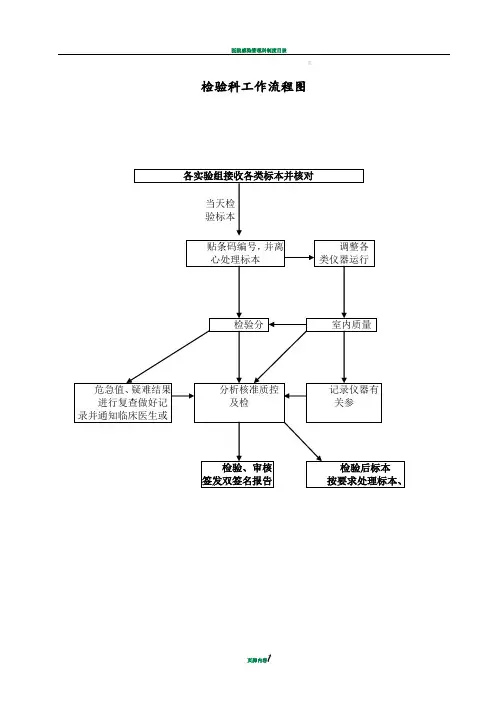
检验科工作流程图当天检验标本住院病人就诊检验流程各类穿刺血大门诊病人就诊检验流程大小其它检验血液标本检验检验科不合格标本处理流程检验科各岗位日常工作流程图生化室岗位日常工作流程图免疫室岗位日常工作流程图血液组岗位日常工作流程图常规室体液组岗位日常工作流程图血凝分析岗位日常工作流程图骨髓细胞分析岗位日常工作流程图微生物室岗位日常工作流程图工录入审核后一并打印检验报告,方可发出。
HIV抗体筛查室岗位日常工作流程图检验科废物处置流程检验科生临微1.废弃血液标本、尿液、加样枪尖、针头等,各类医用后用品等2.废弃仪器试剂包、实1.废弃的血液、血清、清洗液等2.一次性吸管、加样枪尖、微量吸管、表4.一次性使用的口罩、帽子、手套等5.传染病患者或者疑似传染病患者产生的生活垃圾等6微量吸管、一次性吸管以及移液器头等1.被检患者血液污染的棉签、一次性试管等物品2. 各个仪器使用后的废液等。
3.血图片,各类染色分1各个仪器使用后的废液等。
2.各种化学废液1.病原体培养基、标本和菌种、毒种等2.结核等传染病人的标本等黄色利用防渗漏的专用桶加入2000mg/L的含氯消毒每日由科室工作人员负责收集、分类、高压消毒出科前工作人员与保洁人员一起核实并填写《医疗废物转交登记表》医院医疗废物暂存地(专业人员负责管理)由产生废物的实验室负责免黄色包每日由专生活垃圾1.一般废物、家居及办公废物、剩余饭菜、果皮果核、罐头盒、饮料瓶、手纸、包装纸等2.使医疗废物环卫部门设置的黑经专用管道排废医疗废物处理流程医疗废物产生地采血室岗位日常工作流程图。
检验科工作流程图各实验组接收各类标本并核对危急值、疑难结果进行复查做好记录并通知临床医生或护士调整各类仪器运行状态检验分析核对条码编码,并离心处理标本检验后标本按要求处理标本、存放当天检验标本记录仪器有关参数室内质控结果检验、审核签发双签名报告室内质量控制分析核准质控及检验结果,做好登记住院病人就诊检验流程送回各病房并签收各实验组检验后签发报告单检验科各实验组具体实验组进行检验嘱病人按要求留取标本按有关要求采取血液样本护士工作站填写患者标识、抽血、上费用穿刺标本按要求处理各类穿刺液等医生申请检验项目申请、填写检验申请输入电脑网络血液大小便签收门诊病人就诊检验流程大小便到医生处诊疗患者取报告患者取报告体液实验室或相关部门各实验组检验后并核对签发报告到相应实验组留取病人留取标本病人凭检验单到门诊采血室采血(按项目要求),瞩病人取报告时间病人持就诊卡到收费处交费医生填写检验申请单其它检验项目血液标本检验病人持就诊卡各实验组检测后签发报告单检验科不合格标本处理流程不合格标本不合格标本送实验室处理不合格标本记录后,通知申请科室重新留取病房检验单每天下午返回病房门诊检验单:血液每天下午13点30分取体液其它按检验人员提示取病房标本接收检查核对患者信息及条形码,观察标本状态门诊标本采集核对条形码及患者信息,观察标本状态不合格标本登记后退回重新留取重新留取后,各实验组检验后并核对签发报告检验科各岗位日常工作流程图生化室岗位日常工作流程图接收标本(门诊、病房)准备阶段:在收到标本后,按条码组合进行分类、编号,离心分离血清,并将血清吸入检测杯或直接将样品管按顺序放入样品架上(盘)。
血清标本上机分析:开机后先检查试剂,用省临检中心提供的质控物做病人标本和室内质控检测,质控在控(±2SD)范围合格。
否则需要检查不合格项单个项目和小组合先安排,如有急诊项目则于急诊程序优先检测。
结果报告与审核核对:生化分析仪每完成一个组合的测定即给出结果,其结果实时传送到LIS系统,通过在电脑屏幕上根据条码收费项目逐一审核后打印出检验报告。
检验科工作流程图住院病人就诊检验流程门诊病人就诊检验流程检验科不合格标本处理流程检验科各岗位日常工作流程图生化室岗位日常工作流程图免疫室岗位日常工作流程图血液组岗位日常工作流程图常规室体液组岗位日常工作流程图血凝分析岗位日常工作流程图骨髓细胞分析岗位日常工作流程图微生物室岗位日常工作流程图HIV抗体筛查室岗位日常工作流程图检验科废物处置流程检验科生化室临检室 微生物 1.废弃血液标本、尿液、加样枪尖、针头等,各类医用后用品等 2.废弃仪器试剂包、实验室质控品等3.一次性手套、口罩、帽子等。
1.废弃的血液 、血清、清洗液等2.一次性吸管、加样枪尖、微量吸管、表抗等试剂条等3.实验室质控品等4.一次性使用的口罩、帽子、手套等5.传染病患者或者疑似传染病患者产生的生活垃圾等 6微量吸管、一次性吸管以及移液器头等 7.使用后一次性医疗用品及医疗器械等 8.化学试剂等1.被检患者血液污染的棉签、一次性试管等物品2. 各个仪器使用后的废液等。
3.血图片,各类染色分片4.废弃的体夜(如尿液、胸腹水、穿刺液等)、粪便等。
1各个仪器使用后的废液等。
2.各种化学废液1.病原体培养基、标本和菌种、毒种等 2.结核等传染病人的标本等 3.一次性用品、棉签、衣、帽、试管等 4.接种生化反应管等黄色利器盒用防渗漏的专用桶加入2000mg /L 的含氯消毒剂浸泡24小时后倒入下水道 每日由科室工作人员负责收集、分类、高压消毒出科前工作人员与保洁人员一起核实并填写《医疗废物转交登记表》医院医疗废物暂存地(专业人员负责管理)由产生废物的实验室负责 免疫室 黄色包装袋每日由专人用密闭容生活 垃圾1.一般废物、家居及办公废物、剩余饭菜、果皮果核、罐头盒、饮料瓶、手纸、包装纸等2.使用后,未被病人血液、体液、排泄物污染的的各种玻璃制品等医 疗 废 物环卫部门 设置的普黑色代经专用管道排废液医疗废物处理流程医疗废物产生地采血室岗位日常工作流程图(专业文档是经验性极强的领域,无法思考和涵盖全面,素材和资料部分来自网络,供参考。
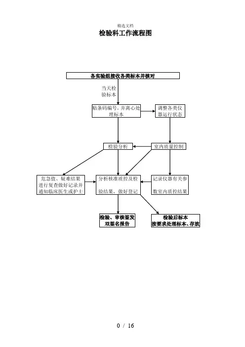
检验科工作流程图各实验组接收各类标本并核对危急值、疑难结果进行复查做好记录并通知临床医生或调整各类仪器运行检验分贴条码编号,并离心处理标本检验后标本按要求处理标本、当天检验标本记录仪器有关参检验、审核签发双签名报告室内质量分析核准质控及检各类穿刺血大小便检验检验科不合格标本处理流程检验科各岗位日常工作流程图生化室岗位日常工作流程图免疫室岗位日常工作流程图血液组岗位日常工作流程图常规室体液组岗位日常工作流程图血凝分析岗位日常工作流程图骨髓细胞分析岗位日常工作流程图微生物室岗位日常工作流程图HIV抗体筛查室岗位日常工作流程图检验科废物处置流程检验科生化室临微生物1.废弃血液标本、尿液、加样枪尖、针头等,各类医用后用品等2.废弃仪器试剂包、实验室质控品等3.一次性手套、口罩、帽子等。
1.废弃的血液、血清、清洗液等2.一次性吸管、加样枪尖、微量吸管、表抗等试剂条等3.实验室质控品等4.一次性使用的口罩、帽子、手套等5.传染病患者或者疑似传染病患者产生的生活垃圾等6微量吸管、一次性吸管以及移液器头等7.使用后一次性医疗用品及医疗器械等8.化学试剂等1.被检患者血液污染的棉签、一次性试管等物品2. 各个仪器使用后的废液等。
3.血图片,各类染色分片4.废弃的体夜(如尿液、胸腹水、穿刺液等)、粪便1各个仪器使用后的废液等。
2.各种化学废液1.病原体培养基、标本和菌种、毒种等2.结核等传染病人的标本等3.一次性用品、棉签、衣、帽、试管等用防渗漏的专用由产生废物的实验室负责免每日由专人用密生活垃1.一般废物、家居及办公废物、剩余饭菜、果皮果核、罐头盒、饮料瓶、手纸、包装纸等2.使用后,未被病人血液、体液、排泄物污染的的各种玻璃制品等医疗废物废医疗废物处理流程医疗废物产生地采血室岗位日常工作流程图提前上岗,着装规范,每天两次空气灭根据检验项目,确定采血时间,选择采血管种类,核对姓名化验单。
询问是否禁食,向病人解释说明采血相三查七对,遵守无菌原则,采取血标本交代采血后注意事项,观察有无异常。
检验科工作流程图各实验组接收各类标本并核对危急值、疑难结果进行复查做好记录并通知临床医生或护士调整各类仪器运行状态检验分析贴条码编号,并离心处理标本检验后标本按要求处理标本、存放当天检验标本记录仪器有关参数室内质控结果检验、审核签发双签名报告室内质量控制分析核准质控及检验结果,做好登记送回各病房并签收各实验组检验后签发报告单检验科各实验组具体实验组进行检验嘱病人按要求留取标本按有关要求采取血液样本护士工作站填写患者标识、抽血、上费用穿刺标本按要求处理各类穿刺液等医生申请检验项目申请、填写检验申请输入电脑网络血液大小便签收大小便到医生处诊疗患者取报告患者取报告体液实验室或相关部门各实验组检验后并核对签发报告到相应实验组留取病人留取标本病人凭检验单到门诊采血室采血(按项目要求),瞩病人取报告时间病人持就诊卡到收费处交费医生填写检验申请单其它检验项目血液标本检验病人持就诊卡各实验组检测后签发报告单检验科不合格标本处理流程检验科各岗位日常工作流程图生化室岗位日常工作流程图不合格标本不合格标本送实验室处理不合格标本记录后,通知申请科室重新留取病房检验单每天下午返回病房门诊检验单:血液每天下午13点30分取体液其它按检验人员提示取病房标本接收检查核对患者信息及条形码,观察标本状态门诊标本采集核对条形码及患者信息,观察标本状态不合格标本登记后退回重新留取重新留取后,各实验组检验后并核对签发报告接收标本(门诊、病房)准备阶段:在收到标本后,按条码组合进行分类、编号,离心分离血清,并将血清吸入检测杯或直接将样品管按顺序放入样品架上(盘)。
血清标本上机分析:开机后先检查试剂,用省临检中心提供的质控物做病人标本和室内质控检测,质控在控(±2SD)范围合格。
否则需要检查不合格项单个项目和小组合先安排,如有急诊项目则于急诊程序优先检测。
结果报告与审核核对:生化分析仪每完成一个组合的测定即给出结果,其结果实时传送到LIS系统,通过在电脑屏幕上根据条码收费项目逐一审核后打印出检验报告。
检验科工作流程图住院病人就诊检验流程门诊病人就诊检验流程检验科不合格标本处理流程.检验科各岗位日常工作流程图生化室岗位日常工作流程图.免疫室岗位日常工作流程图.血液组岗位日常工作流程图常规室体液组岗位日常工作流程图血凝分析岗位日常工作流程图骨髓细胞分析岗位日常工作流程图.微生物室岗位日常工作流程图.HIV抗体筛查室岗位日常工作流程图检验科废物处置流程检验科生化室临检室 微生物 1.废弃血液标本、尿液、加样枪尖、针头等,各类医用后用品等 2.废弃仪器试剂包、实验室质控品等3.一次性手套、口罩、帽子等。
1.废弃的血液 、血清、清洗液等2.一次性吸管、加样枪尖、微量吸管、表抗等试剂条等3.实验室质控品等4.一次性使用的口罩、帽子、手套等5.传染病患者或者疑似传染病患者产生的生活垃圾等 6微量吸管、一次性吸管以及移液器头等 7.使用后一次性医疗用品及医疗器械等 8.化学试剂等1.被检患者血液污染的棉签、一次性试管等物品2. 各个仪器使用后的废液等。
3.血图片,各类染色分片4.废弃的体夜(如尿液、胸腹水、穿刺液等)、粪便等。
1各个仪器使用后的废液等。
2.各种化学废液1.病原体培养基、标本和菌种、毒种等 2.结核等传染病人的标本等 3.一次性用品、棉签、衣、帽、试管等 4.接种生化反应管等黄色利器盒用防渗漏的专用桶加入2000mg /L 的含氯消毒剂浸泡24小时后倒入下水道 每日由科室工作人员负责收集、分类、高压消毒出科前工作人员与保洁人员一起核实并填写《医疗废物转交登记表》医院医疗废物暂存地(专业人员负责管理)医疗废物集中处理机构由产生废物的实验室负责 免疫室 黄色包装袋每日由专人用密闭容生活 垃圾1.一般废物、家居及办公废物、剩余饭菜、果皮果核、罐头盒、饮料瓶、手纸、包装纸等2.使用后,未被病人血液、体液、排泄物污染的的各种玻璃制品等医 疗 废 物环卫部门 设置的普通垃圾筒、箱黑色代经专用管道排入医院污水处理系统废液医疗废物处理流程医疗废物产生地.采血室岗位日常工作流程图。