先张法预应力空心板梁施工工艺
- 格式:docx
- 大小:3.08 MB
- 文档页数:8
先张法预应力空心板施工方案先张法预应力混凝土空心板梁预制施工方案一、编制说明1、编制依据(1)xx公路18合同段两阶段施工图;(2)xx公路18合同段施工合同文件;(3)、《公路桥涵施工技术规范》(JTG/TF50-2011);(4)、《公路工程质量检验评定标准》(JTGF80/1-2004);2、编制原则(1)、在充分理解招标文件的基础上,根据设计图纸内容及施工现场的实际情况,编制先进、合理、经济、可行的施工方案。
(2)、采用施工全过程对环境破坏最小、占地最少,并有较为周密的环境保护措施。
(3)、施工工艺与施工规范及设计要求相符,并达到完善先进严格遵守设计规范、施工规范、验收标准及国家和交通部关于质量、安全生产的规定,确保工程质量和施工安全。
(4)、施工进度安排合理、高效,施工区段划分协调、统一。
二、工程概况三、施工准备1、技术准备(1)、组织技术人员及其它管理人员全面熟悉合同文件、技术规范及施工图设计。
(2)、设立工地试验室,配备满足施工需要的试验检测仪器和设备,配齐试验人员,完成各类原材料试验及混凝土配合比设计等试验工作。
2、人员、设备、机具准备(1)、调动和组织充足的人员,包括力工、技工、操作工,结构合理,机构完善。
具体人员如下项目负责人:技术负责人:施工负责人:质检负责人试验负责人:测量负责人安全负责人现场技术员钢筋班:30人;模工班:30人;混凝土班:20人。
2.2根据施工进度安排,合理配置各种机具的进场计划,使用前进行调试工作,确保机械性能良好。
序号设备名称规格型号单位数量 1 龙门吊 40T 台 1 2 千斤顶YDC270 台 1 3 千斤顶 YDC3000 台 2 4 油泵 YBZ22-50A 个 3 5 油表 60MPa 个 3 6 砼运输车 8m3 台 3 7 钢筋弯曲机 GW40 台 2 8 钢筋切断机 GQ40 台 2 9 电焊机 AX1-300 台 3 10 钢筋调直机 GT12 台2 11 发电机 200GF 台 1 12 附着式振动器 150HZ 台 10 13 插入式振动器 50型台 10 14 汽车吊 25吨台 2 3、材料的准备工程开工前编制材料供应计划,超前准备充足、合格的各种施工材料。
彰武大桥先张法预应力砼空心板梁施工方案我部负责施工安林高速公路第五标段K28+450彰武大桥工程施工。
大桥的上部结构为C40预应力钢筋混凝土空心梁板,预应力采用先张法施工,张拉台座采用C30钢筋混凝土制作;预应力钢绞线采用直径φj15.24钢绞线,其标准强度为R y b=1860Mpa;公称面积140mm2,延伸率小于4%;张拉设备采用3000KN千斤顶两个,270KN 千斤顶一个;具体施工方案如下:一、施工程序台座制作→张拉设备校验、安装→绑扎非预应力钢筋→布设钢绞线→张拉钢绞线→安装外侧模板→灌注底板混凝土→安装内模→灌注侧板及顶板混凝土→养生→放张→移运存梁二、施工工艺框图(见下页)三、施工方法1、台座制作:先张法预应力空心板梁的预制采用钢筋混凝土传力柱槽式张拉台座,传力柱按偏心受压构件设计,截面尺寸60X70cm,埋至深度40cm,每根传力柱之间设支撑横梁,以满足传力柱具有足够的稳定性,同时满足预应力超张拉和构造要求(布置图见附图二)。
台座两端设型钢组焊的张拉、锚固横梁,台座两端的固定横梁采用整体横梁以增加张拉台座和横梁的稳定性。
槽底采用钢筋混凝土进行硬化并进行水磨处理,形成水磨石作底模。
底模脱模剂采用石蜡。
2、钢校线:在钢绞线进场以后,因分批进行检验,每批重量不大于60T;检验时从每批钢绞线中任选3盘,从每盘中截取一根进行表面质量、直径偏差、力学性能试验。
在钢绞线试验合格后,根据每槽张拉台座的长度(包括横梁宽度)、张拉伸长值、外露长度以及张拉时所需要的长度等因素确定钢绞线的下料长度;钢绞线下料时,使用砂轮切割机切割,切割口的两侧各5cm处用铁丝绑扎。
铺设预应力钢绞线时,预应力筋的失效长度采用硬塑料管将其套住,在张拉完成之后按照设计要求的失效长度和位置重新固定塑料管的位置并用铁丝将两头绑扎牢固避免混凝土浆进入管内,使预应力筋与混凝土不产生握裹作用,达到设计要求的失效效果。
3、钢筋制作与安装:钢筋的表面应洁净,使用前应将表面油渍、漆皮、鳞锈等清洁干净。
一.工程概况渝黔高速公路立交中桥为渝黔高速公路上跨重庆枢纽江北客站铁路线而设的立交桥,铁路中心里程DIK20+388.2,公路中心里程为K1+742.8,铁路正线与公路路线夹角为47°25′59″,该桥按斜交30°设计。
孔跨布置为3×30m先张空心板梁,桥梁全长111.29m。
本桥下部结构桥台采用U型台,桩基础。
桥墩采用钢筋混凝土三柱式墩,挖孔桩基础,墩身直径1.5m,墩高17m,最深挖孔桩为25m,0#台后侧设置有9根2.25m×3.25m的锚固桩,台前设置重力式挡土墙。
该桥梁部采用3×30m预应力混凝土空心板梁,斜度为30°,分为中板和边板两种类型,中板宽1.43m,边板宽1.68m,板高1.40m,空心板采用C40混凝土,中板混凝土为20.93m3,边板混凝土为21.89m3底板内共布设19根预应力筋,间距为7.2cm,预应力钢筋采用270级φj15.24毫米高强度低松弛钢铰线,每根张拉力为196KN ,引伸量为17.8cm。
二、梁场布置(一)、梁场布置因本桥施工场地狭窄,经技术人员现场勘察研究分析,决定将30m 先张法预应力空心板梁预制场置于贵阳台后路基上,设纵向两组制梁台座,每组3个,共计6个。
由于场地为已成形高速公路路基,其强度满足要求,因此直接在其上现浇25cm厚的砼台座,而台座两端采用2m×2m×2m扩大基础。
张拉台座也设置为2组,为满足张拉要求,基础采用4m×4m×2m+4m×2m×2m+4m×2m×1m钢筋混凝土台阶式基础。
其上设75cm高的传力墩,传力墩后设置混凝土平台,以放置钢横梁。
贵阳方向为张拉端,设固定钢横梁及活动钢横梁,两者之间放置YD3000-600型千斤顶,重庆方向仅设固定钢横梁,固定钢横梁紧贴于传力墩。
在制梁场贵阳端及顺渝黔路右侧设存梁场。
先张法预应力混凝土空心板施工工艺先张法预应力混凝土空心板施工工艺某高速公路北段第五合同段共有20m先张法预应力空心板439片,均在预制场预制。
预制梁长19.96m,梁高90cm,板宽143cm,砼设计标号为40mpa,预应力钢筋采用270级φj15.24钢绞线,标准强度ryb=1860mpa,弹性模量ey=1.95×105mpa,单束张拉控制应力为195.3kn,每片梁有16根钢绞线。
1预制场布置预制场布置在国道206东侧,鲍集互通立交区内,长220m,宽35m,设4个梁板预制台座,5个存梁场,1个钢筋骨架绑扎场及木工房、钢筋加工房、水泥库、发电机房等。
场内设有1台贝雷桁架拼成的50t自行式龙门吊,为梁板的预制及吊运、装车服务。
1台拌和能力为25m3/h的混凝土拌和站。
混凝土采用翻斗车运输,具体见表1。
1.1张拉台座(1)张拉台座设计为长线型槽式台座,长度为85m。
传力柱和抗力墩整体参加受力而台座不受力,所以它必须有足够的强度和刚度。
台座刚度对预应力影响较大,若刚度不够,台座变形较大,预应力损失就会较大。
因此要求在梁板预制前在台座放入钢绞线,对张拉台座及横梁进行荷载试验,满足要求才能使用。
经验算采用尺寸为传力柱边柱宽35cm、高55cm,中柱宽60cm,抗力墩埋深150cm,抗力墩张拉端及锚固端都布设钢筋,其余为c30素砼。
传力柱轴线与钢绞线在同一平面内,使传力柱为轴心受压构件。
张拉端及锚固端部预埋δ=16mm的钢板,以使应力分散。
张拉台座横断面图如图1。
(2)台座底模的优劣直接影响着预应力空心板的几何尺寸及外观,所以在进行张拉台座底模施工时,必须严格控制其宽度、平整度和直顺度。
宽度控制在1430mm,平整度及直顺度控制在3mm以内,采用水磨石底模。
1.2张拉机具的选择和使用根据设计张拉力的大小选择千斤顶的吨位、行程以及与之相配套的高压油泵和油表。
由于施加梁体上的预应力值的准确性对预应力空心板质量的影响至关重要,所以张拉机具进场之前,必须由有资格的检测单位进行千斤顶和油表的校验。
质量控制。
严格按照有关规范组织施工,避免因预应力材料不合格或,施工行为不规范而造成预应力损失过大。
其次,严格控制梁体混凝土龄期。
梁体张拉前,除对梁体混凝上强度有要求外,对龄期也应进行控制,避免过早张拉。
最后,采用级配良好的石英砂。
预应力施工值得注意的其它问题伸长量的计算理论伸长量和实际伸长量计算时,应考虑千斤顶的预应力筋的工作长度。
张拉过程中千斤顶的工具锚锚住预应力筋使其伸长,量测到的伸长量实际包括了千斤顶内工作长度部分的伸长量,有些技术人员在计算理论伸长量时疏忽了千斤顶内工作长度的伸长量,而在实际量测的伸长量数值中,却己经包括了工作长度的伸长量,导致计算的伸长量误差超过+6%,相反,若计算理论伸长量时考虑了工作长度的伸长量,而在实际量测伸长量时没有包括工作长度的伸长量,则可能导致伸长量误差超出6%。
另外,计算实际量测总伸长量时不应扣除预应力筋锚固阶段的回缩量。
张拉记录换算有些施工人员概念不清,张拉施工记录时将油压表读数与张拉力混为一谈。
张拉过程中2σ0时的张拉力常用2倍的σ0时的油压表读数代替,且张拉控制应力σcon对应的油压表读数,没有依据千斤顶与压力表配套校正校验报告给定的相应参数,而进行内插法换算。
张拉记录初应力的伸长值推算目前施工中,张拉施工人员对初应力的伸长值计算大致有四种方法:①直接量测法。
初应力的伸长量为凭经验感觉预应力筋刚好拉紧后到张拉至初应力σ0时量测到的预应力筋的伸长量。
②直接计算法。
初应力σ0的伸长量为(σ0/σcon)XΔL(ΔL为理论计算伸长量)。
③间接计算法。
张拉过程量测初应力σ0至张拉到张拉控制应力σcon的伸长量ΔL,初应力σ0的伸长量取值为[σ0/(σcon—σ0)]XΔL(mm)。
④采用相邻级的伸长值,例如初应力σ0为10%σcon时,其伸长值采用由10%张拉到20%的伸长值。
第一种方法显然错误,不应采用。
第二、三种方法不够规范准确,不能完全反映张拉至初应力σ0的实际工况,不宜采用。
先张法预应力空心板梁预制施工工艺工法(QB/ZTYJGYGF-QL-0904-2011)物资工贸有限公司赵继征1前言1.1 工艺工法概况先张法预应力混凝土空心板梁具有耐久性好、制造周期短、工序简洁、便于运输、维修养护工作量少等优点,其主要应用于中、小跨度公路建设中。
1.2工艺原理在先张制梁台座上,通过张拉横梁作用,利用张拉设备对分布在梁内的钢绞线,按照“单根初调、整体终拉”的工艺进行张拉,当钢绞线张拉到设计应力值后及时浇筑梁体混凝土。
待混凝土强度及弹性模量达到设计要求时,采用“两端整体放张”的工艺放松钢绞线,给梁体混凝土施加预应力。
2工艺工法特点2.1工序简洁,便于操作,节省材料,造价经济合理。
2.2工艺成熟,便于组织流水作业,能提高劳动效率。
2.3适合于大批量生产,便于生产管理和质量控制,可节约工期。
3适用范围本工法适用于工厂化先张法预应力混凝土空心板的预制。
4主要技术标准《公路桥涵设计通用规范》(JTG D60)《公路钢筋混凝土及预应力混凝土桥涵设计规范》(JTG D62)《公路工程技术标准》(JTG B01)《公路工程质量检验评定标准》第一册土建工程(JTG F80/1)《公路桥涵施工技术规范》(JTG/T F50)《公路工程集料试验规程》(JTG E42)《公路工程水泥及混凝土试验规程》(JTG E30)5施工方法通过工厂设置的专用长线生产台座,先将钢绞线进行张拉,待达到设计吨位后,通过张拉横梁将其锁定锚固,在控制荷载保持状态下,灌注梁体混凝土。
首先将梁体钢筋安装就位,然后在已经绑扎好的钢筋骨架中穿入钢绞线,进行预应力筋张拉锚固,最后灌注梁体混凝土,进行梁体养护等强,待达到设计强度值后,进行放张作业,将梁体移到指定位置。
6.施工准备6.1制梁台座设计6.1.1制梁台座应有足够的强度、刚度、稳定性,满足所预制产品的技术指标要求。
6.1.2设计荷载包括梁板结构自重、模板重量、台座自重以及施工荷载等,超载系数宜取1.1。
先张预应力空心板梁施工方法及工艺要求7.4.1场地布置整个预制场须布置预制台座、存梁台座、起重轨道(通道)、张拉操作和钢绞线存放场地、钢筋加工场地、原材料堆放场地、混凝土拌合站、生活设施、办公设施、试验室、安全设施、排水设施等。
见图9预制厂场地布置图预制场设有7条长98m的钢筋混凝土传力柱、6条生产线,每条生产线可一次生产4片22m规格的空心板梁。
考虑制梁、架梁同步进行,故安排一个台座兼产中梁和边梁。
制梁台座两侧设有龙门吊走行轨道。
板梁生产的其中设备为自行设计的2台起重能力为25t的龙门吊机,组拆模板、混凝土入模、吊梁出槽等均由它完成。
龙门吊骨架用型钢组焊而成。
每台龙门吊上有2台10t 电动葫芦供横向移动物料用;龙门吊用卷扬机牵引作纵向移动。
存梁台座布置在制梁台座的一侧,共设置4条,一次可存梁200片。
存梁台座的下滑道为43kg/m钢轨(每个滑道两根),上滑道为20㎜厚钢板,用卷扬机牵引移梁。
钢筋加工场和胶囊充气等在台座两侧。
整个场地铺碎石加固,表面铺M7.5级水泥砂浆。
7.4.2台座设计台座是生产先张法预应力构件的承力结构,故台座本身应具有足够的强度、刚度和稳定性,以免由台座变形和滑移而引起预应力损失。
本桥采用槽式台座。
槽式台座由7柱6槽构成,传力柱构造为钢筋混凝土结构。
模板结构由模板和支架两部分构成。
底模用8㎜钢板安装于C28级混凝土铺面上,侧模采用了10×10角钢和4㎜钢板组焊成的整体钢模,分块组装,拉撑于台座传力柱的凹角上。
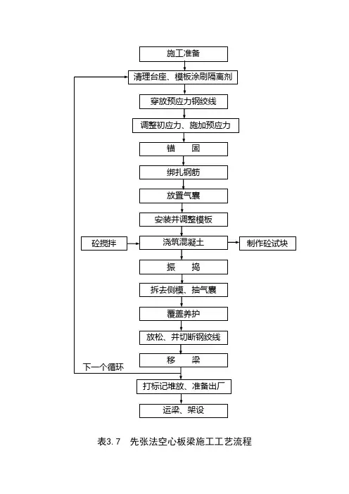
7.4.3施工方法7.4.3.1工艺流程本桥预应力空心板梁生产用长线台座法,其工艺流程见表5.5。
7.4.3.2张拉施工用夹具进场后要按有关规范加以检验。
千斤顶和油泵要定期进行标定,配套使用,并作好维修保养工作。
钢绞线进场除了查验出厂合格证和质保书外,还要根据规范从每批中抽取3盘,进行表面质量、直径偏差、捻距和力学性能的试验。
按设计顺序张拉,结合预制梁场的台座特点和施工方法,考虑尽可能减少台座的倾覆力矩和偏心力,对称、交错的顺序进行张拉。
表3.7 先张法空心板梁施工工艺流程先张法空心板梁施工工艺文字说明1、准备工作⑴长线台座的设置平整场地:制梁前要对所有制梁、存梁场地进行平整压实,台座下面土壤密实度达到98%以上,台座周围土壤密实度达90%以上。
设台座:台座选用承力柱槽式长线台座,台面及承力柱用C25砼浇注,台面平整度要求±2mm,且具有一定的顺坡以利排水。
承力柱的设计保证受力后不移动,不变形,不倾覆,为了更安全在设计承力柱时将承力柱和台面制为一体,并在地坪上插入钢支撑。
横梁是预应力钢绞线的张拉力传给承力柱的构件,用56CI字钢和20mm厚钢板焊制,且挠度控制在2mm之内,并不得产生挠曲变形。
根据设计钢绞线的位置,选用适当的定位板,并将它焊在制好的横梁上。
⑵加工模板底模由2~4mm钢板焊制,并用角钢固定于台面上,钢板焊接后用砂轮打平。
侧模采用定型整体钢模,分4米或2米一节,每0.5米加一竖肋,横肋按其侧压力大小分布制作。
内模选用充气胶囊。
⑶张拉机具在现场进行检查和校验,千斤顶与压力表配套检验,以确立张拉力与压力表读数之间的关系曲线。
所用压力表的精度不宜低于 1.5级,校验千斤顶活塞的运行方向,与实际张拉工作状态一致。
⑷定位板的设置张拉后要有足够的定位板以保证在浇筑砼期间钢绞线能保持其适当的位置。
定位板上钻孔的位置与孔径符合图纸中钢绞线的规格和位置,孔径比钢绞线直径大1-2mm ,以便穿过。
⑸张拉准备计算预应力钢绞线的伸长值△L= 〃L 。
校验张拉设备、千斤顶、油压表等。
清理底模,并在其上涂脱模剂。
穿铺预应力钢绞线,在涂有脱模剂的台座上,每隔1m 放置一条2cm 厚的木条,以架起钢绞线,穿铺钢绞线时,要拉一根穿一根,并将其固定在定位板准确的位置上。
对部分预应力钢铰线两端用内径φ17mm 塑料管套住与砼隔离,隔离长度符合设计规定。
2、预应力钢绞线的张拉将预应力钢绞线一端固定,用夹具锚固。
张拉操作时,将张拉端钢绞线穿过千斤顶穿心孔道使千斤顶头顶紧张拉杆的套筒,千斤顶的张拉油缸慢慢伸出,进行张拉时,按以下程序0→0.1δk →105%δk 0 →δk (锚固)δk 为张拉控制应力,张拉采用油表读数和伸长值双控制,当完成张拉规定程序并达到要求张拉力后,即对钢绞线进行锚固,再进行下一束张拉,张拉从中间到两边对称进行。
先张法空心板梁预制施工方法一、张法空心板梁预制施工工艺a、张拉台座建造台座:根据梁体底部宽度,在考虑支拆模的工作宽度后,台面宽度定为120cm,台座总长度85m,预制场设16米生产线2条,每条生产线一次生产5片空心板梁、20米生产线两条,一次生产4片。
张拉台座建造:台面采用高强水磨石砼。
台面是制作构件的底模,必须平整光滑,保证预制场构件外型尺寸;施工前在原耕植土上压路机碾压,其上铺15-20cm厚的级配碎石垫层,同时浇筑砼为基础,然后做5cm厚的水磨层。
两侧的角钢通过在基础上预埋的Φ12钢筋焊成一体,间距1米,超平后浇筑水磨层。
16米生产线每隔17米设置伸缩缝一道,20米生产线每隔21米设置伸缩缝一道,待砼强度上来以后采用金刚石水磨石机磨光、磨平。
承力支架:横梁直接承受所有钢铰线的预拉力,为保证其刚度和强度,采用厚2cm的钢板组合拼装焊成尺寸为285*50*25的钢横梁、钢板采用A3钢板。
定位板:定位板用来确定预应力钢铰线位置,其厚度采用3cm,长为120cm,宽度为25cm,根据预应力钢铰线的设计间距,在定位板上钻孔,16米梁钻Φ16孔16个,中心距50cm,20米梁钻Φ16孔20个,间距为50mm,误差不超过2mm。
保证其位置准确及穿预应力钢铰线方便,同时保证定位板的刚度。
B、工前准备工作将钢铰线堆放场地整平并清扫干净,铺筑15cm厚的大粒径碎石作为隔水层。
用龙门吊将钢铰线盘吊运到整平场地上,线盘中心大致与槽位中心对齐,距槽位4-5m,用角铁笼子扣住,安放平稳,底部垫上方木。
遇到阴雨天,及时覆盖彩条布或其它雨布。
取下铭牌,记下钢绞线的盘号,强度等级、弹性模量、质量及技术执行标准等有关资料,为张拉计算、质量记录作好准备。
检查张拉机具及其它配套设施,保证其正常运转。
清扫台座,用扫帚将台面杂物扫到排水沟内,再用铁掀将砼碎屑铲到推车内,运到场外指定地点。
塑料管切割:用型材切割机按钢绞线的设计失效长度进行切割、堆放备用。
先张法预应力空心板施工工艺与质量控制要点先张法预应力钢筋混凝土空心板以其成本造价较低、可以批量化生产、运输安装简单、工艺技术相对成熟等优点,目前在公路建设过程中应用较为广泛。
文章以商洛市南大门立交桥为例,介绍先张法预应力混凝土空心板的施工工艺和质量控制要点。
标签:先张法空心板;施工工艺;质量控制先张法预应力空心板是指为了提高桥梁的设计跨径,避免钢筋混凝土构件过早出现裂缝,而在浇筑混凝土之前张拉预应力筋,待混凝土达到设计强度的80%以上时,放松预应力筋,依靠预应力筋与混凝土之间粘结形成预应力的空心梁板结构。
本文以20m标准跨径的先张法预应力空心板预制过程为实例,对其施工工艺与质量控制要点进行详细阐述。
1 工程概况说明商洛市南大门立交桥,北接工农路,与江滨大道平交,南接沪陕高速公路连接线,上跨商鞅大道及丹江河。
桥梁全长347m,采用左右侧分离式桥面。
其中左侧主线桥采用20先张法预应力钢筋混凝土空心板,桥宽19m,共计14跨,于2010年5月建成通车。
2 梁板预制施工工艺2.1 预制工艺流程制作张拉台座→钢绞线下料及安装→预应力筋张拉→钢筋的制作及安装→模板安装→混凝土浇筑→安装气囊→拆模→洒水养护→放张→移梁2.2 张拉台座桥梁制梁场应填筑砾石、碎石或混凝土进行硬化,台座根据设计图纸浇筑底座和传力柱及张拉横梁,底座采用20cm厚的C25混凝土,并设置钢筋网片,防止底座开裂,传力柱和张拉横梁采用则采用C30钢筋混凝土。
该桥预制场设置在桥梁东侧3公里的工业园区空地上,采用钢筋砼槽式台座,长84m,台座共设6道,每道可一次生产4片梁。
2.3 钢绞线下料及安装钢绞线进场后应制作专业解绑放卷设施,确保取料时人员安全。
按施工图设计计算下料长度,采用砂轮切割机截断,严禁使用电弧焊切割。
梁板应按设计要求采用薄壁硬质塑料管套在钢绞线上,套管两端用胶带密封,使钢绞线与梁体混凝土完全分离,达到失效的效果,防止梁板两端应力集中导致端头开裂。
先张法预应力空心板梁预制及安装方案1.1先张法预应力空心板梁预制(1)施工工艺流程制作张拉台座→制作板梁平台→钢绞线的下料、编束、穿钢绞线→钢绞线张拉→绑扎钢筋→立侧模→浇筑底板混凝土→充气橡胶芯模的安放→浇腹板和顶板砼→充气胶囊抽取→养护→拆模→封端→放张→移梁(2)制梁台座①预应力筋采用张拉力和伸长值双控张拉,预应力钢绞线的标准强度为1860Mpa,锚下张拉控制应力采用σK=0.72R b y=1860MPa× 72% =1339.2 MPa,锚下张拉力控制力为187.5KN。
②为确保安全,操作方便,采用槽式张拉台座,共设置5槽,台座长度比板长每端加长0.5m,两头预留每边1.5米,总长度为108米,底板宽度为99cm 。
台座所处位置地质条件良好,能提供较好的支持力和摩擦力。
每槽按压梁、底板基础砼、角钢包边定位、底板砼、面板钢板铺设的顺序进行施工各槽台座。
底板外侧敷设40*4mm角钢,内部用C25混凝土浇筑而成,上表面铺一层12mm厚钢板,底模表面平整光滑,全长范围内平整度控制在2mm之内,角钢顺直度控制在3mm 内。
生产空心板之前,底模用磨光机清理表面浮锈,用机油清洗浸泡涂擦三遍,保证底板光泽。
张拉固定横梁、活动横梁采用40a#、30a工字钢、A3钢板加工而成,在控制张拉力下,其刚度和挠度均满足施工要求(挠度小于2mm)。
③台座施工注意事项:台面要平整光滑,两侧边为直线且平行;千斤顶支承的混凝土面要垂直台座轴线,锚垫板处混凝土振捣要密实。
(3)校验千斤顶在施工中发生下列任何情况时,都进行重新校验,确保张拉力准确:①校验期限超过6个月;②千斤顶漏油或千斤顶检修后;③张拉过程中,钢绞线出现断丝;④钢绞线实测伸长值与理论计算值相差超过标准规定值时;⑤油压表指针不回零或调换千斤顶油压表时。
(4)钢绞线的下料、编束使用前检查钢绞线断面有无损伤、锈蚀及油污,如有将该段截除或清洗,检查合格后方可下料。
先张法预应力空心板梁施工工艺及操作要点1、施工工序台座安装→钢筋加工→模板安装→预应力张拉→砼浇筑与养护→梁的装卸和运输→存梁2、操作要点①台座安装台座是先张预应力生产工艺的主要设备之一,须承受预应力钢材张拉的全部张拉力,因此必须有足够的强度、刚度和稳定性,台座主要由传力墩台面、横梁和定位板组成。
②钢筋加工普通钢筋弯制、切割、绑扎、焊接参照公路相关规范标准。
钢筋笼的绑扎视台座数量、工期、设备等情况而定,可在台座上直接绑扎。
预应力钢筋加工要精确计算下料长度,掌握好切割方法。
预应力钢丝束和钢绞线严禁采用烧割,切割后应立即绑扎端口。
③模板安装模板安装应先放置好制孔器,底模冲洗干净,并经检查合格后方可进行,侧模应准确就位并立即支撑和加固。
空心板梁外模采用大块整体钢模,内模采用充气橡胶芯模,在使用前就仔细检查不得漏气,使用中避免被划破,绑扎的铁丝头弯向内侧,以免扎破芯模。
为防止芯模上浮偏位,用定位钢筋与钢筋笼或外模连接加以固定,从开始浇注砼到芯模放气为止,充气压力应保持稳定。
④预应力张拉钢绞线的张拉,先将下好料的钢绞线穿入两端定位板中,并使千斤顶顶紧锚具,千斤顶与钢绞线成一水平直线,然后进行张拉。
⑤砼浇筑与养护梁体砼的浇筑应连续进行,以45度斜面从梁一端向另一端推进,梁体横向要对称浇筑,振捣时应注意防止撞碰预应力钢筋。
梁体按规范要求进行覆盖浇水,采用自然养护或蒸气养护,待砼强度达到80%后,首先拆除模板,然后分批放松钢绞线,处理好梁端。
⑥梁的装卸和运输梁的横向运输采用龙门吊,纵向运梁采用运梁平车运输。
⑦存梁预制梁强度达到100%后,可用龙门吊起吊横移放在运梁平车上,通过运梁平车纵向运输,再用龙门吊横移到存梁位置处存放。
预应力先张空心板梁施工方案一、施工准备(一)、拟定台座方案1、总体布置:台座主要由固定端钢横梁、张拉端钢横梁、张拉端活动梁、钢筋混凝土传力梁、中横梁及底座组成,采用长线法施工,张拉台座长63米,整体采用框架式结构。
预应力采用整体张拉,共设5条生产线,每条线可生产20.0米梁3片或者13.0米4片。
2、场地准备:预制梁场地为80m×50m原地面用5%的生石灰处理压实度达85~90%。
龙门吊轨道基础,采用砼基础,基础挖深30cm,采用5%灰土分三层用电夯回填,灰土上面用400×400mm C25砼浇注,预留钢筋卡钢轨,砼内采用φ14 mm钢筋4根、箍筋φ8@200 mm。
3、中横梁、传力梁和端梁的施工:中横梁尺寸300×400 mm在原地面下挖60cm,人工夯实,绑好钢筋浇注C30砼,传力梁尺寸600×600 mm 部分开挖60cm,人工夯实,绑好钢筋,立好模板,进行C30钢筋砼浇注。
,传力梁、中横梁在施工前准确测量放样,确保轴心偏位在2cm之内,严格控制截面尺寸和强度,端横梁与传力梁的预埋铁板焊接成整体,端横梁采用400 mm×2400mm(横向承载面),600mm×2400mm(竖向承载)的20mm厚钢板焊接成整体。
4、台座底模施工:底模质量直接关系到空心板梁的外观质量,在基础上浇筑15cm厚的C20素砼垫层,并且预埋7-10cm长的钢筋或用冲击钻打眼,埋入膨胀螺栓,将预埋钢筋顶端抄平与10号槽钢焊接上铺5mm厚钢板,底模板制作必须平整、光滑、排水畅通。
(二)、侧模板配置:空心板梁侧模板,采用新加工的大块钢模板,每节长4米,面板采用δ=3mm钢板,水平肋和纵向肋用[ 80×80mm槽钢制成,肋间距不超过60cm,模板加工数量为20 m中板2套,边板1套;13m 中板2套,边板1套。
(三)、芯模:空心板梁芯模均采用橡胶气囊。
规格及数量分别为:13米空心板直径260mm的2套,20m米空心板直径7200mm的2套。
先张法预应力空心板梁施工工艺1、先张法的设计理论先张法是先在台座上张拉预应力钢筋并作临时固定,然后浇筑砼,待砼达到一定的强度时(一般不低于设计强度的70%),放松预应力钢筋。
当预应力筋回缩时,从而使砼获得预压应力。
所以,先张法是靠钢筋与砼粘结来传递的。
2、先张法预制场的组成设施先张法预制台座3、生产工艺流程=(1)预应力张拉张拉时,两台千斤顶需要同步,采用油压表读数和伸长量双控,保持拉杆平衡伸出。
张拉完,马上放入马蹄铁,阻挡拉杆回缩,保持钢绞线的张拉力。
(2)内模板构造内模板1米一节,设合叶,可折叠回收。
折叠后的单节内模板,可以人工搬运,便于回收。
内模板的底缝隙比较大,便于浇捣底板砼。
内模板上表面有活动钢板,可封闭,完成箱体的砼浇注。
(3)混凝土浇筑(4)绑扎面板钢筋面板混凝土浇筑(4)回收内模板和封梁头砼浇捣后的第二天,便可以进行内模板的回收。
人员进入板梁内部,拆下螺丝及支撑,折叠模板,传递出梁外。
拆模时需要注意箱梁内部的通风和降温。
回收完内模板,进行封梁头。
可以采取砌砖和模板相结合的办法。
(5)放张的注意事项砼达到设计要求的强度,并达到龄期要求。
千斤顶上油,抽起马蹄铁,回油,缓慢放松钢绞线。
梁片之间不能战人,在放张过程中,梁片会挪动。
切割钢绞线要求采用砂轮切割机,不允许采用气焊切割。
(6)移梁和归梁梁片在梁头砼达到强度后,便可以吊离生产台座,空出台座进行下批次梁片的生产。
吊梁归梁可采用预埋吊环或兜底的方法,但对应16cm跨的小梁,并考虑到先张法预制场空间比较狭小,采用吊环进行归堆。
先张法预应力空心板梁施工技术发表时间:2018-09-10T16:02:55.203Z 来源:《基层建设》2018年第21期作者:郭炳坤[导读] 摘要:通过介绍先张法预应力空心板梁的制作方法,详细阐述了先张法预应力空心板梁的工艺流程,并针对施工中的关键环节如钢筋张拉施工、张拉台座的制作、砼的浇筑等进行了详细说明。
44018119790415xxxx摘要:通过介绍先张法预应力空心板梁的制作方法,详细阐述了先张法预应力空心板梁的工艺流程,并针对施工中的关键环节如钢筋张拉施工、张拉台座的制作、砼的浇筑等进行了详细说明。
工程实践表明,重视施工各个过程的质量控制,才能确保先张法预应力空心板梁制作质量。
关键词:先张法;空心板梁;施工工艺;措施随着现代城市建设的快速发展,各地方对基础设施建设越来越重视,道路交通的发展体现了一个城市的发达程度,而制约道路交通快速发展的瓶颈往往是桥梁的建设。
所以为缩短工期就需要将有些构件进行工厂化生产,其中桥面板的工厂化生产是一个成熟的工艺。
本人经过近几年的实践和摸索,同时指导相关预应力构件厂进行技术实践和革新,现将先张法预应力板梁的生产工艺及施工要点心得体会如下:1.先张法的施工工艺1.1张拉前准备工作进场的钢绞线必须具备厂方的质量保证和有资质的检测中心检验合格的检测报告,报告内容应包括拉力试验、松弛试验,进场后需对钢绞线进行试验,其结果必须符合《预应力混凝土用钢绞线》(规定:同一钢号、同一规格、同一生产工艺制造的钢绞线的每60T)为一批进行验收,每批选三盘,每盘截取一个试件,做力学性能实验,包括强度、弹性模量、截面积、延伸量、硬度,如有某一项实验结果不符合《预应力混凝土用钢绞线》标准要求,则该盘钢绞线不合格。
)钢绞线下料时必须采用砂轮切割机切断,不得采用电焊或气焊切割。
另外,每批钢绞线任选三盘,进行表面质量及直径偏差试验。
除了对钢绞线试验外,还需对施工附件进行试验,如精扎螺纹钢、连接器、锚具、螺帽等进行力学试验。
先张法预应力空心板梁施工工艺
先张法预应力空心板梁施工工艺
1、先张法的设计理论
先张法是先在台座上张拉预应力钢筋并作临时固定,然后浇筑砼,待砼达到一定的强度时(一般不低于设计强度的70%),放松预应力钢筋。
当预应力筋回缩时,从而使砼获得预压应力。
所以,先张法是靠钢筋与砼粘结来传递的。
2、先张法预制场的组成设施
先张法预制台座
3、生产工艺流程
=
(1)预应力张拉
张拉时,两台千斤顶需要同步,采用油压表读数和伸长量双控,保持拉杆平衡伸出。
张拉完,马上放入马蹄铁,阻挡拉杆回缩,保持钢绞线的张拉力。
(2)内模板构造
内模板1米一节,设合叶,可折叠回收。
折叠后的单节内模板,可以人工搬运,便于回收。
内模板的底缝隙比较大,便于浇捣底板砼。
内模板上表面有活动钢板,可封闭,完成箱体的砼浇注。
(3)混凝土浇筑
(4)绑扎面板钢筋面板混凝土浇筑
(4)回收内模板和封梁头
砼浇捣后的第二天,便可以进行内模板的回收。
人员进入板梁内部,拆下螺丝及支撑,折叠模板,传递出梁外。
拆模时需要注意箱梁内部的通风和降温。
回收完内模板,进行封梁头。
可以采取砌砖和模板相结合的办法。
(5)放张的注意事项
砼达到设计要求的强度,并达到龄期要求。
千斤顶上油,抽起马蹄铁,回油,缓慢放松钢绞线。
梁片之间不能战人,在放张过程中,梁片会挪动。
切割钢绞线要求采用砂轮切割机,不允许采用气焊切割。
(6)移梁和归梁
梁片在梁头砼达到强度后,便可以吊离生产台座,空出台座进行下批次梁片的生产。
吊梁归梁可采用预埋吊环或兜底的方法,但对应16cm跨的小梁,并考虑到先张法预制场空间比较狭小,采用吊环进行归堆。