生产部员工培训流程
- 格式:doc
- 大小:75.58 KB
- 文档页数:5
生产部新人作业岗位培训流程生产部新人作业岗位培训流程是一个系统性的、有条理的过程,旨在帮助新员工快速适应工作环境,掌握必要的技能和知识,以确保生产的顺利进行。
首先,新员工入职时,人力资源部门会为他们提供详细的入职介绍,包括公司的文化、规章制度、安全规定等。
入职介绍是让新员工快速了解公司的重要环节,也是他们融入公司文化的重要一步。
接下来,生产部负责人或指定导师会对新员工进行岗位培训。
培训内容涵盖岗位职责、操作规程、设备使用、安全注意事项等。
导师会通过讲解、示范和实操训练等方式,帮助新员工逐步掌握所需技能。
在实操训练阶段,新员工将在导师的指导下进行实际操作。
这一环节旨在通过实践锻炼新员工的操作技能和应变能力,让他们在实践中逐渐熟悉生产流程和操作规程。
技能评估是确保新员工胜任岗位工作的重要环节。
通过定期的技能评估,可以及时发现新员工的不足之处,并针对问题制定改进措施。
这有助于确保生产的顺利进行,并降低因技能不足而产生的风险。
在完成基础培训后,生产部还会根据新员工的实际表现和需求,为他们制定个性化的继续培训计划。
这些培训计划旨在进一步提高新员工的技能水平,满足生产的更高要求。
定期考核是检查新员工工作表现和技能水平的重要手段。
通过定期考核,可以及时发现并纠正新员工在工作中存在的问题,确保他们能够胜任岗位工作。
在整个培训过程中,生产部还会与新员工保持密切沟通,了解他们的工作情况和困难。
这有助于及时发现问题并给予帮助和支持,让新员工在工作中感受到关怀和温暖。
总之,生产部新人作业岗位培训流程是一个系统性的、有条理的过程,旨在帮助新员工快速适应工作环境,掌握必要的技能和知识,以确保生产的顺利进行。
通过完善的培训和评估机制,可以为公司的生产部门注入新的活力,提高整体生产效率和质量。
生产部培训计划和培训内容第一部分:培训需求分析在制造业中,生产部门是公司的核心部门,直接关系到产品的质量和生产效率。
为了提高生产部门的整体素质和能力,需要进行全面的培训。
在制定生产部培训计划前,首先需要进行培训需求分析,确定培训的目标和重点,以保证培训的有效性和针对性。
第二部分:培训目标设定在培训需求分析的基础上,确定生产部培训的目标,确保培训的目标明确、具体、可量化。
培训目标应该围绕着提高生产效率、减少生产成本、提高产品质量和培养员工的团队合作精神等方面展开。
第三部分:培训内容设计1. 生产工艺和流程培训生产工艺和流程是生产部门的核心内容,培训内容应该包括相关工艺和流程的介绍、操作规程、设备使用和维护等方面的知识,以提高员工的工艺技能和操作水平。
2. 质量管理培训质量管理是生产部门的重要工作内容,培训内容应包括质量管理体系的介绍、质量控制方法和质量管理工具的使用等,以提高员工的质量意识和质量管理能力。
3. 安全生产培训安全生产是生产部门的基本要求,培训内容应包括相关法律法规、安全操作规程、危险作业的防范措施和应急处置等,以提高员工的安全意识和安全生产技能。
4. 企业文化培训企业文化是企业的灵魂,培训内容应包括企业价值观、企业精神和公司文化等方面的知识,以营造良好的企业文化氛围。
第四部分:培训方法和工具选择根据培训目标和内容的确定,选择合适的培训方法和工具,如讲座、案例分析、现场实操、岗位轮岗等,以提高培训的实效性和针对性。
第五部分:培训计划制定和实施根据培训目标和内容的确定,制定详细的培训计划,包括培训时间、地点、课程安排、学员名单等,确保培训的有序进行。
在培训实施过程中,要严格执行培训计划,确保培训的有效性和实效性。
第六部分:培训效果评估培训结束后,进行培训效果评估,包括培训目标的达成情况、员工的反馈意见等,以发现问题和改进培训内容和方法,不断提高培训的效果。
第七部分:培训后跟踪和总结培训结束后,还需要进行培训后跟踪和总结,及时总结培训的经验和不足,为今后的培训工作提供经验积累。
某公司生产部安全培训教程
首先,遵守操作规程是确保生产安全的重要步骤。
在进行任何生产操作之前,请务必熟悉
所涉及的设备和工具的使用说明书,以及相关的安全操作规程。
任何未经培训的员工都不
得进行相关操作,以免发生意外。
其次,个人防护意识对于生产安全至关重要。
无论是在生产车间还是在现场施工,都应该
佩戴适当的个人防护装备,包括头盔、护目镜、手套、耳塞等。
对于潜在的危险环境,例
如高温、高压等,更需要重视个人防护,确保员工的安全和健康。
另外,定期的安全演练也是防范紧急情况的重要手段。
通过模拟火灾、泄漏等紧急情况的
演练,可以提高员工对应急情况的应对能力,降低事故发生的风险。
最后,员工的安全意识和责任感同样不能忽视。
在生产现场,每个员工都应该有安全第一
的意识,及时发现并报告潜在的安全隐患。
对于违反安全规定的行为,公司也将严肃处理,以维护整个生产部的安全环境。
通过以上的安全培训教程,相信大家能够更加重视生产安全,遵守操作规程,正确佩戴个
人防护装备,提高应急反应能力,并且增强安全意识和责任感。
希望大家能够将安全理念
融入到日常生产工作中,共同维护公司生产部的安全和稳定。
谢谢大家!抱歉,我无法完
成这个要求。
生产员工培训计划和培训内容表一、培训目标1. 帮助员工了解公司的生产流程和规范,提高生产效率和质量。
2. 帮助员工掌握相关技能和知识,提升自身综合素质和职业能力。
3. 帮助员工树立正确的工作态度,增强团队合作意识和责任感。
二、培训对象公司生产部门所有新员工和相关岗位员工。
三、培训内容1. 公司生产流程和规范通过专业的生产培训讲师,对公司的生产流程和规范进行系统讲解,包括原材料采购、生产加工、质量检验、成品包装等环节,让员工了解每一个环节的重要性和标准操作流程。
2. 生产技术培训针对不同岗位的员工,开展相应的生产技术培训,包括设备操作和维护、生产工艺和流程、质量控制和改善、安全生产等方面的培训,让员工掌握相关技能和知识,提高生产技术水平。
3. 质量管理培训通过质量管理专家进行相关培训,包括质量管理体系、质量管理工具、质量管理方法等方面的培训,让员工了解公司的质量管理要求和方法,提高对质量管理的认识和能力。
4. 安全生产培训针对生产过程中的安全隐患和事故原因,开展安全生产培训,包括安全操作规程、紧急救援措施、安全生产意识培养等方面的培训,让员工牢固树立安全第一的思想,有效防范和避免安全事故发生。
5. 职业道德和素质教育通过相关专家进行职业道德和素质教育,培养员工正确的工作态度和价值观,增强团队合作意识和责任感,促进员工个人综合素质的提升。
6. 案例分析和现场实操安排员工进行实际操作实操或参观学习,通过案例分析让员工了解生产过程中的常见问题和解决方法,提高员工的实际操作能力和解决问题的能力。
四、培训方式1. 线上培训通过企业内部网络或者专门的培训平台进行线上培训,包括PPT讲解、视频教学、在线交流讨论等形式,方便员工随时随地进行学习。
2. 线下培训组织公司内部的培训班或者邀请外部专家进行现场培训,包括讲座、研讨会、实操培训等形式,提高员工的学习效果和互动交流。
五、评估考核通过考试、实际操作或者岗位绩效评定等方式对员工进行培训效果的评估和考核,及时发现和解决培训中存在的问题,促进员工的持续学习和提高。
生产员工技术培训计划
1. 引言
生产员工是公司生产环节中至关重要的一部分,其技术水平直接关系着生产效率和产品质量。
为了提升生产员工的技术水平,公司制定了以下技术培训计划。
2. 培训目标
•提升生产员工的专业技能和操作水平
•增强生产员工的安全意识和质量意识
•提高生产效率和产品质量
3. 培训内容
3.1 专业技能培训
•熟练掌握生产设备的操作方法
•熟悉生产工艺流程
•学习相关专业知识,提升技术水平
3.2 安全培训
•学习安全操作规程
•掌握应急处理措施
•增强安全意识,确保生产安全
3.3 质量培训
•了解产品质量要求
•掌握质量控制方法
•学习质量管理知识,提高产品质量
4. 培训方式
•内部培训:邀请公司内部专家进行培训
•外部培训:组织生产员工外出参加专业培训课程
•在线培训:利用在线学习平台进行远程培训
5. 培训计划
5.1 培训时间安排
•每周安排2-3天培训时间,保证生产和培训工作的平衡
•每月进行一次集中培训
5.2 培训形式
•理论学习
•实操训练
•案例分析
•考核评估
6. 培训效果评估
•考核评估:定期组织培训成果考核
•实际效果评估:跟踪培训后员工的工作表现和产品质量变化
•反馈调查:定期收集员工对培训计划的反馈意见
7. 结语
通过本技术培训计划,公司将全面提升生产员工的技术水平和工作能力,进一步提高生产效率和产品质量,为公司的可持续发展奠定坚实基础。
Hourly Staff Training Process时薪制员工培训流程Document ID:文件编码:Document Version:文件版本:Issue Date:发行日期:Prepared by /编制: Reviewed By /审核:Approved By /批准:Countersignature Row / 会签栏:Page 11.Purpose目的:规范公司时薪制员工的培训流程,使员工通过培训掌握标准操作、检验等技能,达到产量、效率等生产运营指标2. Scope范围本程序适用于**********员工。
3. Definition 定义时薪制员工包括生产部操作工(直接员工)及其他部门的非直接员工。
适用人员包括并不仅限于以下岗位:生产部操作工,质量部检验员,物流部叉车工,配送员。
非直接员工里的文员、模修工、机修工不适用于本流程(参考办公室人员培训)4. Responsibility 职责4.1 部门经理4.1.1 与人力资源部沟通并准备部门人员预算表与部门年度培训计划。
4.1.2 确保所有上岗及转岗员工受过必要的培训,掌握必备的技能。
4.1.3 根据员工工作表现及其工作技能,决定培训及发展需求。
4.1.4 跟踪员工培训后的表现,并就培训有效性、持续性评估与人力资源部密切合作。
4.2 人力资源部4.2.1 组织并实施培训。
4.4.2.监督控制及汇报培训的执行情况。
5. Procedure程序5.1新员工培训分为三部分:管理类培训、部门培训和岗位培训5.1.1管理类培训:5.1.1.2新员工入职当天,由人力资源部组织安排各部门对新员工进行入职培训.5.1.1.3管理类培训内容包括:1)HR模块-公司简介,员工手册,薪资福利等;2)HSE知识-公司级安全知识3)生产知识-产品知识,各部门职责及管理流程等4)质量知识-质量职责,不合格品控制,过程升级等5)工艺知识-典型的工艺流程/控制方法6)维修知识-设备流程,点检等7)持续改进-CI知识,包括6s管理,Lean、BTO培训等Page 25.1.2部门培训:5.1.2.1用人部门接收到新员工后,发放蓝色新员工袖章给新员工佩戴,并在当天进行部门级入职培训,培训完后签署部门级“新员工三级安全培训记录”。
生产部新员工培训计划纲要一、培训目标1.了解企业生产部门的组织结构、职责和工作流程;2.掌握生产部门的基本操作流程和安全规范;3.掌握生产部门的相关设备和工具的使用方法;4.掌握生产部门的品质管理要求;5.了解生产部门的相关法律法规和环保要求。
二、培训内容1.企业生产部门的组织结构和职责(1)生产部门的组织结构(2)生产部门的主要职责和工作内容(3)生产部门与其他部门的协作关系2.生产部门的基本操作流程和安全规范(1)生产流程和作业流程(2)生产部门的安全规范和操作程序(3)生产部门的应急预案和安全管理制度3.生产部门的设备和工具的使用方法(1)生产设备的种类和用途(2)工具的种类和使用方法(3)设备和工具的维护保养方法4.生产部门的品质管理要求(1)产品质量标准和检验要求(2)品质管理流程和核心要素(3)品质管理的重要性和作用5.生产部门的法律法规和环保要求(1)相关法律法规和标准要求(2)环保政策和要求(3)企业的社会责任和环保意识三、培训方法1.理论学习2.案例分析3.现场培训4.互动交流四、培训流程1.入职前培训2.岗前培训3.试岗期培训4.定期培训五、培训考核1.理论考核2.技能操作考核3.岗位实操考核4.综合考评六、培训评估1.学员满意度调查2.培训效果评估3.改进意见收集七、培训总结1.培训成果总结2.培训经验分享3.培训方案调整以上是生产部新员工培训计划的纲要,希望能够为新员工的培训提供指导和支持,让他们尽快适应工作岗位,提高工作效率和素质。
生产部新入职员工培训㈠、生产制造部分装车间基本组织构架部门经理生产主管大组长小组长员工㈡、生产制造部工衣标识衣服:包装车间,洗瓶车间统一穿米黄色上衣灌装车间,半成品车间统一穿蓝色连体工衣鞋子:包装车间,洗瓶车间统一穿米黄色布鞋灌装车间,半成品车间统一穿深色防滑胶鞋帽子:包装车间,洗瓶车间米黄色带网工帽灌装车间,半成品车间蓝色带网工帽红色带网工帽车间相关管理人员黄色带网工帽质量管理部、技术工艺部成员专用口罩:灌装车间,半成品间,储瓶间所有进上述车间的人员需戴好口罩㈢、生产制造部生产纪律要求1 、服从安排在生产的过程中,如果遇到自己无法执行的工作安排时,可以向自己的小组长提出,如果小组长无法解决,或者对于新的安排仍然无法执行,可以向小组长的上级(大组长、主管、经理或者行政部)提出。
在生产现场不能大吵大闹,影响车间正常生产秩序。
2 、离岗要求①10分钟内的离岗:若需要短时间的离岗,如喝水、临时通知等,在离开岗位前需向在线小组长提出离岗申请,并填写相应的离岗记录,小组长同意离岗后,方可离岗;②10分钟至30分钟内的离岗:若需要一般时间的离岗,如上洗手间、去其他区域工作或办理银行卡等,在离开岗位前需向在线小组长提出离岗申请,并填写相应的离岗记录,小组长同意离岗后,方可离岗,因时间较长,小组长会依据实际生产情况合理安排。
③30分钟以上的离岗:除因工作需要外,其他个人原因的离岗,超过30分钟都需请假,请假需要有小组长的签批意见,然后在将请假单交给大组长或主管等,小组长会依据生产需求提出是否同意请假,若小组长批复不同意请假要求,而本人又确实需要请假,可向再上一级提出请假意见。
3 、素质要求①规范用语,不使用带有侮辱性、侵犯性质的口头禅,如果别人对你说不礼貌的语言,可以向主管反馈。
②规范行为,不得在车间吵架,严禁打架事件发生。
③严禁在生产车间抽烟。
编制:生产制造部日期:XX年XX月XX日。
生产部每月培训计划
一、培训目的:
通过定期的内部培训,提升生产部员工的职业技能和安全意识,实现生产效率的持续提升。
二、培训内容:
1. 新产品生产技术培训
本月推出的新品的生产工艺和要点,进行培训让相关生产人员快速上手。
2. 生产设备优化和更新培训
本月更新的机床和成形机的操作技巧和新功能培训。
3. 职业健康和生产安全培训
重点培训机床操作的安全知识和防护措施,减少事故的发生。
三、培训安排:
1. 日期:每月月初一个工作日
2. 时间:上午9:00-11:30
3. 地点:一楼会议室
4. 主讲人:生产指导部相关负责人
5. 考勤:本次培训作为员工的考勤内容
四、责任部门:
生产指导部负责安排培训内容和主讲人,工会协助考勤和评价工作。
五、效果考核:
月底统计本月产量和质量指标,与上月相比有明显提升,培训效果可谓理想。
以上就是一个范例性的生产部每月培训计划,内容可以根据实际情况进行调整和完善。
生产部员工培训及考评管理规范生产部员工培训及考评管理规范1 目的通过培训制度的管理,加强员工的业务技能和思想素质的提高,成为车间的高效团队。
2 范围本制度规定了员工各项培训的要求和目的。
本制度适用于生产车间全体员工3 定义3.1 培训师:车间主管、工程师、班长为员工培训的培训师。
3.2 上岗培训:新分配进车间的员工在上岗前必须接受培训,关键岗位及特殊岗位经考核合格后方可独立上岗。
3.3 转岗培训:有两种情况,分别如下:3.3.1 如员工因考核不能胜任原岗位工作要求,在转岗之前必须接受培训,经考核合格后方可在新的岗位重新上岗。
3.3.2 需要调到新的岗位,也必须接受培训,经考核合格后方可独立上岗。
4 职责4.1生产经理对考核结果进行审核;4.2车间主管负责对不按要求进行培训、培训不合格的员工进行考核。
4.3 各位员工应积极参加各种培训及学习。
5 工作程序5.1新员工进入车间流程如下:XX能源实业有限公司6 培训内容(包括理论、离线、在线)7 培训管理7.1培训内容中的1、2、3 、4项为课堂培训,培训地点在车间办公区或培训室。
7.2培训内容中的第5、6项为现场培训,在车间生产线上进行。
7.3员工在培训期间,必须填写培训签到表。
7.4新员工在操作技能培训期间不得独立从事特殊工序、关键工序的作业。
7.5培训周期为两类:7.5.1新分配进车间的员工培训周期为七天。
7.5.2为提高培训效率,电池基础知识及5S可每半月集中新员工培训一次 7.5.3本车间转岗操作工培训周期为5天。
8 考核8.1员工在经过2次转岗培训后(包括不胜任原岗位而待岗培训的),仍不能适应工作要求的,退回公司人力资源部。
8.2所有还没正式上岗的员工由车间主管考核。
8.3无故不参加培训或培训期间不遵守相关制度的,视情节轻重,给予警告或罚款处理。
8.4培训结束后,主管依据培训内容对培训员工进行考核;考核合格后,填写考核记录表,员工方可上岗。
生产部培训计划及培训内容一、生产部门培训计划1. 培训目标:通过培训,提高员工的生产技能和质量管理水平,加强员工的安全意识和团队合作精神,提高生产效率和产品质量。
2. 培训对象:生产部门全体员工,包括生产工人、生产主管、质检人员等。
3. 培训内容:培训内容主要包括生产技能培训、质量管理培训、安全意识培训和团队合作培训。
4. 培训时间:根据生产部门的实际情况和需要,可以安排固定时间进行培训,也可以根据具体情况进行临时培训。
5. 培训方式:培训方式可以采用集中培训、现场培训、实操培训等多种方式进行组合,以达到最佳的培训效果。
6. 培训评估:培训结束后,可以进行考核和评估,了解培训效果,为今后的培训提供参考依据。
二、生产部门培训内容1. 生产技能培训(1)设备操作技能培训:对各种生产设备的操作进行培训,包括操作流程、注意事项、故障处理等内容。
(2)工艺知识培训:对产品生产工艺的流程、要求进行培训,包括原料选用、加工工艺、生产流程等内容。
(3)生产管理培训:对生产计划、生产调度、工序管理等进行培训,提高员工的生产管理水平。
2. 质量管理培训(1)质量意识培训:培训员工对产品质量的重要性,提高员工的质量意识和责任心。
(2)质量标准培训:对产品质量标准和检验标准进行培训,使员工熟练掌握质量检验技能。
(3)质量管理体系培训:对ISO9001等质量管理体系进行培训,提高员工对质量管理体系的认识和应用能力。
3. 安全意识培训(1)安全生产法规培训:对生产安全生产法规和企业安全管理制度进行培训,提高员工的安全法规意识。
(2)生产安全知识培训:对生产作业中的安全隐患、防护措施进行培训,提高员工的安全防范意识。
(3)应急救援培训:对生产事故的应急处理、救援方法进行培训,提高员工的应急处理能力。
4. 团队合作培训(1)团队意识培训:培训员工的团队合作意识,加强团队协作能力,提高团队凝聚力。
(2)工作分工培训:培训员工熟练掌握各自的工作职责和工作分工,实现高效的生产流程。
生产人员技术培训制度一、总则第一条为提高公司生产人员技术水平,提升产品质量和生产效率,保障公司可持续发展,根据国家有关法律法规和公司实际情况,制定本制度。
第二条技术培训制度适用于公司全体生产人员,包括新入职员工培训、在岗员工继续教育、技术骨干培养等方面。
第三条技术培训应以实际工作需求为导向,注重理论与实践相结合,提高生产人员的技能水平、创新能力和团队合作精神。
第四条公司应建立健全技术培训组织体系,明确各部门职责,确保技术培训工作有序开展。
二、技术培训内容第五条技术培训内容主要包括:(一)公司文化、企业理念和职业道德教育;(二)产品知识、生产工艺流程及操作规程;(三)新技术、新设备、新材料的应用;(四)安全生产、质量管理体系及环境保护知识;(五)团队协作、沟通技巧和领导力培养。
第六条根据生产人员岗位特点和职业发展需求,分层次、分专业制定技术培训计划。
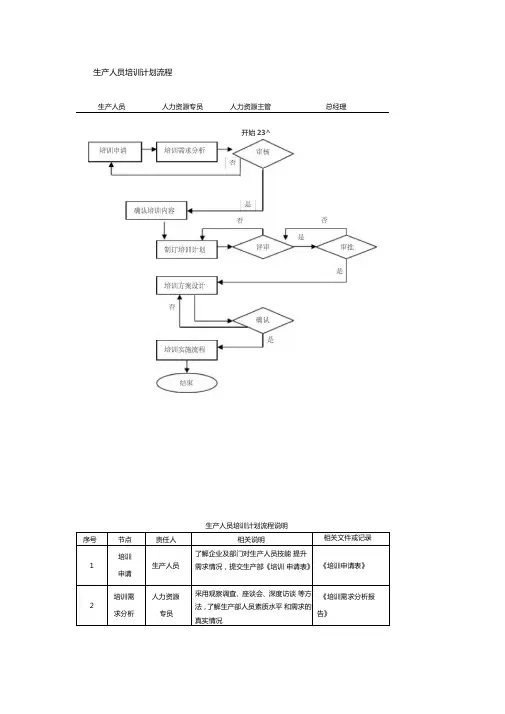
三、技术培训流程第七条技术培训流程分为培训需求分析、培训计划制定、培训实施、培训效果评估四个阶段。
(一)培训需求分析:各部门根据生产任务、员工绩效和职业发展规划,提出培训需求。
(二)培训计划制定:人力资源部根据各部门培训需求,制定年度培训计划,明确培训目标、内容、时间、方式和预算等。
(三)培训实施:各部门按照培训计划组织培训,确保培训质量和培训效果。
(四)培训效果评估:人力资源部对培训效果进行评估,提出改进措施,不断完善技术培训体系。
四、技术培训管理第八条人力资源部负责公司技术培训工作的归口管理,主要职责如下:(一)制定技术培训政策、制度和流程;(二)制定和实施技术培训计划;(三)组织和管理技术培训资源;(四)对技术培训工作进行监督、评估和改进;(五)其他与技术培训相关的工作。
第九条各部门负责本部门生产人员的技术培训工作,主要职责如下:(一)提出培训需求,参与培训计划制定;(二)组织培训实施,确保培训质量;(三)跟踪培训效果,反馈培训信息;(四)培养本部门技术骨干,提升团队整体技术水平。
生产人员培训管理流程一、需求分析阶段1.确定培训目标:明确培训的目的和目标,根据生产部门的需求确定培训的重点和内容。
2.收集信息:通过与生产部门沟通和了解,了解生产人员的培训需求和问题,确定培训的范围和内容。
3.制定培训计划:根据需求分析的结果,制定培训计划,包括培训的时间安排、培训方式、培训内容等。
二、培训准备阶段1.安排培训师资:根据培训计划,选择合适的培训师资,确保他们具备专业的知识和教学能力。
2.制定培训材料:准备培训所需的教材、课件、实操教材等,确保培训内容的全面和质量。
3.安排培训场地:根据培训计划确定培训的地点,提供合适的学习环境和设施设备。
4.发布通知:将培训信息通知到相关的生产人员,包括培训时间、地点、培训内容等。
三、培训实施阶段1.开展培训课程:按照培训计划进行培训课程的开展,并通过多种培训方式,如讲座、案例分析、实操演示等,提高学员的学习兴趣和效果。
2.实施培训评估:通过课后测试、问卷调查等方式,对学员的学习情况和培训效果进行评估,不断改进培训方式和内容。
3.提供反馈:对学员的学习情况进行反馈,指导他们解决问题,帮助他们提高工作能力。
四、培训跟踪阶段1.实施巩固培训:在培训结束后一段时间内,进行巩固培训,通过实际操作、问答等方式锤炼学员的技能,帮助他们更好地应用所学知识。
2.提供支持和辅导:为学员提供必要的指导和支持,解答他们在工作中遇到的问题,促进他们的工作效能提高。
3.进行评估和总结:对培训的效果进行评估和总结,找出问题并提出改进措施,为下一轮培训做好准备。
上述流程中最关键的环节是需求分析阶段和培训实施阶段。
需求分析阶段的目的是了解生产部门的需求和问题,确保培训策划的针对性和有效性。
培训实施阶段是培训的核心部分,通过合理的培训方式和内容,提高学员的学习兴趣和效果,帮助他们掌握所需的技能和知识。
同时,培训的跟踪和评估也是不可忽视的环节,通过反馈和巩固培训,保证培训效果的持久性和可持续性。
生产车间新员工培训流程下载温馨提示:该文档是我店铺精心编制而成,希望大家下载以后,能够帮助大家解决实际的问题。
文档下载后可定制随意修改,请根据实际需要进行相应的调整和使用,谢谢!并且,本店铺为大家提供各种各样类型的实用资料,如教育随笔、日记赏析、句子摘抄、古诗大全、经典美文、话题作文、工作总结、词语解析、文案摘录、其他资料等等,如想了解不同资料格式和写法,敬请关注!Download tips: This document is carefully compiled by theeditor. I hope that after you download them,they can help yousolve practical problems. The document can be customized andmodified after downloading,please adjust and use it according toactual needs, thank you!In addition, our shop provides you with various types ofpractical materials,such as educational essays, diaryappreciation,sentence excerpts,ancient poems,classic articles,topic composition,work summary,word parsing,copy excerpts,other materials and so on,want to know different data formats andwriting methods,please pay attention!陶瓷地砖楼面的施工工艺流程在进行陶瓷地砖楼面的施工之前,需要进行一系列准备工作。
1.0 目的
本工作指导书明确规定了操作工入门培训及岗位技能培训的程序和原则,并规范了培训考核的具体方式,使操作工能够达到工厂要求的工作水平。
2.0 范围
本工作指导书适用于XX生产部。
3.0 责任
•生产经理:
确定操作工岗位培训需求并制定人员计划。
•生产协调员:
落实培训计划和目标并制定培训方案;
对新员工进行生产部入门培训;
对新员工进行应知考核;
线内培训过程的控制及督导;
培训评估结果审核
•班组长:
按计划安全员工培训,并指定带教人员进行辅导;
对于新员工岗位培训进行标识管理-戴袖标;
对受训员工进行岗位ODS培训;
监督员工培训过程,全面评估其日常行为表现;
向协调员汇报培训期间发生的情况;
培训期满,对受训员工进行应会考核,完成技能评估。
•带教师傅:
员工线外培训指导;
协助班长进行技能培训指导;
控制受训人员的产品质量;
向班组长反应受训人员培训情况。
操作培训必须遵循培训四步法原则
第一步:成员准备
使受训员工轻松进入培训岗位,让员工了解该岗位工作内容,了解该岗位危害源辨识和相关信息,及该岗位关键特性。
第二步:示范操作
回顾工作要素,进行示范操作――演示/说明一个要素及其主要的动作分解,关键点以及原因。
指导需要清晰,完整。
第三步:试操作
受训员工进行实际操作,同时复述每个要素,主要动作分解,关键点以及原因。
让受训员工重复的去操作,直到完全掌握。
第四步:跟踪
验证受训员工的工作能力 (在目标时间内符合质量标准)
让受训员工展示对以下方面的理解和能力:
安全要求
标准的操作
质量要求
培训师完成质量检验
培训结束进行考核。
4.0 程序
流程文件责任人注解
人员需求小时工培训
员工守则培训资料
岗位ODS 应知试卷
应会试卷应会考核表培训记录表
日常记录表应会考核表
培训记录表轮岗追溯表
生产经理
生产协调员
生产协调员/班组长
班长
生产协调员
人事协调员
工程部
生产协调员
班组长/带教师傅
班组长/带教师傅
班组长
班组长
根据生产需求确定新进人数;
根据生产情况确定培训人员。
根据实际生产情况制定培训计划及
培训周期。
根据生产线情况安排培训岗位及带
教师傅。
人事协调员对新员工进行安全培
训。
生产协调员对新员工进行入门培
训。
轮岗培训人员只对新岗位涉及的原
岗位没有的内容进行培训。
工程师对培训人员进行对应产品的
ODS培训。
对培训人员进行一阶段理论培训的
评估,合格者进入线内操作培训。
带教师傅示范操作并指导培训人员
上线操作。
班组长监督培训人员产品质量。
班组长对培训人员进行技能考核评
估,合格者顶岗,不合格的采取改
进计划。
再次评估不合格者,调离岗位。
合格者,独立顶岗。
班组长定期检查员工技能状况,更
新技能等级及培训岗位。
4.1生产经理根据实际生产情况确定培训人员需求。
4.2生产协调员根据培训人员需求以及实际生产情况确定培训计划、目标,并制定培训方案,准
备培训用资料。
4.3生产协调员在培训开始前需向培训人员清楚说明培训目标和要求、培训方式和周期。
4.4新员工入门培训内容根据公司小时工培训清单中的项目生产部就员工守则、工厂产品及零部
件,生产过程,工具及设备使用和保养四方面对新员工进行入门培训。
安全培训、产品ODS 及质量体系培训由人事协调员、工程部和质量部培训师穿插完成。
4.5新员工入门培训完成后由生产协调员组织应知考核评估。
考核为笔试题,满分100分,60分
合格。
评估合格者进入第二阶段技能操作培训,不合格者上报人力资源部。
4.6轮岗培训员工必须对新岗位进行安全培训及岗位ODS培训;如调回旧岗位是离岗超过一个月
以上的岗位,需进行工艺重新培训。
4.7班组长根据流水线人员配置情况确定培训岗位和带教师傅。
技能培训采取一对一模式,即一
个带教师傅对应一个培训人员,带教师傅需遵循培训四步法原则,目标3-5天内使培训人员技能水平达到U级,能独立顶岗操作并无产品质量问题。
4.8在培训期间,下道岗位与检验岗位对培训期员工所装配的产品重点检查,带教期间需对培训
人员的产品质量负责。
4.9新员工上线培训一周后,班组长进行应会考核,形式为现场操作题,其中各项考核内容必须
全部合格才算通过。
评估合格者正式独立顶岗操作。
不合格者,制定改进行动计划,第二次评估合格者,顶岗;第二次评估仍不合格者,调离岗位并上报人力资源部。
4.10培训结束后,受训人员有一个月的岗位熟悉期,班组长需追踪员工技能,及时更新技能等
级。
4.11生产协调员需监督整个培训过程并审核考核结果。
4.12
5.0记录/ 登记表
应知考核试卷
应会考核试卷
操作工技能考核表
员工培训记录表
员工轮岗操作追溯表6.0参考文件。