量值溯源图要求
- 格式:doc
- 大小:28.50 KB
- 文档页数:2
环境监测仪器量值溯源的途径与方法环境监测仪器按其使用范围大体分为实验室通用仪器、现场监测仪器、自动监测仪器、污染源连续在线监测仪器和应急监测仪器五类。
环境监测仪器量值溯源的方式包括检定、校准和对比三种。
1实验室通用仪器实验室通用仪器包括天平、pH(酸度)计、电导率仪、测汞仪、原子吸收分光光度计、等离子发射光谱仪、可见/紫外/红外及荧光分光光度计、气相色谱仪、液相色谱仪、气质联用或液质联用仪等。
这类仪器都有计量检定规程,其中天平、酸度计、测汞仪、原子吸收分光光度计和可见、紫外、红外及荧光分光光度计等均被列入强检范围,需通过检定来实现量值溯源,其余仪器原则上可以检定,也可以校准。
环境监测日常使用的红外测油仪、测硫仪、电热恒温干燥箱、水浴锅等,可以采取自校准方式实现量值溯源。
仪器的检定和校准大致分为以下5种情况:⑴对于有检定规程、被列入强检范围,且当地计量部门有检定资质的,应当送检。
转速计|水份计|水份仪|分析仪|溶氧计|电导度计|PH计|酸碱计|糖度计⑵对于有检定规程、被列入强检范围,当地计量部门没有检定资质的,原则上应送到上一级计量行政部门指定的计量检定机构检定,但由于实际操作上的困难,有的单位常采用外校准或自校准。
⑶对于有检定规程,当地计量部门没有检定资质的,可向当地计量行政主管部门申请计量标准考核,经考核合格并授权后开展自检。
⑷对于有检定规程,未被列入强检范围的仪器,可以送检、自检(需被授权)、外校准或自校准。
⑸对于没有检定规程的仪器,可以外校准或自校准。
2现场监测仪器现场监测仪器包括DO 测定仪、便携式酸度计、水质综合分析仪、汽车排放气体测试仪、滤纸式烟度计、透射式烟度计、TSP采样器、大气采样器、烟尘测定仪、SO2分析仪、甲醛气体监测仪和声级计等。
这类仪器一般都有计量检定规程,其中DO测定仪、水质综合分析仪、烟尘测定仪、SO2分析仪和声级计等已被列入强检范围,原则上应送检,其余仪器可送检也可自校准。
CNAS—GL04量值溯源要求的实施指南中国合格评定国家认可委员会二〇〇六年六月量值溯源要求的实施指南1.目的与范围1.1CNAS—CL01:2006《检测和校准实验室能力认可准则》(等同采用ISO/IEC 17025:2005)5.6.1中规定“用于检测和(或)校准的对检测、校准和抽样结果的准确性或有效性有显著影响的所有设备,包括辅助测量设备(例如用于测量环境条件的设备),在投入使用前应进行校准”。
同时5.6.2对校准和测量应溯源到国际单位制(SI)进行了明确规定。
为满足《检测和校准实验室能力认可准则》的要求,认可委员会制定了《量值溯源要求》(CNAS—CL06:2006),本文件是对《量值溯源要求》具体应用的解释和说明,不增加其他的要求。
1.2 本指南适用于已经认可和申请认可的机构从事的校准、检测活动,也适用于指导评审员对被评审机构满足量值溯源要求的评估和报告。
2.引用文件下列文件中的条款通过引用而成为本文件的条款。
以下引用的文件,注明日期的,仅适用引用的版本;未注明日期的,适用引用文件的最新版本(包括任何修订)。
2.1《中华人民共和国计量法》(1986年7月1日施行)2.2《中华人民共和国计量法实施细则》(1987年2月1日发布)2.3 中华人民共和国国家计量技术规范JJF1001-1998《通用计量术语及定义》2.4 中华人民共和国国家计量技术规范JJF1069-2003《法定计量检定机构考核规范》2.5 《标准物质管理办法》(1987年7月10日国家计量局发布)2.6 ISO/IEC 17011:2004《合格评定—认可机构通用要求》2.7 CNAS—RL01《实验室和检查机构认可规则》2.8 CNAS—CL01《检测和校准实验室能力认可准则》3.术语和定义本指南引用ISO/IEC指南2、ISO/IEC 17000和ISO/IEC 17011中的有关术语并采用下列定义:3.1 量值一般由一个数乘以测量单位所表示的特定量的大小。
FM17-03-001 万能试验机审核:编制:FM17-03-004 万能试验机审核:编制:量值溯源图FM09-03-003 万能试验机审核:编制:FM23-03-001 抗折试验机审核:编制:FM25-03-001 陶瓷砖弯曲强度试验机审核:编制:FP11-03-001 液压式压力试验机审核:编制:FP11-03-002 压力试验机审核:编制:FM20-03-001 架盘天平审核:编制:FM20-03-002 架盘天平审核:编制:FM20-03-003 架盘天平审核:编制:FM11-03-001 台秤审核:编制:FM31-03-001 案秤审核:编制:FM24-03-001 静水力学天平审核:编制:FM04-03-001 分析(电光)天平审核:编制:FM05-03-001 分析(电光)天平审核:编制:FM05-03-001 分析(电光)天平审核:编制:FO05-03-001 水泥胶砂搅拌机审核:编制:FO03-03-001 水泥胶砂振实台审核:编制:FO02-03-001 水泥净浆搅拌机审核:编制:FO02-03-001 水泥净浆搅拌机审核:编制:FP17-03-001 水泥负压筛析仪审核:编制:FH07-03-001 砼回弹仪审核:编制:FH03-03-002 肖式硬度计审核:编制:CA05-03-001 酸度计审核:编制:LA05-03-001 陶瓷砖综合测定仪审核:编制:LS12-03-001 游标卡尺审核:编制:LS12-03-002 游标卡尺审核:编制:LA01-03-001 宽座角尺审核:编制:LA01-03-002 宽座角尺审核:编制:LG04-03-001 塞尺审核:编制:LS05-03-001~007 百分表审核:编制:LS07-03-001~006 千分表审核:编制:LS14-03-001 深度游标卡尺审核:编制:LS01-03-001 外径千分尺审核:编制:LS18-03-001 钢直尺审核:编制:LS04-03-001 深度千分尺审核:编制:LS30-03-001 砖用卡尺审核:编制:LS34-03-001 读书显微镜审核:编制:FO04-03-001 砼振动台审核:编制:HT03-03-001 机械秒表审核:编制:TT26-03-001~002 数字温度指示调节仪审核:编制:FC14-03-001 维勃稠度仪审核:编制:FO08-03-001 振击式标准振筛机审核:编制:FM25-03-002 抗折试验机审核:编制:FO03-03-001 胶砂流动度测定仪审核:编制:FM30-03-001 电动击实仪审核:编制:HT04-03-001 雷式沸煮箱审核:编制:TT19-03-001~002 电热干燥箱审核:编制:TT22-03-001 标准养护箱审核:编制:。
仪器设备量值溯源图文件编号:量值溯源图的绘制■实验室认可申请书的附录中要求绘制量值溯源图。
■量值溯源图是对所有认可项目涉及的“各种量值”绘制,而不是对每台仪器绘制。
■在每个量值的溯源图中,绘制上、中、下三个方框,方框之间用向上的箭头连接。
■在下面的方框内填写测量要求。
第一行填写“测量要求”;第二行填写认可项目涉及的(物理)量,例如“小容量(滴定测量)”;第三行填写该量在申请认可的情况下所覆盖的测量范围,例如“测量范围:(1~100 )mL”;第四行填写要求的测量准确度、扩展不确定度、误差极限或允许误差范围等,例如“测量准确度要求:0.01 mL”;■在中间的方框内填写本实验室测量器具技术性能。
第一行填写“本实验室测量器具技术性能”;第二行填写对应于认可项目所涉及的(物理)量,实验室使用的仪器设备名称,例如“工作计量器具:A级滴定管”;第三行填写该仪器设备覆盖的测量范围,例如“测量范围:(1~100 )mL”。
该范围应大于等于前一个方框内同一行的测量范围;第四行填写使用该仪器设备测量所获得的(扩展)不确定度、或误差极限或允许误差范围等,例如“最大示值允差:△=±(5~1)×10-3 mL”,其数值应小于前一个方框内同一行所给出的数值。
■在上面的方框内填写承担检定或校准机构的校准能力。
第一行填写承担检定或校准的机构,例如“XX市计量测试研究所授权证书号:×××字×××—××号”;授权证书号可从该机构出具的校准证书或检定证书上获得。
第二行填写该机构使用的计量标准的名称,例如“计量标准器具:一等标准玻璃量器组”;第三行填写该计量标准覆盖的测量范围,例如“测量范围:(0.01~10000)mL”。
该范围应大于等于前一个方框内同一行的测量范围;第四行填写使用该计量标准测量所获得的(扩展)不确定度、或误差极限或允许误差范围等等,例如“最大示值允差:△=±(12~0.4)×10-4 mL”。
第一部分量值溯源的要求一、量值溯源通过一条具有规定不确定度的不间断的比较链,使测量结果或测量标准的值能够与规定的参考标准(通常是国家计量基准或国际计量基准)联系起来的特性,称为量值溯源。
量值溯源体系就是这条有规定不确定度的不间断比较链。
量值溯源等级图,也称为量值溯源体系表,它是表明测量仪器的计量特性与给定量的计量基准之间关系的一种代表等级顺序的框图。
它对给定量及其测量仪器所用的比较链进行量化说明,以此作为量值溯源性的证据。
实现量值溯源的最主要的技术手段是校准和检定。
二、量值溯源的目的为确保所有检测和/或校准结果或标准的量值能最终溯源到国家基准或国际计量基准,以确保检测和/或校准结果准确可靠。
量值溯源是确保检测和/或校准结果准确可靠的主动行为。
量值溯源是确保检测和/或校准结果获得认可的法制行为。
量值溯源是实现计量单位制统一的重要手段。
量值溯源是贸易全球一体化和试验室结果互认的基础。
1)确定示值误差,并确定是否在预期的或要求的范围内。
2)得出标称值偏差的报告值,可调整测量器具或对示值加以修正。
3)给任何标尺标记赋值,或确定其他特征值,或给参考物质特征赋值。
4)实现量值溯源。
5)提高用户对测量结果的信任度和实验室的自信心。
三、量值溯源的范围对实验室来说,一般需要对以下对象进行量值溯源:(1)仪器设备:主要指对检测和/或校准结果会产生影响的仪器设备及相关参数。
(2)参考标准:参考标准是指在给定地区或在给定组织内,通常具有最高计量学特征的测量标准。
它是具有量值功能的实验室的最高计量标准,它应由法定计量技术机构进行检定。
(3)标准物质(参考物质):具有一种或多种足够均匀和很好的确定了特性,用以校准测量装置、评价测量方法或给材料赋值的一种材料或物质。
附有证书的、经过溯源的标准物质称为有证标准物质。
实验室应尽可能使用有证的标准物质。
计量溯源性它要求实验室针对自己检测方法标准的相关量值,主动地与上一级检定机构取得联系,追溯高于自己准确度(一般遵循1/10或1/3法则)的量值与之比较,确定自己的准确性。
CNAS-CL06量值溯源要求 Requirements for Measurement Traceability中国合格评定国家认可委员会前 言量值溯源的一致性是国际间相互承认测量结果的前提条件,中国合格评定国家认可委员会(英文缩写:CNAS)将量值溯源视为测量结果可信性的基础,CNAS对量值溯源的要求与国际规范的相关要求一致。
在量值溯源方面,CNAS要求合格评定机构在满足国际标准的同时,应遵循我国有关法律法规的规定,符合中国量值溯源体系的要求。
本文件代替CNAS-CL06:2006《量值溯源要求》。
量值溯源要求1 适用范围本要求规定了量值溯源的要求,适用于实验室、检查机构和标准物质生产者、能力验证提供者(以下简称合格评定机构)从事的测量活动,也是CNAS对合格评定机构的量值溯源进行评审的依据。
2 引用文件下列文件中的条款通过引用而成为本文件的条款。
请注意使用引用文件的最新版本(包括任何修订)。
2.1 《中华人民共和国计量法》2.2 ISO/IEC指南99《国际通用计量学基本术语》2.3 ILAC-P10《ILAC关于测量结果溯源性政策》2.4 ISO/IEC 17011《合格评定—认可机构通用要求》3 术语和定义本文件采用ISO/IEC指南99《国际通用计量学基本术语》中的有关术语和定义。
4 量值溯源要求4.1 量值溯源的基(标)准4.1.1 合格评定机构应能够证实其测量活动所涉及的全部量值能溯源至国家计量基(标)准或国际测量标准。
4.1.2 CNAS承认符合中华人民共和国计量法规定的国家计量基(标)准和量值溯源体系。
4.1.3 CNAS承认BIPM(国际计量局)框架下,签署MRA(互认协议)并能证明可溯源至SI国际单位制的国家计量基(标)准或经济体的参考标准。
4.2 量值溯源的途径与要求4.2.1 由CNAS认可的校准实验室所提供的计量标准应当具有溯源性。
4.2.2 CNAS承认我国计量基(标)准量值溯源的有效性(见附图)。
量值溯源图的绘制■实验室认可申请书的附录中要求绘制量值溯源图。
■量值溯源图是对所有认可项目涉及的“各种量值”绘制,而不是对每台仪器绘制。
■在每个量值的溯源图中,绘制上、中、下三个方框,方框之间用向上的箭头连接。
■在下面的方框内填写测量要求。
第一行填写“测量要求”;第二行填写认可项目涉及的(物理)量,例如“小容量(滴定测量)”;第三行填写该量在申请认可的情况下所覆盖的测量范围,例如“测量范围:(1~100 )mL”;第四行填写要求的测量准确度、扩展不确定度、误差极限或允许误差范围等,例如“测量准确度要求:0.01 mL”;■在中间的方框内填写本实验室测量器具技术性能。
第一行填写“本实验室测量器具技术性能”;第二行填写对应于认可项目所涉及的(物理)量,实验室使用的仪器设备名称,例如“工作计量器具:A级滴定管”;第三行填写该仪器设备覆盖的测量范围,例如“测量范围:(1~100 )mL”。
该范围应大于等于前一个方框内同一行的测量范围;第四行填写使用该仪器设备测量所获得的(扩展)不确定度、或误差极限或允许误差范围等,例如“最大示值允差:△=±(5~1)×10-3 mL”,其数值应小于前一个方框内同一行所给出的数值。
■在上面的方框内填写承担检定或校准机构的校准能力。
第一行填写承担检定或校准的机构,例如“XX市计量测试研究所授权证书号:×××字×××—××号”;授权证书号可从该机构出具的校准证书或检定证书上获得。
第二行填写该机构使用的计量标准的名称,例如“计量标准器具:一等标准玻璃量器组”;第三行填写该计量标准覆盖的测量范围,例如“测量范围:(0.01~10 000)mL”。
该范围应大于等于前一个方框内同一行的测量范围;第四行填写使用该计量标准测量所获得的(扩展)不确定度、或误差极限或允许误差范围等等,例如“最大示值允差:△=±(12~0.4)×10-4 mL”。
量值溯源程序机构概况1总则1.1溯源性总体要求实验室应分析测量设备的技术指标,明确设备的量值溯源需求,制定量值溯源总体要求,以便对检测结果的准确性或有效性有显著影响的所有设备,在投入使用前都进行校准,确保检测结果能够溯源到国际单位制(SI)。
3.中心对那些对检测结果的准确性产生影响的检测仪器,在使用之前都按相关的技术规范或标准进行检定或校验,确保结果的准确性。
4.参考标准的校准, 必须按预先制订好的计划和程序进行,必须在由经过国家授权的、能提供对国家测量基准溯源的机构完成。
实验室建立的所有参考标准, 只能用作校验之用, 不能作为其他用途。
对于能够证明用于其他用途而不会对作为参考标准带来不利影响者除外。
参考标准在任何调整之前或之后都必须进行校验。
5.中心要求各有关仪器尽可能使用有证标准物质(参考物质)。
特殊情况下需要使用其他标准物质时,要求能溯源到SI单位或有证标准物质。
中心将对内部标准物质进行核查。
6.中心制订了参考标准、标准物质(参考物质)进行期间核查的程序,核查由各室主任及参考标准、标准物质(参考物质)保管人组织实施,以确保其校准状态的置信度(详见DURCAM-200-23《参考标准和标准物质(参考物质)的管理程序》)。
7.中心制定明确的管理程序,以保证安全处置、存储和使用参考标准和标准物质(参考标准),防止其在此过程中受到污染或损坏,并确保其完整性(详见DURCAM-200-23《参考标准和标准物质(参考物质)的管理程序》)1.2量值溯源程序检测中心编制了《量值溯源程序》,对各类测量设备的量值溯源工作进行规范性管理和控制。
1.3校准计划设备管理员负责制定设备和量具的周期校准计划,定期对检测中心的测量仪器设备和量具进行送检。
1.4 校准结果的计量确认设备管理员应会同技术主管共同确定检测中心检测工作对各类测量设备的技术要求,在设备校准结束后,设备管理员应对照该要求对设备校准证书和校准结果是否满足要求进行确认,填写在《设备校准结果确认记录》中。
CNAS—CL06量值溯源要求Requirements for MeasurementTraceability中国合格评定国家认可委员会量值溯源要求1.前言1.1量值溯源的一致性是国际间相互承认测量结果的前提条件,中国合格评定国家认可委员会(英文缩写:CNAS)将量值溯源视为测量结果可信性的基础,CNAS 对量值溯源的要求与国际规范的相关要求一致。
1.2在量值溯源方面,CNAS要求已认可机构在满足国际标准的同时,应遵循我国有关法律法规的规定,符合中国量值溯源体系的要求。
1.3CNAS承认一切能够证实与国家或国际计量基(标)准存在有效关系的境内外量值溯源途径。
2.适用范围本要求规定了量值溯源要求,适用于已认可机构从事的测量活动,也适用于CNAS对已认可机构量值溯源方面的评估和报告。
3.引用文件下列文件中的条款通过引用而成为本文件的条款。
以下引用的文件,注明日期的,仅适用引用的版本;未注明日期的,适用引用文件的最新版本(包括任何修订)。
3.1《中华人民共和国计量法》(1986年7月1日施行)3.2《中华人民共和国计量法实施细则》(1987年2月1日发布)3.3International Vocabulary of Basic and General Terms in Metrology(VIM). BIPM,IEC,IFCC,ISO,IUPAC,IUPAP,OIML,2nd edition,1993.《国际通用计量学基本术语》3.4JJF1001-1998《通用计量术语及定义》3.5ILAC—P10:2002《ILAC关于测量结果溯源性政策》3.6ISO/IEC17011:2004《合格评定—认可机构通用要求》3.7CNAS—RL01《实验室和检查机构认可规则》3.8CNAS—CL01《检测和校准实验室能力认可准则》4.术语和定义本要求引用VIM2rd edition,1993《国际通用计量学基本术语》(JJF1001-1998)中的有关术语并采用下列定义:4.1量值:一般由一个数乘以测量单位所表示的特定量的大小。
导热系数设备量值溯源图国家技术监督局溯源单位:国家建材局标准化研究所计量标准名称:绝热材料导热系数参比板测量范围:0.03232~0.03398 W/(m.k)测量不确定度(或允许误差或准确度等级):随机不确定度为±2.5%单位:新疆宏滙建筑建材检测有限公司计量器具名称:导热系数仪测量范围:0.02~1 W/(m.k)测量不确定度(或允许误差或准确度等级):<4%实验室资质认定评审准则5.5.1要求:“实验室应制定和实施仪器设备的校准或检定、确认的总体要求”。
这个总体要求,实际上是对实验室量值溯源的要求:(1)实验室应绘制溯源图;(2)实验室应根据仪器设备对检测结果的影响制定校准、检定计划,提供校准、检定证书;(3)实验室应有有证标准物质清单;(4)实验室应保存提供校准、检定机构的认可(授权)范围的证明;实验室对校准、检定证书应有信息和数据的要求;实验室应对校准证书、检定证书的数据进行确认,是否满足相应标准或规范以及实验室的使用要求;能够根据校准、检定数据判别仪器是否合格能用、降级使用或不能使用。
尤其是校准证书只给数据和测量不确度,是否满足相应标准或规范以及实验室的使用要求,应由实验室来作出判断。
关于期间核查,它主要讲仪器设备在两次校准间隔时间内,对仪器设备进行等精度的核查,它是解决仪器设备稳定不稳定的问题,及时发现,及时解决,降低风险。
核查的方法有使用稳定性较好的核查器件(如:法码),在一定的时间间隔对仪器设备的功能进行核查,或使用两台精度相同的仪器设备进行比对,或用一台精度相对高的仪器核查相对精度低的仪器设备。
上述三种方法都可以。
但实验室应预先识别,根据识别(如:检测主要参数的、稳定性差的、使用频率高的、使用环境恶劣的仪器设备),制定计划,实施核查,记录核查结果。
模板:计量器具量值溯源图范例:游标卡尺量值溯源图。
量值溯源图要求
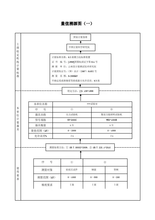
参考《计量比对管理办法》的规定和计量考核规范对计量标准的量值溯源要求,检测实验室检测计量器具的量值溯源图可包括三级三要素。
三级是指上一级计量器具、本级计量器具和检测工作使用要求,三要素是指每级计量器具或检测对象都要有三要素,上一级计量器具三要素为计量基(标)准名称、不确定度或准确度等级或最大允许误差和计量基(标)准拥有单位(即保存机构),本级计量器具三要素为计量标准名称、测量范围和不确定度或准确度或最大允许误差,检测使用要求三要素为检测对象名称及检测项目、检测工作使用范围、检测要求的准确度等级或最大允许误差。