计量器具量值溯源图
- 格式:docx
- 大小:340.38 KB
- 文档页数:16
量值溯源图要求
参考《计量比对管理办法》的规定和计量考核规范对计量标准的量值溯源要求,检测实验室检测计量器具的量值溯源图可包括三级三要素。
三级是指上一级计量器具、本级计量器具和检测工作使用要求,三要素是指每级计量器具或检测对象都要有三要素,上一级计量器具三要素为计量基(标)准名称、不确定度或准确度等级或最大允许误差和计量基(标)准拥有单位(即保存机构),本级计量器具三要素为计量标准名称、测量范围和不确定度或准确度或最大允许误差,检测使用要求三要素为检测对象名称及检测项目、检测工作使用范围、检测要求的准确度等级或最大允许误差。
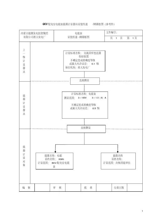
6KV 配电室电能表能源计量器具量值传递/溯源框图(参考件)内蒙古能源发电投资集团有限公司准大发电厂电能表量值传递/溯源框图文件编号:共1 页第1页上一级计量器具能源计量器具能源计量对象编制审核批准生效日期直接测量计量标准名称:交流采样变送器校验装置不确定度或准确度等级或最大允许误差:0.1级保存机构:准大发电厂计量标准名称:电能表测量范围:3×100V3×1.5(6)A不确定度或准确度等级或最大允许误差:0.5级能源名称:电能量的名称:KWh 计量范围:6KV 配电室电能表能源名称量的名称:计量范围:次级用能单位直接测量#1发电机主表能源计量器具量值传递/溯源框图(参考件)内蒙古能源发电投资集团有限公司准大发电厂电能表量值传递/溯源框图文件编号:共1 页第1页上一级计量器具能源计量器具能源计量对象编制审核批准生效日期直接测量计量标准名称:交流采样变送器校验装置不确定度或准确度等级或最大允许误差:0.1级保存机构:准大发电厂计量标准名称:电能表测量范围:3×100V3×1.5(6)A不确定度或准确度等级或最大允许误差:0.5s 级能源名称:电能量的名称:KWh 计量范围:#1发电机主表能源名称量的名称:计量范围:次级用能单位直接测量#1发电机副表能源计量器具量值传递/溯源框图(参考件)内蒙古能源发电投资集团有限公司准大发电厂电能表量值传递/溯源框图文件编号:共1 页第1页上一级计量器具能源计量器具能源计量对象编制审核批准生效日期直接测量计量标准名称:交流采样变送器校验装置不确定度或准确度等级或最大允许误差:0.1级保存机构:准大发电厂计量标准名称:电能表测量范围:3×100V3×1.5(6)A不确定度或准确度等级或最大允许误差:0.5级能源名称:电能量的名称:KWh 计量范围:#1发电机副能表能源名称量的名称:计量范围:次级用能单位直接测量#2发电机主表能源计量器具量值传递/溯源框图(参考件)内蒙古能源发电投资集团有限公司准大发电厂电能表量值传递/溯源框图文件编号:共1 页第1页上一级计量器具能源计量器具能源计量对象编制审核批准生效日期直接测量计量标准名称:交流采样变送器校验装置不确定度或准确度等级或最大允许误差:0.1级保存机构:准大发电厂计量标准名称:电能表测量范围:3×100V3×1.5(6)A不确定度或准确度等级或最大允许误差:0.5s 级能源名称:电能量的名称:KWh 计量范围:#2发电机主表能源名称量的名称:计量范围:次级用能单位直接测量#2发电机副表能源计量器具量值传递/溯源框图(参考件)内蒙古能源发电投资集团有限公司准大发电厂电能表量值传递/溯源框图文件编号:共1 页第1页上一级计量器具能源计量器具能源计量对象编制审核批准生效日期直接测量计量标准名称:交流采样变送器校验装置不确定度或准确度等级或最大允许误差:0.1级保存机构:准大发电厂计量标准名称:电能表测量范围:3×100V3×1.5(6)A不确定度或准确度等级或最大允许误差:0.5级能源名称:电能量的名称:KWh 计量范围:#2发电机副表能源名称量的名称:计量范围:次级用能单位直接测量#1高厂变主表能源计量器具量值传递/溯源框图(参考件)内蒙古能源发电投资集团有限公司准大发电厂电能表量值传递/溯源框图文件编号:共1 页第1页上一级计量器具能源计量器具能源计量对象编制审核批准生效日期直接测量计量标准名称:交流采样变送器校验装置不确定度或准确度等级或最大允许误差:0.1级保存机构:准大发电厂计量标准名称:电能表测量范围:3×100V3×1.5(6)A不确定度或准确度等级或最大允许误差:0.5s 级能源名称:电能量的名称:KWh 计量范围:#1高厂变主表能源名称量的名称:计量范围:次级用能单位直接测量#1高厂变副表能源计量器具量值传递/溯源框图(参考件)内蒙古能源发电投资集团有限公司准大发电厂电能表量值传递/溯源框图文件编号:共1 页第1页上一级计量器具能源计量器具能源计量对象编制审核批准生效日期直接测量计量标准名称:交流采样变送器校验装置不确定度或准确度等级或最大允许误差:0.1级保存机构:准大发电厂计量标准名称:电能表测量范围:3×100V3×1.5(6)A不确定度或准确度等级或最大允许误差:0.5级能源名称:电能量的名称:KWh 计量范围:#1高厂变副表能源名称量的名称:计量范围:次级用能单位直接测量#2高厂变主表能源计量器具量值传递/溯源框图(参考件)内蒙古能源发电投资集团有限公司准大发电厂电能表量值传递/溯源框图文件编号:共1 页第1页上一级计量器具能源计量器具能源计量对象编制审核批准生效日期直接测量计量标准名称:交流采样变送器校验装置不确定度或准确度等级或最大允许误差:0.1级保存机构:准大发电厂计量标准名称:电能表测量范围:3×100V3×1.5(6)A不确定度或准确度等级或最大允许误差:0.5S 级能源名称:电能量的名称:KWh 计量范围:#2高厂变主表能源名称量的名称:计量范围:次级用能单位直接测量#2高厂变副表能源计量器具量值传递/溯源框图(参考件)内蒙古能源发电投资集团有限公司准大发电厂电能表量值传递/溯源框图文件编号:共1 页第1页上一级计量器具能源计量器具能源计量对象编制审核批准生效日期直接测量计量标准名称:交流采样变送器校验装置不确定度或准确度等级或最大允许误差:0.1级保存机构:准大发电厂计量标准名称:电能表测量范围:3×100V3×1.5(6)A不确定度或准确度等级或最大允许误差:0.5级能源名称:电能量的名称:KWh 计量范围:#2高厂变副表能源名称量的名称:计量范围:次级用能单位直接测量启备变主表能源计量器具量值传递/溯源框图(参考件)内蒙古能源发电投资集团有限公司准大发电厂电能表量值传递/溯源框图文件编号:共1 页第1页上一级计量器具能源计量器具能源计量对象编制审核批准生效日期直接测量计量标准名称:交流采样变送器校验装置不确定度或准确度等级或最大允许误差:0.1级保存机构:准大发电厂计量标准名称:电能表测量范围:3×100V3×1.5(6)A 不确定度或准确度等级或最大允许误差:0.5s 级能源名称:电能量的名称:KWh 计量范围:启备变主表能源名称量的名称:计量范围:次级用能单位直接测量启备变副表能源计量器具量值传递/溯源框图(参考件)内蒙古能源发电投资集团有限公司准大发电厂电能表量值传递/溯源框图文件编号:共1 页第1页上一级计量器具能源计量器具能源计量对象编制审核批准生效日期直接测量计量标准名称:交流采样变送器校验装置不确定度或准确度等级或最大允许误差:0.1级保存机构:准大发电厂计量标准名称:电能表测量范围:3×100V3×1.5(6)A不确定度或准确度等级或最大允许误差:0.5级能源名称:电能量的名称:KWh 计量范围:启备变副表能源名称量的名称:计量范围:次级用能单位直接测量#1主变主表能源计量器具量值传递/溯源框图(参考件)内蒙古能源发电投资集团有限公司准大发电厂电能表量值传递/溯源框图文件编号:共1 页第1页上一级计量器具能源计量器具能源计量对象编制审核批准生效日期直接测量计量标准名称:交流采样变送器校验装置不确定度或准确度等级或最大允许误差:0.1级保存机构:准大发电厂计量标准名称:电能表测量范围:3×100V3×1.5(6)A不确定度或准确度等级或最大允许误差:0.2s 级能源名称:电能量的名称:KWh 计量范围:#1主变主表能源名称量的名称:计量范围:次级用能单位直接测量#1主变副表能源计量器具量值传递/溯源框图(参考件)内蒙古能源发电投资集团有限公司准大发电厂电能表量值传递/溯源框图文件编号:共1 页第1页上一级计量器具能源计量器具能源计量对象编制审核批准生效日期直接测量计量标准名称:交流采样变送器校验装置不确定度或准确度等级或最大允许误差:0.1级保存机构:准大发电厂计量标准名称:电能表测量范围:3×100V3×1.5(6)A不确定度或准确度等级或最大允许误差:0.5级能源名称:电能量的名称:KWh 计量范围:#1主变副表能源名称量的名称:计量范围:次级用能单位直接测量#2主变主表能源计量器具量值传递/溯源框图(参考件)内蒙古能源发电投资集团有限公司准大发电厂电能表量值传递/溯源框图文件编号:共1 页第1页上一级计量器具能源计量器具能源计量对象编制审核批准生效日期直接测量计量标准名称:交流采样变送器校验装置不确定度或准确度等级或最大允许误差:0.1级保存机构:准大发电厂计量标准名称:电能表测量范围:3×100V3×1.5(6)A不确定度或准确度等级或最大允许误差:0.2s 级能源名称:电能量的名称:KWh 计量范围:#2主变主表能源名称量的名称:计量范围:次级用能单位直接测量#2主变副表能源计量器具量值传递/溯源框图(参考件)内蒙古能源发电投资集团有限公司准大发电厂电能表量值传递/溯源框图文件编号:共1 页第1页上一级计量器具能源计量器具能源计量对象编制审核批准生效日期直接测量计量标准名称:交流采样变送器校验装置不确定度或准确度等级或最大允许误差:0.1级保存机构:准大发电厂计量标准名称:电能表测量范围:3×100V3×1.5(6)A不确定度或准确度等级或最大允许误差:0.5级能源名称:电能量的名称:KWh 计量范围:#2主变副表能源名称量的名称:计量范围:次级用能单位直接测量宁格尔I 线主表能源计量器具量值传递/溯源框图(参考件)内蒙古能源发电投资集团有限公司准大发电厂电能表量值传递/溯源框图文件编号:共1 页第1页上一级计量器具能源计量器具能源计量对象编制审核批准生效日期直接测量计量标准名称:交流采样变送器校验装置不确定度或准确度等级或最大允许误差:0.1级保存机构:准大发电厂计量标准名称:电能表测量范围:3×100V3×1.5(6)A不确定度或准确度等级或最大允许误差:0.2s 级能源名称:电能量的名称:KWh计量范围:宁格尔I 线主表能源名称量的名称:计量范围:次级用能单位直接测量宁格尔I 线副表能源计量器具量值传递/溯源框图(参考件)内蒙古能源发电投资集团有限公司准大发电厂电能表量值传递/溯源框图文件编号:共1 页第1页上一级计量器具能源计量器具能源计量对象编制审核批准生效日期直接测量计量标准名称:交流采样变送器校验装置不确定度或准确度等级或最大允许误差:0.1级保存机构:准大发电厂计量标准名称:电能表测量范围:3×100V3×1.5(6)A不确定度或准确度等级或最大允许误差:0.2s 级能源名称:电能量的名称:KWh计量范围:宁格尔I 线副表能源名称量的名称:计量范围:次级用能单位直接测量宁格尔II 线主表能源计量器具量值传递/溯源框图(参考件)内蒙古能源发电投资集团有限公司准大发电厂电能表量值传递/溯源框图文件编号:共1 页第1页上一级计量器具能源计量器具能源计量对象编制审核批准生效日期直接测量计量标准名称:交流采样变送器校验装置不确定度或准确度等级或最大允许误差:0.1级保存机构:准大发电厂计量标准名称:电能表测量范围:3×100V3×1.5(6)A不确定度或准确度等级或最大允许误差:0.2s 级能源名称:电能量的名称:KWh计量范围:宁格尔II 线主表能源名称量的名称:计量范围:次级用能单位直接测量宁格尔II 线副表能源计量器具量值传递/溯源框图(参考件)内蒙古能源发电投资集团有限公司准大发电厂电能表量值传递/溯源框图文件编号:共1 页第1页上一级计量器具能源计量器具能源计量对象编制审核批准生效日期直接测量计量标准名称:交流采样变送器校验装置不确定度或准确度等级或最大允许误差:0.1级保存机构:准大发电厂计量标准名称:电能表测量范围:3×100V3×1.5(6)A不确定度或准确度等级或最大允许误差:0.2s 级能源名称:电能量的名称:KWh计量范围:宁格尔II 线副表能源名称量的名称:计量范围:次级用能单位直接测量。
仪器设备量值溯源图文件编号:量值溯源图的绘制■实验室认可申请书的附录中要求绘制量值溯源图。
■量值溯源图是对所有认可项目涉及的“各种量值”绘制,而不是对每台仪器绘制。
■在每个量值的溯源图中,绘制上、中、下三个方框,方框之间用向上的箭头连接。
■在下面的方框内填写测量要求。
第一行填写“测量要求”;第二行填写认可项目涉及的(物理)量,例如“小容量(滴定测量)”;第三行填写该量在申请认可的情况下所覆盖的测量范围,例如“测量范围:(1~100 )mL”;第四行填写要求的测量准确度、扩展不确定度、误差极限或允许误差范围等,例如“测量准确度要求:0.01 mL”;■在中间的方框内填写本实验室测量器具技术性能。
第一行填写“本实验室测量器具技术性能”;第二行填写对应于认可项目所涉及的(物理)量,实验室使用的仪器设备名称,例如“工作计量器具:A级滴定管”;第三行填写该仪器设备覆盖的测量范围,例如“测量范围:(1~100 )mL”。
该范围应大于等于前一个方框内同一行的测量范围;第四行填写使用该仪器设备测量所获得的(扩展)不确定度、或误差极限或允许误差范围等,例如“最大示值允差:△=±(5~1)×10-3 mL”,其数值应小于前一个方框内同一行所给出的数值。
■在上面的方框内填写承担检定或校准机构的校准能力。
第一行填写承担检定或校准的机构,例如“XX市计量测试研究所授权证书号:×××字×××—××号”;授权证书号可从该机构出具的校准证书或检定证书上获得。
第二行填写该机构使用的计量标准的名称,例如“计量标准器具:一等标准玻璃量器组”;第三行填写该计量标准覆盖的测量范围,例如“测量范围:(0.01~10000)mL”。
该范围应大于等于前一个方框内同一行的测量范围;第四行填写使用该计量标准测量所获得的(扩展)不确定度、或误差极限或允许误差范围等等,例如“最大示值允差:△=±(12~0.4)×10-4 mL”。
67.仪器设备量值溯源图-CAL-FENGHAI-(2020YEAR-YICAI)_JINGBIAN仪器设备量值溯源图量值溯源图的绘制■实验室认可申请书的附录中要求绘制量值溯源图。
■量值溯源图是对所有认可项目涉及的“各种量值”绘制,而不是对每台仪器绘制。
■在每个量值的溯源图中,绘制上、中、下三个方框,方框之间用向上的箭头连接。
■在下面的方框内填写测量要求。
第一行填写“测量要求”;第二行填写认可项目涉及的(物理)量,例如“小容量(滴定测量)”;第三行填写该量在申请认可的情况下所覆盖的测量范围,例如“测量范围:(1~100 )mL”;第四行填写要求的测量准确度、扩展不确定度、误差极限或允许误差范围等,例如“测量准确度要求: mL”;■在中间的方框内填写本实验室测量器具技术性能。
第一行填写“本实验室测量器具技术性能”;第二行填写对应于认可项目所涉及的(物理)量,实验室使用的仪器设备名称,例如“工作计量器具:A级滴定管”;第三行填写该仪器设备覆盖的测量范围,例如“测量范围:(1~100 )mL”。
该范围应大于等于前一个方框内同一行的测量范围;第四行填写使用该仪器设备测量所获得的(扩展)不确定度、或误差极限或允许误差范围等,例如“最大示值允差:△=±(5~1)×10-3 mL”,其数值应小于前一个方框内同一行所给出的数值。
■在上面的方框内填写承担检定或校准机构的校准能力。
第一行填写承担检定或校准的机构,例如“XX市计量测试研究所授权证书号:×××字×××—××号”;授权证书号可从该机构出具的校准证书或检定证书上获得。
第二行填写该机构使用的计量标准的名称,例如“计量标准器具:一等标准玻璃量器组”;第三行填写该计量标准覆盖的测量范围,例如“测量范围:(~10 000) mL”。
该范围应大于等于前一个方框内同一行的测量范围;第四行填写使用该计量标准测量所获得的(扩展)不确定度、或误差极限或允许误差范围等等,例如“最大示值允差:△=±(12~)×10-4 mL”。