年产40000吨浓缩苹果汁的工厂设计
- 格式:docx
- 大小:133.55 KB
- 文档页数:15
1引言1.1苹果概述苹果,别名频婆。
原产于欧洲中部和东南部、中亚细亚以及我国新疆一带。
在欧洲,苹果是最古老的果树之一,早在公元前2000以前就已人工栽培。
在哥伦布发现新大陆之后,欧洲的移民把苹果传到了美国。
在东方,日本在明治维新时代引进苹果栽培技术。
此后,苹果又相继传入了欧洲、澳洲、非洲。
从18世纪以来,人们不断的改进苹果的品种以追求更好的品质。
在我国,根据晋代郭义恭的《广志》以及后魏贾思勰的《齐民要术》记载,苹果在我国已经有2000多年的栽培历史。
目前,在我国各个苹果产区作为经济作物栽培的苹果品种还几乎都是从国外引进的,统称为西洋苹果。
我国开始引进西洋苹果是在1870年,栽培历史仅100年左右[1]。
1.2苹果汁的历史,现状和发展趋势苹果汁的加工距今已有一百多年的历史。
大规模的工业化生产约在1930年,始于欧洲和美国,北美的苹果汁工业化生产大约始于1937年。
我国的苹果汁生产近年已初具规模,国内不少企业从意大利、德国、瑞典和美国引进现代化的苹果汁生产线,也有许多企业采用国产化苹果汁生产线。
国产化苹果汁生产线采用了先进的生产工艺,所用设备全部选用国产设备,大幅度降低了投资成本,配件供应及时,设备维修方便,费用低[2]。
由于近年来随着经济的发展,果汁逐渐取代碳酸型的饮料成为了人们日常的饮品,苹果汁作为产量较大的果汁品种,有很大的发展前景。
另外目前我国苹果鲜销市场已出现卖苹果难的问题,发展苹果加工业是解决卖果难的一条重要途径。
苹果可以加工成许多产品,但以果汁最受欢迎。
市场上销售的苹果汁主要以清汁为主,而且大都是由浓缩汁加水还原而成。
在苹果清汁或浓缩汁生产中,澄清过程都需添加果胶酶分解果汁中的果胶及添加一些澄清剂如明胶,不仅生产工艺复杂,而且延长了加工时间,如处理不当会影响产品的风味,营养成分被破坏,同时苹果中的果胶作为一种膳食纤维没有被利用。
随着消费者健康意识的增强,纯天然、营养、新鲜、保持水果原味的浑浊型果汁为消费者崇尚。
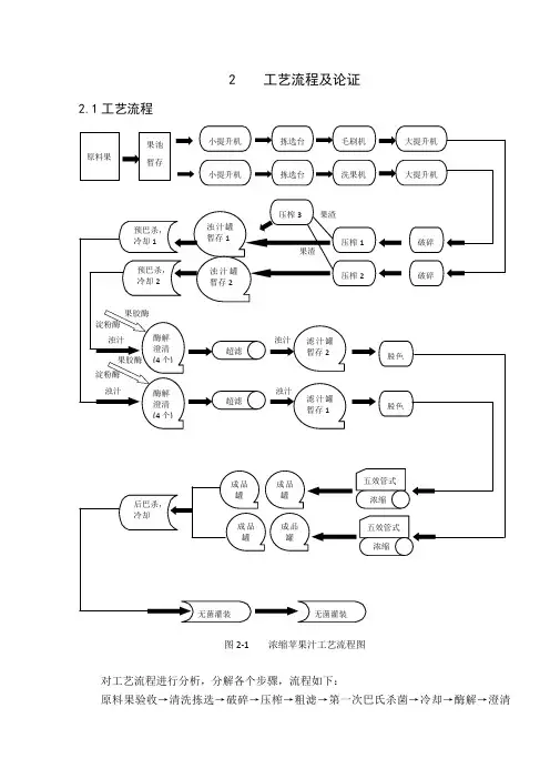
2 工艺流程及论证2.1工艺流程图2-1 浓缩苹果汁工艺流程图对工艺流程进行分析,分解各个步骤,流程如下:原料果验收→清洗拣选→破碎→压榨→粗滤→第一次巴氏杀菌→冷却→酶解→澄清→超滤→脱色→浓缩→混合→第二次巴氏杀菌→包装材料验收→无菌灌装→冷藏→成品。
2.2工艺流程解说2.2.1收果与运输(1)苹果主要从当地收集,应为新鲜的苹果,以免水分蒸发太多、影响原料利用率。
(2)运输不当往往会造成很大的损失,因此苹果的运输也是一个很重要的环节。
运输时必须注意保持原料完整性,防止震荡、细菌侵入等造成原料浪费。
尽量缩短中途停留时间,提高运输效率,以免苹果变质。
2.2.2原料的验收每年4月、6月、7月份由采供部负责分三次对原料产地进行普查,确定安全收购区域。
4月份采土样,6月份、7月份采苹果样由化验室进行检验农药残留及重金属,根据供货数量以及化验室检验结果评定合格供应商。
原料供应商应具备“农药残留普查合格证明”,在原料果进厂时,检查每车原料果的“农药残留普查合格证明”,对无此证明的苹果拒收,并做记录。
苹果质检部按照HS/ISO C-GL-106-2002《苹果收购程序》和HS/ISO C-GL-102-2002《苹果质检办法》对苹果进行检验、将检验合格的苹果收入果槽,不合格的苹果拒收。
无菌袋、液袋或罐箱及酶制剂等辅料进厂后,采供部及时委托技术质检部进行检验,检验合格后允许入库。
包装材料常温贮存,使用时依照先进先出的原则;酶制剂存放在0-5℃的冷藏库中,使用时依照先进先出的原则。
清洗材料、消毒剂等辅料进厂后,采供部及时委托质检部进行检验,检验合格后入库,分类存放并做明确的标识。
2.2.3苹果的预处理步骤:(初验合格的苹果)→称重计量→暂存→初洗苹果在采收后表面常附有灰尘,碎叶等杂物,必须进行初步清洗,初步清洗有两个过程,水流输送清洗和提升机喷淋清洗。
在清洗时把粘附在原料上的泥土、杂质、粉尘、沙粒等洗掉,去除残留的农药和部分微生物,清洗环节必须符合食品卫生要求。
年产一万吨苹果浓缩汁工厂设计年产一万吨苹果浓缩汁的工厂设计摘要在当今市场,苹果浓缩汁并不少见。
日常人们饮用的浓缩果汁饮料里,苹果浓缩汁是位于橙汁后的第二选择。
苹果浓缩汁凭借其丰富多层的口感,赢得了老少人民的喜爱。
纵观全世界苹果浓缩汁的生产市场,中国有着丰富的物产资源,还有着相对低廉劳动力,这两大优势使中国成为了全球最大的苹果浓缩汁生产和出口国。
近年受全球经济低迷和欧美技术贸易措施的影响,中国出口不断波动下滑,在国际市场的份额趋于降低。
若能改进现今苹果浓缩汁的生产技术、工艺技术,使其存放时间变长、口感更好且生产花费降低,就能大大提高中国浓缩苹果汁市场在国际的份额。
[1]本文旨在设计一间生产苹果浓缩汁的工厂。
苹果浓缩汁的主要原料是苹果,综合多方考察,最终选用甘肃省白银市的“国光”苹果作为生产原料。
苹果浓缩汁生产工艺难点在于控制非酶褐变反应和酶促反应,针对此的解决方案是采用使用高温瞬间灭酶等技术来减少产品风味和色泽的变化。
关键词:苹果浓缩汁;生产技术;高温瞬间灭酶;AbstractApple juice concentrate has a large trading market in the world today. Apple juice concentrate has become the second largest concentrated consumption variety in the world, next to orange juice. China's abundant resources and labor cost advantages make it the world's largest producer and exporter of concentrated apple juice. Nowadays, the production technology and technology of apple juice concentrate make the storage time longer, taste better and production cost lower, which can greatly improve the international share of China's apple juice concentrate market.The purpose of this paper is to design a factory to produce apple juice concentrate.The difficulties in the production process of apple juice concentrate lie in reducing volatile aromatic substances and controlling non-enzymatic browning reaction and enzymatic reaction during the concentration process.The solution to this problem is to reduce the change of flavor and color of the product by using the technology of instant enzyme inactivation at high temperature.Key words:Apple juice concentrate,Production Technology,High temperature instant enzyme killing technology目录1 绪论 (1)1.1 苹果浓缩汁的介绍 (1)1.2 苹果原料的选择 (1)1.3 苹果浓缩汁当今在国内的发展前景 (1)1.4 厂址选择 (2)2 班产量的确定 (2)3 苹果浓缩汁的工厂化生产 (2)3.1 工艺流程 (2)3.2 工艺流程详述 (3)3.2.1 原料验收 (3)3.2.2 挑选 (3)3.2.3 清洗 (3)3.2.4 破碎 (3)3.2.5 榨汁 (4)3.2.6 过滤 (4)3.2.7 灭酶 (4)3.2.8 蒸发 (4)3.2.9 成分调节 (5)3.2.10 酶解 (5)3.2.11 超滤 (5)3.2.12 灭菌 (5)3.2.13 无菌灌装 (6)4 物料衡算 (6)5 设备选型 (7)5.1 拣选机 (7)5.2 清洗机 (7)5.3 破碎机 (7)5.4 压榨机 (7)5.5 双联过滤器 (8)5.6 列管式预热灭酶机 (8)5.7 浓缩设备 (8)5.8 贮罐 (8)5.9 酶解罐 (9)5.10 超滤装置 (9)5.11 高温瞬时杀菌机 (9)5.12 灌装机 (9)6 热量衡算 (10)6.1 车间热交换图 (10)6.2 灭酶(第一次巴氏杀菌)耗能 (10)6.3 蒸发浓缩耗能 (10)6.4 灭菌(第二次巴氏消毒)耗能 (11)7 水电汽耗量估算 (11)7.1 用水估算 (11)7.1.1 班工艺用水耗量估算 (11)7.1.2 冷却水用水耗量估算 (12)7.13 生活用水耗量估算 (12)7.14 总用水量 (12)7.2 用汽估算 (12)7.3 用电估算 (12)8 经济估算 (13)8.1 原辅料成本估算 (13)8.2 包装成本估算 (13)8.3 设备成本估算 (13)8.4 水费估算 (14)8.5 电费估算 (14)9 三废处理 (14)9.1 废水处理 (14)9.2 废气处理 (14)9.3 废渣处理 (14)10 工厂总平面设计 (15)10.1全厂平面设计 (15)10.2 车间平面设计 (15)10.3 工厂布置设计图 (15)参考文献 (16)附录一 (17)附录二 (18)附录三 (19)附录四 (20)附录五 (21)1 绪论1.1 苹果浓缩汁的介绍新鲜水果在经过预处理后压榨出来的果浆被称为果汁。
年产2万吨苹果汁工厂设计实验说明书1 绪论1.1果汁饮料综述果汁饮料是以水果为原料经过物理方法如压榨、离心、萃取等得到的汁液产品。
果汁饮料可以细分为果汁、果浆、浓缩果浆、果肉饮料、果汁饮料、果粒果汁饮料、水果饮料浓浆、水果饮料等9种类型,其大都采用打浆工艺将水果或水果的可食部分加工制成未发酵但能发酵的浆液或在浓缩果浆中加入果浆在浓缩时失去的天然水分等量的水,制成的具有原水果果肉的色泽、风味和可溶性固形物含量的制品。
果汁中含有较高的营养价值,主要包括碳水化合物、葡萄糖、果糖等易于被人体吸收的物质和维生素。
一些果汁中的有机酸也对人体正常生理活动起着重要作用,如柠檬酸能提高人体对钙的吸收能力。
因而果汁除了能补充人体需要的水分,起到消暑解渴的作用外,对人体还有着一定的营养意义。
1.2国内外果汁饮料发展状况据权威部门统计,国外发达国家果汁人均年消费量约20升,发展中国家人均年消费量约为10.8升,与其他国家相比,我国人均果汁的占有量却只有1升,差距十分明显。
目前全球果汁市场主要集中在美国、德国、日本等国家,同时俄罗斯、南非、中国等发展中国家市s场已经启动,将成为未来果汁市场需求的新增长点,果汁成为畅销的产品受到全球消费者的青睐和追捧。
调查表明,随着人们生活水平的提高,生活方式的改变,人们更加关注健康,果汁饮料以补充维生素、低糖的健康形象出现,自然吸引了众人的目光。
近年来我国果汁饮料迅速发展,果汁饮料更是备受欢迎。
目前,我国果汁加工业仍以生产带肉果汁为主,近10多年来,国内有些加工企业花费大量的资金引进国外浓缩果汁生产设备,生产浓缩果汁以供出口。
但由于设备投资昂贵,只有少数工厂效益较好。
利用国产设备生产具有中国特色的澄清果汁,在国内外具有广阔的市场。
随着果品产量的大幅度提高,大力发展果汁加工工业,对于稳定果品生产的发展,促进农业的产业化进程,满足人民的消费需求等方面,具有重要的意义。
1.3苹果汁饮料营养价值和市场前景苹果中含有的“苹果酚”不仅可以抑制黑色素、酵素的产生,还可以抑制血压上升,预防高血压,抑制过敏反应,有一定的抗敏作用;苹果中含有“果胶”是一种水溶性食物纤维,能够减少肠内的不良细菌数量,帮助有益细菌繁殖;苹果中含有丰富的维生素C,是心血管的保护神、心脏病患者的健康元素。
英文文献2.5.3. Design and construction of the buildingRoofs and ceilingsWallsWindows and doorsFloorsLighting and powerWater supply and sanitationLayout of equipment and facilitiesIn general, a building should have enough space for all production processes to take place without congestion and for storage of raw materials, packaging materials and finished products. However, the investment should be appropriate to the size and expected profitability of the enterprise to reduce start-up capital, the size of any loans taken out and depreciation and maintenance charges.Roofs and ceilingsIn tropical climates, overhanging roofs keep direct sunlight off the walls and out of the building. This is particularly important when processing involves heating, to make working conditions more comfortable. Fiber-cement tiles offer greater insulation against heat from the sun than galvanized iron sheets do. High level vents in roofs both allow heat and steam to escape and encourage a flow of fresh air through the processing room. The vents must be screened with mesh to prevent insects, rodents and birds from entering the room. If heat is a serious problem, the entrepreneur could consider fitting electric fans or extractors, although this clearly increases capital and operating costs.Rafters or roof beams within the processing and storage rooms are unacceptable. They allow dust to accumulate, which can fall off in lumps to cause gross contamination of products. Similarly, insects can fall from them into products. They also allow paths for rodents and birds, with consequent risks of contamination from hairs, feathers or excreta. It is therefore essential to have a paneled ceiling fitted to any processing or store-oom, with careful attention when fitting them to ensure that there are no holes in the paneling. Care should also be taken to prevent birds, rodents and flying insects gaining access to the processing room through gaps in the roof structure or where the roof joins the walls.WallsAs a minimum requirement, all internal walls should be rendered or plastered with a good quality plaster to prevent dust forming in the processing room. An experienced plasterer should be used to ensure that no cracks or ledges remain in the surface finish, which could accumulate dirt and insects. The lower area of walls, to at least 1.08 metres (four feet) above the floor, is most likely to get dirty from washing equipment, from product splashing etc. and special attention should be paid to ensure that this area is easily cleaned. Higher areas of walls should be painted with a good quality emulsion. The lower parts of walls should be either painted with a waterproof gloss paint, preferably white, to allow them to be thoroughly cleaned, or ideally they should be tiled with glazed tiles. If tiling a process room is too expensive, it is possible to select particular areas such as behind sinks or machinery and only tile these parts. In some countries there is a legal requirement for specified internal finishes and this should be checked with the Ministry of Health or other appropriate authority (see also Section 2.4.2)Windows and doorsWindow sills should be made to slope for two reasons: to prevent dust from accumulating and to prevent operators from leaving cloths or other items lying there, which in turn can attract insects. Windows allow staff to work in natural daylight, which is preferable to and cheaper than electric lighting. However, in tropical climates there is a natural inclination for workers to open windows to allow greater circulation of fresh air. This provides easy access for flying insects, which can readily contaminate the product. Windows should therefore be fitted with mosquito mesh to allow them to be left open.Normally doors should be kept closed, but if they are used regularly there is again a tendency for them to be left open with similar consequences of animals and insects entering the plant. In this case, thin metal chains or strips of material that are hung vertically from the door lintel may deter insects and some animals, while allowing easy access for staff. Alternatively mesh door screens can be used. Doors should be fitted accurately so that there are no gaps beneath them and all storeroom doors should be kept closed to prevent insects and rodents from destroying stock or ingredients.FloorsIt is essential to ensure that the floors of processing rooms and storerooms are constructed of good quality concrete, smooth finished and without cracks. In some developing countries, it is possible to buy proprietary floor paints or vinyl based coatings, but these are usually very expensive. Generally, it is not adequate to use the red wax floor polishes that are commonly found in households, as these wear away easily and could contaminate either products or packages. Over time, spillages of acidic fruit products react with concrete andcause it to erode. Attention should therefore be paid to cleaning up spillages as they occur and to regularly monitor the condition of the floor.The comers where the floor and the walls join are places for dirt to collect. During construction of the floor, it should therefore be curved up to meet the wall. It is possible to place fillets of concrete (or 'coving') in the comers of an existing floor to fill up the right angle, but care is needed to ensure that new gaps are not created which would harbour dirt and insects.The floor should slope at an angle of approximately 1 in 8 to a central drainage channel. At the end of a day's production, the floor can be thoroughly washed and drained. Proper drainage prevents pools of stagnant water forming, which would in turn risk contamination of equipment and foods. The drainage channel should be fitted with an easily removed steel grating so that the drain can be cleaned. Where the drain exits the building, there is a potential entry point for rodents and crawling insects unless wire mesh is fitted over the drain opening. This too should be easily removed for cleaning.Lighting and powerGeneral room lighting should be minimized wherever possible. Full use should be made of natural daylight, which is both free and better quality light, especially for intricate work. Where additional lighting is needed, florescent tubes are cheaper to operate than incandescent bulbs. However, if machinery is used that has fast moving exposed parts, these should be lit with incandescent bulbs and not tubes. This is because even though the parts should have guards fitted, a rotating machine can appear to stand still if its speed matches the number of cycles of the mains electricity that powers fluorescent tubes - with obvious dangers to operators.All electric power points should be placed at a sufficiently high level above the floor that there is no risk of water entering them during washing the floor or equipment. Ideally, waterproof sockets should be used. It is important to use each power point for one application and not use multiple sockets which risk overloading a circuit and causing a fire. If there are insufficient power points for the needs of a process, additional points should be installed, even though this is more expensive. All plugs should be fitted with fuses that are appropriate for the power rating of the equipment and ideally the mains supply should have an earth leakage trip switch. If three-phase power is needed for larger machines or for heavy loads from electric heating, it is important that the wiring is installed by a qualified electrician to balance the supply across the three phases.Water supply and sanitationWater is essential in nearly all fruit and vegetable processing, both as a component of products and for cleaning. An adequate supply of potable water should therefore be available from taps around the processing area. In many countries, the mains supply is unreliable or periodically contaminated and it is therefore necessary for the entrepreneur to make arrangements to secure a regular supply of good quality water each day. This can be done byinstalling two high level, covered storage tanks either in the roof-space or on pillars outside the building. They can be filled alternately when mains water is available and while one tank is being used, any sediment in water in the other tank is settling out. As sedimentation takes several hours, the capacity of each tank should be sufficient for one day's production. The tanks should have a sloping base and be fitted with drain valves above the slope and at the lowest point. In use, water is taken from the upper valve and when the tank is almost empty, the lower valve is opened to flush out any sediment that has accumulated.Water that is included in a product should be carefully treated to remove all traces of sediment and if necessary, it should be sterilised. This is particularly important if the product is not heated after water has been mixed in as an ingredient.There are four ways of treating water at a small scale: by filtration; by heating; byultra-violet light and by chemical sterilants, such as hypochlorite (also named 'chlorine solution' or 'bleach'). Other water treatment methods are generally too expensive at a small scale of operation.Filtration through domestic water filters is slow, but having made the capital expenditure, it is relatively cheap. Larger industrial filters are available in some countries. Heating water to boiling and holding it at that temperature for 10-15 minutes is simple and has low capital costs, but it is expensive because of fuel costs and it is time consuming to do routinely. Heating sterilises the water but does not remove sediment and boiled water may therefore require filtering or standing to remove sediment.Ultra-violet light destroys micro-organisms in water and commercial water treatment units that use this principle (Figure 38) are coming down in price to the point that they can be suitable for those small scale processors that use a lot of water. Again, this method does not remove sediment from the water.Finally, chemical sterilisation using hypochlorite is fast, relatively cheap and effective against a wide range of micro-organisms. Cleaning water should contain about 200 ppm of chorine and water that is used as an ingredient should contain about 0.5 ppm to avoid giving a chlorine flavour to the product. A chlorine concentration of 200 ppm can be made by adding 1 litre of bleach to 250 litres of water and a 0.5 ppm solution is obtained by adding 2.5 ml of bleach to 250 litres of water. Although chlorine kills most micro-organisms, it also has a number of disadvantages: it can corrode aluminium equipment; it can taint foods; bleach must be handled with great care as it damages the necessary, the concentration of chlorine in water can be measured using a chemical dye that produces a colour when it reacts with chlorine. The intensity of the colour is compared to standard colours on glass discs in a 'comparator'.Good sanitation is essential to reduce the risk of product contamination and to deter insects, rodent and birds. All wastes should be placed in bins and not piled on the floor. Processes should have a management system in place to remove wastes from the building as they are produced, rather than letting them accumulate during the day. Wastes should never be left in a processing room overnight. This aspect is described further in Section 2.7.2, and summarized in Appendix I.Layout of equipment and facilitiesThe different areas required for fruit and vegetable processing are shown in Figure 39 for a drying unit and in Figure 40 for other types of production. The layouts of these processing rooms show how raw materials move through a process and through the room without paths crossing. Different stages in a process should be physically separated wherever possible. This helps prevent contamination of finished products by incoming, often dirty, raw materials and clearly identifies areas of the room where special attention to hygiene is necessary. This is particularly important to prevent contamination arising from activities such as bottle washing in which inevitable breakages produce glass splinters that could contaminate a product. This separation also reduces the likelihood of accidents or of operators bumping into each other.Perishable raw materials should be stored separately from non-perishable ingredientsand packaging materials. A separate office allows records to be filed and kept clean and provides a quieter working environment for book-keeping. Toilets should either be housed in a separate building or two doors should exist between them and a processing area. All workers should have access to hand-washing facilities with soap and clean towels. Laboratory facilities are generally not needed in fruit and vegetable processing, although a separate table for conducting quality assurance checks or check-weighing packages of finished product (Section 2.7.2) could be located in the office or in a separate area of the processing room.英文文献译文2.5.3.建筑物的设计和建造屋顶和天花板墙壁窗户和门地板照明和能源水供应和公共卫生仪器和设备的布局总的说来,一个厂房应该有足够的空间来进行产品的加工制造,避免拥堵和原料,包装材料和成品混杂储存的情况发生。
【工厂管理】浓缩果汁工厂设计说明书(doc 22页)部门: xxx时间: xxx整理范文,仅供参考,可下载自行编辑课程设计说明书课程名称:食品工厂设计与环境保护设计题目:年产30000t浓缩果汁工厂设计院系:生物与食品工程学院学生姓名:魏海学号: 200706010039专业班级: 07食品科学与工程(1)班指导教师:袁超2010年6月年产30000t浓缩果汁工厂设计摘要本设计主要是进行年处理30000t浓缩果汁工厂设计。
分析了我国浓缩苹果汁的生产和现状。
拟定在市郊投资浓缩苹果汁生产厂。
首先依据拟定的产量对生产车间进行了物料衡算;进而依据市场要求进行了车间的工艺设计,进行了主要的设备选型。
对劳动力定员及生产工艺等方面作了一个初步的设计方案:同时,对水、电、汽的用量和费用也进行了估算。
关键词:浓缩苹果汁工厂设计目录1 概述 (1)1.1产品方案及班产量的确定 (1)1.1.1依据 (1)1.1.2 要求 (1)1.1.3产品方案 (1)1.2 厂址的选择及厂区布置 (2)1.2.1厂址的选择 (2)1.2.2总平面布置 (2)1.2.3车间布置及相应设施 (2)1.3 设计原则 (3)1.3.1符合国家的方针政策 (3)1.3.2符合生产条件 (3)1.3.3投资少,经济合理 (3)1.3.4充分利用原辅料 (3)1.4 物料衡算与主要设备选型 (3)1.4.1 浓缩果汁班产量的确定 (4)1.4.2原料果的日收购量的确定 (4)1.4.3设计条件 (5)1.4.4设备选型及论证 (5)1.5 劳动组织 (7)1.5.1劳动力组织原则 (7)1.5.2企业组织原则 (7)1.5.3车间劳动制度 (7)1.5.4人员编制 (7)2 成品主要技术规格或质量标准 (9)2.1成品质量的控制 (9)2.2质量指标 (9)3 生产流程简介 (11)3.1生产流程图 (11)3.2操作要点 (11)3.2.1收果与运输 (11)3.2.2原料的验收 (12)3.2.3苹果的预处理 (12)3.2.4拣选 (12)3.2.5清洗 (12)3.2.6破碎 (13)3.2.7压榨 (13)3.2.8第一次巴氏杀菌 (13)3.2.9酶解 (13)3.2.10超虑 (14)3.2.11树脂脱色 (14)3.2.12浓缩 (14)3.2.13批次罐指标调整 (15)3.2.14第二次巴氏杀菌 (15)3.2.15无菌罐装 (15)致谢 (16)参考文献 (18)1 概述1.1产品方案及班产量的确定1.1.1依据年产量30000t浓缩果汁。
年产6000吨浓缩苹果汁工厂设计第一章 项目论证,确定产品方案1 制定产品方案的意义和要求我国苹果加工业起步较晚,但近些年,我国苹果加工业发展步伐加快。
随着我国入世的步伐加快和农业产业化结构的进一步调整,我国苹果产业无论是从栽培面积还是总量上均多年雄居全球之首。
在此基础上,果汁加工业发展迅速。
至今浓缩苹果汁的产量已占据接近30%的国际市场份额。
随着山东中鲁、安德利、源通,陕西的恒兴、海升等一批大型果汁加工龙头企业的蓬勃发展,国际国内苹果汁市场的竞争愈来愈烈,竟争的主要热点是企业对加工原料的控制,竟争的制高点是企业所拥有的加工专用高酸型苹果产业基地的建设规模和发展速度。
制作果汁的苹果要求较高的酸度,高糖高酸最为理想,且出汁率要高,单宁含量要低。
我国用于果汁加工用鲜食品种主要有富士,秦冠,黄元帅,国光等。
本设计选用富士苹果,原因为富士苹果与其他苹果相比有更长的最佳食用日期,甚至无需放入冰箱保存。
室温下可保存4个月,如果放入冰箱,富士苹果可保存5到7个月。
各生产苹果的国家栽培黄元帅的比重都很大,是世界各国发展最多的品种之一。
我国各苹果产地均有栽培。
本设计原料预定来源主要为环渤海地区的苹果种植区,其他周边的苹果原料也可充当原料来源。
依托陇海与京沪铁路的便捷运输,原料可较为方便的运达,同时铁路运输的费用也较低廉。
富士苹果的特点是体积很大,遍体通红,形状很圆,平均大小如棒球一般。
果实的重量中,有9-11%是单糖,而且其果肉紧密,比其他很多苹果变种都要甜美和清脆,因此受到全世界消费者的广泛喜爱。
本设计的产品为苹果汁,流程工艺中采用现代超滤分离技术,确保果汁更加的澄清,口感更加细滑。
并且在营养方面尽量使苹果的原营养不发生太大的破坏,力保产品具有营养。
产品的消费地先以徐州市周边省份为主,北至山东,河北;西至安徽,河南;南至上海,浙江等地。
产品的运输以公路为主,以大型超市和批发为主的产品销售方式。
本设计的市场定位为中低消费人群为主,力争做到属于寻常百姓人家家宴,客请的主要果汁产品。
食品工厂工艺设计方案一、项目名称:进行年处理3万吨浓缩果汁工厂设计二、项目可行性分析:浓缩苹果汁是中国最主要的苹果加工产品,也是世界最主要的苹果加工产品,占世界苹果加工总量的90%以上。
苹果加工成成浓缩汁有利于开发中国苹果源,并对苹果产后加工产业链的形成、农业产业结构的调整具有积极的促进作用。
经过20年的发展历程,中国浓缩苹果汁行业作为拓展苹果产业发展空间和增加果农收入的重要领域。
从无到有,从弱到强,已成为备受国外关注的农产品加工行业。
食用适量苹果汁,还有一些医疗作用,苹果汁可润肺、悦心、生津开胃、止渴、解暑除烦、和脾、止泄;还可中和过多的胃酸,促进肾上腺素的分泌。
苹果汁含钠少,含钾量多,是很好的碱性食品,可以利用苹果汁补钾;钾能加强肌肉的兴奋性,维持心跳规律,对保护心脏有重要意义。
苹果汁含较多的可溶性磷和铁,易于消化和吸收,有益于婴儿发育。
浓缩苹果汁的用途:(1)作为生产苹果汁饮料的原料:(2)可以用来加工酿制苹果酒;(3)可以作为其它各种饮料的补充物;(4)食品工业的基础配料;(5)烟草三、产品方案及产品质量确定1、厂址的选择:随着饮料行业在世界范围的蓬勃发展,饮料行业成为了食品行业重要的一部分,其中人们的消费又逐渐趋向于纯天然的,健康的果蔬汁饮料,因此在水果资源丰富的河南省建立饮料工厂是很好的选择,本设计工厂建在河南三门峡市郊区,选择厂址附近无污染源,水源充足,交通畅通的一块土地。
2、工艺流程浓缩苹果汁工艺流程图(笔记本)3、工艺论证 3.1 收果与运输(1)苹果主要从当地收集,收集的苹果不能是已放很久的,以免水分蒸发太多,影响原料利用率。
(2)苹果的运输也是一个很重要的环节,运输不当往往会造成很大的损失.在运输时必须注意防止震荡,保持原料的完整性,以免细菌侵入,造成原料不能生产。
缩短途中时间,按路程计算时间,尽量缩短中途停留时间,以免苹果变质。
3.2 原料的验收(1)必须是合格供应商提供的原料;(2)农残检验报告;(3)产品质量主要是腐烂率超标(6%)的不收;(4)质检员当场验收,不符合标准的不收3.3 苹果的处理(初验合格的苹果)一称重计量一暂存一初洗—拣选—清洗—破碎—压榨—第一次巴士消毒—酶解—超滤—树脂脱色—浓缩—批次罐指标调整—第二次巴士杀菌—无菌灌装4、质量控制 4.1 原料果验收主要检验农药残留以及重金属,收购原料是否在安全区域,原料采购人员实地核查,确定安全收购区域。
年产3万吨浓缩苹果汁工厂设计论文浓缩苹果汁是一种具有浓缩效果的苹果汁,其制作过程包括去除水分以达到浓缩的效果。
浓缩苹果汁具有浓郁的苹果风味和香甜口感,而且富含维生素和矿物质,广受消费者的喜爱。
为了满足市场需求并提高产量,本论文设计了一座年产3万吨浓缩苹果汁的工厂。
一、工厂总体布局设计1. 地理位置选址将工厂选址在苹果产地附近,以确保原料供应的便利性,并减少运输成本。
此外,还要考虑就近选择水源,以满足生产过程中对水的需求。
2. 建筑设计工厂建筑应符合安全、环保和工艺流程的要求。
建议采用单层或多层独立的厂房,用于存储原料、生产加工和产品储存。
厂房面积根据年产量确定,同时需考虑生产线的布局。
3. 环境保护工厂设计应考虑环境保护问题,采取必要的措施以降低对环境的影响。
例如,废水处理系统、废气处理设备等,以及合理的噪音控制措施。
此外,工厂周边的绿化和排水系统也需要加以考虑。
二、生产工艺流程设计1. 原料处理原料(苹果)在进入工厂后,首先需要经过清洗和去皮去核的处理,以确保原料的卫生和质量。
2. 浸出和浓缩经过处理的苹果进入浸出设备,通过溶剂浸出苹果的汁液。
然后,将获得的汁液送入浓缩设备进行浓缩,去除其中的水分,保留汁液的风味、糖分和其他有益物质。
3. 杀菌和灌装经过浓缩的苹果汁进入杀菌设备进行杀菌处理,达到消灭细菌和微生物的目的。
随后,将杀菌后的苹果汁进行灌装,以确保产品的卫生和质量。
4. 产品储存和包装灌装好的浓缩苹果汁将被储存到特定的储存设备中,保持其新鲜度和稳定性。
在储存过程中,若发现异常情况,需要进行监测和调整。
最后,将产品进行包装,以便销售和运输。
三、设备选型和布局设计根据工艺流程的要求,我们需要选购适合的设备,并将其布局在工厂中。
1. 设备选型根据不同工艺环节的要求,选购符合生产需求的设备。
具体来说,原料处理设备、浸出设备、浓缩设备、杀菌设备、灌装设备和包装设备等。
2. 设备布局将各个工艺环节所需设备按照流程连接,形成一个完整的生产线。
2工艺流程及论证2.1工艺流程℃2.2.3苹果的预处理步骤:(初验合格的苹果)→称重计量→暂存→初洗苹果在采收后表面常附有灰尘,碎叶等杂物,必须进行初步清洗,初步清洗有两个过程,水流输送清洗和提升机喷淋清洗。
在清洗时把粘附在原料上的泥土、杂质、粉尘、沙粒等洗掉,去除残留的农药和部分微生物,清洗环节必须符合食品卫生要求。
果槽及周边环境卫生由装卸工负责,每天必须冲冼,并保持全天干净卫生。
2.2.4拣选在拣选台上对苹果进行拣选,主要拣出霉烂变质果,按照拣选要求规定削去腐烂点,把一些腐败的苹果或腐烂部分去除掉(腐烂率≤2%),一些杂质通过拣选台被拣出,以免下一步进行破碎时这些杂物进入苹果汁,在拣选后随机抽查一定量的苹果(≥1kg),然后称重并计算。
2.2.5清洗在洗果机上通过毛刷及水流喷淋进行苹果的清洗,通过破碎前的提升机进行清洗。
2.2.6破碎通过破碎机将清洗干净的苹果用破碎机破碎为4-6mm的果浆,以备后面进行压榨。
在破碎的过程中要控制力度,否则在泵送过程中会受到影响,影响泵送的效率。
依据苹果收购季节以及品种,破碎颗粒有所不同。
要求分前、中、后三期更换破碎机筛网,分别用小、中、大筛网。
在每年新收苹果时,由于苹果成熟度不够,一般控制在l cm-2cm之间,可以提高出汁率。
到后期由于苹果成熟度增加,压榨时如果颗粒过小,会在表面形成一层胶膜,阻止汁液的渗出,降低出汁率,这时一般控制在2cm-3cm之间。
2.2.7压榨压榨所采用的是带式压榨机。
在压榨过程中果浆分布尽可能的均匀,果浆厚度控制在3cm-6cm之间,榨带张力的调节,根据果浆的性质加以调节,以出汁率作为衡量标准。
如果需要,可以在一次压榨后的果渣加等量水浸渍后再进行二次压榨,可提高果汁出汁率,但在后期由于成熟度较高,增加的出汁率已无经济性可言,就取消这一步操作。
一榨:压榨时间:50-60min;出汁率:80-85%;二榨:加水量:果渣∶水=1∶1;设定出汁率:>50%;压榨时间:30-40 min。
《食品工厂设计》结课论文浓缩果汁工厂设计——年产3万吨浓缩苹果汁工厂设计学生姓名刘思鸣学号7062208 006所属学院生命科学学院专业食品营养与检测班级11 班指导教师朱丽霞老师日期2010-11题目:年产3万吨浓缩苹果汁工厂设计摘要本设计主要是进行年处理30000t浓缩果汁工厂设计。
在对全球和我国苹果产销和加工的现状进行充分调研的基础上,分析了我国浓缩苹果汁的生产和贸易现状。
拟定在三门峡市郊投资浓缩苹果汁生产厂.首先依据拟定的产量对生产车进行了物料、热量衡算;进而依据国际市场要求进行了车间的工艺设计,进行了主要的设备选型。
第三,对公用事业、土建等方面也作了~个初步的设计方案;同时,对水、电、汽的用量和费用也进行了估算;由于浓缩苹果汁大部分是作为出口产品,因此为了使浓缩苹果汁的质量达到世界水平对浓缩苹果汁的HACCP也进行了详细的分析与统计.最后,本设计还作了必要的技术经济分析。
整个设计充分考虑了目前的经济状况和今后发展的需要,从节能的角度出发选择设备。
生产流程尽量提高机械化、自动化水平,同时力求技术上先进,质量上可靠,布局上合理、规范。
×××××××××(5号字宋体段前后间距 0行左右缩进0字符首行缩进2字符。
)×××××××××××××××××××××…………关键字:(4号字,宋体加粗。
):×××××××××(5号字宋体段前后间距0行左右缩进0字符首行缩进2字符。
)×××××××××××××××××××××…………Abstract(4号字,宋体加粗)×××××××××(5号字宋体段前后间距 0行左右缩进0字符首行缩进2字符。
目录1.前言年产3000吨浓缩苹果汁工厂设计苹果浓缩汁是将成熟的苹果经过拣选清洗、破碎、压榨、浓缩而成的原料性产品,并经过饮料生产商再加工才能消费的产品,是世界最主要的苹果加工品。
世界上许多国家,尤其是盛产苹果的欧美等发达国家部有饮用苹果汁的消费)J惯。
浓缩苹果汁由于价格便宜,口味较淡,也常常作为一些价格昂贵果汁饮料的基础配料和添加物欧美日市场上的l 00%纯果汁、果菜混合汁、蔬菜汁、水果啤酒等,都离不开苹果浓缩汁这一风味特性温和的基料。
国外9 0%的饮料生产厂商将浓缩苹果汁用作饮料生产的勾兑和调味。
近年来,随着人们健康意识的增强,世界饮料市场中碳酸饮料的增长开始减缓,在欧美~+些国家,碳酸饮料由于其过高的糖含量,已鼓界定为不适合青少年和肥胖人群消费的饮料。
纯果汁和果汁类饮料由其具有天然、健康的特性,产销量增长迅速。
从而决定了未来对苹果浓汁的需求将继续呈稳中有升势。
我国浓缩苹果汁生产最早从山东开始。
l983年,山东中鲁公司开始进口浓缩苹果汁的生产加工设备,直到上世纪九十年代中期,浓缩苹果汁的生产加工主要在山东,年产量不超过2,000吨。
从上世纪九十年代中期开始,浓缩苹果汁的生产加工得到了迅猛的发展,生产加工企业由八十年代集中在山东苹果主产区,发展到陕西、河南、山西和辽宁等苹果产区。
浓缩苹果汁加工企业由八十年代的一家发展到目前的三十五家,年加工业生产能力从九十年代中期的1600吨猛增至现在的90多万吨。
目前我国已成为世界浓缩苹果汁的第一大生产国和出口国,图一显示2001~2006年我国苹果浓缩汁产量。
目前全国浓缩苹果汁生产企业已可年转化近600万吨苹果,占苹果总产量的近25%,极大地缓解了苹果主产区卖果难的问题,并使我国主要苹果产区的加工用苹果收购价从0.2元/公斤,基本稳定在0.5元/公斤以上,仅此就可使近百万户的果农受益,为农民年增加收入约1 3亿元。
从国内市场来看,目前我国生产浓缩果汁的厂家尚少,而兴建的数百家饮料厂急需大量的浓缩汁原料。
》目录一项目论证 (2)1 产品来源 (2)2 产品特点 (2)3市场状况 (3)4 厂址选择 (3)二样品方案与班产量 (4))1班产量 (4)2样品方案 (4)三工艺流程及论证 (5)1工艺流程 (5)2工艺论证 (5)四物料衡算 (6)五设备选型及论证 (11)六辅助生产设施的设计 (14)]七厂房总平面设计 (16)八结论 (16)参考文献 (17)$一、项目论证1.产品来源浓缩苹果汁主要以苹果为原料,今年来我国苹果在陕西的种植面积已处在上升趋势,计划把生产浓缩苹果汁的企业建立在陕西的洛川,人称洛川为“苹果之乡”,这里产的苹果以色、香、味俱佳著称,它的品质优良、果形优美、色泽艳丽、肉质脆密、含糖量高、香甜可口、硬度适中、耐储藏(采取合理的方法一般可以存放到翌年的5~6月份)等优点。
用于生产浓缩噢果汁的原料苹果必须具备含有较高的含糖量,而洛川的苹果恰能满足这一要求。
2.产品特点;“一天一个苹果,疾病远离我”是西方广为流传的一句谚语,越来越多的事实表明了苹果及加工产品如苹果汁、苹果酒的营养价值的确很高,苹果汁的营养价值在于它的营养成分能够迅速被人体吸收。
苹果汁还有一些医疗作用,苹果润肺、悦心、生津开胃、止渴、解暑除烦、止泻等作用。
苹果含较多的可溶性磷和铁,易于消化和吸收,有益于婴儿发育。
随着科学研究的不断深入,人们对苹果汁的认识较以往更加全面深刻,其保健作用主要表现在以下几方面:①苹果汁中的生物活性物质研究表明苹果汁中的黄酮类化合物与多酚化合物结合在一起具有抗癌的作用,该混合物能抑制人体内癌细胞的生长与扩散,从而起到了一定的抗癌作用。
最近,美国的临床实验表明苹果及苹果汁可以预防心脏病,苹果汁可以降低呼吸系统疾病的作用已有大量科学研究已证实,苹果汁中的某些成分可以改善呼吸系统的功能。
经常食用苹果汁的人与不食用或很少食用苹果汁的人相比,气喘病的发病可能性降低22%~23%,肺癌的发病率可能降低58%。
我国专家预测,2010年我国水果总产将达到9300万吨,人均占有量达到67.7公斤,接近上世纪80年代发达国家人均70公斤的水平。
果汁加工工业是从19世纪末才诞生的新兴工业,到现在已有100多年的历史,世界上果汗每年的贸易额为40亿元。
出口额最大的5个国家是巴西、美国、荷兰、德国、以色列。
世界发达国家果汁的消费量呈快速增长的趋势。
2003年,德国人均果汁消费量为47升。
国外发达国家果汁人均年消费量约20升,发展中国家人均年消费量约为10.8升。
据估算,西欧和日本、南韩等国的果汗消费量在近几年将以每年10%的速度上升,与其他国家相比,我国人均果汁的占有量却只有1升,与我国果产品的增长极不适应。
所以,随着果品产量的大幅度提高,大力发展果汁加工工业,对于稳定果品生产的发展,促进农业的产业化进程,满足人民的消费需求等方面,具有重要的意义。
目前,我国果汁加工业仍以生产带肉果汁为主,近10多年来,国内有些加工企业花费大量的资金引进国外浓缩果汁生产设备,生产浓缩苹果清汁以供出口。
但由于设备投资昂贵,只有少数工厂效益较好。
利用国产设备生产具有中国特色的澄清果汁,在国内外具有广阔的市场。
一、技术要点1、生产工艺流程果实原料→清洗→破碎(加入护色剂)→灭酶→冷却→果胶酶处理→压榨→加澄清剂→离心→超滤或硅藻土过滤→调配→灌装→杀菌。
2、加工工艺要点(1)苹果汁和鸭梨汁选用充分成熟的苹果原料,去掉病虫部分,用清水洗干净,加入带式榨汁机榨汁,为了抑制果汁褐变,在榨汁机过程中加入0.1--0.2%的抗坏血酸。
将榨得的原果汁用泵打入酶处理罐中,瞬时加热到80℃灭酶,然后冷却到45--50℃,加入0.02%果胶酶保温2小时,用硅藻土过滤机过滤,调整糖酸后再次过滤,经灌装杀菌后即为成品。
(2)葡萄汁原料:用于榨汁的葡萄,应选择优良的加工品种,特别要注意原料的鲜度、成熟度和可溶性固形物的含量。
未成熟的葡萄可溶性固形物含量低、酸度高、单宁多、风味差。
浓缩果汁工厂设计说明书(doc 22页)课程设计说明书课程名称:食品工厂设计与环境保护设计题目:年产30000t浓缩果汁工厂设计院系:生物与食品工程学院学生姓名:魏海学号:200706010039专业班级:07食品科学与工程(1)班指导教师:袁超年产30000t浓缩果汁工厂设计摘要本设计主要是进行年处理30000t浓缩果汁工厂设计。
分析了我国浓缩苹果汁的生产和现状。
拟定在市郊投资浓缩苹果汁生产厂。
首先依据拟定的产量对生产车间进行了物料衡算;进而依据市场要求进行了车间的工艺设计,进行了主要的设备选型。
对劳动力定员及生产工艺等方面作了一个初步的设计方案:同时,对水、电、汽的用量和费用也进行了估算。
关键词:浓缩苹果汁工厂设计目录1 概述 (1)1.1产品方案及班产量的确定 (1)1.1.1依据 (1)1.1.2 要求 (1)1.1.3产品方案 (1)1.2 厂址的选择及厂区布置 (1)1.2.1厂址的选择 (1)1.2.2总平面布置 (1)1.2.3车间布置及相应设施 (2)1.3 设计原则 (2)1.3.1符合国家的方针政策 (2)1.3.2符合生产条件 (2)1.3.3投资少,经济合理 (2)1.3.4充分利用原辅料 (2)1.4 物料衡算与主要设备选型 (2)1.4.1 浓缩果汁班产量的确定 (2)1.4.2原料果的日收购量的确定 (3)1.4.3设计条件 (3)1.4.4设备选型及论证 (3)1.5 劳动组织 (5)1.5.1劳动力组织原则 (5)1.5.2企业组织原则 (5)1.5.3车间劳动制度 (5)1.5.4人员编制 (5)2 成品主要技术规格或质量标准 (7)2.1成品质量的控制 (7)2.2质量指标 (7)3 生产流程简介 (8)3.1生产流程图 (8)3.2操作要点 (8)3.2.1收果与运输 (8)3.2.2原料的验收 (8)3.2.3苹果的预处理 (9)3.2.4拣选 (9)3.2.5清洗 (9)3.2.6破碎 (9)3.2.7压榨 (9)3.2.8第一次巴氏杀菌 (9)3.2.9酶解 (9)3.2.10超虑 (10)3.2.11树脂脱色 (10)3.2.12浓缩 (10)3.2.13批次罐指标调整 (10)3.2.14第二次巴氏杀菌 (10)3.2.15无菌罐装 (11)致谢 (12)参考文献 (13)1 概述1.1产品方案及班产量的确定1.1.1依据年产量30000t浓缩果汁。