仓储流程图
- 格式:doc
- 大小:841.00 KB
- 文档页数:11
仓库各类操作流程图一、仓库验收流程图1、供应商将货物送至仓库,在仓库门口提交送货单及发票。
2、仓库管理员审核送货单和发票,确认送货单填写是否正确,发票金额是否与采购订单一致。
3、如果送货单填写正确,发票金额与采购订单一致,仓库管理员在送货单上签字确认。
4、供应商在送货单上签字确认,并将送货单留存一份在仓库。
5、仓库管理员将货物送至指定货位,并按照要求进行验收。
6、如果货物存在质量问题,仓库管理员及时供应商解决。
7、如果货物验收合格,仓库管理员在验收单上签字确认,并将验收单提交至财务部门。
8、财务部门审核验收单和发票,无误后进行付款。
二、仓库发货流程图1、销售部门将销售订单提交至仓库,通知仓库发货。
2、仓库管理员根据销售订单准备货物,并填写发货单。
3、仓库管理员将发货单提交至物流部门,安排物流运输。
4、物流部门根据发货单安排车辆运输,并将货物送至客户指定地点。
5、客户在收货时签字确认,并将签字单提交至仓库管理员。
6、仓库管理员将签字单留存一份在仓库,并将另一份提交至销售部门。
7、销售部门根据签字单进行销售结算,并将款项提交至财务部门。
8、财务部门审核销售订单、签字单和发票,无误后进行付款。
三、仓库库存管理流程图1、仓库管理员每天对库存货物进行盘点,确保库存数量准确无误。
2、如果库存数量出现异常,仓库管理员及时采购部门进行补充或调整。
3、采购部门根据销售订单和库存情况制定采购计划,并向供应商下达采购订单。
4、供应商按照采购订单要求送货至仓库,仓库管理员进行验收和入库操作。
5、仓库管理员根据实际库存情况对货物进行合理摆放和调整,确保货物存储安全可靠。
6、仓库管理员定期对库存货物进行检查和维护,确保货物质量完好无损。
各类施工流程图一、基础工程施工流程图1、基础工程由设计图桩号定位放线→移交测量队放线→移交土方队按图开挖→报监理验收→开挖后隐检→绑扎基础钢筋及柱插筋→浇灌基础混凝土→基础验收。
2、注意事项:定位放线必须经监理及业主验收,严禁超挖乱挖;钢筋绑扎要符合设计要求及规范规定;严禁使用不合格材料;浇注混凝土时要严格控制坍落度及和易性,并报送监理一份。
仓库(Warehouse)是保管、储存物品的建筑物和场所的总称。
物流中的仓库功能已经从单纯的物资存储保管,发展到具有担负物资的接收、分类、计量、包装、分拣、配送、存盘等多种功能。
库管理是指商品储存空间的管理。
仓库管理作业应注意的问题有:1.库存商品要进行定位管理,其含义与商品配置图表的设计相似,即将不同的商品分类、分区管理的原则来存放,并用货架放置。
仓库内至少要分为三个区域:第一,大量存储区,即以整箱或栈板方式储存;第二,小量存储区,即将拆零商品放置在陈列架上;第三,退货区,即将准备退换的商品放置在专门的货架上。
2.区位确定后应制作一张配置图,贴在仓库入口处,以便于存取。
小量储存区应尽量固定位置,整箱储存区则可弹性运用。
若储存空间太小或属冷冻(藏)库,也可以不固定位置而弹性运用。
3.储存商品不可直接与地面接触。
一是为了避免潮湿;二是由于生鲜仪器吸规定;三是为了堆放整齐。
4.要注意仓储区的温湿度,保持通风良好,干燥、不潮湿。
5.仓库内要设有防水、防火、防盗等设施,以保证商品安全。
6.商品储存货架应设置存货卡,商品进出要注意先进行出的原则。
也可采取色彩管理法,如每周或每月不同颜色的标签,以明显识别进货的日期。
7.仓库管理人员要与订货人员及时进行沟通,以便到货的存放。
此外,还要适时提出存货不足的预警通知,以防缺货。
8.仓储存取货原则上应随到随存、随需随取,但考虑到效率与安全,有必要制订作业时间规定。
9.商品进出库要做好登记工作,以便明确保管责任。
但有些商品(如冷冻、冷藏商品)为讲究时效,也采取卖场存货与库房存货合一的做法。
10.仓库要注意门禁管理,不得随便入内。
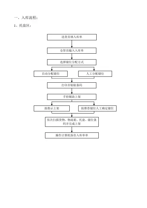
物流仓储流程图一、入库流程:1、托盘区:送货员填入库单仓管员输入入库单选择储位分配方式自动分配储位人工分配储位打印并粘贴条码手持辅助上架按指示上架按推荐储位人工确定储位依次扫描货物、物流箱、托盘、储位条码并完成上架操作计算机保存入库单单2、层格货架区送货员填入库单仓管员输入入库单自动分配储位按手持指示上架扫周转盒上的货物码、储位码手持操作完成操作计算机保存入库单3、自动立体货架入库流程送货员填入库单仓管员输入入库单打印并粘贴条码装箱扫货物条码、箱码自动分配储位上架完成保存入库数据二、出库流程1、托盘区仓管员输入出库单货存核对按手持终端提示货物下架操作完成按手持终端提示货物下架操作完成完成手持终端操作回传数据仓管员保存并打印出库单领货员签字2、层格区仓管员输入出库单货存核对按手持终端提示货物下架操作完成按手持指示拣货完成手持终端操作回传数据仓管员保存并打印出库单领货员签字3、自动主体库仓管员输入出库单货存核对按手持终端提示货物下架操作完成自动指示储位及物流箱号码工作人员拣取货物货物、箱扫描确定回传数据保存并打印出库单4、电子标签出库仓管员输出库单打印客户条码并固定在回转箱按手持终端提示货物下架操作完成手持扫码激活电子标签拣选货物完成手持操作保存打印出库单由自动输送设备传送固定式扫码设备扫客户码控制出库口仓管员输出库单到托盘货架区出库按手持终端提示货物下架操作完成激活电子标签指导中拣选货物完成完成全部拣选后可依客户打印出库单5、移库输入移库信息手持提示存储为下架并扫码按手持终端提示货物下架操作完成放至新储位下架并扫码放至新储位并扫码确定完成操作计算机保存移库操作仓库管理系统功能模块1. 系统功能设定模块,自定义整个系统的管理规则,包括定义管理员及其操作口令的功能;2. 基本资料维护模块,对每批产品生成唯一的基本条码序列号标签,用户可以根据自己的需要定义序列号,每种型号的产品都有固定的编码规则,在数据库中可以对产品进行添加、删除和编辑等操作;3(采购管理模块(1) 采购定单:当需要采购的时候,可以填写采购定单,此时并不影响库存;(2) 采购收货:当采购定单被批准,完成采购后到货的时候,首先给货物帖上条形码序列号标签,然后在采购收货单上扫描此条形码,保存之后,库存自动增加。
物流仓库作业流程入库一.入库作业:卸货进库、入库验收、入库搬运等,二.在库作业:加工、储存、整理,包装,检测三.出库作业:货物捆扎、出库搬运、出库装载2. 集装箱卸装载平台主要功能:集装箱货物拆/装箱、车辆集装箱装/卸四.物流仓库外围布局1.转运仓库在整体上车辆与人行通道分离,车辆通行道均为单向双通道2.卸货与收货搬运通道(搬运电梯)分离;3集装箱拆装箱区域与送货提货区域分离4.公司设置外围管理由专业物业管理公司负责;物流仓库管理运营流程作业指令计算机信息流入库作业流程入库流程基本分为:入库委托单输入、确认。
选择收货平台,安排库位,验收,入库输入,入库确认,入库更正。
依据客户要求和仓库设备要求流程可以灵活变更。
1.仓库业务主管接到调度的任务单, 对任务的各项要求进行确认。
2.安排各项入库准备, 比如入库作业班组,指定具体的入库仓库和库位。
3.司机进仓之后先到操作中心打单,司机提供送货工厂名,货物品名,司机联系方式, 制单人员录入电脑。
4.司机凭拿到的打单进仓号排队卸货。
5. 卸货人员卸载货物,操作人员量货物尺寸,规格,品名,件数,货物破损情况,并填写卸货单。
6.司机将卸货单第二联交回操作中心,操作中心制单人员录入系统。
录入人员按编号装订,归档,保存。
入仓单送货单位 : 送货时间: 编号: 车牌:制单人:制单时间:5.上述库区运营以公司计算机系统为核心,作业层的作业以机械设备配套为基础,自动化操作为中心,最大限度实现作业的高效率和高效益。
6.针对货物的搬运及其跟踪,建议公司物流仓库货物(产品或成品)全部采用由条形码与扫描设备构成的自动识别技术,以提高生产效率,减少差错。
在库作业1.工厂(客户)通知我司客服,客服将操作事项录入系统,同时录入相关费用2. 客服接单之后将作业通知单发送给操作中心录单人员。
3. 3.操作中心通知相关业务操作人员。
4.作业完成之后由操作人员在通知单上签字送回操作中心。
作业通知单申请作业单位:作业负责人: 作业时间:作业容: 费用:收单人:收单时间:出库作业1.仓库的业务主管接受来自调度的任务单,对任务的各项要求进行确认2.根据出库任务单,安排拣货作业,编制出库单3.货物出库,将货物搬运至装货月台,与货运人员确认出库数量,双方签字确认。
物流仓储管理操作流程1.收货流程1.1正常产品收货1.1.1 货物到达后,收货人员根据司机的随货箱单清点收货。
1.1.2 收货人员应与司机共同掐铅封,打开车门检查货品状况,如货物有严重受损状况,需马上通知客户等候处理,必要时拍照留下凭证。
如货物状况完好,开始卸货工作。
1.1.3 卸货时,收货人员必须严格监督货物的装卸状况(小心装卸),确认产品的数量,包装及保质期与箱单严格相符。
任何破损,短缺必须在收货单上严格注明,并保留一份由司机签字确认的文件,如事故记录单,运输质量跟踪表等。
破损,短缺的情况须进行拍照,并及时上报经理,主管或库存控制人员,以便及时通知客户。
1.1.4 卸货时如遇到恶劣天气(下雨,雪,冰雹等),必须采取各种办法确保产品不会受损。
卸货人员须监督产品在码放到托盘上时全部向上,不可倒置,每拍码放的数量严格按照产品码放示意图。
(产品码放按照托盘的尺寸及货位标准设计)。
1.1.5 收货人员签收送货箱单,并填写相关所需单据,将有关的收货资料产品名称、数量、生产日期(保质期或批号)、货物状态等交定单处理人员。
1.1.6 定单处理人员接单后必须在当天完成将相关资料通知客户并录入系统。
1.1.7 破损产品须与正常产品分开单独存放,等候处理办法。
并存入相关记录 1.2 退货或换残产品收货 1.2.1 各种退货及换残产品入库都须有相应单据,如运输公司不能提供相应单据,仓库人员有权拒收货物。
1.2.2 退货产品有良品及不良品的区别,如良品退货,货物必须保持完好状态,否则仓库拒绝收货;不良品收货则必须与相应单据相符,并且有配套的纸箱,配件齐全。
1.2.3 换残产品则须与通知单上的型号、机号相符,否则仓库拒绝收货。
1.2.4 收货人员依据单据验收货物后,将不同状态的货物分开单独存放,将退货或换残单据及收货入库单,记录产品名称、数量、状态等交定单处理人员。
1.2.5 定单处理人员依据单据录入系统。
2. 发货流程 2.1 定单处理程序 2.1.1 所有的出库必须有客户授权的单据(授权签字,印章)作为发货依据。
仓库管理流程图-仓库管理者必看物流中的仓库功能已经从单纯的物资存储保管,发展到具有担负物资的接收、分类、计量、包装、分拣、配送、存盘等多种功能。
见以下仓库管理流程图:一、成品进仓库管理流程图1、仓库根据已审核《采购订单》内容准备成品收货。
2、厂家送货到达后,厂家提供《送货清单》给收货仓管员,《送货清单》应清晰显示送货单位名称、送货单位印章或经手人签名、货品的名称、规格、数量、采购订单号。
收货仓管员将《送货清单》和对应的《采购订单》相核对。
相核不符者拒收。
相符者仓管员以《送货清单》和《采购订单》验收货品,收货量大于定购量时,仓库主管要通过营销部同意和取得营销部有权人的书面通知后才能超量收货。
3、仓管员收货无误后,在《送货清单》上签收,并加盖收货专用章,一联自留,一联交对方.4、仓管员在电脑上开具《采购单》,并由仓库主管审核生效.将《采购单》打印一式三联,经仓库主管和仓管员签字加盖收货专用章后,第一联存根自留,第二联财务联连同送货单位的《送货清单》交财务,第三联对方联同时交财务。
5、返修品回仓,以对应的《采购退货单》为依据收货,仓管员核实货单无误后在电脑上开具《采购退返单》,注明原《采购退货单》号,并经仓库主管审核生效。
二、成品出仓管理流程图1、仓库主管根据营销部传来的《销售订单》备货并作好记载,将配好之货品清单交质检部验货。
质检部将合格成品装箱并在电脑上填制《装箱单》,审核装箱单。
在每个包装箱内放置一张装箱单。
包装好的成品分类放到相应的仓库存放区域按仓库管理流程图进行操作。
2、质检部将《装箱单》汇总导出为未审核《销售单》,等待营销部总监审核发货。
3、仓管员根据客户持有的已盖章《销售单》和电脑里对应的《出仓单》(对于批发商)或《转仓单》(对于加盟商)发货.打印《出仓单》或《转仓单》一式二份,由仓管员、仓库主管和客户签字,一份交客户,一份仓库自留.4、营销部业务流程(1)营销部将客户传真来的《销售订单》输入电脑,并由营销部总监审核。
仓库(Warehouse)是保管、储存物品的建筑物和场所的总称。
物流中的仓库功能已经从单纯的物资存储保管,发展到具有担负物资的接收、分类、计量、包装、分拣、配送、存盘等多种功能。
库管理是指商品储存空间的管理。
仓库管理作业应注意的问题有:1.库存商品要进行定位管理,其含义与商品配置图表的设计相似,即将不同的商品分类、分区管理的原则来存放,并用货架放置。
仓库内至少要分为三个区域:第一,大量存储区,即以整箱或栈板方式储存;第二,小量存储区,即将拆零商品放置在陈列架上;第三,退货区,即将准备退换的商品放置在专门的货架上。
2.区位确定后应制作一张配置图,贴在仓库入口处,以便于存取。
小量储存区应尽量固定位置,整箱储存区则可弹性运用。
若储存空间太小或属冷冻(藏)库,也可以不固定位置而弹性运用。
3.储存商品不可直接与地面接触。
一是为了避免潮湿;二是由于生鲜仪器吸规定;三是为了堆放整齐。
4.要注意仓储区的温湿度,保持通风良好,干燥、不潮湿。
5.仓库内要设有防水、防火、防盗等设施,以保证商品安全。
6.商品储存货架应设置存货卡,商品进出要注意先进行出的原则。
也可采取色彩管理法,如每周或每月不同颜色的标签,以明显识别进货的日期。
7.仓库管理人员要与订货人员及时进行沟通,以便到货的存放。
此外,还要适时提出存货不足的预警通知,以防缺货。
8.仓储存取货原则上应随到随存、随需随取,但考虑到效率与安全,有必要制订作业时间规定。
uDT海西物流网9.商品进出库要做好登记工作,以便明确保管责任。
但有些商品(如冷冻、冷藏商品)为讲究时效,也采取卖场存货与库房存货合一的做法。
10.仓库要注意门禁管理,不得随便入内。
仓库管理流程图见以下:一、成品进仓库管理流程图1、仓库根据已审核《采购订单》内容准备成品收货。
2、厂家送货到达后,厂家提供《送货清单》给收货仓管员,《送货清单》应清晰显示送货单位名称、送货单位印章或经手人签名、货品的名称、规格、数量、采购订单号。
仓库(Warehouse)是保管、储存物品的建筑物和场所的总称。
物流中的仓库功能已经从单纯的物资存储保管,发展到具有担负物资的接收、分类、计量、包装、分拣、配送、存盘等多种功能。
库管理是指商品储存空间的管理。
仓库管理作业应注意的问题有:1.库存商品要进行定位管理,其含义与商品配置图表的设计相似,即将不同的商品分类、分区管理的原则来存放,并用货架放置。
仓库内至少要分为三个区域:第一,大量存储区,即以整箱或栈板方式储存;第二,小量存储区,即将拆零商品放置在陈列架上;第三,退货区,即将准备退换的商品放置在专门的货架上。
2.区位确定后应制作一张配置图,贴在仓库入口处,以便于存取。
小量储存区应尽量固定位置,整箱储存区则可弹性运用。
若储存空间太小或属冷冻(藏)库,也可以不固定位置而弹性运用。
3.储存商品不可直接与地面接触。
一是为了避免潮湿;二是由于生鲜仪器吸规定;三是为了堆放整齐。
4.要注意仓储区的温湿度,保持通风良好,干燥、不潮湿。
5.仓库内要设有防水、防火、防盗等设施,以保证商品安全。
6.商品储存货架应设置存货卡,商品进出要注意先进行出的原则。
也可采取色彩管理法,如每周或每月不同颜色的标签,以明显识别进货的日期。
7.仓库管理人员要与订货人员及时进行沟通,以便到货的存放。
此外,还要适时提出存货不足的预警通知,以防缺货。
8.仓储存取货原则上应随到随存、随需随取,但考虑到效率与安全,有必要制订作业时间规定。
uDT海西物流网9.商品进出库要做好登记工作,以便明确保管责任。
但有些商品(如冷冻、冷藏商品)为讲究时效,也采取卖场存货与库房存货合一的做法。
10.仓库要注意门禁管理,不得随便入内。
仓库管理流程图见以下:一、成品进仓库管理流程图1、仓库根据已审核《采购订单》内容准备成品收货。
2、厂家送货到达后,厂家提供《送货清单》给收货仓管员,《送货清单》应清晰显示送货单位名称、送货单位印章或经手人签名、货品的名称、规格、数量、采购订单号。
一、入库流程:1、托盘区:2、层格货架区3、自动立体货架入库流程二、出库流程1、托盘区2、层格区3、自动主体库4、电子标签出库5、移库1. 系统功能设定模块,自定义整个系统的管理规则,包括定义管理员及其操作口令的功能;2. 基本资料维护模块,对每批产品生成唯一的基本条码序列号标签,用户可以根据自己的需要定义序列号,每种型号的产品都有固定的编码规则,在数据库中可以对产品进行添加、删除和编辑等操作;3.采购管理模块(1) 采购定单:当需要采购的时候,可以填写采购定单,此时并不影响库存;(2) 采购收货:当采购定单被批准,完成采购后到货的时候,首先给货物帖上条形码序列号标签,然后在采购收货单上扫描此条形码,保存之后,库存自动增加。
(3) 其他入库:包括借出货物归还、退货等只需要填写采购收货单;4. 仓库管理模块(1)产品入库:采购入库或者其他入库,自动生成入库单号,货品及可选择方便快捷,可以区分正常入库、退货入库等不同的入库方式。
(2)产品出库:销售出库或者其他出库,可以自动生成出库单号,可以区分正常出库、赠品出库等不同的出库方式;(3)库存管理:不需要手工管理,当入库和出库时,系统自动生成每类产品的库存数量,查询方便;(4)特殊品库:当客户需要区分产品时,可以建立虚拟的仓库管理需要区分的产品,各功能和正常品库一致。
(5)调拨管理:针对不同的库之间需要调拨,可以自动生成调拨单号,支持货品在不同的仓库中任意调拨。
(6)盘点管理:用户随时可以盘点仓库,自动生成盘点单据,使盘点工作方便快捷。
(7)库存上限报警:当库存数量不满足一个量的时候,系统报警。
5. 销售管理模块销售定单:当销售出库的时候,首先填写销售出库单,此时不影响库存;销售定单:当销售出库的时候,将销售出库产品序列号扫描至该出库单上,保存之后,库存报表自动减少该类产品。
6. 报表生成模块,月末,季度末以及年末销售报表、采购报表以及盘点报表的自动生成功能,用户自定义需要统计的报表;7. 查询功能采购单查询,销售单查询,单个产品查询,库存查询等(用户定义)。
供应商上线结算流程介绍:供应商按量产采购滚动订单安排生产和发运--代管外库--检验--供应商外库代管--按生产计划BOM清单需求量安排送货(外库)--零部件仓库(内库)收货--采购订单入库ERP --开票信息汇总与下发--供应商开票--核实结算。
(详见供应商外库 入库流程/出库流程 供应商上线结算流程)说明:JIT模式上线结算需要三方物流和物流信息系统支持。
目前工厂相关资源不能满足,按实际资源配置建立供应商外库(类似三方物流),物流信息系统部支持项需手工编制EXCEL表格跟踪,目前执行的是月度排产计划量5-7天计划产品BOM物料需求量滚动入库,完全达到日计划拉动JIT上线结算模式还需要人力资源和其他相关资源配置支持。
供应商外库 入库流程供应商仓储服务合同货物委托清单库存安全库存量供应商采购滚动订物料到代管外库送货凭证(送货单)质量验收供应商外库来料登记记质量部外检供应商外库入库托供应商信息反馈退货YESNO供应商外库物料进出台供应商外库 出库流程生产部物控部供应商外库三方物流生产计划排程表及对应BOM 清单,需求计划量(手动编外库接收生产计划单物料需求清单按生产需求清单送货(分批打印)生产部按单收料财务部财务部接收凭证物控部零部件仓库收货采购订单/采购入库ERP (手动建单)生产日计划调拨单供应商外库物流进出台账(每日更新)供应商上线结算流程备注:(流程图中天蓝色填充为涉及凭证和单据)1、供应商外库和我司内部库房零部件库目前都为涪陵工厂仓管员兼职管理。
5、涉及相关单据:供应商送货单--供应商外库仓库员负责接收保存供应商外库送货单--供应商外库仓库员负责生产需求计划BOM 清单/计划量输出表(ERP 转手工)--生产计划员负责2、目前上线结算供应商到货入库周期按销售预测计划和生产月度排产计划滚动需求入库。
(2020年1月起按月度排产计划15-20天需求滚动入库;2021年6月15起已通知暂时仓库按5-7天周预排计划滚动入库,后续按涪陵量产物料入库周期汇报联络单领导审批意见执行。
项目二仓储流程图前言仓库(Warehouse)就是保管、储存物品得建筑物与场所得总称。
物流中得仓库功能已经从单纯得物资存储保管,发展到具有担负物资得接收、分类、计量、包装、分拣、配送、存盘等多种功能。
仓储管理就就是对仓库及仓库内得物资所进行得管理,就是仓储机构为了充分利用所具有得仓储资源提供高效得仓储服务所进行得计划、组织、控制与协调过程。
具体来说,仓储管理包括仓储资源得获得、仓储商务管理、仓储流程管理、仓储作业管理、保管管理、安全管理多种管理工作及相关得操作。
下图为仓库保管作业流程:一、入库流程(见图一)1、“六不入”原则①有送货单而没有实物得不能办入库手续;②有实物而没有送货单或发票原件得不能办入库手续;③来料与送货单数量、规格、型号不同得不能办入库手续;④ IQC检验不通过得,且没有领导签字同意使用得,不能办入库手续;⑤没办入库而先领用得,不能办入库手续;⑥送货单或发票不就是原件得不能办入库手续。
图一二、库内管理(见图二)1、在谈论保管作业之前首先应明确保管原则,仓库业得保管原则就是:①面向通道进行保管。
为使物品出人库方便,容易在仓库内移动,基本条件就是将物品面向通道保管。
②尽可能地向高处码放,提高保管效率。
有效利用库内容积应尽量向高处码放,为防止破损,保证安全,应当尽可能使用棚架等保管设备。
③根据出库频率选定位置。
出货与进货频率高得物品应放在靠近出入口,易于作业得地方;流动性差得物品放在距离出人口稍远得地方;季节性物品则依其季节特性来选定放置得场所。
④同一品种在同一地方保管。
为提高作业效率与保管效率同一物品或类似物品应放在同一地方保管。
⑤根据物品重量安排保管得位置。
安排放置场所时,当然要把重得东西放在下边,把轻得东西放在货架得上边。
需要人工搬运得大型物品则以腰部得高度为基准。
⑥依据形状安排保管方法。
依据物品形状来保管也就是很重要得,如标准她得商品应放在托盘或货架上来保管。
⑦依据先进先出得原则。
仓储流程图
-标准化文件发布号:(9456-EUATWK-MWUB-WUNN-INNUL-DDQTY-KII
项目二
仓储流程图
前言
仓库(Warehouse)是保管、储存物品的建筑物和场所的总称。
物流中的仓库功能已经从单纯的物资存储保管,发展到具有担负物资的接收、分类、计量、包装、分拣、配送、存盘等多种功能。
仓储管理就是对仓库及仓库内的物资所进行的管理,是仓储机构为了充分利用所具有的仓储资源提供高效的仓储服务所进行的计划、组织、控制和协调过程。
具体来说,仓储管理包括仓储资源的获得、仓储商务管理、仓储流程管理、仓储作业管理、保管管理、安全管理多种管理工作及相关的操作。
下图为仓库保管作业流程:
一、入库流程(见图一)
1、“六不入”原则
①有送货单而没有实物的不能办入库手续;
②有实物而没有送货单或发票原件的不能办入库手续;
③来料与送货单数量、规格、型号不同的不能办入库手续;
④ IQC检验不通过的,且没有领导签字同意使用的,不能办入库手续;
⑤没办入库而先领用的,不能办入库手续;
⑥送货单或发票不是原件的不能办入库手续。
图一
二、库内管理(见图二)
1、在谈论保管作业之前首先应明确保管原则,仓库业的保管原则是:
①面向通道进行保管。
为使物品出人库方便,容易在仓库内移动,基本条件是将物品面向通道保管。
②尽可能地向高处码放,提高保管效率。
有效利用库内容积应尽量向高处码放,为防止破损,保证安全,应当尽可能使用棚架等保管设备。
③根据出库频率选定位置。
出货和进货频率高的物品应放在靠近出入口,易于作业的地方;流动性差的物品放在距离出人口稍远的地方;季节性物品则依其季节特性来选定放置的场所。
④同一品种在同一地方保管。
为提高作业效率和保管效率同一物品或类似物品应放在同一地方保管。
⑤根据物品重量安排保管的位置。
安排放置场所时,当然要把重的东西放在下边,把轻的东西放在货架的上边。
需要人工搬运的大型物品则以腰部的高度为基准。
⑥依据形状安排保管方法。
依据物品形状来保管也是很重要的,如标准他的商品应放在托盘或货架上来保管。
⑦依据先进先出的原则。
保管的重要一条是对于易变质、易破损、易腐败的物品;对于机能易退化、老化的物品,应尽可能按先入先出的原则,加快周转。
⑧区位确定后应制作一张配置图,贴在仓库入口处,以便于存取。
小量储存区应尽量固定位置,整箱储存区则可弹性运用。
若储存空间太小或属冷冻(藏)库,也可以不固定位置而弹性运用。
⑨储存商品不可直接与地面接触。
一是为了避免潮湿;二是由于生鲜仪器吸规定;三是为了堆放整齐。
⑩要注意仓储区的温湿度,保持通风良好,干燥、不潮湿。
⑪仓库内要设有防水、防火、防盗等设施,以保证商品安全。
⑫商品储存货架应设置存货卡,商品进出要注意先进行出的原则。
也可采取色彩管理法,如每周或每月不同颜色的标签,以明显识别进货的日期。
2、盘点作业:
一般而言,盘点计划多在复盘日期的一个月前就要具体拟订而且发布。
仓库盘点管理流程是仓库在盘点作业方面的指导操作性文件,它通过对盘点的安排、计划、组织、初盘、复盘、稽核、查核、数据输入、盘点表审核、数据校正、盘点总结等方面进行说明、规定和指导,以给仓库盘点管理工作指明方向和给出措施方法。
由于人为以及客观流程的疏漏等原因,造成的帐面、IT系统、实际库存的数据的不符,需要建立完整的《仓库盘点管理制度》以保证基础数据相对正确。
①盘点作业的注意事项
a.盘点采用实盘实点方式,禁止目测数量、估计数量;
b.盘点时注意物料的摆放,盘点后需要对物料进行整理,保持原来的或合理的摆放顺序;
c.所负责区域内物料需要全部盘点完毕并按要求做相应记录;
d.参照初盘、复盘、查核、稽核时需要注意的事项;
e.盘点过程中注意保管好“盘点表”,避免遗失,造成严重后果;
②盘点作业的目的:
清查实际库存数量;帮助企业计算资产损益;发现仓库管理中存在的问题。
3、门禁原则:
①除物料管理人员和搬运人员因工作需要,其他人员未经批准,一律不得进入仓库;
②严禁任何人在进出仓库时私自携带物料;
③有来宾视察时,须在主管级以上人员陪同下方可进入仓库。
4、“日事日毕、日清日高”原则:
①每个仓管员在每日工作结束时,进行当天的相关账物的自我确认和核查,确保账目的平衡,找出不足,及时改进,第二天才可进步提高。
②每日对所管的物料库位至少巡查1~2次,保证在库物料的品质、安全和6S状态达标,确保物料有正确标识,该退的要退给供应商或放入退货区,以免产生呆滞。
③仓管员当日的单据当日必须传给录单员,而录单员当日的单据必须在当日录入系统。
5、以旧换新原则:
对有规定的物料,严格执行退旧才能换新、领新必先退旧的原则。
图二
三、出库流程(见图三)
1、“五不发”原则:
①没有提料单的,或提料单是无效的,不能发放物料;
②手续不符合要求的,不能发放物料;
③质量不合格的物料,除非有领导批示同意使用,否则不能发放;
④规格不对、配件不齐的物料,不能发放;
⑤未办理入库手续的物料,不能发放。
2、一次出库原则:
物料出库必须准确、及时及一次性完成,生产线领用物料必须要拉回自己生产线所属位置,不能再堆放在仓库的范围,以免造成混乱和差错。
3、货物出库的方式主要有三种:客户自提,委托发货,公司送货。
第一种:客户自提,是客户自已派人或派车来公司的库房来提货。
第二种:委托发货,自己去提货有困难的客户而言,他们会委托我们公司去找第三方物流公司提供送货服务。
第三种:是仓储企业派自己的货车,给客户送货的一种出库方式。
无论采用哪种出货的方式,都要填写出库单,出库单主要有以下项目:发货单位、发货时间、出库品种、出库数量、金额、出库方式选择、运算结算方式、提货人鉴字、成品库主管鉴字。
出库单是一式四份。
第一联是存根;第二联是成品库留存;第三联是财务核算:第四联提单,是提货人留存。
提货的车到达仓库后,出示出库单据在库房人员协调下,按指定的货位、品种、数量搬运货物装到车上。
保管人员做好出库质量管理,严防撒漏、破损,做好数量记录,检斤人员做好数量、重量记录,制作出库检斤
表,由复核人员核实品种、数量和提单,制作出仓库出门条。
出库时交出库门卫,核实后放行。
图三
四、仓储管理的意义
对于企业来说,仓储管理的意义重大。
在新经济新竞争形势下,企业在注重效益,不断挖掘与开发自己的竞争能力的同时已经越来越注意到仓储合理管理的重要性。
精准的仓储管理能够有效控制和降低流通和库存成本,是企业保持优势的关键助力与保证。
11。