炸粉(裹粉)生产工艺流程图
- 格式:doc
- 大小:23.50 KB
- 文档页数:1
炸裹粉有什么优势?说起麦当劳、肯德基大家头脑中飘过的一定有炸薯条、炸鸡翅、炸鸡排吧?一口咬下去就可以感觉到外酥里嫩,又香又脆,百吃不厌,得到广大消费者的喜爱,为什么它们可以达到如此酥脆的口感呢?想要炸出美味的炸鸡和薯条,除了要掌控油温外,更重要的还需要选择一款好的炸裹粉。
裹粉炸粉是一种主要是用来针对油炸产品进行处理的外裹层的产品,也是一种食品配料,使用炸裹粉将肉类或蔬菜类裹上然后油炸,可以赋予油炸品不同的风味,保持其原有风味不流失,保持其水份,达到外酥里嫩的口感,下面为大家介绍一款广州健科炸裹粉。
健科炸裹粉是由健科资深的技术团队联合国际品牌技术团队研发出来的一款产品,这款产品主要是针对市场上使用炸裹粉后做出来的产品酥脆时间保持不久的问题。
其实,爱吃炸薯条、炸鸡的人都知道,只要端上桌面没有及时吃掉,或者外卖、打包带回家的时候,通常吃着吃着就成软绵绵了,酥脆的口感变得不佳,甚至想吃的欲望都会消失,相信每一个吃货心里都有这样一个愿望:如果炸薯条,炸鸡一直都那么脆那该多好啊!因此为了实现吃货们的愿望,广州健科的炸裹粉成功的解决了时间久就变软的这个问题,可以让炸薯条、炸鸡等产品保持半个小时以上的酥脆感,不仅延长了风味的保持时间,还提升了外酥里软的口感。
接下来简单的为大家介绍健科炸薯条、炸肉类的炸裹粉特性介绍:薯条炸粉的特性介绍:1. 使用简便,加水调配后裹在薯条上就可下锅;2. 炸好的薯条色泽金黄、香气诱人;3. 使薯条外酥里软,口感层次更加丰富;4. 保持薯条外皮酥脆时间在30分钟以上;5. 降低薯条吸油率,节约使用成本,也更符合现代人追求健康的理念;6. 建议配合使用健科销售的薯条专用煎炸油,酥脆效果更好。
肉类炸粉特性介绍:1. 使用简便,加水调配后裹在肉上就可油炸;2. 该炸粉裹在肉的表面是薄薄的一层,适用于炸排骨、海山骨、鸡肉等;3. 油炸后产品外皮酥脆时间可以保持30分钟左右;4. 产品裹粉后经过冷冻再油炸依然酥脆;5. 油炸过程中不失水,油炸后外酥里嫩;6. 配合使用健科销售的肉类专业煎炸油,酥脆效果更好。
玉米淀粉生产工艺流程图原料玉米↓净化→杂质↓硫磺→制酸→浸泡→稀玉米浆→浓缩→玉米浆↓破碎→胚芽→洗涤→脱水→干燥→榨油↓精磨↓筛洗→渣皮→脱水→干燥→粉碎→纤维粉↓分离→浓缩→脱水→干燥→蛋白粉↓清水→淀粉洗涤↓精制淀粉乳→制糖、变性淀粉等↓脱水↓干燥↓淀粉成品↓计量包装主要设备1.提升机1台2.清理筛1台3.除石槽2台(自制)4.亚硫酸罐1个(自制)5.硫磺吸收塔 2 座6.浸泡罐6个(自制)7.重力筛 2台8.破碎磨 2台9.针磨 1台10.胚芽旋流器 2台11.胚芽筛 1台12.压力曲筛 7 台13.洗涤槽 1套(自制)14.分离机 2台15.洗涤旋流器一套16.汽浮槽 2台(自制)17.螺旋挤干机 2台18.管束干燥机 3台19.板框压滤机 4台20.沉淀罐 4个21.地池 1个22.刮刀离心机 1台23.气流干燥机组 1套24.原浆罐浓浆罐洗涤水罐各一个25.各种泵、管道、阀门玉米:水分%(m/m)≤14%杂质率%≤2%淀粉含量%(m/m)≥70%淀粉:65-68% 胚芽6-8% 纤维粉8-10% 蛋白粉 4.5-6%一吨玉米可生产酒精0.3-0.32 吨吨淀粉可生产麦芽糖浆1.15吨采用传统的玉米湿磨法(即用亚硫酸水溶液逆流浸泡玉米提取可溶性成分得玉米浸泡水,齿磨破碎、旋流分离提取玉米胚芽,筛分去渣,碟片分离机与旋流分离器组合使用分离去除蛋白)闭路循环生产工艺生产玉米淀粉,从而保证工艺的可靠性。
同时充分利用工艺过程水,达到节省用水的目的。
玉米淀粉是以玉米为原料,经过原粮清理,浸泡,破碎,精磨,分离,淀粉精致,脱水,烘干,计量包装,成品。
生产的过程中同步分离出胚芽,纤维粉,玉米蛋白粉及玉米浆。
这些副产品还要分别经过分离,洗涤,脱水,烘干到计量包装。
最终完成整套的生产过程。
玉米淀粉生产线是一套连续的流水作业。
玉米浆还可以和玉米纤维粉混合制成喷浆纤维,是做饲料的很好原料。
吨淀粉用水5吨左右电180度左右煤200公斤左右。
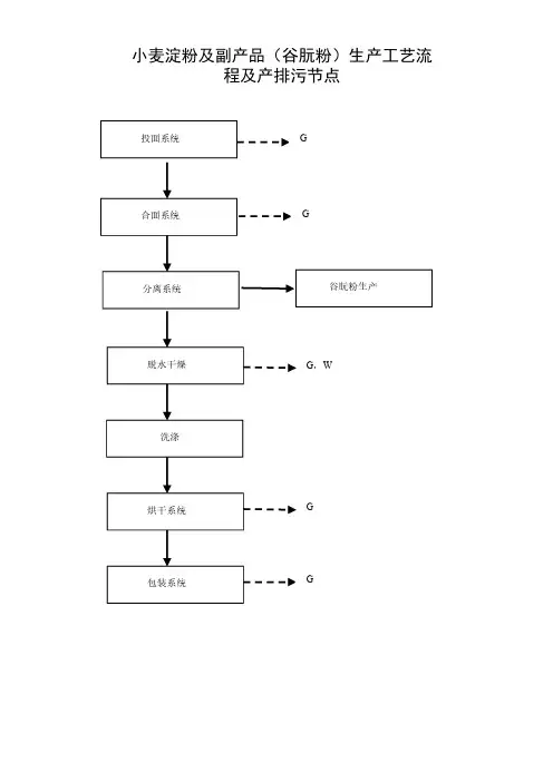
小麦淀粉及副产品(谷朊粉)生产工艺流程及产排污节点投面系统分离系统合面系统烘干系统洗涤脱水干燥包装系统GG ,WGG谷朊粉生产G玉米淀粉生产工艺流程及产排污节点玉米脱胚、洗涤脱水湿胚胚芽干燥商品胚芽浸泡玉米浆蒸发SO 2G 细磨、筛分、脱水湿纤纤维干燥商品纤维主分离麸质水麸质浓缩麸质脱水麸质干燥蛋白粉外售洗涤精制粗乳补充水淀粉乳中浓原浆G W W W 玉米玉米浆饲料加工食用油加工饲料加工外售或送下一步生产W G W 干燥脱水包装外售或送下一步生产G GG薯类淀粉生产工艺流程及产排污节点废水排放自来水马铃薯锉磨机洗涤系统淀粉精制淀粉浓缩淀粉分离机脱水装置废水薯渣汁水洗薯废水成品库烘干机包装机纯水循环池反渗透溢流水循环池原料淀粉(液化)调浆糖化高纯水(中和)脱色过滤离子交换G W,G G W,G G蒸发浓缩(结晶)(分蜜)(洗糖)(干燥)(筛分)包装成品入库WWW W,G GG淀粉糖生产工艺流程及产排污节点原料淀粉预干燥混合反应化学试剂调湿包装筛分成品入库GG W,G GGG变性淀粉(干法)生产工艺流程及产排污节点投料罐(调浆)旋振筛反应罐(反应)中间罐(储存)化学试剂除砂器(除杂)精乳罐(储存)旋流器(洗涤)离心机(脱水)接料池回溶灌淀粉乳W ,GGGGW ,G淀粉、水干燥器(干燥)分离器(分离)旋振筛(筛分)除铁器(除铁)包装机(包装)成品入库粗淀粉颗粒GW ,GGGG变性淀粉(湿法)生产工艺流程及产排污节点淀粉制品(粉丝、粉条、粉皮、凉皮、凉粉)生产工艺流程及产排污节点淀粉配料打芡加矾和面沸水漏条冷冻水锅炉蒸汽加热GG烘干GG打捆包装 G。
冷冻裹粉薯条生产工艺流程一、准备原材料薯条生产过程首先需要准备原材料,其中最主要的原材料就是马铃薯。
选择优质的马铃薯作为原料对薯条的品质至关重要。
此外,生产薯条还需要面粉、淀粉、食用油等辅助材料。
需要确保原材料的新鲜度和质量,为后续的生产工艺做好准备。
二、清洗和去皮清洗和去皮是生产薯条的第一步工艺。
将采购回来的马铃薯进行清洗,去除表面的杂质和土壤,然后再进行去皮处理。
去皮是利用专门的去皮设备将马铃薯的皮层去除,以确保接下来的切割和加工工艺更加顺利。
三、切割去皮后的马铃薯需要进行切割处理。
切割工艺是将去皮的马铃薯进行切割成条状,这些条状的马铃薯片就是薯条的原料。
在切割的过程中需要确保薯条的形状和大小的均匀一致,以便后续的加工和炸制。
四、炸制预处理切割成条状的马铃薯需要进行炸制的预处理。
首先是进行浸泡,将切好的马铃薯条浸泡在水中,去除多余的淀粉和杂质。
然后进行蒸煮,使薯条的内部熟透。
接着进行冷却,以减少后续的炸制时间。
最后是进行预炸,通过高温的短时间炸制,使得薯条外表形成金黄色的酥脆外皮。
五、裹粉炸制预处理后的薯条需要进行裹粉处理。
首先将面粉、淀粉等辅助材料按照一定的比例混合均匀,然后将炸制好的薯条放入混合粉中进行裹粉。
裹粉的工艺是为了增加薯条外层的香脆口感,提高产品的口感和质感。
六、冷冻裹粉处理后的薯条需要进行冷冻。
通过冷冻工艺将薯条冷冻保存,以延长产品的保质期。
同时,冷冻还能够使得薯条更加方便运输和保存,为销售提供更多的便利。
七、包装和储存冷冻后的薯条需要进行包装和储存。
对薯条进行适当的包装可以有效地保护产品的质量和卫生安全。
同时,合理的储存可以确保薯条的口感和品质不受影响,为后续的销售提供更好的保障。
八、质检和出厂最后一步是质检和出厂。
对包装好的薯条进行质检,确保产品符合国家相关的卫生安全标准和质量标准。
合格的产品将会被装箱出厂,送往各大超市和食品零售店进行销售。
以上就是冷冻裹粉薯条的生产工艺流程,通过一系列的工艺处理,生产出口感酥脆、口味美味的薯条产品。
淀粉生产工艺流程方框图讲解下载温馨提示:该文档是我店铺精心编制而成,希望大家下载以后,能够帮助大家解决实际的问题。
文档下载后可定制随意修改,请根据实际需要进行相应的调整和使用,谢谢!并且,本店铺为大家提供各种各样类型的实用资料,如教育随笔、日记赏析、句子摘抄、古诗大全、经典美文、话题作文、工作总结、词语解析、文案摘录、其他资料等等,如想了解不同资料格式和写法,敬请关注!Download tips: This document is carefully compiled by theeditor. I hope that after you download them,they can help yousolve practical problems. The document can be customized andmodified after downloading,please adjust and use it according toactual needs, thank you!In addition, our shop provides you with various types ofpractical materials,such as educational essays, diaryappreciation,sentence excerpts,ancient poems,classic articles,topic composition,work summary,word parsing,copy excerpts,other materials and so on,want to know different data formats andwriting methods,please pay attention!淀粉生产工艺流程方框图是一个展示淀粉生产过程中各步骤及其相互关系的图形表示。
南宁生榨米粉的工艺流程
1. 预处理:将大米洗净淘净,浸泡1-2小时,调整水分至适度。
2. 研磨:将浸泡好的大米倒入石磨中研磨成米浆。
3. 搅拌:将米浆倒入搅拌桶中,加入适量的水搅拌,使其变得更顺滑。
4. 过滤:用细筛或纱布过滤掉较粗的米渣,同时将米浆压榨得更细腻。
5. 烘干:将过滤后的米浆倒入锅中加热,不断搅拌,将水分蒸发干净,变成干粉状。
6. 筛分:将烘干后的米粉过筛,分出粗细度不同的产品。
7. 包装:将分好的米粉通过自动包装机或手工包装,随后可以直接出售或者储存备用。
8. 产品检验:对产品进行外观、口感、质量、卫生、品质等多方面检查,以保证产品的优质标准。
17种上浆、裹粉的调制技术!挂糊是常用的一种技法,即在经过处理的原料表面挂上一层外衣一样的粉糊。
由于油炸时温度比较高,粉糊受热后会立即凝成一层保护层,使原料不直接和高温油接触。
这样就可以保持原料内的水分和鲜味,营养成分也不致流失。
制出的菜肴就能达到松、嫩、香、脆的目的,并增加菜肴形与色的美观。
广东人称挂糊叫上浆,四川称为码芡。
脆皮糊调制方法:1、先将泡打粉9 克、酵母3克混合均匀,然后放入普通面粉95克,精制生粉、马蹄粉各35克(三种粉要提前用筛子筛过),搅匀。
2、再放清水105克(一般分两次加入,如果调制的量大,需要分三次加入)、鸡蛋1个充分搅拌,最后放色拉油15克,顺一个方向用力搅匀,当调好的糊呈现透明的炼奶状时,用保鲜膜封口,放在常温下静置10分钟以上。
特性:菜肴外形饱满,口感比其他的糊要更加松脆。
应用:应用最广,常用来制作酥炸、干炸或者脆炸的制品,比如脆炸明虾、酥炸肉片。
天妇罗糊调制方法:跟脆皮糊的调制方法差不多,只是采用天妇罗粉为主要原料制作而成。
一般的调制方法是天妇罗粉50克、冰水90克、蛋黄15克、盐2克调匀。
制作时也可以不加蛋黄,直接用水来调制天妇罗粉。
不加蛋的调制方法是:天妇罗粉50克、冰水110克、盐2克混合均匀。
特性:色泽白中带有淡淡的黄色或者雪白,质地非常松脆,而且炸好的菜肴“外衣”非常轻薄,可以清晰看到内在的原料。
应用:比较适合制作高端的炸菜,比如日式天妇罗炸大虾、天妇罗炸什锦。
蛋清糊调制方法:鸡蛋清50克抽打均匀,加入混合粉 50 克、清水30 克、色拉油5克调匀。
特性:菜肴色泽白中带浅黄,外形松脆。
应用:软炸制品,比如软炸大虾、软炸银鱼。
蛋泡糊(雪丽糊、高丽糊)调制方法:1、将5 个鸡蛋的蛋清放入不锈钢容器内,用打蛋器或竹筷朝着一个方向搅打(搅打时要用力,先快后慢,不能乱打,3-5 分钟就可以打成蛋泡)。
2、将筷子放在蛋泡里一插,筷子能够直立时说明蛋泡已经成功,再加干淀粉20克、面粉10克搅匀。
炸粉的做法和比例超级炸粉超级炸粉-超级炸粉介绍点击查看大图可与KFC相媲美,金黄鳞片外观、酥脆口感!用腌料腌制好的产品使用超级炸粉后进行油炸,肉和炸粉的黏结好,不脱壳;您可以使用超级炸粉作出更多美味,如:金酥鸡腿、金酥大块鸡(先蒸后炸工艺)、炸鸡米花(浆-粉工艺)条状鸡柳、孜然鸡柳、炸鸡(浆-粉工艺)、鸭柳、鸭皮串、炸鸡排、上海香香炸鸡块、吮指鸡块;注意:浆液调匀即可,不要过度调打以免把浆液打泄而影响了浆液质量,调好的浆液最好在3小时内用完以免浆液筋力发生变化,影响效果。
超级炸粉-制作原料和方法超级炸鸡腿主要原料:鸡腿(腌制好的)1000克超级炸粉250克调浆比例:粉:水=1:1.2~1.3其他配料:水(冰水或凉水)300克详细步骤注:与右边图示一一对应,如缺图,您可以自己动手上传哦第1步:将鸡腿洗净,准备好腌料、炸粉和水,备用。
第2步:按腌制比例量取腌料(可使用超级香辣腌料)和水混匀,倒入鸡腿中静腌12~24小时;按照调浆比例,量取炸粉和水混匀,制成浆液。
第3步:上浆:将腌好的鸡腿放入浆液中,确保鸡腿均匀沾满浆液;然后沥浆:沥掉多余浆液,至没有成股的浆液流下即可。
第4步:上粉:先把上浆后的鸡腿用粉覆盖,用手稍压;然后用带着干粉的手翻动、揉捏肉块(不要太用力),使肉块表面出现自然鳞片状外观,确保表面完全被粉包裹即可,掂去浮粉,待炸。
第5步:将准备好的鸡腿放入油锅油炸,根据鸡腿大小自己灵活掌握油温(建议油温在170℃~180℃)和时间,至熟即可。
鸡米花炸粉鸡米花炸粉-食品介绍点击查看大图金黄鳞片外观和酥脆的口感,肉和炸粉的黏结好,建议应用于油炸要求时间短的食物;需配合腌料使用,腌制的食品使用鸡米花炸粉后进行油炸;您可以使用鸡米花炸粉配合腌料作出专业水准的鸡米花,盐酥鸡米花、鸡肉棒、炸鸡排、鸭米花、劲爆猪、上海香香炸翅、香辣炸鸡翅根、原味炸鸡胸肉块、炸鸡翅;建议不要使用鸡腿,因其效果有限;注意:浆液调匀即可,不要过度调打以免把浆液打泄而影响了浆液质量,调好的浆液最好在3小时内用完以免浆液筋力发生变化,影响效果。
面点生产工艺流程图新
介绍
本文档旨在描述面点生产的工艺流程图,详细展示每个步骤的顺序和操作要点。
工艺流程图
以下是面点生产的工艺流程图:
1.原料准备
确保所有原料的供应充足
检查原料质量,确保符合卫生和安全标准
2.面团制备
将粉类原料、液体和调味品按照配方比例混合
揉搓面团,直到面团光滑且有弹性
面团松弛,让其发酵一段时间
3.面点形状设计
根据产品要求,将面团切割成适当大小的块状
根据客户需求,进行面点的造型设计
4.面点加工
对面点进行烹饪或烘烤处理,例如蒸、煮、炸等
控制加工时间和温度,确保面点熟透而不过度烤焦
5.包装和储存
将加工好的面点进行包装,使用合适的包装材料
根据产品类型和储存要求,选择适当的储存方式,确保产品品质和新鲜度
6.质量检验
对生产好的面点进行质量检验
检查面点外观、口感、味道等是否符合要求
严格把控卫生和安全标准,确保面点符合相关法规要求
7.成品包装与配送
将合格的面点进行最终包装和标志
安排合适的配送渠道,保证产品按时送达客户手中
结论
以上是面点生产的工艺流程图,每个步骤都是为了确保最终产
品的质量和新鲜度。
在每个步骤中,都要严格遵守卫生和安全标准,以保证消费者的健康和满意度。