胶囊剂片剂工艺流程图知识交流
- 格式:doc
- 大小:70.50 KB
- 文档页数:4
目录1 产品概述2 处方和批准文号3 工艺流程图4 原药材的整理炮制5制剂操作过程及过程控制要求6 原辅料质量标准和检验方法7 中间产品质量要求和检验方法8 成品质量标准和检验方法9 包装材料和包装规格、质量标准10说明书、产品包装文字说明和标志11设备一览表及主要设备生产能力12 物料平衡、收率的指标及计算公式1 产品概述1.1 产品特点1.1.1 性状本品为胶囊剂,内容物为黄棕色粉末,气微香,味苦。
1.1.2 功能与主治:具有改善睡眠功能。
1.1.3 用法与用量:每日1次,每次3粒,口服。
1.1.4 规格:每粒胶囊装0.35克。
1.1.5 有效期:二年1.2 处方来源:2 处方和批准文号2.1 处方11254 7.0 g 192kg11211 3.5g 96kg11097 3.5g 96kg11172 2.1g 58kg11044 2.1g 58kg合计 18.2g 500kg 制成胶囊5粒13.7万粒2.2 批准文号:3 工艺流程图4.原药材整理炮制4.1 炮制依据:《中国药典》2005年版一部。
4.2 整理炮制方法4.2.1 酸枣仁:除去杂质,粉碎成最粗粉。
4.2.2 桑椹:除去杂质。
4.2.3 合欢花:除去杂质。
4.2.4 五味子: 除去杂质,用时捣碎。
4.2.5 柏子仁:除去杂质。
5 制剂操作过程及过程控制要求5.1 称量配料工序:按照每批处方量称量各种药材备用。
5.2 提取、浓缩5.2.1 提取:将已备好的五味药材称量复核,复核后的药材投入提取罐内,加6倍量的饮用水,浸泡2-3小时后,升温第一次煎煮,煎煮2小时后,放液,药液用300目滤布过滤;第二次加4倍量的水,煎煮1.5小时,放液,过滤,合并滤液,将滤液放入贮罐静置2-6小时,备用。
5.2.2一次浓缩:将静置后的上清液减压浓缩,真空度为-0.060~-0.085Mpa,温度为60℃±5℃,浓缩至相对密度为1.10~1.15时(60℃±5℃测),收取浓缩液(1),备用。
浅谈新版GMP下口服固体制剂(片剂、胶囊剂、颗粒剂)生产线的工艺设计摘要】《药品生产质量管理规范》(2010年修订)于2010年10月19日颁布,自2011年3月1日施行。
本文简要介绍了口服固体制剂在新版GMP下的工艺设计中的部分实例,使其在满足新版GMP下避免药品生产过程中污染、交叉污染以及混淆、差错的风险。
【关键词】新版GMP 口服固体制剂工艺设计[中图分类号]R197.32 [文献标识码]A [文章编号]1810-5734(2013)10-38-04引言新版GMP下对口服固体制剂的要求提高,对其减少污染从口服固体制剂设备角度来看,新版GMP中对粉尘处理提出了更高的要求。
结合实例对口服固体制剂生产线的设计作简要概述。
口服固体制剂典型生产工艺过程为合格原辅料经称量配料、粉碎、过筛、制粒、干燥、整粒、总混后得到干颗粒。
干颗粒或进入袋包间包装成颗粒剂产品,或进入胶囊生产区域制成相应规格的胶囊剂,或进入片剂生产区制成相应规格的片剂(非包衣片或包衣片),胶囊剂、片剂经内包装后,与颗粒剂产品一样各自分别去外包装、入库待检。
口服固体制剂典型生产工艺流程图见图1图1 口服固体制剂典型生产工艺流程图1 设计一般原则口服固体制剂生产线的设计原则应根据用户提供的URS,结合口服固体制剂的生产特征、批量大小以及用户的生产习惯确定。
一般来说,口服固体制剂各工序为间歇生产,需要通过半成品中间暂存来调节各工序之间的操作,按照销售的需求来排定生产计划。
通常可以按照以下方式进行厂房设计:1.1 按物料传送方式1.1.1 水平输送水平输送即是物料在水平方向同层输送,仅有设备垂直提升物料,局部垂直运输,整体水平输送。
1.1.2 垂直输送垂直输送即是垂直方向层间输送,输送方式又可以分为管道输送、层间提升机输送。
实例一运用层间提升装置,将物料在同层粉碎、过筛、制粒、混合后进入中间站暂存,再进入另一层压片(包衣)/胶囊填充、外包装。
这种形式适合于品种较多的间歇性生产方式。
片剂的制备工艺流程图片剂是一种制剂形式,用于将固体药物制成方便服用的片状制剂。
制备片剂的工艺流程可分为原料准备、混合制粒、压片、包衣及包装等几个步骤。
首先,原料准备是片剂制备的首要步骤。
根据药物配方,准备好所需的药物原料,包括活性成分、辅料等。
原料需严格按照药典或标准规定的质量要求选择,并进行称量、筛选、检查等工作,以确保原料的质量和完整性。
接下来是混合制粒步骤。
将称好的原料放入混合机中,加入一定量的辅料或填充剂,如载体、分散剂、润湿剂等。
打开混合机进行混合,使原料均匀分散,以保证整个制剂的药物成分均一和每片剂量的准确性。
混合完成后,将混合后的粉末进行制粒处理,以增加颗粒的粘结力。
接下来是压片步骤。
将制粒后的药物颗粒放入压片机,通过腔压的作用,将颗粒压缩成所需的片剂形状。
此过程中,需要根据药物的特性调节压制参数,如压力、速度等,以确保片剂的质量和外观。
压片完成后,进行包衣步骤。
首先,选择合适的包衣机器,根据药物特性选择合适的包衣材料,如肠溶片剂需要使用耐胃酸的包衣材料。
然后,将片剂放入包衣机中,通过涂覆或喷雾方式,将包衣材料均匀地涂覆在片剂表面。
包衣的目的是保护药物不受湿气、光照等因素的影响,并增加片剂的稳定性和可溶性。
最后是包装步骤。
将包衣完成的片剂进行分装和包装。
首先,按照规定的剂量,将片剂放入容器中,如瓶子、铝箔袋等。
然后,根据需要进行密封和贴标签等工作,最终完成片剂的包装。
总之,片剂的制备工艺流程主要包括原料准备、混合制粒、压片、包衣及包装等步骤。
通过严格控制每个步骤的工艺参数和质量要求,确保片剂的质量和稳定性,使药物易于服用和储存。
同时,制备工艺流程的合理性和规范性对于片剂制备的成功与否具有重要影响。
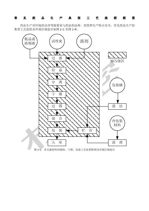
几种典型制药工艺流程图常见药品生产典型工艺流程框图药品生产对环境的洁净等级要求与药品的品种、剂型和生产特点有关。
常见药品生产的典型工艺流程及环境区域划分如图1-1至图1-9。
活性炭粗品或浓缩液溶剂包装桶内包装材料过 滤干 燥过 筛混 合分 离入 库包 装贮 存清 洁清 理30万级区结 晶图1-1 非无菌原料药精制、干燥、包装工艺流程框图及环境区域划分抗生素浓缩液过 滤粗品活性炭溶剂玻璃瓶或铝瓶瓶塞纯水注射用水标签纸箱无菌过滤结 晶分 离干 燥过 筛混 合装 瓶贴 签装 箱入 库喷雾干燥粗 洗精 洗干燥灭菌冷 却过 滤过 滤清 洗10万级区1万级区100级区图1-2 无菌原料药精制、干燥、包装工艺流程框图及环境区域划分30万级区其他包装容器粉 碎玻璃瓶崩解剂润湿剂润滑剂崩解剂包衣液原辅料包装材料内包装材料粗 筛精 筛配 料制 粒湿 法干 法直接法干 燥整 粒总 混压 片冷 却干 燥消 毒配 制包 衣分 装包 装入 库精 洗干 燥冷 却消 毒粗 洗冲模图1-3 片剂生产工艺流程框图及环境区域划分30万级区原辅料粗 筛空心胶囊内包装材料外包装材料精 筛配 料粉 碎填充物制备如粉末,颗粒,小丸等装 囊包 装外包装入 库消 毒消 毒图1-4 硬胶囊剂生产工艺流程框图及环境区域划分10万级区原辅料填充泵胶浆润滑油废油液楔形注入器胶 带旋转模胶 带旋转模模 压切 离胶囊清洗定 型干 燥质 检包 装入 库涂 胶胶皮回收注入图1-5 压制法软胶囊剂生产工艺流程框图及环境区域划分10万级区1万级区原辅料切 割安瓿饮用水纯化水注射用水纸箱纸盒粗 洗精 洗干燥灭菌冷 却配 制粗 滤精 滤灌 装封 口灭菌、检漏印 字包装入 库过 滤过 滤离子交换蒸 馏图1-6 可灭菌小容量注射剂生产工艺流程框图及环境区域划分30万级区10万级区1万级区100级区原辅料称 量输液瓶隔离膜胶塞饮用水浓 配过 滤稀 配粗 滤精 滤灌 装放 膜上 塞翻 塞加 盖扎 口灭菌灯 检贴 签包 装入 库瓶外清洗清洁剂清洗粗 洗清 洗精 洗精 洗精 洗乙醇浸泡清 洗清 洗酸碱处理粗 洗煮 沸清 洗离子交换过 滤纯水化蒸 馏注射用水过 滤铝盖标签纸箱图1-7 可灭菌大容量注射剂生产工艺流程框图及环境区域划分10万级区1万级区100级区胶塞酸碱处理玻璃瓶分装用原料冻干用原料饮用水洗纯化水洗注射用水洗硅 化干燥灭菌灭 菌封 蜡铝盖白蜡目 检纸盖贴 签标签装 箱装 盒纸箱入 库洗 瓶干燥灭菌冷 却分 装轧 盖轧 盖检 查擦洗消毒擦洗消毒配 料无菌过滤灌 装冻 干加 塞图1-8 注射用无菌分装产品生产工艺流程框图及环境区域划分10万级区生物洁净室非无菌原料药溶解配制西林瓶胶塞灭菌过滤定量灌装托盘注入胶塞塞半冷冻干燥冷冻干燥粉碎过筛胶塞全压塞分装到容器轧 盖密 封检 查包 装入 库包装材料洗 瓶干燥灭菌冷 却A法 B法冷 却干燥灭菌硅 化注射用水洗纯化水洗饮用水洗酸碱处理铝盖A:管制抗生素玻璃瓶冻结法B:托盘冻结法图1-9 注射用冷冻干燥制品生产工艺流程框图及环境区域划分。
常见药品生产典型工艺流程框图
药品生产对环境的洁净等级要求与药品的品种、剂型和生产特点有关。
常见药品生产的典型工艺流程及环境区域划分如图1-1至图1-9。
图1-3 片剂生产工艺流程框图及环境区域划分
图1-4 硬胶囊剂生产工艺流程框图及环境区域划分
图1-6 可灭菌小容量注射剂生产工艺流程框图及环境区域划分
图1-7 可灭菌大容量注射剂生产工艺流程框图及环境区域划分
图1-8 注射用无菌分装产品生产工艺流程框图及环境区域划分
图1-9 注射用冷冻干燥制品生产工艺流程框图及环境区域划分。
各制剂工艺流程图1 、片剂生产工艺流程图2、颗粒剂生产工艺流程图3、胶囊剂生产工艺流程图4、合剂生产工艺流程图5、糖浆剂生产工艺流程图6, 丸剂生产工艺流程图2 、工艺流程说明2 . 1 、前处理工艺流程说明外购的药材经过挑、选、检、去杂质及非药用部位后,川选药机或不绣钢洗药池,将药材上的泥土、灰尘洗净,根据不同品种的要求湿润,以达到提取、榨油、细粉的标准。
用J 六提取的药材,采取切割的方法切片,后经多层带式}气燥机干燥,中药粉碎机粉碎,筛分得到合格粒度的药材,送到净药库。
用J 屯榨油的药材,经多层带式干燥机干燥后,直接送去榨汕。
榨油前,按配方要求混合,用中药粉碎机粗碎,经蒸汽湿润后进入螺旋榨油机榨油,榨出的油经过过滤,再送到综合伟lJ 剂车间。
用一于细粉的药材切片,经多层带式十燥机十燥后,送到双扇灭菌柜灭菌,再用高效粉碎机组和震荡筛粉碎,筛分合格后包装,转入综合制剂车间。
2 . 2 、热回流提取工艺流程说明来自净药库的药材,按配方配料,加入乙醇,用热回流抽提机组进行第· 次醉提,过滤后剩余的药渣,加上辅料,再进行次水提,使有效成分尽量提出。
醇体液静置后过滤,除去杂质,减压浓缩,回收乙醉,并得到醇提浸膏。
水提液静置后过滤,除去杂质,减压浓缩,并得到水提浸膏。
将醇提浸膏与水提浸膏混合,采用可倾式反应锅浓缩,得到稠浸膏,用周转桶送到综合制剂车间。
2 .3 、片剂工艺流程说明原料和辅料经过粉碎过筛,达到要求细度后,按配方称取配料。
配制好的物料,根据需要混合制粒、干燥、整粒、总棍后,再压片、包衣、抛光,经检验合格,按规定包装,送入成品库房。
2 . 4 、合剂工艺流程说明原料和辅料按处方称量后,加入纯化水配制成药液,经力热煮沸、冷却、过滤后,再灌装和轧盖,经过蒸汽检漏、晾瓶、灯检、贴签,检验合格后,装箱送入成品库房。
2 . 5 、糖浆剂工艺流程说明将原料和辅料按处方称量后,加入纯化水配制成药液,经力热煮沸、冷却、过滤、调整浓度后,再灌装和轧盖,经过幻检、贴签,检验合格后,装箱送入成品库房。
各制剂工艺流程图1 、片剂生产工艺流程图2、颗粒剂生产工艺流程图3、胶囊剂生产工艺流程图4、合剂生产工艺流程图2 、工艺流程说明2 . 1 、前处理工艺流程说明外购的药材经过挑、选、检、去杂质及非药用部位后,川选药机或不绣钢洗药池,将药材上的泥土、灰尘洗净,根据不同品种的要求湿润,以达到提取、榨油、细粉的标准。
用J 六提取的药材,采取切割的方法切片,后经多层带式}气燥机干燥,中药粉碎机粉碎,筛分得到合格粒度的药材,送到净药库。
用J 屯榨油的药材,经多层带式干燥机干燥后,直接送去榨汕。
榨油前,按配方要求混合,用中药粉碎机粗碎,经蒸汽湿润后进入螺旋榨油机榨油,榨出的油经过过滤,再送到综合伟lJ 剂车间。
用一于细粉的药材切片,经多层带式十燥机十燥后,送到双扇灭菌柜灭菌,再用高效粉碎机组和震荡筛粉碎,筛分合格后包装,转入综合制剂车间。
2 . 2 、热回流提取工艺流程说明来自净药库的药材,按配方配料,加入乙醇,用热回流抽提机组进行第·次醉提,过滤后剩余的药渣,加上辅料,再进行次水提,使有效成分尽量提出。
醇体液静置后过滤,除去杂质,减压浓缩,回收乙醉,并得到醇提浸膏。
水提液静置后过滤,除去杂质,减压浓缩,并得到水提浸膏。
将醇提浸膏与水提浸膏混合,采用可倾式反应锅浓缩,得到稠浸膏,用周转桶送到综合制剂车间。
2 .3 、片剂工艺流程说明原料和辅料经过粉碎过筛,达到要求细度后,按配方称取配料。
配制好的物料,根据需要混合制粒、干燥、整粒、总棍后,再压片、包衣、抛光,经检验合格,按规定包装,送入成品库房。
2 . 4 、合剂工艺流程说明原料和辅料按处方称量后,加入纯化水配制成药液,经力热煮沸、冷却、过滤后,再灌装和轧盖,经过蒸汽检漏、晾瓶、灯检、贴签,检验合格后,装箱送入成品库房。
2 . 5 、糖浆剂工艺流程说明将原料和辅料按处方称量后,加入纯化水配制成药液,经力热煮沸、冷却、过滤、调整浓度后,再灌装和轧盖,经过幻检、贴签,检验合格后,装箱送入成品库房。
颗粒剂胶囊剂片剂工艺流程下载温馨提示:该文档是我店铺精心编制而成,希望大家下载以后,能够帮助大家解决实际的问题。
文档下载后可定制随意修改,请根据实际需要进行相应的调整和使用,谢谢!并且,本店铺为大家提供各种各样类型的实用资料,如教育随笔、日记赏析、句子摘抄、古诗大全、经典美文、话题作文、工作总结、词语解析、文案摘录、其他资料等等,如想了解不同资料格式和写法,敬请关注!Download tips: This document is carefully compiled by theeditor. I hope that after you download them,they can help yousolve practical problems. The document can be customized andmodified after downloading,please adjust and use it according toactual needs, thank you!In addition, our shop provides you with various types ofpractical materials,such as educational essays, diaryappreciation,sentence excerpts,ancient poems,classic articles,topic composition,work summary,word parsing,copy excerpts,other materials and so on,want to know different data formats andwriting methods,please pay attention!颗粒剂、胶囊剂和片剂是常见的药物制剂形式。
它们的制备工艺流程各有特点,以下是这三种制剂的详细工艺流程:一、颗粒剂工艺流程:1. 处方设计:根据药物的性质和临床需求,设计颗粒剂的处方,包括主药、辅料(如稀释剂、崩解剂、甜味剂等)及比例。