销售订单处理流程图Word 文档
- 格式:doc
- 大小:26.50 KB
- 文档页数:2
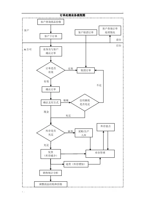
订单处理业务流程图
;.
订单处理业务概述:
1.客户查询商品价格,下订单;客户可随时查询订单处理情况,并可取消订单
2.业务员与客户确认订单是否有效,无效则取消订单,有效则继续确认支付方式
3.支付方式分现金和赊账,如果是赊账则要继续确认客户是否有足够的信用额度,
如果不足则取消订单,如果充足则继续确认库存
4.库存不足,则A公司采购或生产足够商品并入库,库存充足则发货
5.库存管理方面,采购或生产入库将增加库存,发货将减少库存,发货后客户可能
还会退货则增加库存;库存的变化可通过库存盘点进行修正
6.最后可以对销售数据进行统计分析,以方便A公司做出下一阶段的商品结构和
价格的调整决策
;.。
销售订单主流程图2相关部门责任人流程相关表单货清单内勤、业务员技术部技术部内勤、业务员销售订单主流程图业务员内勤、业务员内勤、业务员销售内勤计划部生产部评审仓库物流内勤、业务员要求描述产品选型,报价,货期,包装,运输,商务条款电流,电压,型号,订单金额,发货地址依据U6系统技术部评审,给出结论技术数据,可操作性回复是否有库存,依据U6系统销售动员大会励志誓词(一)亲爱的战友,我们大家信心百倍,严阵以待。
我们有电一般敏捷的思维,我们有虎一般王者的风范。
一百天,战场演练,我不退缩!一百天,考场挥毫,我能胜利!让雄心与智慧在六月闪光,让飞翔的翅膀在六月张开翅膀!(二)某某某我生来就是人杰而非草芥;我站在群峰之巅俯视平庸的沟壑;用智慧,培育理想,用汗水浇灌希望;没有失败的理由;不作儒弱的退缩,不作无益的彷徨;我将带着从容的微笑;去赢得我志在必得的辉煌。
秒秒拼,树自信,苦百日;分分搏,凭实力,战销售;(三)看,销售冲刺的战旗猎猎飘扬!听,决战销售的鼓角已经吹响!想,师长殷切的期盼铭记心上!再过100天,我们就要整装上阵,踏上神圣庄严的销售战场。
这是黎明的前奏,是出征的战鼓,是拼搏的号角。
让我们同心协力,奋战100天。
奋斗100天,让飞翔的梦在六月张开翅膀;奋斗100天,让雄心与智慧在六月闪光!在神圣的阳光下,在这庄严的时刻,全体登山人,以青春的名义宣誓:刻苦学习,用勤劳和热血洒下智慧的汗水; 努力奋斗,用坚韧和刚强谱写绚烂的华章; 顽强拼搏,用执着和赤诚超越今天的梦想; 自加压力,用丰收和喜悦共铸明天的辉煌; 我们坚信:齐心协力,顽强拼搏,决战六月,我们做到:苦战100天,为母校争辉,为自己喝彩; 再鼓干劲,跨越希望的海洋;再展雄风,感恩父母的滋养;再创佳绩,回报母校的厚望;珍惜100天,让我们:破釜沉舟,背水一战,挑战自我,超越极限,实现梦想!(四)临近销售,我们全体师生庄严宣誓:百日苦短,时不我待,我们牢记:为自己负责。
销售订单处理流程图1销售订单处理流程图流程说明1、销售部接到订单8小时内处理完毕,订单转至品质技术部、生产部;2、特殊订单品质技术部确认技术标准、原料标准及做法说明,4小时内提供给生产部;3、生产部根据产品技术规格标准及做法说明,4小时内提供生产物料采购单交由采购部采购;4、采购部根据技术要求和出货时间按采购合同时间采购物料入待检仓;采购物料入待检仓后,品质技术部立即进行检验,合格后方可入物料仓;5、生产部按要求进行生产,品质部在生产过程中进行巡检,成品后入待检仓;6、由品质技术部检验合格后入成品仓;7、生产部将入仓数据报至销售跟单;8、销售部联系回款,财务部确认后销售总监审核;9、销售跟单通知生产部按约定时间组织发货。
说明:如生产物料不须采购,则省去(3)(4)(5)(6)(7)(8)操作流程。
销售订单处理流程图21销售订单处理流程图:附件2产品批号申请单申请部门:交货日期:编号:批准:审核:制单:附件3工程项目流程单JA-XY-产品批号申请单编号:档案编号:附件4 订单/合同评审记录工作令表JA-ZJ-005 年月日编号:销售订单管理流程制度1销售管理流程制度一、制定制度的目的:对整个订单执行过程实行明析的流程化管理和责任化管理,提高工作效率和服务质量。
最大限度地保证订单的履约率和客户满意度,保证公司内部各工作单元有交衔接及工作的顺畅推进。
二、订单管理内容描述:主要是对订单的评审、记录、技术交底、报价、合同签订、图纸设计、产品生产、进度跟踪等程序化管理。
三、订单具体管理程序:1、业务人员接订单时,对订单内容进行必要的了解。
包括品种、数量、工期及质量等,并进行编号记录。
2、业务人员传递《评审报价单》,由生产分管经理、技术部经理组织评审,根据客户情况、产品类型和数量、工期、预计合同额等确定接单方式,非重点或无潜力客户的小订单将考虑提高报价和延长工期,接单后各部门确定各属工作所需时间,填写《合同评审表》。
销售订单处理流程一、销售订单接收1.订单来源(1)客户电话(2)电子邮件(3)在线商城(4)销售人员拜访2.订单信息确认(1)客户基本信息①客户名称②联系方式③地址(2)商品信息①商品名称②数量③单价④总金额(3)交货日期(4)付款方式二、订单录入1.选择录入系统(1)企业资源规划(ERP)系统(2)客户关系管理(CRM)系统2.填写订单信息(1)输入客户信息(2)输入商品信息(3)输入其他相关信息3.保存订单(1)确认订单编号生成(2)保存至系统数据库三、订单审核1.初审(1)检查订单完整性①确认商品可用性②确认价格准确性2.复审(1)主管人员审核(2)处理异常情况①商品缺货②客户信用问题3.审核结果(1)通过审核(2)未通过审核①通知客户修改②重新提交订单四、订单处理1.备货(1)确认库存①进行库存盘点②下达备货指令2.打包(1)准备包装材料(2)打包商品3.发货(1)选择物流公司①比较运输费用②确认运输时效(2)安排发货①填写发货单②提交物流公司五、售后服务1.确认收货(1)客户反馈收货情况(2)处理收货异常2.售后支持(1)处理退换货请求①确认退换原因②处理退款或换货(2)客户满意度调查①发送满意度问卷②收集客户反馈3.订单归档(1)更新客户档案(2)存档订单记录。
销售下单到出货流程图
1 / 1
销售内勤
总经理
生产指令单
财 务
生 产 计 划 单
品 管
库房管理员
.
销售询价,下单到出货的流程图
询价,意愿
评审 销售,研发,生
知足需求
产,采买
审批
审批
签署合同
销 售 部
BOM 表,生产工艺
审批
研发
批准
采 购
生产部门
预支款到账
特采除外
审 核
内部联系单
总经理
不 开始采买作业 合
格
查验
原资料
库房,采买
查对数目
合
查对数目
格
入 库
车间生产
生产中遇 有关人员出方案解决
到问题
不合格
成品查收
合 格
成品入库
成品 销售申请出货
核 实
余款,财务
库房
开有关的发票单
据
出货单
出
货
.。
目录销售管理操作流程1、销售订单操作1.1操作界面打开供应链-销售管理-销售订货-销售订单图11.2界面功能说明1.2.1新增:当打开界面时销售订单处于查询状态,新增时单击“增加”按钮(图1黑圈)。
图2表头必录内容,如:订单号(手工编制)、订单日期、销售类型、销售部门、客户简称、其他项目示业务实际情况可录也可为空,表体必录内容,如:存货档案、规格型号、数量单价、注:(自由项如:报关方式、目的地、电源要求等是必录入项)船头样与订货数量合并下单,如:588A、541台、其中一台船头样,以前在系统下达销售订单时在表体行是分两行进行录入,一是订货数、一行是船头样,现就两行信息合并生成一行记录,并由业务主管对销售订单进行审核;(注:如赠送的单价降低,总金额不变,如同订货数一起销售单价不变,根据客户的交货日期分几行录入。
1.2.2修改:保存后的销售订单,在没有审核前,如果发现错误或需要变更,可由本人进行修改(图1蓝色圈)。
如果审核之后需要修改,可以进行“变更”(图2绿色圈)。
但是两者对销售订单的改动范围和要求不同,具体见“帮助”。
1.2.3审核与弃审:对于新增产生的销售订单需要进行“审核”,由销售经理来执行,进行正确性检查及批准(图1红色圈)。
如果需要修改,可以执行“弃审”后进行。
1.2.4关闭与打开:销售订单支持两种关闭方式,一个是整单关闭,一个是行关闭。
如果销售订单或订单上的物料行被取消,可以执行“关闭”(图1紫色圈)。
关闭后该订单或物料将不能生成请检单。
当关闭的订单需要继续执行时,应首先“打开”。
1.3销售订单报表1.3.1销售订单列表:它将符合过滤条件的销售订单记录以列表的格式显示,便于用户快速查询和操作单据。
图31.3.2订单执行统计表:销售订单执行统计表可以提供销售订单的发货、开票、出库、收款、预收款的执行情况(图4),单击出现相应的订单窗口。
图42、发货单操作2.1发货单打开供应链-销售管理-销售发货-发货单图52.2界面功能说明2.2.1新增:当打开界面时请检单处于查询状态,新增时单击“增加”按钮(图5)。
销售订单处理流程图
流程说明
销售部接到订单8小时内处理完毕,订单转至品质技术部;
品质技术部确认技术标准、原料标准及做法说明,4小时内提供给生产部;
生产部根据标准及做法说明,4小时内提供生产物料采购单交由采购部采购;
采购部根据要求24小时内采购物料入待检仓;采购物料入待检仓后,
品质技术部立即进行检验,合格后方可入物料仓;
生产部按要求进行生产,成品入待检仓;
由品质技术部检验合格后入成品仓;
销售外勤按约定组织发货。
说明:如生产物料不须采购,则省去(3)(4)(5)(6)(7)(8)操作流程。