安全管理流程图通用版
- 格式:docx
- 大小:40.63 KB
- 文档页数:18
安全管理流程目录一、安全生产管理流程图二、安全生产管理控制图三、安全生产组织机构流程图四、安全生产责任制管理流程图五、安全教育培训流程图六、安全监督检查流程图七、应急预案及事故处理程序图八、环境保护管理体系流程图九、文明施工管理工作流程图十、高空坠落、物体打击、机械伤害等施工安全事故应急预案流程图十一、消防应急预案流程图十二、中毒、窒息应急预案流程图三、安全生产组织机构流程图1、公司组织机构2、项目部组织机构四、安全生产责任制管理流程图五、安全教育培训流程图六、安全监督、检查流程图隐患整改通知单各类表格.doc3.处罚通知单各类表格.doc4.安全会议签到表各类表格.doc5.安全会议记录(影视及纸质版资料)6.整改反馈表各类表格.doc七、应急预案及事故处理程序图八、环境保护管理体系流程图九、文明施工管理工作流程十、高空坠落、物体打击、机械伤害等施工安全事故应急预案一、组织机构及职责、分工组织机构图1、应急救援领导小组:2、通讯(宣传)联络组3、紧急抢险组4、疏导警戒组5、救护组二、应急预案程序(1)报告程序事故发现(目击)者可按下述途径,将事故情况以最快的速度报告。
(2)报告内容:具体位置、事故类型、人员伤亡情况及目击现场的情况等。
简单明了重复二次。
十一、消防演练应急预案流程十二、中毒、窒息应急预案一、应急救援程序1、当施工现场有人员发生中毒时,现场知情人员应及时拨打电话报警(报警电话为项目内部应急救援号码),请求消防队到场实施救援。
2、抢险救援组接警后,立即赶赴现场,同时通知医务人员赶赴现场待命。
指挥人员到场后,立即按以下程序开展工作:2.1对事故现场采取有效通风措施,将其他人员疏散到上风方向或安全地带;2.2立即将消防队员组成数个救援小组,佩戴好个人防毒面具,进入事故现场实施救援;2.3把中毒者抬出事故现场,呼吸新鲜空气,解开衣服,给予静卧、保暖;2.4医务人员对中毒病员进行深一层次的专业护理:A.对呼吸衰竭者进行人工呼吸;B.对心跳呼吸停止者进行胸外心脏按压及人工呼吸;C.脱掉被污染的衣服,用大量的清水和肥皂水清洗污染皮肤,对皮肤受损害的部位,给予有效的处理;D.眼睛受污染后,用大量清水冲洗不少于10分钟,对眼睛损害者,在医疗设备不齐全的状况下,及时送往医院;E.对中毒较重者,立即首批送上救护车到就近医院救治。
安全管理工作流程图(管理)安全管理工作流程图(管理)1.背景安全管理是确保组织内部各项活动和运营过程具备可控和安全性的核心职能。
本文档旨在介绍安全管理工作的流程图,帮助组织全面掌握和执行安全管理工作。
2.流程图graph TBA[确定安全管理目标] --。
B[制定安全政策]B --。
C[制定安全管理手册]C --。
D[制定安全管理制度和规章制度]D --。
E[制定安全管理计划]E --。
F[组织安全演练和培训]F --。
G[日常安全巡查和检查]G --。
H[处理安全事件和事故]H --。
I[安全事故调查分析和整改]I --。
J[定期安全评估和审核]J --。
K[持续改进和完善管理体系]3.流程详解3.1 确定安全管理目标确定安全管理目标是制定安全管理策略和规划的基础,需要考虑组织的特点、风险评估和法律法规要求。
3.2 制定安全政策安全管理政策是组织的基本方针和原则,应具备明确性、可执行性和可审查性,以引导安全管理工作的实施。
3.3 制定安全管理手册安全管理手册是具体指导安全管理工作的文件,应包括各项管理要求和操作规程,以确保工作可控和一致性。
3.4 制定安全管理制度和规章制度安全管理制度和规章制度是组织内部安全管理的法律依据,应详细明确各项安全要求和各方责任,以规范各项安全行为。
3.5 制定安全管理计划安全管理计划是具体安排和安排安全管理工作的文档,涵盖安全培训、安全演练和安全巡查等活动,以确保各项工作的有序进行。
3.6 组织安全演练和培训安全演练和培训是提升组织内部安全素养和应急能力的重要手段,需要定期组织员工进行相应的培训和演练活动。
3.7 日常安全巡查和检查日常安全巡查和检查是确保组织内部各项安全要求得到有效执行的重要环节,需要有专人定期进行安全巡查和检查,并进行记录和整改。
3.8 处理安全事件和事故安全事件和事故处理是组织内部应急响应和后续处理的关键环节,需要及时、准确地处理相关事件和事故,并进行事故调查分析。
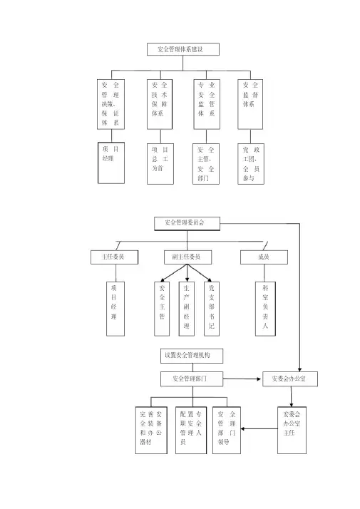
WORD格式.资料安全管理流程目录一、安全生产管理流程图二、安全生产管理控制图三、安全生产组织机构流程图四、安全生产责任制管理流程图五、安全教育培训流程图六、安全监督检查流程图七、应急预案及事故处理程序图八、环境保护管理体系流程图九、文明施工管理工作流程图十、高空坠落、物体打击、机械伤害等施工安全事故应急预案流程图十一、消防应急预案流程图十二、中毒、窒息应急预案流程图WORD格式.资料相关部门不通过卜审核、安全生产管理流程图工程部/技术质量部施工组织设计、安全专项方案安全隐患整改安全产检查、监督专业.整理每月安全报表相关部门三级安全教育培训、考试fi安全部技术质量部孑资质报验、安全备案通过清单管理方案、应急方案班组安全活动收集整理安全资料危险危险源辩识、重大风险职业危害申报标准化工地策划、实施WORD格式.资料二、安全生产管理控制图建立项目部管理人员墙安全生产责任制(各级、各部门、各类人员)考核明确安全生产指标(经济承包中)制定各工种安全技术操作规程负责现场安全・工作监督检查制定总的安全■目标.制定年、月达标目标.分解目标>落实责任•考核到人配备专(兼职)安全员•主要任务伤亡控制指标制定安全管理目标安全达标目标文明施工目标5刊现场安全控制旷!分解三、安全生产组织机构流程图杜绝死亡事故重伤事故率不超过3%轻伤事故率不超过15%工地全部达标,均达到70分以上。
1、公司组织机构所属项目部安全领导小组:项目经理2、项目部组织机构项目经理主管安全生产(副经理)安全生产管理小组四、安全生产责任制管理流程图安全部安全生产救援组织1各工程项目安全管理小组1F技术 质 量 部1 F质 检 部各施工班组项目经理(第一责任人)机械员班组后勤部WORD格式.资料五、安全教育培训流程图安全部门组织1. 入场安全教育幻灯片2. 生产作业人员教育登记表3. 项目三级安全教育记录4. 安全培训教育考核试题5. 三级安全教育记录卡项目经理责任工程师技术负责人机电负责人说明:1. 一级安全教育:由安全部代表公司对新入场人员进行一级安全教育。
安全管理流程目录一、安全生产管理流程图二、安全生产管理控制图三、安全生产组织机构流程图四、安全生产责任制管理流程图五、安全教育培训流程图六、安全监督检查流程图七、应急预案及事故处理程序图八、环境保护管理体系流程图九、文明施工管理工作流程图十、高空坠落、物体打击、机械伤害等施工安全事故应急预案流程图十一、消防应急预案流程图十二、中毒、窒息应急预案流程图二、安全生产管理控制图三、安全生产组织机构流程图1、公司组织机构2、项目部组织机构四、安全生产责任制管理流程图五、安全教育培训流程图说明:1.一级安全教育:由安全部代表公司对新 入场人员进行一级安全教育。
2.二级安全教育:由工地劳资人员和安 全管理人员组织二级安全教育。
3.三级安全教育:由所在班长和兼职 安全员组织三级安全教育。
安全教育试题: 安全教育试题及答案.doc六、安全监督、检查流程图检查形成资料:1.检查记录(影视及纸质版资料)2.隐患整改通知单各类表格.doc3.处罚通知单各类表格.doc4.安全会议签到表各类表格.doc5.安全会议记录(影视及纸质版资料)6.整改反馈表各类表格.doc七、应急预案及事故处理程序图八、环境保护管理体系流程图 上报事故九、十、高空坠落、物体打击、机械伤害等施工安全事故应急预案一、组织机构及职责、分工组织机构图1、应急救援领导小组:2、通讯(宣传)联络组紧急抢险组3、4、疏导警戒组5、救护组二、应急预案程序(1)报告程序事故发现(目击)者可按下述途径,将事故情况以最快的速度报告。
(2)报告内容:具体位置、事故类型、人员伤亡情况及目击现场的情况等。
简单明了重复二次。
调协调组织十一、消防演练应急预案流程否不可控应急增援十二、中毒、窒息应急预案一、应急救援程序1、当施工现场有人员发生中毒时,现场知情人员应及时拨打电话报警(报警电话为项目内部应急救援号码),请求消防队到场实施救援。
2、抢险救援组接警后,立即赶赴现场,同时通知医务人员赶赴现场待命。
安全管理流程目录一、安全生产管理流程图二、安全生产管理控制图三、安全生产组织机构流程图四、安全生产责任制管理流程图五、安全教育培训流程图六、安全监督检查流程图七、应急预案及事故处理程序图八、环境保护管理体系流程图九、文明施工管理工作流程图十、高空坠落、物体打击、机械伤害等施工安全事故应急预案流程图十一、消防应急预案流程图十二、中毒、窒息应急预案流程图相关部门审核、安全生产管理流程图工程部/技术质量部技术质量部相关部门安全部不通过通过施工组织设计、安全专项方案三级安全教育 培训、考试每月安全报表安全 产检 查、 监督〉资质报验、安全备案清单管理方案、 应急方案职业危害申报危险危险源辩 识、重大风险标准化工地策 划、实施二、安全生产管理控制图*制定年、月达标目标.分解目标4落实责任4考核到人三、安全生产组织机构流程图杜绝死亡事故重伤事故率不超过3%轻伤事故率不超过15%工地全部达标,均达到70分以上。
安全生产责任制(各级、各部门、各类人员)负责现场安全•工作监督检查制定总的安全•目标1、公司组织机构公司安全领导小组组长:所属项目部安全领导小组:项目经理2、项目部组织机构项目经理主管安全生产(副经理)安全生产管理小组安全部安全生产救援组织1f各工程项目安全管理小组1FT 1f,r勺r 1 F V设备部经营部安全部财务部质检部材料部f--------------------------------------------、各施工班组\_________________________ z四、安全生产责任制管理流程图¥项目经理(第科责任人)r项目生产经理(直接负责人)安全员技术员施工员机械员班组后勤部监督施工\制定安全负责安全保证各类认真保证安全全过程的技术措施技术交机械设备执行安全1安全生产和分项安底,组织安全运生产规章1并纠正违全方案,安全技术行,监督制度及安卫生,环章,配合解决施工措施的实机械操作全操作要境保护、排除安全中安全隐施、检杳、人员持证求,对班1障碍。
安全管理流程目录一、安全生产管理控制图二、安全生产组织机构流程图三、安全生产责任制管理流程图四、安全教育培训流程图五、安全监督检查流程图六、应急预案及事故处理程序图叮叮小文库、安全生产组织机构流程图1、公司组织机构公司安全员:黄河,闫巨车间,厂内辖区叮叮小文库董事长:陈万庆 总经理:冉樱主管安全生产(副经理);黄■ J安全部;黄河、闫巨安全生产救援组 织1r 车间主任;吴勤J2、生产部组织机构叮叮小文库叮叮小文库三、安全生产责任制管理流程图董事长、总经理(第一责任人)副总经理(直接负责人)安全员班组认真执行安全生产规章制度及安全操作要求,对班组人员在生产中的安全和健康负责。
督促操作人员正确使用劳保防护用品。
监督安全生产中的各种问题并纠正违章,配合排除安全障碍。
后勤部负责卫生,环境保护。
四、安全教育培训流程图1.入场安全教育幻灯片2.生产作业人员教育登记表3.三级安全教育:由所在班长和兼职*上报监理、业主审批安全员组织三级安全教育。
建立人员教育 台账、数据库3.项目三级安全教育记录 季节工4.安全培训教育考核试题 说明: 1. 一级安全教育:由安全部代表公司对新 入场人员进行一级安全教育。
2.二级安全教育:由工地劳资人员和安 考试考核全管理人员组织二级安全教育。
.收集身份证、人员体检、特种作业证等1实施安全教育试题及答案.doc资料归档资料准备安全教育试题: 安全部门组织培训通知全厂人员五、安全监督、检查流程图)叮叮小文库六、应急预案及事故处理程序图制订应急预案发生应急情况公司内部应急小组成员立即到达现场根据情况叮叮小文库叮叮小文库。
安全管理流程目录一、安全生产管理流程图二、安全生产管理控制图三、安全生产组织机构流程图四、安全生产责任制管理流程图五、安全教育培训流程图六、安全监督检查流程图七、应急预案及事故处理程序图八、环境保护管理体系流程图九、文明施工管理工作流程图十、高空坠落、物体打击、机械伤害等施工安全事故应急预案流程图十一、消防应急预案流程图十二、中毒、窒息应急预案流程图三、安全生产组织机构流程图1、公司组织机构总经理:公司安全领导小组组长:所属项目部安全领导小组:项目经理2、项目部组织机构主管安全生产(副经理)安全生产管理小组安全生产救援组 织四、安全生产责任制管理流程图安全部 工程部技术质量部经营部安全部质检部财务部材料部设备部安全员项目经理(第一责任人)项目生产经理(直接负责人)技术员施工员机械员班组后勤部监督施工全过程的安全生产并纠正违配合章,排除安全障碍。
制定安全技术措施和分项安全方案,解决施工中安全隐患。
负责安全技术交底,组织安全技术措施的实施、检查、及时消除安全隐患。
发现问题及时解决并上报有关领导。
保证各类机械设备安全运行,监督机械操作人员持证违章作业。
认真执行安全生产规章制度及安全操作要求,对班组人员在生产中的安全和健康负责。
督促操作人员正确使用劳保防护用保证安全措施经费,负责卫生,环境保护、预防职业病。
安全员组织三级安全教育。
建立人员教育 台账、数据库五、安全教育培训流程图安全部门组织培训通知资料准备1. 入场安全教育幻灯片 项目经理 责任工程师2. 生产作业人员教育登记表3. 项目三级安全教育记录 技术负责人4. 安全培训教育考核试题 机电负责人说明:1.一级安全教育 : 由安全部代表公司对新 入场人员进行一级安全教育。
2. 二级安全教育:由工地劳资人员和安 考试考核全管理人员组织二级安全教育。
收集身份证、 人员体检、特种作业证等实施3. 三级安全教育:由所在班长和兼职上报监理、业主审批安全教育试题及答案 .doc 资料归档安全教育试题:六、安全监督、检查流程图3. 处罚通知单各类表格.doc4. 安全会议签到表各类表格.doc5. 安全会议记录(影视及纸质版资料)6. 整改反馈表各类表格.doc七、应急预案及事故处理程序图制订应急预案发生应急情况向外报警、并到修改预案主要路口迎接上报事故消防等人员公司内部应急小组成员立即到达现场根据情况八、环境保护管理体系流程图法规指导、教育、控制 制定制度、监督教育 自我控制、落实措施教育、贯彻、执行、控制 管理 层环境管理环境法规学习环 境 教 育统一思想提高认识水土控制噪音控制 尘土控制 环境卫生环卫部门奖罚环境监督环境部门监督上级单位项目部例行检查奖罚制度上级单位奖罚 项目经理月评奖罚 工程队自评奖罚九、文明施工管理工作流程建设文明施工管理体系制定文明制施工管理度掌握施工合同对文明施工要求实施文明施工管理明确目标签订责任状确定文明施工标准进行文明施工投入现场围栏施工现场管理制定办公设置综合治理噪音污染合理设置围挡设置大门及宣传设置七牌两图悬挂安全标识四通一平合理绿化主体挂密布网材料合理堆放设备合理防护两设保做区置证好分临卫垃开时生圾水饮清充厕所水运加做禁强好黄员现赌工场毒教看酒育护注意噪音控制加强尘源控制污水处理排放实施相关的检查验收达标注意保持未达标查明原因十、高空坠落、物体打击、机械伤害等施工安全事故应急预案一、组织机构及职责、分工组织机构图指挥长(xxx)紧急抢险组组长:XXX 副组长:XXXXXX 通讯(宣传)联络组组长:XXX 副组长:XXX救护组组长:XXX副组长:XXXXXX疏导警戒组组长:XXX副组长:XXX各施工班1、应急救援领导小组:2、通讯(宣传)联络组3、紧急抢险组4、疏导警戒组5、救护组二、应急预案程序(1)报告程序事故发现(目击)者可按下述途径,将事故情况以最快的速度报告。
;~
> 】*
)¥
,
#。
{
(
(三)、安全教育培训
/
(四)、安全管理投入
"
%】
(五)安全技术措施管理>
.
】
(六)、交通安全管理]
、
`
/
(七)、消防安全管理
、
:
(八)、施工机械设备管理$
)
(
(九)、防汛工作管理
?
,
:
(十)、民用爆炸物品管理
¥。
%
(十一)、特种作业人员安全管理
<
(十二)、分包队伍安全管理`
; >
(十三)、重大危险因素管理
|
\
(十四)安全评价管理
/
(十五)意外伤害保险管理
/
/
(十六)职业病防治管理
~
(十七)、施工用电安全管理
—
/
(十八)、劳动防护用品监督管理)
.
:
(十九)、安全事故隐患管理
)
(二十)、习惯性违章监督管理
:
$
(二十一)、安全事故管理
!"
(二十二)、安全目标管理
(二十三)、工程开工安全条件审查管理
(二十四)、环境保护管理。
安全管理流程目录一、安全生产管理流程图二、安全生产管理控制图三、安全生产组织机构流程图四、安全生产责任制管理流程图五、安全教育培训流程图六、安全监督检查流程图七、应急预案及事故处理程序图八、环境保护管理体系流程图九、文明施工管理工作流程图十、高空坠落、物体打击、机械伤害等施工安全事故应急预案流程图十一、消防应急预案流程图十二、中毒、窒息应急预案流程图1、开工前,施工单位对施工现场存在的危险源进行识别;填写《危险性较大的分部分项工程项目辨识登记表》(表1),按属地管理原则报当地质(安)监站2、监督站对危险性较大分部分项工程进行分级管理,并实行快报制度。
3、施工单位对项目涉及的危险性较大分部分项工程进行公示。
施工前,施工单位应按规范要求编制专项旅工方案,并进行审核、审批1、施工单位须在专家评审会召开前5个工作日,提交专项方案专家论证审查告知及参建各方参会人员告知表。
2、市质监站负责监督、指导施工单位抽取专家。
1、论证审查会由施工单位组织,召开评审会时须提供签字盖章专项施工方案及电子档、涉及该分部分项工程图纸1份及参会人员相应资格证书(复印件)及携带身份证,监督人员对参会人员资格进行审查2、专家评审会参会人员:专家组成员、建设单位项日负责人或技术负责人、监理单位项目总监理上程师、和关专业监理人员施工单位技术管理机构和安全管理机构负责人,项日建造师项且技术负责人、项目专职安全生产管理人员及专项方案的编制人员:工程所在地安全质量监督机构的监督人员。
相关人员剩的一汁不组耳语人3、专家组对专项施工方案进行论证审查,出具书面论证审查报告并签字,作为专项方案修改完善的指导意见。
4、施工单位根据论证审查报告进行修改完善,并经施工单位技术负责人、项目总监理工程师、建设单位项目负责人或技术负责人认可签字后,方可组织实施。
实行施工总承包的,应当由施工单位总承包单位、相关专业承包单位的技术负责人认可签字5、专项方案经专家论证审查后需作大量修改的,施工单位应当按照论证审查报告提出的意见重新编制专项方案,并重新组织专家论证施工单位应当严格按照批准的专项方案组织施工,不得擅自修改、调整专项方案项目总监理工程师必须带班跟踪监理,专业监理工程师必须现场旁站;施工单位对照专项方案和标准、规范、操作规程要求进行验收,监理单位进行复查验收,并经项目技术负责人及项目总监理工程师签字3价机构根施路理单位的绘收恰况,对照现场实物安全状况进行抽查复核三、安全生产组织机构流程图1、公司组织机构2、项目部组织机构四、安全生产责任制管理流程图五、安全教育培训流程图六、安全监督、检查流程图隐患整改通知单各类表格.doc3.处罚通知单各类表格.doc4.安全会议签到表各类表格.doc5.安全会议记录(影视及纸质版资料)6.整改反馈表各类表格.doc七、应急预案及事故处理程序图八、环境保护管理体系流程图九、文明施工管理工作流程十、高空坠落、物体打击、机械伤害等施工安全事故应急预案一、组织机构及职责、分工组织机构图1、应急救援领导小组:2、通讯(宣传)联络组3、紧急抢险组4、疏导警戒组5、救护组二、应急预案程序(1)报告程序事故发现(目击)者可按下述途径,将事故情况以最快的速度报告。
安全管理流程目录一、安全生产管理流程图二、安全生产管理控制图三、安全生产组织机构流程图四、安全生产责任制管理流程图五、安全教育培训流程图六、安全监督检查流程图七、应急预案及事故处理程序图八、环境保护管理体系流程图九、文明施工管理工作流程图十、高空坠落、物体打击、机械伤害等施工安全事故应急预案流程图十一、消防应急预案流程图十二、中毒、窒息应急预案流程图2五、安全教育培训流程图检查形成资料:1.检查记录(影视及纸质版资料)2.隐患整改通知单3.处罚通知单4.安全会议签到表5.安全会议记录(影视及纸质版资料)6.整改反馈表七、应急预案及事故处理程序图十、高空坠落、物体打击、机械伤害等施工安全事故应急预案一、组织机构及职责、分工组织机构图5、救护组二、应急预案程序(1)报告程序事故发现(目击)者可按下述途径,将事故情况以最快的速度报告。
确认事故现场员调协调组织十一、消防演练应急预案流程立即将消防队员组成数个救援小组,佩戴好个人防毒面具,进入事故现场实施救援;把中毒者抬出事故现场,呼吸新鲜空气,解开衣服,给予静卧、保暖;医务人员对中毒病员进行深一层次的专业护理:A.对呼吸衰竭者进行人工呼吸;B.对心跳呼吸停止者进行胸外心脏按压及人工呼吸;C.脱掉被污染的衣服,用大量的清水和肥皂水清洗污染皮肤,对皮肤受损害的部位,给予有效的处理;D.眼睛受污染后,用大量清水冲洗不少于10分钟,对眼睛损害者,在医疗设备不齐全的状况下,及时送往医院;E.对中毒较重者,立即首批送上救护车到就近医院救治。
调动项目部车辆立即到场,由救援组人员组织将所有中毒病人送往医院就诊;查找原因,排除事故根源。
3、项目组人员有序地将发生中毒事故的队伍撤离到安全地带,集中点名,了解情况,施工队班组长向工程主管工长汇报,工程主管工长向安全主管说明情况,安全主管根据汇报情况,向指挥员报告,并且维护好现场的秩序。
二、中毒、窒息应急预案流程图。
(二)、安全生产会议
(五)安全技术措施管理
(六)、交通安全管理
(七)、消防安全管理
(八)、施工机械设备管理
(九)、防汛工作管理
(十)、民用爆炸物品管理
(十一)、特种作业人员安全管理
(十二)、分包队伍安全管理
(十三)、重大危险因素管理
(十五)意外伤害保险管理
(十六)职业病防治管理
(十七)、施工用电安全管理
(十八)、劳动防护用品监督管理
(十九)、安全事故隐患管理
(二十)、习惯性违章监督管理
(二十一)、安全事故管理
(二十二)、安全目标管理
(二十三)、工程开工安全条件审查管理
(二十四)、环境保护管理。
安全管理体系流程图|||| | | | | | | | | || | | | | | | | | | | | | | | | | | | | | | || | | | | | | | | | | | | |安全员工作流程图职责: 1)执行各项安全生产规章制度、操作规程。
2)督促施工人员正确使用安全防护用品、用具。
3)开展安全教育培训活动。
4)巡视各施工面,查违章作业,一旦发现及时制止。
5)巡视各施工工作面,查安全隐患,对存在的安全隐患及时整改或报告。
6)及时报告安全事故,并参加安全事故的处理。
各级安全生产责任现场责任区域安全教育制度现场安全检查制度事故报告制度现场安全评比奖罚制度安全奖罚细则安全评比细则安全技术交底 安全保证手册入场三级教育记录 日常安全教育记录 安全活动记录 安全检查评比表现场安全检查记录 隐患通知书隐患整改记录安全奖罚通知书 工伤事故登记重大未遂事故登记安全工作日志日志形成决议安全管理制度措施安全组织技术措施事故情况报告 事故直接经济损失事故工日损失事故间接经济损失施工现场安全管理各项规定单位行政领导安全管理决定单位技术领导安技方案措施安技方案措施系统管理安全部负责人安全员事故报告信息反馈机具使用动态临时用电动态控制图表内业资料安全管理奖罚情况安全生产先进事例项目 部经重大隐患整改效果重大隐患整改措施重大隐患。
安全管理流程目录一、安全生产管理流程图二、安全生产管理控制图三、安全生产组织机构流程图四、安全生产责任制管理流程图五、安全教育培训流程图六、安全监督检查流程图七、应急预案及事故处理程序图八、环境保护管理体系流程图九、文明施工管理工作流程图十、高空坠落、物体打击、机械伤害等施工安全事故应急预案流程图十一、消防应急预案流程图十二、中毒、窒息应急预案流程图三、安全生产组织机构流程图1、公司组织机构2、项目部组织机构四、安全生产责任制管理流程图五、安全教育培训流程图六、安全监督、检查流程图3.处罚通知单各类表格.doc4.安全会议签到表各类表格.doc5.安全会议记录(影视及纸质版资料)6.整改反馈表各类表格.doc七、应急预案及事故处理程序图八、环境保护管理体系流程图九、文明施工管理工作流程十、高空坠落、物体打击、机械伤害等施工安全事故应急预案一、组织机构及职责、分工组织机构图1、应急救援领导小组:2、通讯(宣传)联络组3、紧急抢险组4、疏导警戒组5、救护组二、应急预案程序(1)报告程序事故发现(目击)者可按下述途径,将事故情况以最快的速度报告。
(2)报告内容:具体位置、事故类型、人员伤亡情况及目击现场的情况等。
简单明了重复二次。
十一、消防演练应急预案流程十二、中毒、窒息应急预案一、应急救援程序1、当施工现场有人员发生中毒时,现场知情人员应及时拨打电话报警(报警电话为项目内部应急救援号码),请求消防队到场实施救援。
2、抢险救援组接警后,立即赶赴现场,同时通知医务人员赶赴现场待命。
指挥人员到场后,立即按以下程序开展工作:对事故现场采取有效通风措施,将其他人员疏散到上风方向或安全地带;立即将消防队员组成数个救援小组,佩戴好个人防毒面具,进入事故现场实施救援;把中毒者抬出事故现场,呼吸新鲜空气,解开衣服,给予静卧、保暖;医务人员对中毒病员进行深一层次的专业护理:A.对呼吸衰竭者进行人工呼吸;B.对心跳呼吸停止者进行胸外心脏按压及人工呼吸;C.脱掉被污染的衣服,用大量的清水和肥皂水清洗污染皮肤,对皮肤受损害的部位,给予有效的处理;D.眼睛受污染后,用大量清水冲洗不少于10分钟,对眼睛损害者,在医疗设备不齐全的状况下,及时送往医院;E.对中毒较重者,立即首批送上救护车到就近医院救治。
安全管理流程
目录
一、安全生产管理流程图
二、安全生产管理控制图
三、安全生产组织机构流程图
四、安全生产责任制管理流程图
五、安全教育培训流程图
六、安全监督检查流程图
七、应急预案及事故处理程序图
八、环境保护管理体系流程图
九、文明施工管理工作流程图
十、高空坠落、物体打击、机械伤害等施工安全事故应急预案流程图十一、消防应急预案流程图
十二、中毒、窒息应急预案流程图
二、安全生产管理控制图
1、公司组织机构
2
五、安全教育培训流程图
入场人员进行一级安全教育。
2.全管理人员组织二级安全教育。
3.三级安全教育:由所在班长和兼职
安全员组织三级安全教育。
安全教育试题:
安全教育试题及答案.doc
六、安全监督、检查流程图
2.隐患整改通知单各类表格.doc
3.处罚通知单各类表格.doc
4.安全会议签到表各类表格.doc
5.安全会议记录(影视及纸质版资料)
6.整改反馈表各类表格.doc
七、应急预案及事故处理程序图
十、高空坠落、物体打击、机械伤害等施工
安全事故应急预案
一、组织机构及职责、分工
组织机构图
2、通讯(宣传)联络组
3、紧急抢险组
4、疏导警戒组
5、救护组
二、应急预案程序
(1)报告程序
事故发现(目击)者可按下述途径,将事故情况以最快的速度报告。
(2)报告内容:具体位置、事故类型、人员伤亡情况及目击现场的情况等。
简
调
度
请求项目主管部门协助救援 协调组织
十一、消防演练应急预案流程
发现火情
接 警
接报、指挥人员
建立安全隔离
应急资源到位 有关人员赶赴现场
警电话为项目内部应急救援号码),请求消防队到场实施救援。
2、抢险救援组接警后,立即赶赴现场,同时通知医务人员赶赴现场待命。
指挥人员到场后,立即按以下程序开展工作:
2.1对事故现场采取有效通风措施,将其他人员疏散到上风方向或安全地带;
2.2立即将消防队员组成数个救援小组,佩戴好个人防毒面具,进入事故现场实施救援;
2.3把中毒者抬出事故现场,呼吸新鲜空气,解开衣服,给予静卧、保暖;
2.4医务人员对中毒病员进行深一层次的专业护理:
A.对呼吸衰竭者进行人工呼吸;
B.对心跳呼吸停止者进行胸外心脏按压及人工呼吸;
C.脱掉被污染的衣服,用大量的清水和肥皂水清洗污染皮肤,对皮肤受损害的部位,给予有效的处理;
D.眼睛受污染后,用大量清水冲洗不少于10分钟,对眼睛损害者,在医疗设备不齐全的状况下,及时送往医院;
E.对中毒较重者,立即首批送上救护车到就近医院救治。
2.5调动项目部车辆立即到场,由救援组人员组织将所有中毒病人送往医院就诊;
2.6查找原因,排除事故根源。
3、项目组人员有序地将发生中毒事故的队伍撤离到安全地带,集中点名,了解情况,施工队班组长向工程主管工长汇报,工程主管工长向安全主管说明情况,安全主管根据汇报情况,向指挥员报告,并且维护好现场的秩序。
二、中毒、窒息应急预案流程图
事。