【EHS流程图】文明施工安全管理流程图(9页)
- 格式:doc
- 大小:154.74 KB
- 文档页数:9
安全文明施工管理(ehs)方案(24页)摘要:一、引言1.背景介绍2.重要性阐述二、安全文明施工管理(EHS)方案概述1.定义与内涵2.目标与原则三、组织架构与职责分工1.项目部组织架构2.各部门职责分工四、制度与流程建设1.安全生产责任制2.安全培训与教育3.安全生产检查与隐患排查4.安全事故应急预案5.沟通协调与信息反馈五、施工现场管理1.施工现场布置与规划2.施工设备与材料管理3.施工过程中的安全管控4.环保与节能措施六、人员管理与素质提升1.人员招聘与选拔2.职业健康与防护3.人员激励与奖惩机制七、常态化管理与创新举措1.定期评估与改进2.案例总结与分享3.创新技术应用八、总结与展望1.成果展示2.不足与改进方向正文:一、引言随着我国经济的持续发展和城市化进程的加快,建筑施工行业迎来了新的机遇与挑战。
在这个背景下,安全文明施工管理(EHS)越来越受到广泛关注。
本文将从以下几个方面详细介绍EHS方案的实施,以提高施工现场的安全文明水平,确保工程顺利进行。
1.背景介绍近年来,我国建筑施工事故频发,给人民生命安全和社会稳定带来了严重影响。
为此,政府部门不断加大对施工现场的管理力度,规范施工行为。
安全文明施工管理(EHS)应运而生,成为施工现场管理的重要手段。
2.重要性阐述EHS管理旨在创造一个安全、文明、环保的施工环境,降低事故发生率,提高工程质量。
通过实施EHS方案,可以增强员工的安全意识,规范施工行为,减少安全事故和环境污染,为企业创造良好的社会形象。
二、安全文明施工管理(EHS)方案概述1.定义与内涵安全文明施工管理(EHS)是指在施工过程中,对人员、设备、环境等方面进行综合管理,确保工程安全、文明、环保、高效地进行。
EHS管理涵盖了施工现场的安全、环保、职业健康等多个方面。
2.目标与原则EHS管理的目标是实现施工现场“零事故、零污染、零伤害”,提高工程质量。
实施EHS方案应遵循以下原则:(1)依法合规:严格遵守国家有关法律法规、标准和规范。
安全管理流程目录一、安全生产管理流程图二、安全生产管理控制图三、安全生产组织机构流程图四、安全生产责任制管理流程图五、安全教育培训流程图六、安全监督检查流程图七、应急预案及事故处理程序图八、环境保护管理体系流程图九、文明施工管理工作流程图十、高空坠落、物体打击、机械伤害等施工安全事故应急预案流程图十一、消防应急预案流程图十二、中毒、窒息应急预案流程图三、安全生产组织机构流程图1、公司组织机构2、项目部组织机构四、安全生产责任制管理流程图ﻬ五、安全教育培训流程图ﻩ六、安全监督、检查流程图ﻩ隐患整改通知单各类表格.doc3。
处罚通知单各类表格。
doc4.安全会议签到表各类表格。
doc5。
安全会议记录(影视及纸质版资料)6.整改反馈表各类表格.doc七、应急预案及事故处理程序图ﻩ八、环境保护管理体系流程图九、文明施工管理工作流程十、高空坠落、物体打击、机械伤害等施工安全事故应急预案一、组织机构及职责、分工组织机构图1、应急救援领导小组:2、通讯(宣传)联络组3、紧急抢险组4、疏导警戒组5、救护组二、应急预案程序(1)报告程序事故发现(目击)者可按下述途径,将事故情况以最快的速度报告。
(2)报告内容:具体位置、事故类型、人员伤亡情况及目击现场的情况等.简单明了重复二次.第二次出动请求项目主管部门协助救援协调组织十一、消防演练应急预案流程十二、中毒、窒息应急预案一、应急救援程序1、当施工现场有人员发生中毒时,现场知情人员应及时拨打电话报警(报警电话为项目内部应急救援号码),请求消防队到场实施救援。
2、抢险救援组接警后,立即赶赴现场,同时通知医务人员赶赴现场待命。
指挥人员到场后,立即按以下程序开展工作:2.1对事故现场采取有效通风措施,将其他人员疏散到上风方向或安全地带;2.2立即将消防队员组成数个救援小组,佩戴好个人防毒面具,进入事故现场实施救援;2.3把中毒者抬出事故现场,呼吸新鲜空气,解开衣服,给予静卧、保暖;2。
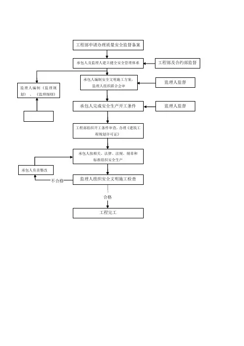
项目安全文明施工管理流程图说明:1、公司依据成本及战略规划对项目部下达职业健康安全目标,并签订《项目职业健康安全责任书》,项目部依据《责任书》编制《项目职业健康和安全目标及实施策划》在项目策划中要体现CI形象策划、安全管理和文明施工的策划,策划文件报公司审批后执行。
2、项目计划阶段主要工作是安全管理体系建设,主要工作包括:项目安全管理人员配置,建立健全项目安全生产责任制,各类安全管理制度。
3、危险源辨识工作由项目技术部门和安全部门共同完成,主要针对工程结构特点以及工程所在地的地理、环境、气候等特点,参照公司《施工现场危险源辨识与评价一览表》找出本项目施工现场即将发生的危险源,按照公司《危险源识别与风险评价管理程序》对危险源进行评价,确定重大危险源,针对重大危险源编制《安全防范措施方案》或《专项施工方案》,相关方案应报公司工程部审批。
对于超过一定规模的危险性较大分部分项工程还应组织专家对专项施工方案进行论证。
4、项目实施过程的主要流程要根据人员、设备进场时间及时展开相关工作。
主要内容包括:施工现场文明安全施工规划、现场临水、临电规划、人员教育、机械设备验收以及“三宝”、“四口”、“五临边”的防护措施。
施工人员必须经过安全教育后方可进入现场施工,施工机械必须经过相关部门验收合格后方可施工,大型垂直运输设备(包括塔吊、施工电梯、物料提升机)的验收、检测、备案工作依据地方行业主管部门的要求执行。
5、安全技术交底工作由项目工长对施工人员进行书面安全技术交底,交底文件一式三份,工长本人、安全部门、施工班组各存一份。
6、现场安全控制过程包括班组自检、安全巡检、项目定期检查和公司检查,对查出的安全隐患按照“三定”原则落实整改,检查人员负责跟踪整改情况。
安全控制过程是一个循环过程,贯穿于项目施工的全过程。
7、发生职业健康、安全事故的,要根据事故调查结果重新完善危险源辨识工作,制定整改和强化措施,杜绝事故再次发生。
建设工程项目施工安全管理流程图项目安全文明施工管理流程图是为了确保项目施工过程中职业健康与安全得到有效保障而制定的。
该流程图包括启动过程、计划过程、实施过程、控制过程和收尾过程五个部分。
启动过程包括确定项目职业健康与安全目标,下达项目职业健康和安全目标,以及指导项目完成危险源辨识等。
计划过程包括目标责任分解、危险源辨识、风险预测等。
这些计划将有助于确保项目中职业健康与安全得到有效保障。
实施过程包括安全设施、措施实施、检查、监督、纠正、安全教育、安全预防等。
这些措施将有助于确保项目中职业健康与安全得到有效保障。
控制过程包括交底、安全防范措施方案、专项施工方案等。
这些控制措施将有助于确保项目中职业健康与安全得到有效保障。
收尾过程包括定期检查、总结、奖罚、合格供方评价等。
这些措施将有助于确保项目中职业健康与安全得到有效保障。
在实施过程中,需要按施工部位和管理岗位查找安全隐患,并落实整改措施和责任人。
同时,需要进行风险评价,确定重大危险因素,并制定相应的安全防范措施方案和专项施工方案。
在项目中,需要落实设备控制、设施控制、设备进场验收、安装完成验收、整改结果复查、安全管理绩效评价等措施,以确保职业健康与安全得到有效保障。
最后,需要进行技术交底和事故调查、处理等措施,以确保项目中职业健康与安全得到有效保障。
During the project planning phase。
the main focus is on building a safety management system。
This includes configuring project safety management personnel。
establishing a sound system of project safety n responsibilities。
and XXX.The XXX een the project's technical and safety departments。
安全文明部工作流程图
出现
安全隐患
安全文明部
申报安全文明施工优良、样板工地
申报材料整理及装订
申报材料上报
申报武汉市标准化达标企业
创优材料的收集
定期对工程进行安全检查对工程进行经常性安全检查
对工程进行专项安全检查对工程进行综合性安全检查不定期对工程进行安全检查
季节性及节假日前对工
程进行安全检查与项目部签订文明施工与环境保护责任书与项目部签订建设工程安全管理协议
制定安全文明管理目标
项目整改落实并回复
复查整改是否到位
市建委下发的安全检查通知的传达
组织项目部对相关检
查做好准备工作
组织公司全体员工进行消防培训
资料收集、整理归档
工程竣工
验收
拍照做记录
对工程安全文明施
工优良率进行统计
下达隐患整改通知书
下达处罚通知单
召开项目部安全会议
培训做记录
组织召开会议
陪同省、市领导对工程
的检查工作
项目管理部督促整改
组织项目部安全负责人、安全员安全培对项目部进行安全交底
重大安全方案
进行审核监督安全管理体系的建立督促工程施工围挡、七图一牌、消防设施等文明施工措施的建立
备案申请(见报监手续
备案流程图
开工验评。
公司安监部工作流程1、取证学习培训(安全培训教育制度)参加培训与考核结束2、文件资料学习培训(安全培训教育制度)开始各部门学习、填写学习记录*W资料存档结束3、公司安全生产会议(安全生产例会制度)开始结束4、办理危险作业许可票(危险作业许可管理制度)作业部门施工▼相关管理部门现场验收合格资料存档结束5、迎接上级检查(考评)开始通知办公室安排后勤工作准备相关资料档案按要求整改不合格项结束6、编制安全管理制度、安全操作规程(企业规章制度管理办法)发放至相关人员资料存档结束7、危险源辨识、风险评价(危险源辨识、评价和控制管理制度)开始结束&隐患排查和治理(安全生产检查制度、隐患治理制度)检查组实施复查9、组织部门安全会、专项安全会、安全网例会(安全生产例会制度)开始组织签到、开会安监部整理会议记录结束10、组织观看安全教育视频(安全教育培训制度)11、安全法律法规获取(法律法规和标准规范管理制度)开始结束12、检查班组活动开始结束13、事故调查处理(事故报告和调查处理制度)调查取证编写、提交事故调查报告结束14、外来讲师教育培训(安全教育培训制度)开始结束15、组织答卷活动(安全教育培训制度)开始拟定试卷结束16、安全学习培训管理(安全教育培训制度)报人力资源管理员开展年度培训工作总结束17、组织签订安全生产目标责任书(安全生产目标责任制)加盖公章发放责任书结束18、签订本部门安全生产目标责任书(安全生产目标责任制)部门负责人签字结束19、防雷检测(消防安全管理制度)开始对检测单位进行资格审查ir20、劳动防护用品的采购与发放(劳动防护用品管理制度)21、编制应急预案(应急准备和响应管理制度)组织管理人员、专业技术人员编写各部门评审、修改总经理批准发布V发放至相关人员结束22、编制现场处置方案(应急准备和响应管理制度)结束23、修订应急预案(应急准备和响应管理制度)开始结束预案是否否是 开展演练效果评价(总结)24、应急预案演练(应急准备和响应管理制度)修订应急预案总经理批准下发演练通知演练物资准备需要修订起草演练方案结束开始25、组织培训活动(安监部管理人员讲课)(安全教育培训制度)开始资料存档结束26、事故上报(事故报告和调查处理制度)开始发生突发事故疋是否为电网事故否电力调度通知上级调度结束27、安全资金投入统计(安全生产资金投入保障制度)安监部汇总、统计*结束28、应急响应(应急准备和响应管理制度)-事态是否得到控制提咼响应级别结束善后处置29、发布安全简报(安全简报制度)开始结束30、组织安全生产月活动安监部编写公司安全生产月活动总结----- 总经理批准*发布活动总结、报上级相关单位31、绩效评定与持续改进开始32、制定年度安全工作计划各部门评审、修改结束33、编写年度安全工作总结开始总经理批准发布报上级相关管理部门V结束结束34、灭火器维修、更新(消防安全管理制度)是否满足报废条否是否开始检查灭火器采购配备新灭火器送专业单位维修需要维修?否35、消防设施维修(消防安全管理制度)是否属于代维范选择维修单位结束结束36、相关方管理(供应商管理制度、承包商管理制度)开始对相关方进行考核评价结束37、“三违”行为处罚(“三违”行为管理制度)检查人员发现“三违”现象对“三违”人员进行批评教育T--------- 资料存档、资料归档(办公室的档案管理规定)38收集需要归档的文件资料制作清单交办公室档案管理员保存T*结束办理登记手续结束39、安全责任目标管理(安全生产目标责任制)各部门负责人签订年度目标责任书结束资料存档40、安全奖惩(安全生产考核奖惩规定)结束41、法律法规符合性、适用性评价(法律法规和标准规范管理制度)开始各部门对法律法规的适用性、符合性进行评价根据评价结果,组织责任部门对不符合项进行整改根据评价结果,调整适用法律法规清单资料存档I~ ■结束。
施工安全管理计划书1安全管理概述安全管理的中心问题,是保护生产活动中人的安全与健康,保证生产顺利进行。
施工现场安全管理的内容主要是:安全组织管理、场地与设施管理、行为控制和安全技术管理等四个方面,分别对生产中的人、物、环境的行为与状态,进行具体的管理与控制。
为有效地将生产因素的状态控制好,实施安全管理过程中必须坚持六项基本管理原则:1)管生产必须同时管安全;2)坚持安全管理的目的性;3)必须贯彻预防为主的方针;4)坚持“四全”动态管理;5)安全管理重在控制;6)在管理中发展、提高。
2安全管理措施2.1安全管理组织项目经理部建立以项目经理为现场安全保证体系第一责任人的安全生产领导小组。
具体组织如下:1)安全生产领导小组拟定落实安全管理目标,制定安全保证计划,根据保证计划的要求,落实资源的配置。
2)负责安全体系实施过程中的运行实施监督、检查。
3)对安全生产保证体系运行过程中,出现不符合要素的要求,施工中出现的隐患,制定纠正和预防措施,并对上述措施进行复查。
2.2项目经理部安全体系及各部门职责1)建立安全管理网络图2)项目经理部安全生产岗位职责2.3资源配置1)配备经培训考核持证的管理、执行和检查人员;2)制定施工安全技术并设置相应的各类安全防护设施;3)配置临时安全用电技术及防触电措施,消防器材及设施按规定要求配置;4)配备各类建筑施工机械的限位、过载、避雷等安全装置,并齐全、有效;5)配备必要的安全检测工具(测定扣件紧固的力矩扳手、风速仪、接地电阻测试仪等);6)保障一定的安全技术措施经费。
2.4安全生产策划项目安全部以本公司安全生产控制程序等引用文件为依据,并着重按本项目实际情况进行实施。
1)根据本工程的规模、结构、环境等实际情况,为达到本工程的安全管理目标,配置一个综合素质好的项目经理部人员班子,选择有一定资质、整体力量强的施工队伍,并有性能良好的机械设备和技术水准较高的维修人员作保障。
2)按《施工现场安全生产保证体系管理资料》对各种安全活动进行记录。
文明安全施工管理流程图一、责任分工图:二、工作流程图(1)工作流程图(3)工作流程图(5)工作流程图(6)三、工伤事故处理程序1、工伤事故上报程序图:2、工伤事故调查资料目录:1、事故简单经过;2、事故单位的营业证照及复印件(总、分包单位);3、有关经营承包经济合同;4、技术标准、安全操作规程、安全技术交底(和事故有关的);5、安全培训材料及安全培训教育记录(和事故人员有关的);6、安全生产管理制度;7、《施工企业安全资格审查认可证》、《安全施工许可证》(总、分包单位);8、伤亡人员证件(包括特种作业证及外地进京务工人员就业证、身份证);9、劳务用工注册手续;10、事故调查的初步情况(包括:伤亡人员的自然情况、事故的初步原因分析);11、事故现场示意图、事故现场图片(数码相机图片);12、案件调查人员要求提供的与事故有关的其它材料;3、因工伤亡事故处理在用文件目录(北京市)1、国务院令第75号《企业职工伤亡事故报告和处理规定》;2、建设部令第3号《工程建设重大事故报告和调查程序规定》;3、劳动部《关于重伤事故范围的意见》(1960);4、劳办发(1993)140号文《企业职工伤亡事故报告统计问题解答》5、京劳保发字(1994)21号关于对《企业职工伤亡事故报告统计问题解答》进行补充解答的通知;6、建施(1995)140号《北京市工程建设重大事故的处理规定》;7、经安监字(2000)987号《北京市企业职工因工伤亡事故调查处理程序(试行)》;8、京市政府令第12号《北京市职工因工伤亡事故处理实施办法》;9、1984)鹏达国内质字第6号《关于制定职工伤亡事故统计报表》的通知;10、鹏达工字(2002)304号《鹏达集团因工伤亡事故报告、统计、调查、处理工作程序》;3、伤员抢救急救电话:120 999四、安全防护图说明:1、洞口可以预埋钢筋网,网上设盖板。
2、设1.2M高的防护栏杆低部设盖板,大洞口中间水平网。
文明安全施工管理流程图一、责任分工图:
二、工作流程图(1)
工作流程图(2)
工作流程图(3)
工作流程图(4)
工作流程图(5)
工作流程图(6)
1、工伤事故上报程序图:
2、工伤事故调查资料目录:
1、事故简单经过;
2、事故单位的营业证照及复印件(总、分包单位);
3、有关经营承包经济合同;
4、技术标准、安全操作规程、安全技术交底(和事故有关的);
5、安全培训材料及安全培训教育记录(和事故人员有关的);
6、安全生产管理制度;
7、《施工企业安全资格审查认可证》、《安全施工许可证》(总、分包单位);
8、伤亡人员证件(包括特种作业证及外地进京务工人员就业证、身份证);
9、劳务用工注册手续;
10、事故调查的初步情况(包括:伤亡人员的自然情况、事故的初步原因分析);
11、事故现场示意图、事故现场图片(数码相机图片);
12、案件调查人员要求提供的与事故有关的其它材料;
3、伤员抢救急救电话:120999
四、安全防护图
说明:1、洞口可以预埋钢筋网,网上设盖板。
2、设1.2M高的防护栏杆低部设盖板,大洞口中间水平网。
说明:框架结构临边设1.5M高的防护栏杆立挂密目网防护,防护栏杆与结构有牢固的拉接。
屋面的防护:平屋面、坡屋面都必须设1.2M—1.5M高的防护栏杆立挂密目网防护。
说明:阳台临边设1.5M高的防护栏杆立挂密目网防护,防护栏杆与结构有牢固的拉接。
说明:井道防护水平网四层设一道,井道低部设硬防护。
4、楼梯口防护图
5、电闸箱防护图
接地PE线
说明:1、防砸棚2、防雨棚3、临电管理制度、操作规程及电工操作证复印件
4、箱体笼
5、笼门
6、门绞线
7、电闸箱底座
二级以上的电闸箱必须搭设防护,底座30CM高,笼体高2M左右,闸箱前距离1M,后距离80CM,闸箱左右距离50CM,操作台必须有操作垫板绝缘良好。
独立机械设备防护说明:1、防砸棚2、防雨棚3、钢管斜支撑4、操作规程、岗位责任制及操作证复印件5、钢管立杆6、机械设备7、隔油池8、机械设备底座机械设备防护棚高度2.3M左右,立杆生根确保防护棚的稳定,拉直机前必须有防段绳防护横杆间距30CM。
防护棚的长度、宽度根据现场实际搭设,机械设备群放时可搭设大防护棚。
安全文明施工管理流程
及安全防护图册
文件编号:YJEJ/SJ/AJ/2009/3/5颁布日期:
主管部门:安全监督部
审批人:
(受空章)。