安全管理工作业务流程图教学文案
- 格式:docx
- 大小:44.85 KB
- 文档页数:29
项目经理项目总工为首安全主管、安全部门一党政工团、全员参与-设置安全管理机构安全管理部门> 安委会办公室宀¥十兀善女全装备和办公器材安全安委会管理q------------------------------------办公室部门■王任领导配置专职安全管理人员成立检查小组(二)、安全生产会议安委会成员/领导班子参加各作业单位、科室负责人、专兼职安全员参加专兼职安全员、施工技术员、班组长参加施工作业中队全员参加专、兼职安全员参加(三)、安全教育培训安全教育培训每季度召开安委会主任主持项目经理或生产副经理主持施工中队中队长主持施工中队中队长主持安全主管或安全总监主持项目部级教育培训中队级教育培训班组级教育培训年度再教育项目经理不得少于30学时特殊作业人员教育安全专业技术培训不少40学时不得少于20学时通过顾家安全培训并取得资格证,每年接受不少于20学时的针对性培训不得少于16学时(四)、安全管理投入安全管理投入技术部门:安全设施、安全设施技术改造的投入物资设备部门:安全警示装置、安全标识;安全装备、装置、器材的投入财务管理部门:安全管理人员工资、差旅、办公设立安全管理费用专户财务部门,按工程造价提计安全管理费用年度安全管理投入计划月安全管理投入计划人力资源:劳动防护用品、安全培训教育的投入经营合同部门:分包协作单位的安全投入(五)安全技术措施管理“三同步”安全监管部门负责监督实施监理工程师批准班组长、安全员每天要对工人进行安全交底安全技术措施编制安全技术措施交底安全技术措施实施总工程师向管理人员交底安监部门组织,由技术部门向参与作业的全员交底生产调度部门组织落实施工作业单位负责执行(六)、交通安全管理一综合办公室负责交通安全管理工作明确管理机构、人员填写交底记录分项归档存监理单位人员参加验收做好验收记录资料归档(七)、消防安全管理消防安全管理机构设置成立消防安全领导小组安全主管为消防安全直接责任人1安全管理综合办公物资设备部门1室丨部门负责施工现场消防安全工作负责生活区、办公区的消防工作负责消防器材配备及维护、保养建立消防档案、施工机械设备管理施工机械设备管理设备米购、租赁管理设备运行管理设备拆装、大修、改造设备管理人员培训机械设备安全检查设备事故处理合格、符合国家标准建立设备技术档案设置安全操作规程操作人员持证上岗向监管部门申报监测合格投入使用考试合格持证上岗每月接受安全培训建立相应的管理资料按规定每月、每周、每日对设备安全情况进行检如实、及时上报按照“四不放过”处理(九)、防汛工作管理编制防汛规划、应成立防汛领导小组急预案和管理制度险情发生后向局防汛办公上报情况抢险自救、恢复生产汛期结束后对防汛工作全面总结防汛工作总结报告上报局防汛办公室表彰和奖励防汛抢险工作成绩突出、显着的集体和个人工作失职、渎职造成损失和影响的,追究相应责仟(十八民用爆炸物品管理民用爆炸物品管理建立爆破作业管理档案(十一)、特种作业人员安全管理特种作业人员安全管理特种作业人员岗前培训考核合格、持证上岗建立健全特种作业人员档案特种作业人员的复审、新增人员初审特种作业人员专题会议人安力全资管源理部部门门管备人力资源部门向安全管理部门提供人员名单上报局安全管理部门组织进行安技培训每月召开一次安全总监或安全部门负责人主持召开(十二)、分包队伍安全管理(十三)、重大危险因素管理一级控制点异动二级控制点异动三级控制点异动I 1V由局安全部门审定由二级单位审定由项目部审定项目部组织辨识、评价,建立档案管理台账报局安全管理部门备案报二级单位安全部门备案—项目部备案制定危险因素控制措施制定《危险控制点检查表》(预控卡)由局工程技术处审核批准—由二级单位技术部门审核一项目部技术部门编制总工批准-------对于重大危险因素要制定应急预案(十四)安全评价管理(十五)意外伤害保险管理(十六)职业病防治管理(十七)、施工用电安全管理职业卫生培训 制定、落实预防措施(十八)、劳动防护用品监督管理(十九)、安全事故隐患管理事故隐患管理检查中发现恢复生产(二十)、习惯性违章监督管理(二十一)、安全事故管理报项目所在地政府安 全生产监督管理部门积极配合有关部门调查报局安监部门(二十二)、安全目标管理项目与上级单位签订安全管理责任书之后1周内各部门、单位与项目部签订安全责任书后1周内与项目部签订安全管理责任书2周内安监部门编制年度和时段工作计划根据安全管理目标和时段工作计划按,月编制实施计划安监部门检查监督实施考核(二十三)、工程开工安全条件审查管理局安全管理部门对开工安全条件复核开工(二十四)、环境保护管理。
编号:ZZP-GS-05级别:公司级编制单位:综合部
安全管理流程图
否
未通过
安全生产管理制度
1、目的
为保障本公司的安全生产,进一步贯彻落实“安全第一、预防为主、综合治理”的安全方针,强化各级组织和人员的安全生产责任制,确保安全生产,特制定本制度。
公司各级安全管理人员和职能部门,应在各自的工作范围内对实现安全、生产负责,同时向各自的领导负责。
公司的每位员工必须认真履行各自的安全职责,各尽职守、各负其则。
2、适用范围
本制度适用于本公司内所有部门和车间。
3、说明
3.1 公司总经理是本公司安全生产的第一责任人。
3.2 在实际工作中贯彻管生产必须管安全,谁主管谁负责的原则。
3.3 本公司的各级领导人员和职能部门,必须在各自工作范围内,对实现安全生产负责。
3.4 安全生产人人有责,公司的每位员工都必须在自己的岗位上认真履行各自的安全职责,实现全员安全生产责任制。
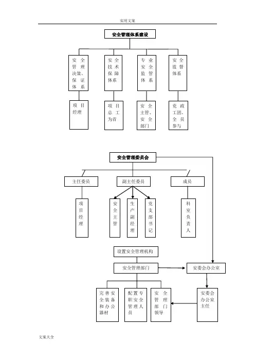
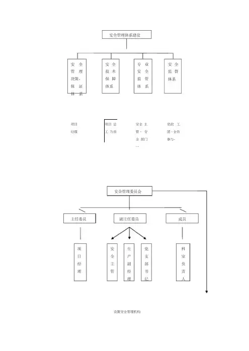
安全管理体系安安专安全全全业管项项安党目政目全安全管理委员副主任委成员主任委员项安生党科室目全产支经部主副负设置安全管1 / 29安全管理部安委会办公完善配置安全安委管部备项目部与上级单位签订安成立检查小组领导审批汇总、分析检查进门责对安全部门整改任部、安全生产会议(二)资料整理、归安全管理3 / 29每季度召每月召开每月召开每月召开每月召开安委会主项目经理施工中队施工中队安全主管安委会成各作业单专兼职安施工作业专、兼职安员位、科室负全中员/领导班施工全员、队全员参加做好会议记录、形成会议主持下发各部室、作安委会《会议纪资料(三)、安全教育培训安全教育培训4 / 29项三级复专周工安特殊作转岗组班中队项目 级级教教级部不得少专全得少得通过顾家安全培不安不于于业训并取得资格证,少学30技术于165 / 29(四)、安全管理投入安全管理投财务部门,按工程造价提计设立安全管理费全月安年度安全安技术安全6 / 29其他方面的投入安全管理部门:建立使用资料归档(五)安全技术措施管理安全技术措施工程技术人总工程师向管理生产调度部门组安监部安监部门组织,由门施工作业单位负总工程师安全监管部门负责班组长、安全员每监理工程师7 / 29安全监管部门组织相在具填写交底监理单位人员参施有工较分项归档做好验收前大编危(六)、交通安全管理交通安全管理综合办公室负责交通安明确管理机专、兼职交通安全8 / 29建立机动车辆车辆与运行管交通事故的处惩奖资料归9 / 29(七)、消防安全管理消防安全管理实施管理机构设置成立消防火消消灾防防安事安安全主管为负责负责负责消工施活生防建立消防10 / 29(八)、施工机械设备管理施工机械设备管理向监管考试合按规定安格合、设置如实、、每月、周每照按接每测人操立建设作监合月建立相应的管11 / 29(九)、防汛工作管理防汛工作管理成立防汛领导汛制编防规汛前准备、检12 / 29防上报汛期值班、巡视、及时险情发生后向局防汛办抢险自救、恢总汛工作防汛期结束后对(十)、民用爆炸物品管理13 / 29民用爆炸物品管连同爆破作业建立管理制度和安全技项目的有关情交关安机提向公运输管理设专用仓库技术人员计算出需实施爆破作业过检后破的爆建立爆破作业管理14 / 29、特种作业人员安全管理(十一)特种作业人员安特种作业人员岗持证考核合格、特种作业特种作业人员建立健全人力资源部门向安人每月召开全力安全总监管资上报局安全管理或安全部理源15 / 29(十二)、分包队伍安全管理16 / 29(十三)、重大危险因素管理检险危险因素危因素日常巡视、17 / 29项目部组三二一报局报局项评织辨识、级级级目全安安全一二三一二三由由由级级级级级级项二局危危危危危危险险险控控控报二项局报目部备安级单全制定《危险控制制定危险因素控制措施项目部局由二由对于重大危险因素要制18 / 29演练(十四)安全评价管理(十五)意外伤害保险管理安全管理造册上报源力资人保险办理财务部门办理结果上安全管理报局安全生事故后,建立相应的理管全安19 / 29(十六)职业病防治管理岗前体立职业卫生建人个落实预防制定、康健卡定期体检治业立建职病防(十七)、施工用电安全管理20 / 29编制施工用电的组织设明确用电安全主管部门和执行施工用电安全技编制、用电安全检查,装置的安建立、管理相关资料(十八)、劳动防护用品监督管理劳动防护用品监提出采购计划安全生对生产厂家资格产管21 / 29质量验收安全部门、物资发放、发放登教育、监督、检安全部门、(十九)、安全事故隐患管理事故隐患管理 22 / 29确定安全事故隐患治理的实施整改申请恢复生产日内进行现3合格不合格处整改、恢复生产23 / 29、习惯性违章监督管理(二十)与全体员工签订遵章守日常检查、监督制止违章违规行为,对当违建立个人违章、取消相应的评先24 / 29(二十一)、安全事故管理安全事故管理事故发生后报告项目部启动事故应按照“四不报局安监部报项目所在地积极配合有重伤事故快死亡、群伤和25 / 29 故事类他其.(二十二)、安全目标管理编制三级安全管各班组、岗各部门、施工项目部单位与项与项目各部门、部签订安单位项目与上级根据安安监部门编制年全管理目标和时段工作计26 / 29检安监部门实施考核、工程开工安全条件审查管理(二十三)填写《建筑工程安全监督备27 / 29资料上报局安全管理部门局安全管理部门对开工安合不整改合格开工28 / 29(二十四)、环境保护管理环境保护管理成立环境保护工作领调查了解环保、水土编制环境评价制定控制措施、落实合格29 / 29。
(二)、安全生产会议
(五)安全技术措施管理
(六)、交通安全管理
(七)、消防安全管理
(八)、施工机械设备管理
(九)、防汛工作管理
(十)、民用爆炸物品管理
(十一)、特种作业人员安全管理文案大全
(十二)
、分包队伍安全管理
(十三)、重大危险因素管理
文案大全
文案大全
(十五)意外伤害保险管理
(十六)职业病防治管理
文案大全
(十七)、施工用电安全管理
(十八)、劳动防护用品监督管理
(十九)、安全事故隐患管理
(二十)、习惯性违章监督管理
文案大全
(二十一)、安全事故管理
(二十二)、安全目标管理
文案大全。
(三)、安全教育培训
(四)、安全管理投入
(五)安全技术措施管理
(六)、交通安全管理
(七)、消防安全管理
(八)、施工机械设备管理
(九)、防汛工作管理
(十)、民用爆炸物品管理
(十一)、特种作业人员安全管理
(十二)、分包队伍安全管理
(十三)、重大危险因素管理
二
三
二
(十四)安全评价管理
(十五)意外伤害保险管理
(十六)职业病防治管理
(十七)、施工用电安全管理
(十八)、劳动防护用品监督管理
(十九)、安全事故隐患管理
(二十)、习惯性违章监督管理
(二十一)、安全事故管理
(二十二)、安全目标管理
(二十三)、工程开工安全条件审查管理
(二十四)、环境保护管理。
安全管理流程图首先,安全管理对于企业和组织来说至关重要。
无论是生产制造企业、服务行业还是其他类型的组织,安全管理都是保障员工生命安全和财产安全的基础。
良好的安全管理不仅可以减少事故的发生,保护员工的身体健康,还可以提高生产效率,降低生产成本,增强企业的竞争力。
因此,建立科学、完善的安全管理流程图对于企业和组织来说具有重要意义。
其次,设计安全管理流程图需要遵循一定的原则。
首先,要根据实际情况确定流程图的范围和深度,确保流程图既全面又具体。
其次,要注重流程图的简洁性和直观性,避免过多的文字和细节,突出重点,让员工能够一目了然地理解安全管理流程。
再次,要与实际工作紧密结合,确保流程图的实用性和可操作性。
最后,要不断修订和完善安全管理流程图,随着工作的变化和发展进行及时更新,保持流程图的有效性和时效性。
在安全管理流程图的内容设计上,需要包括以下要点。
首先是安全责任的明确。
流程图中应当清晰地表明各级管理人员和员工在安全工作中的责任和义务,确保每个人都能够明确自己的责任范围和任务要求。
其次是安全风险的识别和评估。
流程图中应当包括安全风险的识别方法和评估标准,以及相应的应对措施,确保在发生安全风险时能够及时有效地应对。
再次是安全培训和教育。
流程图中应当包括员工安全培训的内容和方式,确保员工具备必要的安全知识和技能。
最后是安全事故的处理和报告。
流程图中应当包括安全事故的报告程序和处理流程,确保在发生安全事故时能够迅速、有效地进行处置和报告,减少损失。
综上所述,安全管理流程图是企业和组织进行安全管理的重要工具,设计合理的安全管理流程图对于提高安全管理工作的效率和质量具有重要意义。
在设计安全管理流程图时,需要遵循一定的原则,同时要注重内容的完整和实用性。
只有不断完善和落实安全管理流程图,才能够更好地保障员工的安全和健康,实现企业和组织的可持续发展。
安全管理工作流程图安全管理是企业管理中的重要一环,它涉及到企业的各个方面,从员工的人身安全到企业的资产安全,从环境的安全到生产过程的安全。
为了有效地进行安全管理,企业需要有一套完整的安全管理流程。
下面就是一套典型的安全管理工作流程图。
一、确定安全管理目标企业需要明确自身的安全管理目标,这些目标可以是国家法律法规的遵守,可以是行业标准的达成,也可以是企业内部安全政策的贯彻。
安全管理目标的确定是整个安全管理工作的基础。
二、进行安全风险评估在确定了安全管理目标之后,企业需要对可能存在的安全风险进行评估。
这个过程包括对生产设备、生产过程、员工行为以及环境因素等各方面的检查和分析,以找出可能存在的安全隐患。
三、制定安全管理计划根据风险评估的结果,企业需要制定相应的安全管理计划。
这个计划应该包括预防措施、应急措施以及持续改进措施等。
预防措施主要是为了防止安全事故的发生,应急措施则是为了在发生安全事故时能够及时处理,而持续改进措施则是为了不断提高企业的安全管理水平。
四、实施安全管理计划在制定了安全管理计划之后,企业需要将其付诸实施。
在实施过程中,企业需要对计划的执行情况进行监控,以确保计划的有效性。
同时,企业还需要对员工进行安全培训,提高员工的安全意识。
五、进行安全绩效评估企业需要对安全管理的效果进行评估。
这个过程包括对安全事故的发生率、安全制度的执行情况以及员工的安全意识等进行考核和分析。
这个评估结果可以为企业的安全管理提供反馈信息,帮助企业不断改进安全管理水平。
以上就是一套典型的安全管理工作流程图。
当然,不同的企业可能会有不同的安全管理流程,但这个流程图应该能够为企业提供一种参考。
企业也需要根据自身的实际情况来制定和实施安全管理计划,以确保企业的安全管理工作能够有效地进行。
安全管理工作流程图5安全管理在组织中扮演着至关重要的角色,它可以确保工作环境的安全性,提高工作效率,并确保员工的工作满意度。
在本文中,我们将介绍一个安全管理工作流程图,该图旨在帮助组织更好地管理安全工作。
安全生产管理流程图安全生产是企业生产经营的重要环节,关系着员工的生命安全和财产安全,同时也对企业的发展和社会稳定起着重要的作用。
为了做好安全生产管理工作,让员工和企业有一个安全的生产环境,需要建立一套科学、完善的安全生产管理流程图。
一、制定安全生产管理制度和规范安全生产管理制度和规范是企业安全生产管理的基础,也是保障员工安全的重要手段。
企业应该制定一套科学、合理的安全生产管理制度和规范,明确相关岗位的职责和权限,确保每个岗位都有相应的安全责任。
二、组建安全生产管理部门和人员企业应该组建专门的安全生产管理部门,明确职责和权责,负责企业的安全生产管理工作。
并配备相应的安全生产管理人员,并定期组织培训和演练,提高员工应对突发事件的能力。
三、建立安全生产管理档案和台账企业应该建立安全生产管理档案和台账,包括员工的安全教育培训记录、岗位安全责任制定和履行情况、事故隐患整改情况等。
并定期对档案和台账进行审查和更新,确保数据的完整性和准确性。
四、开展安全隐患排查和整改工作企业应该制定安全隐患排查和整改工作计划,定期对企业的生产环境、设备设施和操作流程进行全面排查,发现并记录可能存在的安全隐患。
对已发现的安全隐患,要及时采取措施进行整改,并跟踪整改情况,确保安全隐患得到彻底清除。
五、加强安全教育和培训企业应该加强安全教育和培训工作,提高员工的安全意识和安全技能。
通过举办安全知识培训和模拟演练,使员工掌握应对突发事件的应急处置能力,增强他们的自我保护能力。
六、建立安全生产事故应急预案和演练企业应该根据实际情况,制定相应的安全生产事故应急预案,并进行定期演练。
预案要明确部门和人员的职责和任务,设定组织架构和指挥体系,确保在事故发生时能够迅速、有效地组织应对,并最大程度地减少人员伤亡和财产损失。
七、建立安全生产管理督导机制企业应该建立安全生产管理督导机制,由安全生产管理部门对企业的安全生产管理工作进行定期督查和检查,并提出整改意见。
安全管理流程目录一、安全生产管理控制图二、安全生产组织机构流程图三、安全生产责任制管理流程图四、安全教育培训流程图五、安全监督检查流程图六、应急预案及事故处理程序图一、安全生产管理控制图安全生产责任制(各级、各部门、各类人员)建立执行考核项目部管理人员墙明确安全生产指标制定各工种安全技术操作规程配备专(兼职)安全员主要任务负责现场安全工作监督检查制定总的安全目标制定年、月达标目标落实责任考核目标分解目标目标管理制定安全管理目标伤亡控制指标安全达标目标分解现场安全控制杜绝死亡事故重伤事故率不超过3%。
轻伤事故率不超过15%。
二、安全生产组织机构流程图1、公司组织机构董事长:陈万庆总经理:冉樱副总经理:黄平公司安全员:黄河,闫巨车间,厂内辖区2、生产部组织机构董事长:陈万庆总经理:冉樱主管安全生产(副经理);黄平安全部;黄河、闫巨安全生产救援组织车间主任;吴勤各车间班组三、安全生产责任制管理流程图董事长、总经理(第一责任人)安全员班组后勤部监督安全生产中的各种问题并纠正违章,配合排除安全障碍。
认真执行安全生产规章制度及安全操作要求,对班组人员在生产中的安全和健康负责。
督促操作人员正确使用劳保防护用品。
负责卫生,环境保护。
副总经理(直接负责人)四、安全教育培训流程图说明:1.一级安全教育:由安全部代表公司对新 入场人员进行一级安全教育。
2.二级安全教育:由工地劳资人员和安 全管理人员组织二级安全教育。
3.三级安全教育:由所在班长和兼职 安全员组织三级安全教育。
安全教育试题: 安全教育试题及答案.doc安全部门组织1.入场安全教育幻灯片2.生产作业人员教育登记表3.项目三级安全教育记录4.安全培训教育考核试题5.三级安全教育记录卡资料准备 培训通知全厂人员 季节工实施考试考核建立人员教育台账、数据库上报监理、业主审批资料归档收集身份证、人员体检、特种作业证等五、安全监督、检查流程图)安全检查安全检查检查标准验收标志厂内的各项规章制度政府主管部门发布的各项规定上级单位的有关规定和标准规定对发现的隐患要发整改通知,限期整改并复查每月的安全检查总结班组每天的安全生产教育记录安全部每周一次大检查、管理人员每天巡视检查验收要按规定表格和内容填写验收记录,分别挂合格牌或禁用牌。
安全管理部工作流程一、服务中心安全管理岗位图二、安管员处理问题的原则和方法安管员是维护小区内治安和公共秩序的主要力量,在维护小区治安秩序和保护顾客的安全中,必须及时处理各种问题。
处理问题应遵循的原则是:依法办事,执行规定,不徇私情,以理服人。
客户服务中心经理安管部主管 安管部副主管安管领班大门岗车辆管理员巡逻岗监控岗大门岗副大门岗南车场管理员北车场管理员外场巡逻岗内场巡逻岗(一)不同性质的问题,应采取不同的处理方法。
(二)对于发生在顾客间的一般违规行为和问题,如纠纷等,可通过说服教育办法解决,主要是分清是非,耐心劝导,礼貌待人。
(三)对于一时解决不了而又有扩大趋势的问题,应采取“可散不可聚、可解不可结、可缓不可急、可顺不可逆”的基本方法处理,尽力劝开,耐心调解,把问题引向缓解,防止矛盾激化。
(四)在具体处理上,要坚持教育与处罚相结合的原则,如违反法纪情节明显轻微,不需要给予处罚的,可当场教育或协助其所在单位、家属进行教育;如需要治安处罚的,交公安机关处理。
(五)违反其它行政规定的,交行政机关处理。
(六)对于犯罪行为,必须及时予以制止,并设法把犯罪嫌疑人抓获并扭送公安机关。
三、安管领班工作流程四、大门(大堂)安管工作流程五、车辆管理流程图(一)车辆入场:(二)车辆出场:列队带回交接班核查岗位物品及遗留问题外来人员登记物品出入登记其他与业主联系同意不同意放行拒入有放行条无放行条放行核实无误核实有误放行暂扣报服务中车辆管理员礼仪记录递卡提醒语放行车辆管理员礼仪收卡核对无误有误无误确定收费礼仪(并记录)放行禁止离开报管理处六、治安及车辆应急处理流程图七、巡逻岗工作规程(一)巡逻工作要求1、每班要对整个辖区按巡逻路线进行巡逻签到。
2、实行24小时巡逻制度。
3、巡逻员要多看、多听、多嗅,以确保完成巡视工作任务。
4、按要求做好巡逻记录,并及时将有关情况反映给相关部门/人员。
5、制定相应的巡逻路线和巡逻时间,根据实际情况可对巡逻线路作相应调整。
安全管理体系建设安全专业安全安全管理技术监督安全体系决策、保障监管保证体体系系体系项目项目安全党政经理工团、主管、总工全安为首全员参与部门安全管理委员会成副主任委主任委员室经设置安全管理机构专业文档供参考,如有帮助请下载。
.安全管理部门安委会办公室配置专完善安安全安委会办公室理备全装管职安全主任门公部管理人和办领导员器材成立检查小组汇总、分析检查信息安全部门对整改内容验收责任部门进行整改、安全生产会议(二)资料整理、归档安全管理会议专业文档供参考,如有帮助请下载。
.每季度召开每月召开一次每月召开一次每月召开一次每月召开一次安委会主任主项目经理或生施工中队中队施工中队中队安全主管或安全总监主持持长主持产副经理主持长主持安委会成员/领各作业单位、科专兼职安全员、施工作业中队专、兼职安全员参加导班子参加班室负责人、专兼施工技术员、全员参加职安全员参加组长参加做好会议记录、形成会议纪要会议主持人签阅安委会《会议纪要》上报下发各部室、作业中队资料归档(三)、安全教育培训安全教育培训专业文档供参考,如有帮助请下载。
.教业项专复工再特殊作周安全转岗安三级安人员教育育教育全教育全教育教育级班项目部组中队级培教教育培育级教育训训培训于少不得通过顾家安全培训并取得不少不得于安全专业技少3016学时学时学于术培训不少20得资格证,每年接受不少20于学时的针对性培训学时40 时专业文档供参考,如有帮助请下载。
.(四)、安全管理投入安全管理投入财务部门,设立安全管理费用专户按工程造价提计安全管理费用月安全管年度安全管投入计划理投入计划部全安全术部安部技门编制门编制门审核和安全监管部费的投专业文档供参考,如有帮助请下载。
.其他方面的投入安全管理部门:建立使用台账资料归档安全技术措施管理总工程师向管理人员交底工程技术人员编制生产调度部门组织落实安监部门组织,由技术部安监部门会签施工作业单位负责执行门向参与作业的全员交底总工程师审核安全监管部门负责监督实施班组长、安全员每天要对工监理工程师批准人进行安全交底专业文档供参考,如有帮助请下载。
(二)
(三)
、安全教育培训
(四)、安全管理投入
(五)安全技术措施管理
(六)、交通安全管理
(七)、消防安全管理
(八)、施工机械设备管理
(九)、防汛工作管理
(十)、民用爆炸物品管理
(十一)、特种作业人员安全管理
(十二)、分包队伍安全管理
(十三)、重大危险因素管理
(十四)安全评价管理
(十五)意外伤害保险管理
(十六)职业病防治管理
(十七)、施工用电安全管理
(十八)、劳动防护用品监督管理
(十九)、安全事故隐患管理
(二十)、习惯性违章监督管理
(二十一)、安全事故管理
(二十二)、安全目标管理
(二十三)、工程开工安全条件审查管理
(二十四)、环境保护管理。