系统控制框图
- 格式:doc
- 大小:81.00 KB
- 文档页数:3
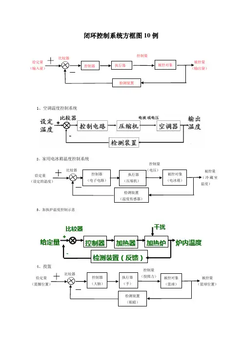
闭环控制系统方框图10例
1、空调温度控制系统
2、家用电冰箱温度控制系统
3、加执炉温度控制示意
4
+
给
定量
控
制器
加
热器
加
热炉
炉内
温度
比较
器
检测装置(反
馈)
-
干
扰
控执被控
被控量
(输出
给定量
(输入
检测装置控
比
控制器
执
行器
被控
对象
被控量
(篮球位
给定量
(篮圈位
检测装置
(眼睛)控制量(投掷
比控制器
(电子
执行器
(压缩
被控
对象
被控
量
(冷
藏室温度)
给定量
(设定的温
检测装置
(温度传感
控制量
比
5、供水水箱的水位自动控制系统
6、抽水马桶的自动控制系统
7、花房温度控制系统
8、宾馆使用多台热水器串联电辅助加热自动控制系统
9、粮库温、湿度自动控制系统
被控量 (水箱水
给定量 (设定的水
被控量 (水箱水
给定量
给定量 (设被控量 (花房
控制
被控量 (
水
给定量 (设定控制量 被控
(粮(的温、控制量
10、自动电热水壶控制系统
控制量
(水。
常见开环控制系统方框图开环控制系统:控制系统的输出量不对系统的控制产生任何影响。
开环控制系统特征:系统的输出量仅受输入量控制,输入,量到输出量之间的信号是单向传递。
开环控制系统的方框图:输入量——控制系统的给定量; 输出量——控制系统所要控制的量;控制器——对输入信号进行处理并发出控制命令的装置或元件; 执行器——直接对被控对象进行控制的装置或元件; 被控对象——控制系统所要控制的装置或生产过程。
控制量——执行器的输出信号,一般是影响被控量变化的因素;(输出量≠控制量,输出量=被控量)1.自动门的控制系统自动门工作过程:(1)当有人到达门前某一距离时,传感器感知,并发出“有人”的信号 (2)控制器接到传感器传来的信号后,经变换放大后传给电动机(这里的电动机叫做执行器,也称为驱动器);(3)电动机根据传来的开门信号转动,门被打开(这里的门叫做被控制对象,也称为控制对象,简称对象)(4)控制器保持开门信号延迟后,自动发出关门信号,电动机反转,门重新关闭。
自动门控制系统的方框图:2.水泵抽水控制系统:输入量 (给定量)控制量3.家用窗帘自动控制系统4.楼道自动声控灯装置水流量控制量(转动)5.游泳池定时注水控制系统6.十字路口的红绿灯定时控制系统7.公园音乐喷泉自动控制系统输入量控制量(电流)控制量(水流量)控制量(水流量)8.自动升旗控制系统9.宾馆火灾自动报警系统控制量(转速)控制量(转动)10.宾馆自动叫醒服务系统11.公共汽车车门开关控制系统控制量(电流)控制量(电流)12.普通全自动洗衣机控制系统13.可调光台灯控制系统控制量(行程)控制量(转动等)14.电吹风控制系统15.普通电风扇控制系统控制量(电流)控制量(电压)16.电饭锅煮饭控制系统17.手电筒控制系统控制量(转速)控制量(热量)18.家用缝纫机缝纫速度控制系统19.希罗的自动门控制系统控制量(电流)输入量(脚踩的力) 控制器(踏脚板)执行器(传动装置)被控对象(缝纫机)控制量(转动)20.电子门铃的开环电子控制系统21.利用遥控器转换电视频道22.活动猴控制系统控制量(轴转动)控制量(电流)控制量(电流)控制量(活动量)23.车俩超速检测系统控制量(执行信号)24.电动车的防盗报警系统25.路灯自动控制系统控制量(电流)控制量(电流)。
闭环控制系统方框图10例
1、空调温度控制系统
2、家用电冰箱温度控制系统
3、加执炉温度控制示意
4
给定量被控量
给定量 被控量 冷藏室
给定量
5、供水水箱的水位自动控制系统
6、抽水马桶的自动控制系统
7、花房温度控制系统
8、宾馆使用多台热水器串联电辅助加热自动控制系统
9、粮库温、湿度自动控制系统
被控量
给定量
被控量
给定量
给定量
被控量
控制量
被控量
给定量 控制量
被控量 粮库内
给定量(设定控制量
10、自动电热水壶控制系统
给定量(电流)
控制量。
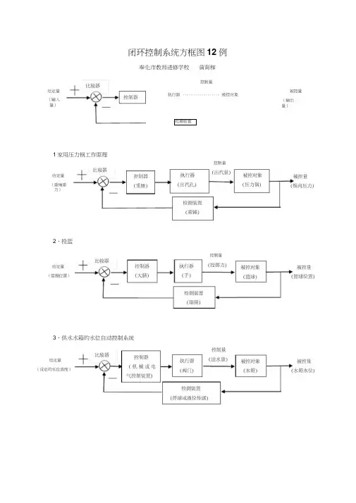
开环控制系统方框图20例1、水泵抽水控制系统2、家用窗帘自动控制系统4、楼道自动声控灯装置5、游泳池定时注水控制系统 控制量 控制量控制量控制量控制量控制量6、十字路口的红绿灯定时控制系统8、自动升旗控制系统9、宾馆火灾自动报警系统10、宾馆自动叫醒服务系统11、活动猴控制系统 控制量控制量 控制量控制量控制量13、家用缝纫机缝纫速度控制系统14、根据车流量大小自动改变红绿灯时间控制系统15、普通全自动洗衣机控制系统控制量控制量控制量控制量控制量17、宾馆自动门加装压力传感器防意外事故自动控制系统18、可调光台灯控制系统19、电吹风控制系统20、普通电风扇控制系统闭环控制系统方框图12例输入量 (压力传感器是否测到控制量控制量控制量控制量给定量1、家用压力锅工作原理2、投篮3、供水水箱的水位自动控制系统4、加热炉的温度自动控制系统给定量被控量给定量被控量给定量被控量给定量5、抽水马桶的自动控制系统6、花房温度控制系统7、夏天房间温度控制系统被控量给定量 给定量被控量房内实给定量被控量控制量8、家用电饭锅保温控制系统9、家用电冰箱温度控制系统10、宾馆使用多台热水器串联电辅助加热自动控制系统11、粮库温、湿度自动控制系统12、自动保温电热水壶控制系统被控量给定量被控量 冰箱实给定量 给定量被控量控制量被控量 粮库内给定量(设定控制量给定量。
比较熟悉,容易结合实例理解概念。
在第二个小节中涉及到比较多的概念,诸如通道、闭环、传感器、控制器、执行器等,也应结合实际案例进行讲解,避免枯燥的概念学习,使学生能够将抽象的概念与实际相联系,对控制系统框图的绘制有很大帮助作用。
学情分析学生通过前几次课的学习已对控制系统的基本概念与工作过程有了一定的了解,在分析的过程中绘制过框图,同时通过流程章节的学习对流程图有一定的掌握,具有信息传递的基本知识和体验,也具有观察和使用简单控制系统的生活体验,所有这些知识和经验储备,为教学中师生共同进行案例分析归纳画图,提供了学习行为的保障。
由于很多学生之前没有学过电子课,对传感器、控制器、执行器的具体实例没有太多的认识,因此在学习的过程中可能会产生一些困难,因此在教学中可以结合一些关于传感器、执行器的电子知识使学生更好的理解。
板书设计第三节控制系统框图一、水箱水位控制系统二、控制系统框图的绘制方法1.绘制框图方法①按下面的顺序确定系统各个环节a:被控对象b:执行器c:控制器d:反馈环节②确定被控量(输出量)、控制量、输入量、反馈量和偏差量③用带箭头的直线表示信息在系统中流动、传递的方向④加上比较环节三、控制系统框图中通道与环节的作用1.通道及其作用(结合框图说明)2.环节及其作用(1)传感器(2)控制器(3)执行器(4)比较环节教学环节教师活动学生活动设计意图导入环节复习:空调控制系统是开环系统还是闭环系统?回答问题复习开环和闭环的概念,引入框图新课实践一、水箱水位控制系统分析控制系统的工作过程,根据学生描述画出框图在框图中标出各个组成部分及各量的对应名称:传感器,控制器,执行器,输入,输出,偏差,输出量,控制量,反馈量二、控制系统框图的绘制方法1.绘制框图方法①按下面的顺序确定系统各个环节a:被控对象(关键,是具体的事物)b:执行器c:控制器(一般是控制电路)d:反馈环节(仅闭环系统)②确定被控量(输出量)、控制量、输入量、反馈量和偏差量③用带箭头的直线表示信息在系统中流动、传递的方向④加上比较环节2.绘制的技巧我们看图时,一般习惯自左向右看。
开环控制系统方框图20例1、水泵抽水控制系统2、家用窗帘自动控制系统3、宾馆自动门控制系统4、楼道自动声控灯装置5、游泳池定时注水控制系统6、十字路口的红绿灯定时控制系统控制量控制量控制量 控制量 控制量控制量 控制量2 / 77、公园音乐喷泉自动控制系统8、自动升旗控制系统9、宾馆火灾自动报警系统10、宾馆自动叫醒服务系统11、活动猴控制系统12、公共汽车车门开关控制系统控制量 控制量 控制量 控制量(压缩空控制量控制量13、家用缝纫机缝纫速度控制系统14、根据车流量大小自动改变红绿灯时间控制系统15、普通全自动洗衣机控制系统16、手电筒控制装置17、宾馆自动门加装压力传感器防意外事故自动控制系统18、可调光台灯控制系统控制量控制量控制量 控制量输入量 (压力传感器是否测到压力异常信号) 控制量 控制量19、电吹风控制系统20、普通电风扇控制系统闭环控制系统方框图12例1、家用压力锅工作原理2、投篮控制量 控制量给定量给定量 被控量给定量3、供水水箱的水位自动控制系统4、加热炉的温度自动控制系统5、抽水马桶的自动控制系统6、花房温度控制系统被控量给定量 被控量给定量 被控量给定量给定量 被控量控制量7、夏天房间温度控制系统8、家用电饭锅保温控制系统9、家用电冰箱温度控制系统10、宾馆使用多台热水器串联电辅助加热自动控制系统给定量被控量房内实被控量给定量 控制量 被控量 冰箱实给定量 给定量被控量—80℃) 控制量7 / 711、粮库温、湿度自动控制系统12、自动保温电热水壶控制系统被控量 粮库内给定量(设定控制量给定量控制量。
1、图1是一个液位控制系统原理图.自动控制器通过比较实际液位与希望液位来调整气动阀门的开度,对误差进行修正,从而达到保持液位不变的目的。
(1)画出系统的控制方框图(方框内可用文字说明),并指出什么是输入量,什么是输出量。
(2)试画出相应的人工操纵液位控制系统方块图.解:(1)系统控制方框图如图1所示.如图所示,输入量:希望液位;输出量:实际液位.(2)相应的人工操纵液位控制系统方块图如图2所示.希望液位实际液位肌肉、手阀门水箱眼睛图2脑2、图2是恒温箱的温度自动控制系统。
要求:(1)指出系统的被控对象、被控量以及各部件的作用,画出系统的方框图;(2)当恒温箱的温度变化时,试述系统的调节过程;(3)指出系统属于哪种类型?图2 温度控制系统解:(1)被控对象:恒温箱;被控量:温度;电阻丝:加热;热电偶:测温;电位器:比较;电压放大、功率放大:误差信号放大;电机、减速器、调压器:执行部件。
电机减速器调压器(2)设给定温度T0,当T 〉T0时,e 〈0,电机反转,调压器给出电压下降,恒温箱温度T 下降;反之,当T<T0时,e 〉0,电机正转,调压器给出电压上升,恒温箱温度T 上升. (3)系统属于恒值控制系统.3、 图3是仓库大门自动控制系统原理图。
(1) 说明系统自动控制大门开闭的工作原理; (2) 画出系统方框图.图3放大器伺服电动机绞盘关门开关开门开关门u仓库大门自动控制系统原理图、解:(1)工作原理:当合上开门开关时,电位器桥式测量电路产生一个偏差电压信号.此偏差电压经放大后,驱动伺服电动机带动绞盘转动,使大门向上提起。
与此同时,与大门连在一起的电位器电刷上移,使桥式测量电路重新达到平衡,电动机停止转动,开门开关自动断开。
反之,当合上关门开关时,伺服电动机反向转动,带动绞盘转动使大门关闭,从而实现远距离自动控制大门开启的要求。
(2)仓库大门自动控制系统原理方框图:。
控制系统实例32个开环控制系统方框图19例1、水泵抽水控制系统2、家用窗帘自动控制系统输入量 (给定量)控制器执行器被控对象输出量 (被控量)控制量输入量 (接通电源)控制器 (控制电路)执行器 (水泵)被控对象 (水管)输出量 (水管排出水)控制量 (水流量)输入量 (天亮或暗)控制器 (光的检测装置)执行器 (电动机)被控对象 (窗帘)输出量 (窗帘开或闭)控制量(转动)3、宾馆自动门控制系统4、楼道自动声控灯装置5、游泳池定时注水控制系统6、十字路口的红绿灯定时控制系统输入量(人热辐射发出的信号)控制器 (控制电路)执行器 (电动机)被控对象 (自动门)输出量 (门开或闭)控制量 (转动)输入量 (设定注水的时间)控制器 (定时器)执行器 (进水门阀)被控对象 (游泳池)输出量 (游泳池的水位)控制量(水流量)输入量(设定亮、灭时序)控制器 (电脑)执行器 (时序控制装置)被控对象 (红绿灯)输出量 (灯亮、灭时序)控制量 (电流)输入量(有无声音)控制器 (声电传感执行器 (触点延时开关)被控对象 (楼道灯)输出量 (灯亮或灭)控制量 (电流)7、公园音乐喷泉自动控制系统8、自动升旗控制系统9、宾馆火灾自动报警系统输入量 (音乐信号)控制器 (声控装置) 执行器 (阀门) 被控对象(喷嘴)输出量 (喷水与否)控制量(开、关)输入量 (烟雾信号)控制器 (感烟控制装置)执行器 (报警电路)被控对象 (报警部件)输出量 (报警信号)控制量 (电流)输入量(定时时间)控制器 (定时装置)执行器 (电动机)被控对象 (滑轮、国旗)输出量 (升旗速度)控制量 (转动)10、宾馆自动叫醒服务系统11、活动猴控制系统12、公共汽车车门开关控制系统13、家用缝纫机缝纫速度控制系统输入量 (人操纵动作)控制器 (牵引线)执行器(线、孔杠杆装置)被控对象 (猴的活动部件)输出量 (猴的动作或表情)控制量 (活动量)输入量 (开、关)控制器 (控制电路)执行器 (执行活塞)被控对象 (车门)输出量(车门的开或关)控制量 (压缩空气流向) 输入量 (脚踏速度)控制器 (踏脚板)执行器 (传动装置)被控对象 (缝纫机)输出量 (缝纫速度)控制量 (转动)输入量 (时间设定)控制器 (电脑)执行器 (拨号装置)被控对象 (电话机)输出量 (电话铃声)控制量(电流)14、普通全自动洗衣机控制系统15、手电筒控制装置16、宾馆自动门加装压力传感器防意外事故自动控制系统 输入量 (人的动作)控制器(按钮) 执行器(电路)被控对象 (小灯泡)输出量 (亮或灭)控制量 (电流)输入量 (接通电源)控制器 (控制电路)执行器 (电机等装置)被控对象 (洗衣机)输出量 (运行或停止)控制量 (转动等)输入量 (压力传感器是否测到压力异常信号)控制器 (控制电路)执行器 (电机)被控对象 (门刹车)输出量 (门锁定与否)控制量 (转动)17、可调光台灯控制系统18、电吹风控制系统19、普通电风扇控制系统输入量 (设定的档位)控制器 (控制电路)执行器 (可变电阻)被控对象 (灯泡)输出量 (灯泡亮度)控制量(电流大小)输入量 (设定的档位)控制器 (控制电路)执行器 (风扇、电热丝)被控对象 (电吹风)输出量 (风速、温度)控制量 (电压)----------------------------------------------------------------------------------------------------------------------------闭环控制系统方框图12例1、家用压力锅工作原理2、投篮输入量 (设定的档位)控制器 (控制电路)执行器 (电动机)被控对象 (电风扇)输出量 (风速)(转速)控制器执行器被控对象(输出量)给定量 (输入量) 检测装置控制量比较器控制器 (重锤)执行器 (出汽孔) 被控对象 (压力锅)被控量 (锅内压力)给定量 (重锤重力)检测装置 (重锤)控制量 (出汽量)比较器3、供水水箱的水位自动控制系统4、加热炉的温度自动控制系统5、抽水马桶的自动控制系统控制器 (大脑)执行器 (手)被控对象 (篮球)被控量 (篮球位置)给定量 (篮圈位置) 检测装置 (眼睛)控制量 (投掷力)比较器控制器 (机械或电气控制装置)执行器 (阀门)被控对象 (水箱)被控量 (水箱水位)给定量 (设定的水位高度)检测装置 (浮球或液位传感)控制量 (进水量)比较器控制器 (电子或微机控制装置)执行器 (加热器)被控对象 (加热炉)被控量 (炉内温度)给定量 (设定的温度)检测装置 (热电偶)控制量(电压)比较器控制器 (连杆机构)执行器 (进水阀门)被控对象 (水箱)被控量 (水箱水位)给定量(设定的水位)检测装置 (浮球)控制量(进水量)比较器6、花房温度控制系统7、夏天房间温度控制系统8、家用电饭锅保温控制系统9、家用电冰箱温度控制系统给定量 (设定的温度)控制器 (控制装置)执行器 (制冷装置) 被控对象(空调房间)被控量(房内实际温度)检测装置 (空调测温装置)控制量 (制冷量)比较器给定量 (设定的温度) 控制器 (控制电路)执行器 (加热或制冷元件) 被控对象 (花房)被控量 (花房温度)检测装置 (温度传感器)控制量 暖量)比较器被控量 冰箱实给定量 给定量(设定的温度)控制器 (温控装置)执行器 (电热盘)被控对象 (电饭锅)被控量—80℃) 检测装置 (双金属片)控制量(加热时间)比较器10、宾馆使用多台热水器串联电辅助加热自动控制系统11、粮库温、湿度自动控制系统12、自动保温电热水壶控制系统控制器 (控制电路)执行器 (加热器) 被控对象 (水箱)被控量给定量 (设定的水温) 检测装置 (感温装置)控制量 (加热时间)比较器控制器 (控制装置)执行器 (降温除湿装置)置被控对象 (粮库)被控量 (粮库内温、湿度)给定量 (设定的温、湿度) 检测装置 (感温、湿装置)控制量(降温除湿时间)比较器给定量 (设定的温度)控制器 (温控装置)执行器 (加热器) 被控对象 (水壶)检测装置 (测温装置)控制量(加热时间) 比较器。
电机控制系统的分类及原理:
电动汽车控制系统的基本功能就是实现对驱动电机的控制,对于不同的电机,控制系统的结构也
有所不同。
直流电机控制系统
直流电机控制系统主要由斩波器和中央控制器构成,其原理如图所示:
交流异步电机控制系统
交流异步电机控制系统主要由逆变器和中央控制器等部分组成,其原理如下图所示:
永磁无刷电机控制器
永磁无刷电机控制器与交流异步电机的控制器在结构上有一些相似,但在控制方式、策略及输
出波形都有较大的差别。
其结构如下图所示:。