单位经营场所和设备布局、加工流程、卫生设施示意图范本
- 格式:doc
- 大小:31.00 KB
- 文档页数:4
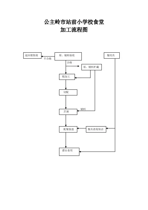
公主岭市站前小学校食堂
加工流程图
公主岭市站前小学校食堂地理位置图
西四长街
北
东
育文路火 车 站
公主岭市站前小学校食堂Array
设备布局、卫生设施平面示意图
示意图说明:
①更衣间设从业人员更衣柜。
②切配间分设肉类原料和蔬菜原料洗涤池,并有明显标志。
加工肉类和蔬菜的操作台、用具和容器分开使用,并有明显标志。
③烹饪间,使用隔墙液化气。
安装有排气罩,排烟排气良好。
设有配料操作台及冲洗水龙头。
④备餐间,配备有充足有效的空气消毒装置(紫外线消毒灯,安装位置应在操作台面上方一米),配备专用工具,设有能开合的食品输送窗。
⑤消毒间,配备专用清洗池及消毒柜,设有餐具输送窗。
⑥餐厅,配备专用洗手池及灭蚊蝇设施。
食品经营单位(销售类)经营场所方位和经营场所平面布局、加工流程示意图(文件)一、 经营场所方位图1、 经营场所周围要有显著标志或知名建筑物或知名单位作参照物;2、 用文字说明经营场所所处的地理位置**市**区**街(路)**号二、设备布局图经营平面布局图:说明:标注主要设备设施(如:货架、电脑、货柜、柜台、冷藏柜、冰柜等);三、食品销售操作流程图(文件)1、食品销售操作流程图2、操作流程文件食品销售操作流程一、进销货流程1、在供应商处购入产品,审验供货商的经营资格,验明产品的合格文件和产品标示,对食品包装标识进行查验核对。
2、清点、检查产品、建立食品进货查验记录制度,如实记录食品名称、规格、数量、生产批号、保质期、供货者名称及联系方式、进货日期等内容,并记录入库。
每天对商家销售的食品进行查验。
销售人员要按照食品标签标示的警示标志、警示说明或者注重事项的要求销售预包装食品,确保食品质量合格和食品安全。
3、定期对所有产品进行检查,及时清理变质、超过保质期及其他不符合食品安全要求的产品,主动将其退出市场,并做好相关记录。
对即将到达保质期的食品,集中进行摆放,并作出明确的标示。
4、用于食品销售的容器、销售工具必须符合卫生要求。
5、销售散装食品,应当在散装食品的容器、外包装上标明食品的名称、生产日期、保质期、生产经营者名称及联系方式等内容。
6、销售散装、裸装食品必须有防蝇防尘设施,防止食品被二次污染。
7、批发销售的情况应建立销售台帐备查,账目保管期限为二年。
8、销售并建立客户档案,提供食品时向消费者提供有关销售凭证(发票、信誉卡),做出特殊承诺的提供书面凭证。
二、不合格食品退市1、食品安全管理人员在食品经营中发现经营的食品不符合食品安全标准,或接到执法部门、生产企业的召回通知,应当立即停止营业,下架封存,做好登记,并及时通知政府监管部门。
2、通知相关生产经营者或供货商,并记录停止经营和通知情况。
3、在经营场所向消费者公示召回食品的名称、批号等信息,并安排专人处置消费者退货事宜。
餐饮服务单位
经营场所和设备布局、加工流程、卫生设施示意图
加工流程图
餐饮服务单位经营场所
地理位置图
退回销售商
原、辅料验收
餐用具
粗加工
原、辅料贮藏
合格
切配
凉菜 烹调 辅料
装盘 餐具消毒保洁
生食水产品专间 摆台食用
1、 经营场所周围要有显著标志或知名建筑物或知名单位作参照物;
2、 用文字说明经营场所所处的地理位置**市**区**街(路)**号
餐饮服务单位经营场所设备布局和卫生设施示意图
北
银 座 商 城 京 开 店
串串哥哥串串吧
华都商厦
信达车站
新 华 书 店
灶台
辅料存放柜保洁柜洗菜池
洗碗池
操作台消毒柜
储
藏
室
过门
冷藏柜
操作间
过门
过门
餐桌
餐桌
餐桌
餐桌
餐桌
正门餐桌餐桌餐桌餐桌洗手池。