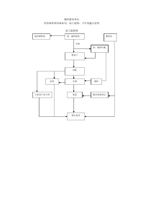
食品经营场所和设备布局、工艺流程、卫生设施示意图
- 格式:doc
- 大小:23.00 KB
- 文档页数:3
餐饮服务单位餐饮服务单位
经营场所和设备布局、加工流程、卫生设施示意图经营场所和设备布局、加工流程、卫生设施示意图
加工流程图加工流程图
退回销售商退回销售商
原、辅料验收原、辅料验收
餐用具餐用具
粗加工粗加工
原、辅料贮藏原、辅料贮藏
合格合格
切配切配
凉菜凉菜 烹调烹调 辅料辅料
装盘装盘 餐具消毒保洁餐具消毒保洁
生食水产品专间生食水产品专间 摆台食用摆台食用
餐饮服务单位经营场所餐饮服务单位经营场所
地理位置图地理位置图
1、 经营场所周围要有显著标志或知名建筑物或知名单位作参照物;经营场所周围要有显著标志或知名建筑物或知名单位作参照物;
2、 用文字说明经营场所所处的地理位置**市**区**街(路)**号
北
银 座 商 城 京 开 店
串串哥哥串串吧
华都商厦华都商厦
信达车站信达车站
新
华 书 店
餐饮服务单位经营场所设备布局和卫生设施示意图
灶 台
辅料存放柜
保洁柜保洁柜
洗菜池洗菜池
洗碗池洗碗池
操 作 台
消毒柜消毒柜
储 藏 室
过门过门
冷藏柜冷藏柜
操作间操作间
过门过门
过门过门
餐桌餐桌
餐桌餐桌 餐桌餐桌 餐桌餐桌 餐桌餐桌
正门正门
餐桌餐桌
餐桌餐桌
餐桌餐桌
餐桌餐桌
洗手池洗手池。
精品文档经营场所方位和经营场所平面布局经营场所方位图北中亨花园四号院悦府小区郑州市社区卫生服务站星星标识处为经营场所所在地,经营场所所处的地理位置:郑州市二七区铭功路与自由路交叉口华润大厦27楼07室设备布局图经营平面布局图:65平方米说明:标注主要设备设施(如:货架、电脑、货柜、柜台、冷藏柜、冰柜等)、食品销售操作流程图(文件)1、食品销售操作流程图2、操作流程文件食品销售操作流程一、进销货流程1、在供应商处购入产品,审验供货商的经营资格,验明产品的合格文件和产品标示,对食品包装标识进行查验核对。
2、清点、检查产品、建立食品进货查验记录制度,如实记录食品名称、规格、数量、生产批号、保质期、供货者名称及联系方式、进货日期等内容,并记录入库。
每天对商家销售的食品进行查验。
销售人员要按照食品标签标示的警示标志、警示说明或者注重事项的要求销售预包装食品,确保食品质量合格和食品安全。
3、定期对所有产品进行检查,及时清理变质、超过保质期及其他不符合食品安全要求的产品,主动将其退岀市场,并做好相关记录。
对即将到达保质期的食品,集中进行摆放,并作岀明确的标示。
4、用于食品销售的容器、销售工具必须符合卫生要求。
5、销售散装食品,应当在散装食品的容器、外包装上标明食品的名称、生产日期、保质期、生产经营者名称及联系方式等内容。
6、销售散装、裸装食品必须有防蝇防尘设施,防止食品被二次污染。
7、批发销售的情况应建立销售台帐备查,账目保管期限为二年。
8销售并建立客户档案,提供食品时向消费者提供有关销售凭证(发票、信誉卡),做岀特殊承诺的提供书面凭证。
二、不合格食品退市1、食品安全管理人员在食品经营中发现经营的食品不符合食品安全标准,或接到执法部门、生产企业的召回通知,应当立即停止营业,下架封存,做好登记,并及时通知政府监管部门。
2、通知相关生产经营者或供货商,并记录停止经营和通知情况。
3、在经营场所向消费者公示召回食品的名称、批号等信息,并安排专人处置消费者退货事宜。
食品经营单位(销售类)经营场所方位和经营场所平面布局、加工流程示意图(文件)一、 经营场所方位图1、 经营场所周围要有显著标志或知名建筑物或知名单位作参照物;2、 用文字说明经营场所所处的地理位置**市**区**街(路)**号二、设备布局图经营平面布局图:说明:标注主要设备设施(如:货架、电脑、货柜、柜台、冷藏柜、冰柜等);三、食品销售操作流程图(文件)1、食品销售操作流程图2、操作流程文件食品销售操作流程一、进销货流程1、在供应商处购入产品,审验供货商的经营资格,验明产品的合格文件和产品标示,对食品包装标识进行查验核对。
2、清点、检查产品、建立食品进货查验记录制度,如实记录食品名称、规格、数量、生产批号、保质期、供货者名称及联系方式、进货日期等内容,并记录入库。
每天对商家销售的食品进行查验。
销售人员要按照食品标签标示的警示标志、警示说明或者注重事项的要求销售预包装食品,确保食品质量合格和食品安全。
3、定期对所有产品进行检查,及时清理变质、超过保质期及其他不符合食品安全要求的产品,主动将其退出市场,并做好相关记录。
对即将到达保质期的食品,集中进行摆放,并作出明确的标示。
4、用于食品销售的容器、销售工具必须符合卫生要求。
5、销售散装食品,应当在散装食品的容器、外包装上标明食品的名称、生产日期、保质期、生产经营者名称及联系方式等内容。
6、销售散装、裸装食品必须有防蝇防尘设施,防止食品被二次污染。
7、批发销售的情况应建立销售台帐备查,账目保管期限为二年。
8、销售并建立客户档案,提供食品时向消费者提供有关销售凭证(发票、信誉卡),做出特殊承诺的提供书面凭证。
二、不合格食品退市1、食品安全管理人员在食品经营中发现经营的食品不符合食品安全标准,或接到执法部门、生产企业的召回通知,应当立即停止营业,下架封存,做好登记,并及时通知政府监管部门。
2、通知相关生产经营者或供货商,并记录停止经营和通知情况。
3、在经营场所向消费者公示召回食品的名称、批号等信息,并安排专人处置消费者退货事宜。
与食品经营相适应的经营设施_空间布局和操作流程的文件_食品经营设备设施布局与食品经营相适应的经营设施_空间布局和操作流程的文件与食品经营相适应的经营设施空间布局和操作流程的文件食品经营设施空间布局图:操作流程: 1、在供应商处购入产品,审验供货商的经营资格,验明产品的合格文件和产品标示,对食品包装标识进行查验核对。
2、清点、检查产品、建立食品进货查验记录制度,如实记录食品名称、规格、数量、生产批号、保质期、供货者名称及联系方式、进货日期等内容,并记录入库。
3、定期对所有产品进行检查,及时清理变质、超过保质期及其他不符合食品安全要求的产品,主动将其退出市场,并做好相关记录 4、销售并建立客户档案,提供食品时向消费者提供有关销售凭证(发票、信誉卡),1做出特殊承诺的提供书面凭证。
负责人:赵峰日期:2017-04-01与食品经营相适应的经营设施_空间布局和操作流程的文件_食品经营设备设施布局空间布局图: 需标明经营场所出入口,经营场所内食品与非食品、生食品与熟食品分区摆放的位置,标注各区域的用途以及主要设施、设备等。
操作流程: ? 审验供应商的经营资格—?? 计划、采购、索票索证(查验供货者的许可证和食品合格的证明文件)—?? 运输(运输和装卸食品的容器、工具和设备安全、无害,保持清洁)—?? 验收检查—?? 记入台账(记录食品的名称、规格、数量、生产批号、保持期、供货者名称及联系方式、进货日期等内容)—?? 贮存食品 (按照保证食品安全的要求贮存食品) —?? 上货架 (食品与非食品、生食品与熟食品分区摆放) —?? 食品质量自检 (及时清理变质或者超过保质期的食品)—?? 销售食品(售货人员应当保持个人卫生,生产、销售食品时,将手洗净,穿戴清洁的工作衣、帽;盛放直接入口食品的2容器,使用前洗净、消毒,保持清洁;直接入口的食品有小包装或者使用无毒、清洁的包装材料,销售直接入口食品时,使用售货工具)—?? 售后服务与食品经营相适应的经营设施_空间布局和操作流程的文件食品经营空间布局图食品经营设施布局图3。