科目二考试图解(带详细解说)
- 格式:docx
- 大小:622.51 KB
- 文档页数:23
史上科目二考试最全操作流程!附完整图解这里是科目二最全的操作流程,有图有真相,生动又形象!赶紧来了解和收藏吧!车门开关:开车门的正确方式:拉开门→_→坐进去→_→关车门。
OK!门窗控制:在调节非驾驶室车窗的时候,注意留意其他车窗位置的乘客是否有将身体部位伸出车窗的情况,以防夹伤。
按下去是降下窗户,往上提是升起窗户。
注意事项:门一般有2-3段开启,会有内力自动弹到指定位置,需要用手把住防止门弹开。
关门的时候,要用力关上,否则关不紧。
在坐稳准备关门的时候,小心身边物品滑落到门框上,若此时门刚好关上,那。
座椅调整:调座位同样也需要注意诸多地方。
好多驾驶员仅仅是将其调到自己觉得舒服就结束了。
其实一些点在调节座位的时候也需要留意,才能做到安全与舒适兼顾。
调节座椅的前后位置:如果座椅与踏板的距离较大,司机伸腿就会比较舒服,但用脚踩踏板时的准确度与力度都会比较差。
反之如果座椅与踏板的距离较小,腿脚就很容易疲劳。
调整的方法是将座椅前后推,让左腿踩踏离合器踏板能够自然轻松,且能够踩到底。
前后位置的调节座一般在座椅下方,有一个把手,拉起之后就可以前后滑动座椅了。
调整靠背的位置:靠背越往后倾斜,人的感觉越舒服,但过于倾斜会影响操纵汽车,所以要保持恰当的倾斜度。
靠背的调节一般是调节到手握持方向盘的时候不会绷直,稍微弯曲,并且能够扣住方向盘12点方向。
这个要配合座椅前后来调节。
调节靠背位置的机关一般位于座椅左边(副驾驶位于右边)的一个拨杆。
安全带:安全带肩带和腰带的主要作用是为了在事故时缓冲驾乘人员向前或者向后的惯性,尽量把其固定在座椅上。
正确佩戴安全带时,肩带应该跨过胸腔,腰带应该紧贴髋骨。
这样做主要是为了使事故时的冲击力作用在我们的骨骼上而不是我们柔软的内脏器官上。
虽然扣上安全带后,卡扣会发出“啪”的一声,但是我们还是应该拉扯一下安全带确保安全带锁扣已经扣好且没有损坏。
这是很多车主在使用安全带时忽略的步骤。
手刹:手刹拉杆在挡把区域旁。
2019-0725梅陇驾校科目二C2考试考试图解准备:1、系安全带。
2、调整座位。
3、调整反光镜(左右都往下压反光镜)。
4、确认隧道灯处于关闭状态。
5、打开左转向灯(左转向灯不要回掉,让它自己自然回掉)。
开始:1、起步:先松手刹,再挂D挡。
一、倒车入库:总计时3分半钟也就是210秒, 当中千万不能停下。
1、从考场进口进入,注视从左开始数第二根灰短线中间(即第二和第三根短黄线),车头左侧白筋(即爬坡线)对着对着它往前开。
2、当车身肩线到黄色虚线处停车。
挂R挡倒车。
右入库:3、注视左侧第一根水泥缝,到肩线时,向右打方向一圈半,车屁股向右转;4、看右后视镜,当车门把手快盖到库门最右侧黄短线的1/3时,回半圈;5、再看左后视镜,当后面直角线露出走一点,在车身即将与库边线平行时,回一圈;6、注视左侧地上第二块和第三块的砖缝,到肩线时停车,挂D挡,向左出库。
左出库:7、注视第二根短黄线中间,到肩线时,向左打一圈半;8、右侧爬坡线对准前方直角点时,回半圈;9、观察车身,门把手快正时,回一圈;10、肩部到停车线时停车,挂R挡倒车。
左入库:11、注视左侧第一根水泥缝前5cm处,到肩线时,向左打方向一圈半,车屁股向左转;12、看左后视镜,当门把手盖过库门最左侧黄短线的2/3,也就是留1/3,回半圈;13、再看右后视镜,当后面直角线露出走一点,在车身即将与库边线平行时,回一圈;14、注视左侧地上第二块和第三块的砖缝,到肩线时停车。
15、挂D挡,注视第二根短黄线中间,到肩线时,向右打一圈半,出库去做侧方停车。
注:1.右入库如右侧小左侧大,是水泥线那里方向盘打早了;右侧大左侧小,是方向盘打晚了。
左入库如左侧小右侧大,是水泥线那里方向盘打早了;左侧大右侧小,是方向盘打晚了。
2.入库时,如果方向打晚了,入库方向那侧边线会较大,半圈先不回,转头看另一边,等车屁股全进库,直角露出来,一圈半一起回。
二、侧方停车:总计时1分半钟,也就是90秒千万不能停车观察。
c1驾驶员科目一.科目二.科目三 (带图片)1.科目一(文科)上机考试:主要是通过交通法规.交通安全.机动车驾驶的基础知识.通过认真的学习笔试很容易通过.90分以上文科过关.备注:如果有电脑用教材配套的光盘上机学习.就更容易通过了.上机练习模拟考试10次能超过95分后.考科目一过关就没问题了.2.科目二(倒桩移库)倒桩移库操作要领一、从右停车位(起点)倒入乙库1.检查车辆是否停在正确的位置上,车轮是否正直,方向盘记号是否朝上。
2.当6号杆与1号杆成直线时方向盘向右打死,3.当5号杆(前中杆)在后挡风玻璃右侧露出时,方向盘向左回1圈,4.当前中杆在右后侧三角窗处露出时,再次将方向盘向右打死5.回头看左侧倒车镜,当1号杆(左后杆)出现时,方向盘快速向左回2圈,红点朝上,6.将头伸出看左侧边线,注意将车身与边线保持平行,7.当车2/3入库后回头朝前看着前中杆的底部,地面路出20厘米左右即刻刹停。
(方向盘动作:向右打死—→回1圈—→打死—→回2圈)二、从乙库移到甲库(2进2退)1.前进与后退,全部都可以先将方向盘向右打死。
2.一进,引擎盖左角对准中杆后,看着边线回方向(向左打死),当车身与边线即将平行时方向盘向右回2圈,3.一退,引擎盖右角对准中杆后,看着边线回方向(向左打死),当车身与边边线即将平行时方向盘向右回2圈,4.二进,引擎盖中心即将对准右边杆时,看着边线回方向(向左打死),当车身与边线即将平行时方向盘向右回2圈,5.二退,通过车内后视镜看后挡玻璃,后中杆移至后挡玻璃左边上时快回方向 (向左打死),头伸出看中线,车入甲库后回一圈刹停。
其实如果车停得很正,不回一圈刹停也可以的。
回一圈主要是怕前轮歪斜而被红外线打掉。
三、从甲库前进到左停车点1.车出乙库后当引擎盖左前角压住边界线一尺时,方向盘向左打死,2. 引擎盖右角对准边界线(或者柱子)时方向盘回正2圈后刹停。
头伸出看前车轮,并检查车身是否停正,如有偏斜倒车时及时修正。
科目二的两次考试都是在白沙洲考场,当时在网上找相关资料操作指导,详细的很少。
所以,抽了点时间将科目二考试要求及具体操作分解总结出来,仅供参考。
本人身高160,车内座椅是调到最前,请各人根据自己身高、车内座椅位置前后及坐姿习惯参考调整所看点位。
白沙洲科目二考场平面图:一、科目二考试顺序:(1)上坡起步定点停车;(2)直角转弯;(3)侧方位停车;(4)曲线行驶;(5)倒车入库。
目前,白沙洲考场考挂得最多的是1、5项目,平时要多练习呀!重点练习压离合、打方向盘基本功。
二、综合评判解析:【注意!这些地方容易因忽略而扣分】未系安全带:扣100分;未关好车门:扣100分;未开转向灯:起步、转向、变更车道、超车、停车前未使用转向灯或使用少于3秒,扣10分(使用转向灯少于3秒,经常成为学员扣分的原因。
——教练要求一般是先打灯,再挂档,这就保证有3秒的灯。
)熄火一次:扣10分。
(平时一定要练习好压离合,考试中我们一起的男生多挂在熄火和暂停2秒上。
)考试时间10分钟。
(只在考试项目区域内计时,出考试区域停止。
在两个项目之间可以停车等待、缓慢行驶,这是不计时的。
)三、五项考试标准及技巧:【项目一:定点停车与坡道起步】1、考试标准:【注意:考员落马最多的考试项目】没有定点停车,扣100分;车辆停止后,汽车前保险杠未到控制线(即坡上横着的宽黄线。
要求车头在宽黄线上沿和下沿之间),扣100分;在控制线前后50厘米内,扣10分;右车轮未压白线(见上图坡上的宽白线),且在30厘米内,扣10分;右车轮压黄线(见上图坡上的宽白线边紧挨着的窄黄线),扣100分。
停车后后溜大于30厘米,扣100分;停车后后溜小于30厘米,扣10分;定点后起步未开左转向灯,扣10分;车辆行驶中压道路边缘实线(黄线),扣100分;起步时间超30秒,扣100分。
熄火,扣100分。
2、场地要求:陡坡的坡度必须大于等于10度,考C1驾照的陡坡长度要大于等于20米。
1#指1号2#指2号考试结束出场3#指3号库报废车圆饼红绿灯边线红外线进场课目二场地示意图及考试注意事项。
感应线会指引你,上车后调整座椅和后视镜,系好安全带,起步,沿前进,该路段是单向双行车道,不要S 型走。
去侧方停车后要尽快了解车的离合和方向,适应车辆。
拐弯后观察3个红绿灯,红灯的不要进去。
进绿灯的。
只要空闲(库前绿灯)可以任意进,选定库之后从入口进,红外线处,车头切边线,但允许出,车身碰到红外线后,车载电脑开始语音提示倒库。
按平时训练开始倒库,先右边再左边再开到右边,合格后电脑语音提示合格,进入下一科目侧方停车沿着方向行走。
开始正常倒库后,电脑没有语音提示说明常,入库后停车拉手刹挂空挡,脚离开离合油门,然后挂1继续你的倒车开始进去时严格按照路线走,不要走S 道;观察库前的红绿碰到红外线否则没有成绩;入库停车后要拉手刹;倒车入库时,有下列情形之一的,评判为不合格:1、不按规定线2、车身出线的;3、倒库不入的;4、中途停车的。
5压倒感应线。
倒桩区待考室。
感应线红绿灯红外线进入侧方1路线道路中间虚线进入侧方2路。
进入半坡起步路线。
室。
从桩考区出来之后,会有工作人员告诉你,进入几号侧方库。
如果工作人员重复一下是1号还是2号。
如果是1号库先观察红绿灯,如果是红灯亮就,走沿着库左侧边线约30cm 左右直行前进,车头看不到前面的停止边线侧方停车区侧考场库的左边线是虚线,车身与库角成直线的参照就是库角的红外车区方,拉手刹(切记一定要拉,否则下课),挂空挡,脚从离合2。
下。
在这个过程中电脑没有任何提示说明正常。
方向向左打。
车头出库电脑语音提示合格,进入下一科目半坡起步。
出库方向前进,不要占2号库的位置,不要压感应线如果工作人员告诉你是2号库,沿方向走(同样观察2号库的红绿灯),也就是沿着路中虚线的左侧道路走,不要占1号库的路线。
出库进入半坡起走。
去侧方停车,有下列情形之一的,评判为不合格:1、车辆入库停止后半坡3.不按规定路线行驶的。
小汽车驾考科目二图解接车上车后首先调整座椅、两车倒车镜角度,并系好安全带。
整个考试过程中,从任意起点开始的连续5个项目都通过,则考试过关。
第一次考试失败,当场可进行重考,以失败点的下一个项目作为起点。
另外,必须打转向灯的点右:从侧方位出库、陡坡起步。
建议在:接车起步时也打左转向灯。
倒车入库可以不打转向灯,当然,打了也不会加减分!一、倒车入库:操作要求:考试过程中,从道路一端控制线(车身压控制线)倒入车库停车,再前进出库向另一端驶过控制线后倒入车库停车,最后前进驶出车库。
倒车入库评分标准:不按规定路线、顺序行驶的,车身出线的,倒库不入的,不合格;中途停车的,均不合格。
(反倒)车辆直行到车库右侧,距左边线2米左右。
停车时,车前轮压在线上(可以过线,因为线上有感应器,压到或压过才能感应到),在车上观察,线在左窗立柱时停车,正好车轮压在线上。
开始倒车:1、直退。
2、直退时刚好可以看右后窗窗花和库线重叠(或看到线在左后视镜下沿)时向右打死方向继续退(这时车辆就向右后行驶了)。
车辆向右后行驶时,可以通过右后视镜观察车身和库角之间的关系和行车路线3、车辆慢慢后退,进库后,需要通过后视镜观察车身和库线之间的关系,确认是否直行和判断距离。
4、通过观察左后视镜,看到后库角(车辆倒车直行)后,迅速回正方向,适当调整距离。
当退至库线靠近左后视镜下沿时停车,反倒入库就完成了。
下面开始出库,准备顺倒:1.换1挡直行,行驶至库前线刚好被引擎盖遮挡。
2.库前线被引擎盖遮挡时,后轮刚好和出库线平行,这时就向左打死方向,等车辆行驶至和车库平行时停车。
这时线和左后视镜下沿相交。
开始顺倒,还是原向左打死方向退。
向左后退时,也通过左后视镜观察车身与库线之间的距离和行驶路线。
通过右后视镜观察到库后角(车身是否直行),距离是否合适(需要学会自行调整),车身直行后,迅速回正方向,然后再直退。
直退时,观察线靠近左后视镜下沿时,停车。
这样,倒车入库就完成了。
科目二考试详细图解一、直角转弯科二考试中公认最简单的项目,主要考察驾驶员急转弯对车辆车轮位置判断和操控能力。
记住以下几个要点:1、在进行直角转弯前,尽量摆正车身(引擎盖与前面的黄线平行),为避免转弯压线,首先要控制好车辆后轮与右边线的距离,30-50厘米为最佳。
找准这个距离的方法可以采用车头三分之一法则,保持视野中车前盖右边三分之一与右边线交接行驶即可。
当然这个方法不是唯一的,身高不同或者座椅前后位置不一,判断这个位置的点不同。
例如可以参考雨刮器判断方法一般情况下,也可以用方向盘中间去对准道路中间驶入,距离恰好,也不会压线。
2、接下来就是把握好转弯打方向的时机了。
转方向的时机并没有过于一致的点,这和每个人座椅调节以及打方向盘的速度相关。
参考的点有当A柱角落20cm处和地上黄色的直角重合,可以打死方向。
3、转弯过程中要注意到行车阻力,因为是向左边打死方向的,车速太慢的话,很容易出现停止的情况。
这种情况,可以稍微抬起离合让车走动。
转弯的过程,可以要通过后视镜观察车轮的轨迹,避免压线。
转弯之后,车身摆正后,马上回直方向盘(离合器可以要往下压一点)驶出即可。
注意:直角转弯只要转弯前距离合适,转弯点把控好,完成直角转弯并不难。
二、曲线行驶曲线行驶,也叫S弯道,相对于直角转弯,进一步考验驾驶员对方向的操控以及车轮轨迹的把控。
记住以下几个要点:1、进入S弯道,一般会有一段距离可调整位置,进入弯道尽量把车身靠右调整。
进入弯道不用急,继续保持直行。
2、向左转弯:车辆靠近右边行驶,当左车角与右边缘线相重合时,方向往左打一圈,同时微调方向,让左车角和右边缘线基本重合,沿着S路向左转弯,车辆就不会压线或出线了。
驶过左弯后准备向右转弯。
3、向右转弯:当左车角慢慢地走完向左转弯的右边缘线时,方向先保持不动,等到车头盖右侧顶点碰到向右转弯的左边缘线时,回正方向,慢慢地往前走一会。
4、此时进入另一个方向的弯道,参照第2点方法,当看到车头盖左侧1/3处和向右转弯的左边缘线碰到时,向右打一圈方向,同时微调方向,使右车角和向右转弯的左边缘线基本重合,沿着S路向右转弯,车辆就不会压线或出线了。
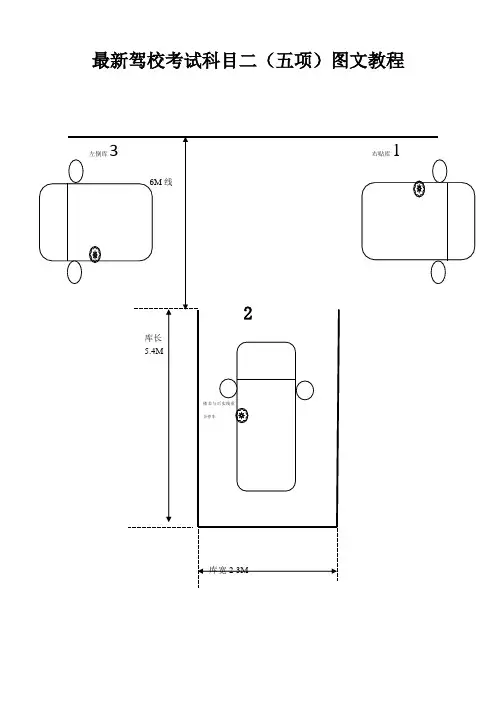
最新驾校考试科目二(五项)图文教程上车先调整座位,调整后视镜,系好安全带。
继续后移,中间不能停车,,至最右边线露出后,右打死,新驾考科目二扣分标准及技巧一、科目二考试顺序:上坡起步定点停车、侧方位停车、曲线行驶、直角转弯、倒车入库。
二、解析:小心,这些地方容易扣分综合评判未系安全带:扣100分未关好车门:扣100分未开转向灯:起步、转向、变更车道、超车、停车前未使用转向灯或使用少于3秒,扣10分(使用转向灯少于3秒,经常成为学员扣分的原因。
) 熄火一次:扣10分三、五项考试标准及技巧:(一)定点停车与坡道起步1.考试标准没有定点停车,扣100分;车辆停止后,汽车前保险杠未到控制线,扣100分停车后后溜大于30厘米,扣100分;停车后后溜小于30厘米,扣10分(原规定扣20分)起步未开左转向灯,扣10分车辆行驶中压道路边缘实线,扣100分车辆停止后,前保险杠未到停车线,扣10分(原规定是扣20分);停车时右前轮距边缘线30厘米以上,扣10分(原规定是扣20分)起步时间超30秒,扣100分(新增扣分项目,学员落马最多的考试项目。
)2.场地要求:陡坡的坡度必须大于等于10度,考C1驾照的陡坡长度要大于等于20米。
在考试过程中,学员在陡坡停车后,必须在30秒内起步,否则就算失败。
3.操作技巧:1.听到“上坡定点停车”指令后,(立刻打右转向灯),方向向场地右侧靠;(起步时如果有坡度时,为防止溜坡,要用半坡起步法起步)。
2.即将到达路边时,方向向左回小半圈,再迅速向右回正,使车右侧与路边保持平行,并距离在30CM内(保持左雨刷中部连接部件(黑色方块)在白色线与黄色线之间,不能压黄色线;最好压白色虚线走.或用左筋对准标志线走);起步后,可完全放开离合(或用离合控制,车速快一点,不易熄火)进行上坡(上坡过程中,如果车出现明显抖动,可踩一点离合,可保持不熄火)。
3.快到达停车点时,踩离合,降慢车速,当向右看到停车标记时,踩脚刹,踩离合停车(或从左侧反光镜下沿看到定位桩杆线边缘即停车),拉手刹、(关转向灯),摘空挡,抬离合(一定要抬离合后再起步)。
2、直角转弯(一)考试目的:考核驾驶人在急角转弯路段能迅速运用方向并对车辆内外轮差距进行正确判断。
考试要求:用低速按规定的线路行驶,一次不停车完成,途中如有压线则算不及格。
考试方法:(图1)1、车子尽量靠左边,缓缓行驶,如图1所示。
(图2)1、眼睛看右边,当右边白线内道和车右后视镜调节旋钮重合时,方向盘往右打死,如图2所示。
(图3)3、直至车子完全转弯,并车头正直时候将方向回正,考试结束。
过程如图3,图4所示。
(图4)4直至车子完全转弯,并车头正直时候将方向回正,考试结束。
过程如图3,图4所示。
直角弯考试注意事项:1、车速要慢,打方向盘要快。
2、在图1中尽量靠左行驶。
3、进入弯道时必须开启转向灯,否则要被扣掉20分3-4、定点停车与半坡起步考试要求:要求在≥10%坡度,≥30米坡长的坡道上的固定位置停车后并重新起步。
考察方向、脚刹、离合器,油门,手刹五者的协调配合。
图1所示为定点与半坡起步考试横截面图。
(图1)考试方法:1、在未上坡前先将油门轻踩至油表指针指向2的位置后稳住,然后松抬离合器踏板至半联动状态,缓缓前进。
2、将左边喷水点对准第三条感应铁,并在以下的过程中始终保持对准,定点俯视图如图2所示。
3、上坡后注意用离合器控制好速度,使车能够匀速,稳定的向前。
4、头倚住靠背,往右前方看,当眼睛看到定点杆在调整右后视镜的旋钮上时脚刹刹住,挂空档,拉手刹,定点结束,如图3。
(注意:这个点根据每个人座位和身高不同而各不相同,需要实战中去找自己合适的点。
)5、下面开始半坡起步,挂1档,右手将手刹拉紧准备起步,踩油门踏板至油表指针指向2后稳住,慢慢放离合器踏板,当车身有抖动感觉时或发出齿轮磨合声音时,放手刹,车即向前行进。
定点与半坡起步注意事项:1、上坡时注意控制好车速,以稳为主。
如果发现车速过慢有要停的趋势,则松抬离合器踏板。
如果此时离合器踏板已经抬的非常高,继续抬必定会造成熄火,(在上坡途中熄火则必然造成定点不到位,直接不及格)。
科目二场地考试图文讲解定点停车与陡坡起步图文解说定点停车与陡坡起步考试科目地点驾车在上坡路定点停车与陡坡起步,可以提高使用档位和离合器的能力,以适应在上坡路段固定地点靠边停稳车辆和等候放行时的操作需要.考试内容:通过视觉和感觉及时判断坡道的陡坦、长短及路宽等道路情况。
采取恰当的操作方法,控制车辆平稳停车和起步。
做到转向正确,换档迅速,转向盘、制动器、离合器三者配合准确协调。
行驶时,用铆钉对细线或用7字凹槽对粗线边缘车辆在上坡行驶时,不能压到右边粗线,而且中途不能停车在车下观察,车辆右边轮胎正好压在细线上(考试停车时,车辆离粗线30公分为合格,细线正好离粗线30公分,所以车轮压在细线上就代表车辆离粗线有30公分了)车辆行驶至图上位置时停车,为定点停车合格标准(车辆右边轮胎压在细线上,车牌垂直向下正好在粗线内)那么,怎么才能停到标准的位置呢?我们还是采用看点停车的方式。
车辆在陡坡上行驶时,需要先保证右边轮胎压细线,然后车辆直行,直行到上图所示(两张图两个点)任意选一个点看,到点时停车.这时,车牌就在粗线内了车牌在粗线内为合格,超出或没到粗线扣10分,超出或没到细线扣20分以上就是陡坡定点停车的方法下面,再来讲一下,陡坡起步的方法首先,应该踩离合,踩刹车,挂一挡(不用手刹)然后左脚慢慢抬离合,抬到车身发抖(半离合状态),就稳住左脚不动左脚保持在半离合状态时,右脚就可以慢慢放开刹车(用手刹的也可以放手刹了),这时如果待速大的车,就会自己前进了如果车辆待速小,没有前进(只要左脚稳在半离合,车辆就不会后滑),右脚就可以慢慢的踩油门,踩到发动机转速保持在2000左右时(发动机转速大小因车而议),车辆就会前进了车辆前进后,保持踩油门,慢慢放离合,离合放完后,就是正常行驶了上坡路定点停车与陡坡起步技巧1:起步直行一段后,稍靠右行驶,可稍微加点油或不加油(考试用车怠速一般比较大,不可加油过猛)。
2:临近弯道处提前打左转向灯,松油门(如果加油的话),车头盖过转弯处实线时,向左打满方向(切记此点),使用半联动控制速度。
设施考试项目与具体操作1.侧方停车(必考)①将车驶入如图所示的指定位置边30cm以内,停车。
②第一倒具体操作:挂倒档,抬离合并控制住,倒车;向后看,右后门玻璃三角处的花对准1号竿时,踩离合和刹车,停车。
③第二倒向右打死方向(一圈半),松刹车,抬离合并控制住,倒车;向左前方看,左方后视镜能看到3号竿时,踩离合和刹车,停车。
④第三倒回正方向(回一圈半),松刹车,抬离合并控制住,倒车;向右前方看,前挡风玻璃右下角雨刷器末端(或距离末端2cm处)对准1号竿时,踩离合和刹车,停车。
⑤第四倒向左打死方向(一圈半),松刹车,抬离合并控制住,倒车,待车头正时,踩离合和刹车,停车。
挂空档,拉手刹。
⑥出库打左转向灯,挂一档,松手刹,不动方向盘走车,待车头出库后回轮,车正走车。
2.坡道定点停车和起步/钓鱼(必考)①上坡一档行车,控制住离合,处于半联动状态行车,车速要慢,同时要用左边雨刷器的小圆点找坡道左边的白线(横向距离要求),对准后将车回正,慢慢上坡。
②定点停车当右边雨刷器的小圆点对准标竿时(纵向距离要求),同时踩离合和刹车,停车。
③起步慢慢向上抬离合,待听到嗡嗡声后,抬刹车,车动。
然后自然下坡。
3.通过连续障碍整个过程一档通过,要控制住离合,车速快的话,要向下压住离合,或踩点儿刹车。
①通过1、2号饼车身对准1、2号饼,切过去,车左轮略微离饼子近些。
②通过3号饼通过2号饼后,当车与3号饼下端平行时,向左打一圈轮,继续行车;当左车筋绕过3号饼一拳头时,回正方向(右回一圈),继续行车。
③通过4号饼当车与4号饼下端平行时,向右打一圈轮,继续行车;当右车筋绕过4号饼一拳头时,回正方向(左回一圈),继续行车。
5、6号饼按照3、4号饼的办法依次通过。
4.通过单边桥整个过程一档通过,要控制住离合,车速快的话,要向下压住离合,或踩点儿刹车。
①通过1号桥用左侧车筋对准1号桥的内侧,左车轮从1号桥缓慢通过。
②通过2号桥当左后轮下了1号桥后,向右打方向到2点位置,继续行车;待左侧车筋对准A 点时,向左打一圈轮,继续行车;当车正后,回正方向,匀速通过。
驾照考试科目二技巧图文结合驾照考试科目二技巧图文结合一倒车入库操作:第一步:入位1、起步倒车观察右后视镜,车倒入A点,即后轮轴与4线成一线时方向盘向右打死,继续倒车;2、观察左后视镜,当左侧车邦和E点成一线时回正方向,倒入B点时,即左后轮压2线时,方向盘向左打死,继续倒车;3、继续观察左后视镜,当车倒入C点,即左车邦与2线平行时回正方向,踩离合、刹车,倒车完成。
第二步:出位1、打开左转向灯,挂1档方向盘向左打死起步;2、观察左后视镜,当车前进至B点,后轮压2线时,方向盘向右打死,继续前进;3、观察右后视镜,等车驶出停车位,车身与2线平行时,方向回正操作完成。
车距起点边线⑤50CM以内,起步倒车150CM之后方向向右打死看右侧观后镜,当车尾右侧距车库右边线30CM且平行时方向回正,此时再看右侧观后镜下边缘与路边缘②重叠时停车,倒库完成。
出库时看左侧观后镜,车后轮出路边缘②时方向向左打死,车与路边缘①或②平行时方向回正,此时看左侧观后视镜下缘与终点线④重叠时停车,第一次倒库完成。
二侧方停车图解注意:1、停车位很重要,操作前车一定要停在距离2线30—50cm;2、操作前一定要调整好左右后视镜,以能看到后轮与地面接触点为准;3、善于运用半联动,准确把握不同速度时的操作要领。
三 S弯道操作要领:右转弯,车体靠近左路沿,车体左侧距离路沿60cm向右转方向;左转弯刚好相反,车体靠近右路沿,车体右侧距离路沿600cm向左转方向。
如图:车从A点进入弯道,靠左路沿60cm向右打方向行驶,打方向多少以你刚好能从左侧车门玻璃下沿看到左侧路沿为准;当车到B点时,靠右路沿60cm 向左回方向行驶,你可以继续观察左侧车门玻璃下沿看到左侧路沿60CM为准,这就能保证车体右侧60CM,而左侧后轮也能安全通过,这样就可以安全驶出弯道。
注意:1、提前减速换1档;2、提前3秒打转向灯。
四直角转弯图解:五坡道起步和定点停车操作:1、挂一档、打右转向灯,车体向右靠,观察右后视镜。
汽车驾驶证考试科目二秘籍(附图)1、上坡路定点停车(必考)图示:定点停车桩杆距坡底>1.5倍车辆长,全坡长>30m。
要求:一次不停地上坡并在坡顶规定位置内停车。
驾驶步骤:以考试员在车内为参照(下同),将车缓缓开入感应区,进入感应区后车不能停止,调整车的位置,在不出边界的情况下让车尽量考右边行驶(为的是能够目视坡上停止标志的三条虚线),即目视车头的“考试车”的“考”,让“考”字对准道路右边的橡皮边沿,让车缓缓开上坡,并通过座位的左窗观察三条虚线,等到最顶上的虚线通过左窗玻璃下边沿离开玻璃右边沿大概一个拳头的大小,踩脚刹刹车,使得车前轮在三条虚线以内即可。
练习时根据个人的身高等具体不同情况,适当调整参照点,最好停在坡上的时候,拉手刹回空挡探出头或者直接下车观察车前轮停靠位置,然后调整车的位置,使车尽量停在三条虚线中间,记住这个参照点练习的时候就容易了。
2、侧方位停车(必考)图示:车位(库)长,小型汽车为1.5倍车辆长+1m;车位(库)宽为车辆宽+0.8m,车道宽3.5m。
要求:车辆在不碰、擦库位桩杆(四个杆),不压碰车道边线、库位边线的情况下,通过一进一退的方式,将整车移入右侧库位中。
驾驶步骤:让车尽量靠近停车位的外杆,在前进中慢慢调整,大概在车头超过前杆的位置,回头看车尾玻璃,观察车尾玻璃出现刚刚的前杆,即可刹车停车;挂倒档缓缓倒退,观察右后座玻璃,出现前杆的时候,刹车,向右打死方向盘;现在观察左倒后镜,当左倒后镜出现第二根杆,并且杆离开后门门把手两个手指的位置的时候,停车把方向盘回正;观察车头玻璃右方,大概当杆(前杆)距离右边的雨刷结一个手指(根据身高调整)的时候停止,向左打死方向盘;现在车头已经慢慢拐进停车位,观察车头,左车头角对准左前杆(使车头垂直车尾)的时候刹车;拉手刹,回空挡;最后把向左前方车开出去。
3、直角转弯图示:路长小于等于1.5倍车辆长;路宽,小型汽车为车辆轴距+1m。
要求:以较低的速度按规定直角转弯通过,车轮不能压车道边沿的橡皮为满分(压内侧边沿不及格,压少量外侧边沿橡皮扣分)。
科⽬⼆考试全流程、点位、图⽂详解图⽚发⾃简书App早上早⼀点到达考场(先到先照相的先考,尽量早些去),带上⾝份证、学员牌,穿平时练车穿的鞋⼦(没有⾝份证是考不到试的,这些在头天晚上就要准备好)。
提醒⼀下:若遇下⾬天,⼀定要多带些纸,上车前把倒车镜上的⾬⽔擦⼲净,否则看不清。
主要是倒库和侧⽅要⽤倒车镜。
在这两个项⽬报进⼊之前,看⼀下镜⼦,若⼜淋花了,停车再擦⼀下,但不能解安全带,不能开门下车,右镜擦不到就擦左镜。
所以我们在预约的时候可以看⼀下天⽓预报。
到达考场,站在下⾯↓(报道流程)这个牌⼦的两边的窗⼝排队(先照相的先考),刷⾝份证选车型(别选错了,我们的车型是新雪铁龙,若选错了车型或没选车型或选好了按确认键没按起的,就要排到最后考)。
图⽚发⾃简书App看下图↓,把⾝份证放在下图左⼿的那个位置,你的信息出来后,点(新雪铁龙),不要选错了,我们的车型是(新雪铁龙)。
预约考试的时候更不要预约错了,若预约错了是改不了的。
预约的是什么车型,考试就考什么车型。
图⽚发⾃简书App选好车型后,要点确认。
没点确认和选错了车型或没直接就没去选车型,就直接刷⾝份证进候考室报道照相的,要等全部⼈照完相后,再重新去选车型,那么也就是说,要等到最后才考。
注意:有时候,若去迟了,如果(报到流程)这个牌⼦两边的窗⼝没有开,就直接刷⾝份证进⼊候考室,刷⾝份证照相时,给照相的⼯作⼈员说你还没有选车型,她会问你什么车型(我们的是新雪铁龙),她就直接给你选好。
然后照相后看⼤屏幕等待考试。
图⽚发⾃简书App选好车型,点确认后,就从下图所指进去刷⾝份证进⼊候考室。
图⽚发⾃简书App进⼊候考室后排队照相,并将⼿机调为静⾳或关机,遵守考场纪律,听从考务⼈员安排。
图⽚发⾃简书App认真听考务⼈员讲考试规则和注意事项。
,照相⼀后,坐下看⼤屏幕。
若你的名字出来,并显⽰⽴即上车(考务⼈员⼀般会喊名字),请看⼀下⾝份证号确认,确认后便准备上车。
图⽚发⾃简书App考试不要着急,在进⼊每⼀项前,想好该注意的地⽅及其点位。
单(双)行道路行驶
在单行道路上(或没有划分中心线的双行车道路)正常行驶时,最佳行车位置是道路中间略偏右,也就是驾驶员坐在路的中心朝前开。
解析
1、便于控制方向:由于一般情况下道路是呈弧形中间高两侧低,中偏右行驶时车辆会向右偏行,这时只须左手将方向盘的自由行程轻轻向左带住就能控制车辆的直行方向。
2、有利于交会车和让超车:中偏右行驶,使车辆能以较小的角度驶向路边并将车辆摆平。
3、便于车辆急转弯:参照单行道路左、右转弯。
单(双)行车道右转弯
1、车辆行至距弯道约30米减速(或控制车速),并将车偏向左行驶,以到达弯道时在道路右侧留出足够转弯内轮差宽度为准则,在到达弯道时(打方向前)达到最理想的转弯速度。
2、根据弯道大小向右打方向,并注意保持(控制)好车速。
3、弯道接近转完时:如果前方有来车,可将车辆朝路,并根据可否通行控制车速或停车;如果前方无来车或障碍,可将车辆直接向正常行驶路线回正;回方向时应根据弯道的大小掌握好适当的提前量。
单(双)行车道左转弯
1、车辆行至距弯道约30米减速(或控制车速),并将车偏向右行驶,以到达弯道时紧*道路右侧(窄)为准则,在到达弯道时(打方向前)达到最理想的转弯速度。
2、根据弯道大小向左打方向,并注意保持(控制)好车速。
3、弯道接近转完时:如果前方有来车,可将车辆朝路右侧回直,并根据可否通行控制车速或停车;如果前方无来车或障碍,可将车辆直接向正常行驶路线回正;回方向时应根据弯道的大小掌握好适当的提前量。
单(双)行道路连续转弯
(示例)
下图是一条先左转弯后右转弯再向左小转弯的连续转弯道路
1、车辆行至距弯道约30米减速(或控制车速),并将车偏向右行驶,以到达弯道时紧道路右侧(窄)为准则,在到达弯道时(打方向前)达到最理想的转弯速度。
2、根据弯道大小向左打方向,并注意保持(控制)好。
3.当车辆接近转完左转弯时,这时已经能完全看见前方道路是向右转弯,应适当提前回转方向盘,
当到达右弯道并在道路右侧留出足够转弯内轮差宽度时,向右打转方向,同时注意保持最理想的转弯速度。
4、当右转弯接近转完时,这时将能够提前看见前方小左转弯及小左转弯后的直行路面的状况,最为常见的情形有以下两种:
(一)前方小左转弯或直行路面有来车:继续右转弯并参照左转弯要领进行左小弯道转弯,在左小弯道将要转完时,提前回转方向,将车辆靠直行道路右侧行驶,并注意根据前方道路可否通行情况随时减速或停车。
(二)前方小左转弯或直行路面无来车:在右转弯将要完成前,提前回转方向盘,忽略小左转弯,直接将车辆朝直行道路正常行驶路线回正,并可适当提前将车辆行驶速度提高。
档位吃作及运用
加减档(配档)基本原则:
档速与档位相适当:从最低档速到最高档速都是本档的适应范围,尽可能避免长时间使用最低或最高档速;
换档(加、减档):原则上只要达到档速范围,就能换档,档位的取舍要考虑车速、动力性和经济性;
拖档:低于最低档速一般称为拖档,拖档会使车辆行驶无力、前后窜动,严重时会造成发动机熄火;
升档:当车速达到高一档的速度时,就应该实施升档,一般来说,高速车在档升档时机为发动机转速3500—4500转/分;
退档:当车速接近档位最低车速时,就应该实施退档,高速车退档时机应该掌握在本档速度中—中偏低的范围内,最晚不能低于本档的最低车速;退档时机的选择应根据路面和动力需求来掌握;
不同路况下档位的运用:
提速加档:在未进入正常行驶速度前,应该尽量在本档将车速提高(发动机转速中偏高所对应的车速),以便加档后车辆行驶有足够的动力性;这一点在实施上坡加档时尤为重要;
保持档位动力性:上坡行驶和一般路面调整速度行驶时,档速应保持中速(发动机中速运转状态),使车辆行驶时有足够的冲力和速度可调节性能;
正常行驶:正常行驶时,速度不需要太大的调整,档速选择中偏低,以利于行驶的经济性;
下坡配档:
一般的非危险性下坡,档位可适当挂高,下坡阻力小,加速性能好,加档操作可提前进行,挂高档可以节省燃料;
下长坡配档:下长坡时,为了避免长时间使用刹车,造成刹车减效和失效,应该挂相应的低档,利用发动机来牵制车速;配档的原则掌握在不需要长期使用刹车减速为度;
…………………………………………
换档操作:踩下离合踏板——迅速松开油门——将档换到所需的档位——根据档速配合适当的油门(或不配油门)、同时迅速将离合抬到接触点半接触状态——完全平稳后轻轻放开离合踏板。
油门与离合器配合及实际训练
油门与离合器配合又简称为油离配合,油离配合的快速与准确在驾驶操作中起到很重要的作用,常见的有起步、换档后的吻合,坡道起步、坡道挂停等。
油离配合的两个关键操作是一次性油门配备到位和一次性离合接触点到位,油门到位应该略早于接触点到位,操作配合好的一般不会出现空油门(声)和车的前冲后拉感觉。
油门一次性操作训练:按大、中、小油门练习一次性搓压油门并稳住,搓压方向为前偏下方向,参考值为发动机转速表和发动机声音;
离合一次性接触点到位操作训练:先将离合踩到底——慢慢抬到接触点并稳住,记忆此位置——将离合踩到底并迅速回抬到原来的位置——反复练习以上动作,以能一次性抬到位并感觉车有稍动感
为准。
油离配合操作训练:搓压油门同时抬离合——车有稍动感油门有沉闷声时,两脚同时稳住。
练习到能轻松、准确操作为宜。
低速控制训练(多重起步法)
多重起步法:需要低于起步档(一般为1、2档)最低档速时,可以用“多重起步法”来控制行车速度,即可控吃作性强又安全实用;多重起步法的实际运用是非常重要,运用范围也非常广泛,如:繁华地带跟车、场地车辆移位、准确转弯找点、实用倒车倒库、前、后短距离移动、繁华地段调头等等。
低速控制训练(多重起步法)的操作:
多重起步法顾名思义,就是将起步重叠,利用起步车速的惯性连接下一次起步,不断地重复操作,实现低于起步档的速度达到行车目的。
多重起步法的初车速来源于起步车速,但其精髓是利用车速惯性。
操作时要注意的是,因为并未真正地完成起步,达到起步档的最低速度或者达到油门所对应的起步档速度,所以离合器踏板在操作过程中不能完全放开,而是根据起步过程中已经达到的车速来利用其惯性,利用惯性时需要踩下离合器。
操作方法:配油门抬离合到接触点——预计车速可利用惯性时,踩下离合并松开油门——车速慢至快停或停下时再次配油门抬离合到接触点——重复操作以上动作;
当路况需要车速是走走停停时,一般宜用1档重复起步;当路况需要车速慢慢快快时,一般宜用2档做得复起步;
多重起步法正确、灵活运用:
1、多重起步法可根据需要与半联动(又称压离合)配合使用,可实现坡道跟车又能减少离合器磨擦片磨损和磨擦发热;
2、当前方(或后方)情况接近时,踩下离合器利用惯性,感觉有安全隐患时,可同时护住刹车确保行车安全;
3、有安全距离时实施起步延伸车速,接近目标时利用速度惯性,利用慢性时(踩下离合)可随时实施制动和实施车辆转向。
现在驾照分类
驾照类别:A1、A2、A3、B1、B2、C1、C2、C3、C4、D、E、F、M、N、P,共15个类别
准驾车型及代号如下:
大型客车A1大型载客汽车
牵引车A2重型、中型全挂、半挂汽车列车
城市公交车A3核载10人以上的城市公共汽车
中型客车B1中型载客汽车
大型货车B2重型、中型载货汽车等
小型汽车C1小型、微型载客汽车等
小型自动挡汽车C2小型、微型自动挡载客汽车等
低速载货汽车C3低速载货汽车(原四轮农用运输车)三轮汽车C4三轮汽车(原三轮农用运输车)
普通三轮摩托车D发动机排量大于50ml的三轮摩托车普通二轮摩托车E发动机排量大于50ml的二轮摩托车轻便摩托车F发动机排量小于等于50ml的摩托车轮式自行机械车M轮式自行机械车
无轨电车N无轨电车
有轨电车P有轨电车。