(完整版)HACCP认证全套表格
- 格式:doc
- 大小:219.51 KB
- 文档页数:11
HACCP体系部分记录表格样式部门年度培训计划表时间:部门:制表:备注:计划负责人:审核:说明:各部门负责人负责列出本部门年度培训计划。
培训执行记录表培训时间:培训内容:课时:培训人:设备、实施维护检查表设备名称:检查人:审核:日期:物品标识卡备注:质量跟踪卡亲爱的用户朋友:您好!当您在购买和食用×××食品时,对我们服务质量和产品质量感到满意吗?为了能得到您宝贵的反馈信息,我们特编制了此表格,希望您能把您的想法和建议记录下来作为改正我们工作的依据,对您的参与和合作,我们表示感谢!服务水平:综合评价:您的意见和建议:填卡人姓名:联系电话:年月日原料奶验收CCP记录表供应商:原料名称、规格:质量:检验项目:结论:□接受□退货备注:检验员:复核:日期:日期:原料奶供应商年度评估表年度:统计人:复核:日期:日期:虫害检查记录表日期:检查人:审核:清杀执行记录表备注:审核:车间卫生检查记录表日期:检查人:审核:一、操作人员卫生二、更衣室卫生整洁三、消毒情况四、车间卫生生产车间与加工设备(含工器具)清洗消毒执行记录表时间:部门:负责人:审核:备注:化学药品入库管理记录审核人:审核日期:化学药品出库管理记录审核人:审核日期:化学药品使用记录审核人:审核日期:水质抽样记录表微生物抽检记录表审核:员工健康档案SSOP检查记录表检查人:审核:日期:产品回收记录客户投诉处理清单填表人:填表日期:年月日文件管理一览表不合格产品处理监督记录表企业名称:检验情况:检验员:年月日处理意见:质检科长:年月日监督处理记录:HACCP小组质检员:备注:防鼠记录记录人: 审核人:审核日期:防蝇虫执行记录喷洒执行情况基准:冬春季每月5次,夏秋季每月15次;执行:“√”;未执行“×”纠偏记录公司名称:公司地址:产品描述:异常质量问题描述(如何发生、包括什么事、人、时间、地点):检验员:异常问题解决办法:生产管理人员:复检结果:检验人员:审核人:审核日期:质量负责人:。
HACC认证全套表格KL039B日期: 验收员: 审核: 审核日期:原料验收监控记录表 CCP1产品描述:销售和储存方法:在-18 C 储存、运输、销售。
预期用途和消费者:作为再加工原料或加热充 分煮熟后供一般公众食用。
原料合格证明关键限值基地合同种植记录 检测报告纠偏措施:验收员对没有原料合格证明的原料进行拒收。
批次抽检数量规格/缺陷指标比例废品总出成率口合格□不合格车辆动力状况:料。
总体评价:公司名称:公司地址:山东省XX 市XX 路XXX 号原料名称 数量 片区号 来料时间 车次 产地 供应商车号承运人原料运输车的清洁状态: □清洁、无污染受损、有污染漂烫监控记录表CCP2KL040A口 口品官员:审核人: 审核日期:品名/规日分煮熟后供一般公众食用。
追溯号: 操公司名称:产品描述: 销售和储存方法: 在-18 C 储存、运输、销售。
CCP2KL040B口 口品官员:审核人: 审核日期:品名/规日分煮熟后供一般公众食用。
公司名称: 消毒监控记录表 XX 益寿食品有限公司产品描述:KL041A口 口 品官员:审核人: 审核日期:品名/规日金属探测器监控记录 CCP3审核人: 审核时间: 质量负责人:纠偏记录表产品描述:销售和储存方法:在-18 C 储存、运输、销售。
预期用途和消费者:作为再加工原料或加热充分煮熟后供一般公众食用。
品名/规格 发生日期— 发生具体时间 CCP 点 发生地点异常质量问题描述(时间、地点、人、如何发生、发生什么事、结果) 品管员:异常问题解决办法:生产管理人员:产品最终处理结果:品管员:备注:公司名称:公司地址:山东省XX 市XX 路XXX 号客户 报告日期 报告时间关键限值 报告人检查人:/班中/班后各一次,合格的划(2),不合年 月说明:每日由专人对车间卫生进行检查,频率为班前 格的戈j(X)。
审核人:审核日期:加工车间安全卫生管理检查表清洗监控记录日期:品名/规格: 追溯号:审核人: 审核日期:口 i=r 品官员:不合格品处理记录日期: 品名: 口不合格品产生的工序:不合格的原因:不合格品的处理:当事人签字: 审核人签字:余氯检查记录KL059A执行人:备注:a.每一小时检测一次b.使用方法:比色卡比色法审核时间审核人。
haccp计划表模板
HACCP(危害分析和关键控制点)计划表是在食品生产和加工过程中用于确保产品安全的一种系统性方法。
以下是一个简单的HACCP计划表模板,你可以根据具体情况进行修改和定制:HACCP计划表
产品信息:
•产品名称:[产品名称]
•生产日期:[生产日期]
•批次号:[批次号]
•负责人:[负责人姓名]
危害分析:
1.危害识别:[列出可能的生产过程中的危害,如微生物、化学物
质、物理物质等]
2.危害评估:[对每种危害的可能性和严重性进行评估]
关键控制点(CCP):
1.生产过程步骤:[列出生产过程的各个步骤]
•潜在危害:[在每个步骤可能出现的潜在危害]
•控制措施:[列出用于控制危害的措施]
•监控方法:[用于监控每个CCP的方法]
•纠正措施:[在监控结果不符合标准时采取的纠正措施]
2.......(继续添加其他CCP)
监控记录:
•监控日期:[监控日期]
•监控人:[监控人姓名]
•CCP监控结果:[记录监控结果,包括是否符合标准]
验证:
•验证日期:[验证日期]
•验证人:[验证人姓名]
•验证结果:[验证每个CCP是否有效,是否需要调整控制措施] 纠正措施记录:
•纠正日期:[纠正日期]
•纠正措施:[采取的纠正措施]
•负责人:[负责人姓名]
记录保留:
•记录保留期限:[规定记录保留的时间]
•存档位置:[存放记录的具体位置]
这个模板提供了一个基本框架,你可以根据你的食品生产和加工过程的具体情况进行调整和修改。
在实施HACCP计划时,请确保所有相关的步骤和控制措施得到适当的监控和验证。
XXXX 食品有限公司HACCP 计划验证记录表HACCP计划名称:蒸汽杀菌HACCP企业名称: XXXXX食品有限公司验证类型:□定期验证□修改后验证□其他:验证人员: XXXXXXXX 验证日期:验证项目单项验证结论备注1. 评价产品和加工过程终产品和原辅料的产品描述是否与实际相符? 相符产品预期用途的描述是否与实际相符? 相符流程图是否与实际相符? 相符实际操作是否与工艺描述相符? 相符增加设备,生产出来加工设备有否改变 ?对食品安全有无影响 ? 的食品比之前更加安全工作人员有否变化 ? 对食品安全有无影响? 无改变,无影响产量是否改变 ? 对食品安全有无影响? 无改变,无影响2. 评价产品安全历史是否存在过多的 CCP偏离 ? 不存在同类产品是否存在不止一次采取产品召回行动? 不存在是否存在新的或突发危害 ? 不存在是否存在涉及产品安全的消费投诉? 不存在3. 评价 HACCP计划的实施情况检查关键控制点是否按HACCP计划的要求被监控?CCP是否控制了是,按计划进行了监危害 ? 控;并控制了危害检查加工过程中是否按确定的关键限值操作? CCP 的关键限值是是,按确定的限值操否恰当 ? 作;关键限值恰当检查记录是否准确并按要求的时间来完成? 准确,按要求的时间完成监控是否按 HACCP计划规定的地点予以完成? 是,按计划规定的地点完成监控活动的频率是否符合HACCP计划的规定 ?监控方法和监控频是,按规定的计划;率是否能够识别偏离? 能够识别偏离当监控表明发生了关键限值的偏离时,是否采取了纠偏行动 ?纠偏尚无发生过偏离措施应纠正偏离的原因,确保无不安全食品出售。
监控设备是否按 HACCP计划规定的频率已予校准? 监控设备按计划规定频率校准合格是否对 CCP进行了验证( CCP监视设备的校准、校准记录的审查、对 CCP进行了验证,针对性的取样检验、CCP记录的审查) ? 验证结果有效是否有对最终产品进行了微生物检测? 是,微生物检测结果符合产品内控要求HACCP计划记录表单( CCP点的监控记录、纠偏记录、验证记录、是,相关记录表格保设备校准记录、HACCP体系确认记录、支持性文件相关记录)是存良好否得到很好保存?总结论:□HACCP计划的实施达到了预期效果。
XXXX 食品有限公司HACCP 计划考证记录表HACCP计划名称:蒸汽杀菌HACCP公司名称: XXXXX食品有限公司考证种类:□按期考证□改正后考证□其余:考证人员: XXXXXXXX 考证日期:考证项目单项考证结论备注1. 评论产品和加工过程终产品和原辅料的产品描绘能否与实质符合符合产品预期用途的描绘能否与实质符合符合流程图能否与实质符合符合实质操作能否与工艺描绘符合符合增添设施,生产出来加工设施有否改变对食品安全有无影响的食品比以前更为安全工作人员有否变化对食品安全有无影响无改变,无影响产量能否改变对食品安全有无影响无改变,无影响2. 评论产品安全历史能否存在过多的CCP偏离不存在同类产品能否存在不只一次采纳产品召回行动不存在能否存在新的或突发危害不存在能否存在波及产品安全的花费投诉不存在3. 评论 HACCP计划的实行状况检查重点控制点能否按HACCP计划的要求被监控CCP能否控制了是,按计划进行了监危害控;并控制了危害检查加工过程中能否按确立的重点限值操作CCP 的重点限值是是,按确立的限值操否适合作;重点限值适合检查记录能否正确并按要求的时间来达成正确,按要求的时间达成监控能否按 HACCP计划规定的地址予以达成是,按计划规定的地点达成监控活动的频次能否切合HACCP计划的规定监控方法和监控频次是,按规定的计划;能否可以辨别偏离可以辨别偏离当监控表示发生了重点限值的偏离时,能否采纳了纠偏行动纠偏还没有发生过偏离举措应纠正偏离的原由,保证无不安全食品销售。
监控设施能否按 HACCP计划规定的频次已予校准监控设施按计划规定频次校准合格能否对 CCP进行了考证( CCP监督设施的校准、校准记录的审察、对 CCP进行了考证,针对性的取样查验、 CCP记录的审察)考证结果有效是,微生物检测结果能否有对最后产品进行了微生物检测切合产品内控要求HACCP计划记录表单( CCP点的监控记录、纠偏记录、考证记录、是,有关记录表格保设施校准记录、HACCP系统确认记录、支持性文件有关记录)是存优秀否获得很好保留总结论:□HACCP计划的实行达到了预期成效。
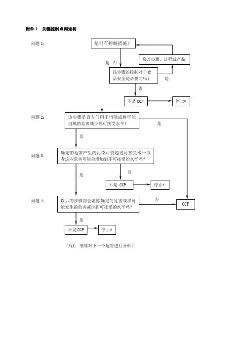
附件1 关键控制点判定树
(*注:继续对下一个危害进行分析)
附件2 产品描述表
附件3 危害分析工作单
附件4 HACCP计划表
附件5 纠偏记录表
附件6 其他记录表格示例
HACCP工作组名单
原料接收记录原料名称:
执行者审核者审核日期
包装材料验货记录
材料名称:
执行者审核者审核日期
辅料称量记录
产品名称:日期
审核者审核日
辅料使用情况记录
辅料名称:
计量器具管理记录车间
计量员
热加工记录名称重量批号日期
监测者审核者
温度计校正记录
审核者审核日期:
冷却记录
名称重量
批号日期
监测者审核者
金属检查记录
车间
冷库管理记录
冷库编号日期
关键限值℃
纠偏措施记录
车间:
审核者日期。
原料评价表ABC虾公司日期:检查时间货号:声明的重量实际重量商标:原产地国家包装者:虾类型卖方:加工类型样品号 1 2 3 4 5 6 实际的颜色冷冻重量解冻的重量数量/公斤ct/磅%皮%个数%壳污点外来物%肉污点脱水%断腿%无尾的亚硫酸盐纹理磷酸盐%刺漂白%脱色盐臭味不新鲜亚硫酸盐使用证书(是/否)评审者日期供应商保证函东海湾渔业公司ABC虾公司XXXXX:兹证明,根据你的购买要求,这批冷冻虾未经任何亚硫酸盐化合物处理过。
—东海湾批次号XXXX。
质量控制主任:东海湾渔业公司年月日供应商保证函东海湾渔业公司ABC虾公司XXXXX:兹证明,根据你的购买要求,这批冷冻虾未经任何亚硫酸盐化合物处理过。
—东海湾批次号XXXX。
质量控制主任:东海湾渔业公司年月日虾蒸煮机记录ABC虾公司日期:关键限值:212F(100℃)3分钟生产者:产品:单冻熟虾操作者:生产线号货号时间蒸汽温度水银温度计(℃)蒸汽温度记录仪(℃)蒸煮时间(分钟)是否符合关键限值说明0342:34pm101.1101.13.2是0433:30pm101.1101.13.2是0534:28pm99.4 98.93.1否见纠正措施 0534:29pm100 100 是蒸汽值调整 0535:01pm100.61003.1是评审者:日期:如果偏离关键限值,通知轮班监督员,分离和确认受影响的产品。
注释:连续的温度监控是通过温度计记录仪进行的。
操作者4小时检查一次时间和温度。
操作者应在最后一个记录时,确保达到关键限值。
通过用秒表确定通过蒸汽通道需多长时间来进行时间检查,要每天比较水银温度和温度记录仪的差别。
当4:28下午发生偏差时,实施表10记录的纠正措施,在下午5:01期间,温度检查;温度记录仪的读数低于水银温度计,这种情况下可以接受,但若温度记录仪的读数高于水银温度计则不可接受。
虾蒸煮机记录ABC虾公司日期:关键限值:212F(100℃)3分钟生产者:产品:单冻熟虾操作者:生产线号货号时间蒸汽温度水银温度计(℃)蒸汽温度记录仪(℃)蒸煮时间(分钟)是否符合关键限值说明0342:34pm101.1101.13.2是0433:30pm101.1101.13.2是0534:28pm99.4 98.93.1否见纠正措施 0534:29pm100 100 是蒸汽值调整 0535:01pm100.61003.1是评审者:日期:如果偏离关键限值,通知轮班监督员,分离和确认受影响的产品。
FSMS/HACCP认证业务范围及认可情况明细表A2:基于CNAS-CC18食品安全管理体系认证机构要求的业务范围分类表A2表说明:A2.1 此业务范围分类是在CNAS-GC18《食品安全管理体系认证机构认证业务范围管理实施指南》附录 A《食品链分类表》的基础上细化而成。
A2.2 业务范围的风险分级:上表中标注“﹡”号的种类为一级风险,此类认证项目的管理应符合MSWM11-04《高风险认证管理作业指导书》的要求。
其余为二级风险。
A2.3 专业分组及专业覆盖:根据对认证业务范围专业特点的分析与风险评估,考虑食品风险的控制的相似性及相关的国家标准,确定认证业务范围的专业分组及专业覆盖。
以下是上表中关于专业分组及专业覆盖使用符号的说明:∪:表示并列关系。
如,A∪B,表示这两个专业类别所需的专业能力相同。
凡具备A类专业的人员可以实施对B类专业的审核活动;同时,凡具备B 类专业的人员也可实施对A类专业的审核活动。
>:表示包容关系。
如A>B,表示具备A类专业能力的人员可以实施B类专业的审核活动,但反之不成立。
<:表示被包容关系。
如A<B,表示A类专业可由具备B类别专业能力的人员实施审核,反之不成立。
例:C06<C01表示C01专业的审核员可以实施C06专业的审核;反之,C06专业的审核员不能够实施C01专业的审核。
E02<E表示E02专业可以由E中任一专业的审核员实施审核活动。
A2.4:在认证受理时,针对具体产品种类,还需参照表A1确定是否有适宜的专项技术要求,只有具备专项技术要求的项目才能开展ISO22000食品安全管理体系的认证活动。
A2.5:相关专业的认可资格请参照A1中“是否被CNAS认可”的标注。
A1:基于CNAS—CC61食品安全管理体系认证机构通用要求的业务范围明细表A1表说明:根据认监委官方网站2007年7月18日发布的《关于食品安全管理体系认证审批政策的说明》中界定:依据GB/T22000(ISO22000)开展的认证定义为“食品安全管理体系认证”(简称FSMS认证);依据HACCP相关技术规范开展的认证为“HACCP认证”。
XXXX食品有限公司HACCP计划验证记录表HACCP计划名称:蒸汽杀菌HACCP企业名称:XXXXX食品有限公司验证类型:□定期验证□修改后验证□其他:验证人员:XXXXXXXX验证日期:验证项目1.评价产品和加工过程终产品和原辅料的产品描述是否与实际相符?产品预期用途的描述是否与实际相符?流程图是否与实际相符?实际操作是否与工艺描述相符?单项验证结论相符相符相符相符备注加工设备有否改变?对食品安全有无影响?工作人员有否变化?对食品安全有无影响?产量是否改变?对食品安全有无影响?2.评价产品安全历史是否存在过多的CCP偏离?同类产品是否存在不止一次采取产品召回行动?是否存在新的或突发危害?是否存在涉及产品安全的消费投诉?3.评价HACCP计划的实施情况检查关键控制点是否按HACCP计划的要求被监控?CCP是否控制了危害?检查加工过程中是否按确定的关键限值操作?CCP的关键限值是否恰当?检查记录是否准确并按要求的时间来完成?监控是否按HACCP计划规定的地点予以完成?监控活动的频率是否符合HACCP计划的规定?监控方法和监控频率是否能够识别偏离?当监控表明发生了关键限值的偏离时,是否采取了纠偏行动?纠偏措施应纠正偏离的原因,确保无不安全食品出售。
监控设备是否按HACCP计划规定的频率已予校准?增加设备,生产出来的食品比之前更加安全无改变,无影响无改变,无影响不存在不存在不存在不存在是,按计划进行了监控;并控制了危害是,按确定的限值操作;关键限值恰当准确,按要求的时间完成是,按计划规定的地点完成是,按规定的计划;能够识别偏离尚无发生过偏离监控设备按计划规定频率校准合格是否对CCP进行了验证(CCP监视设备的校准、校准记录的审查、对CCP进行了验证,针对性的取样检验、CCP记录的审查)?验证结果有效是否有对最终产品进行了微生物检测?HACCP计划记录表单(CCP点的监控记录、纠偏记录、验证记录、设备校准记录、HACCP体系确认记录、支持性文件相关记录)是否得到很好保存?是,微生物检测结果符合产品内控要求是,相关记录表格保存良好总结论:□HACCP计划的实施达到了预期效果。
HACCP计划验证确认记录表.docXXXX 食品有限公司HACCP 计划验证记录表HACCP计划名称:蒸汽杀菌HACCP企业名称: XXXXX食品有限公司验证类型:□定期验证□修改后验证□其他:验证人员: XXXXXXXX 验证日期:验证项目单项验证结论备注1. 评价产品和加工过程终产品和原辅料的产品描述是否与实际相符? 相符产品预期用途的描述是否与实际相符? 相符流程图是否与实际相符? 相符实际操作是否与工艺描述相符? 相符增加设备,生产出来加工设备有否改变 ?对食品安全有无影响 ? 的食品比之前更加安全工作人员有否变化 ? 对食品安全有无影响? 无改变,无影响产量是否改变 ? 对食品安全有无影响? 无改变,无影响2. 评价产品安全历史是否存在过多的 CCP偏离 ? 不存在同类产品是否存在不止一次采取产品召回行动? 不存在是否存在新的或突发危害 ? 不存在是否存在涉及产品安全的消费投诉? 不存在3. 评价 HACCP计划的实施情况检查关键控制点是否按HACCP计划的要求被监控?CCP是否控制了是,按计划进行了监危害? 控;并控制了危害检查加工过程中是否按确定的关键限值操作? CCP 的关键限值是是,按确定的限值操否恰当? 作;关键限值恰当检查记录是否准确并按要求的时间来完成? 准确,按要求的时间完成监控是否按 HACCP计划规定的地点予以完成? 是,按计划规定的地点完成监控活动的频率是否符合HACCP计划的规定 ?监控方法和监控频是,按规定的计划;率是否能够识别偏离? 能够识别偏离当监控表明发生了关键限值的偏离时,是否采取了纠偏行动 ?纠偏尚无发生过偏离措施应纠正偏离的原因,确保无不安全食品出售。
监控设备是否按 HACCP计划规定的频率已予校准? 监控设备按计划规定频率校准合格是否对CCP进行了验证(CCP监视设备的校准、校准记录的审查、对 CCP进行了验证,针对性的取样检验、CCP记录的审查) ? 验证结果有效是否有对最终产品进行了微生物检测? 是,微生物检测结果符合产品内控要求HACCP计划记录表单(CCP点的监控记录、纠偏记录、验证记录、是,相关记录表格保设备校准记录、HACCP体系确认记录、支持性文件相关记录)是存良好否得到很好保存?总结论:□HACCP计划的实施达到了预期效果。
HACCP认证全套表格
原料验收监控记录表CCP1 KL039B 公司名称:产品描述:
公司地址:山东省XX市XX路XXX号销售和储存方法:在-18℃储存、运输、销售。
预期用途和消费者:作为再加工原料或加热充
漂烫监控记录表CCP2 KL040A
公司名称:产品描述:
公司地址:山东省XX市XX路XXX号销售和储存方法:在-18℃储存、运输、销售。
预期用途和消费者:作为再加工原料或加热充
分煮熟后供一般公众食用。
消毒监控记录表CCP2 KL040B
公司名称:XX益寿食品有限公司产品描述:
公司地址:山东省XX市XX路XXX号销售和储存方法:在-18℃储存、运输、销售。
预期用途和消费者:作为再加工原料或加热充
分煮熟后供一般公众食用。
金属探测器监控记录CCP3 KL041A 公司名称:产品描述:
公司地址:山东省XX市XX路XXX号销售和贮存方法:在-18℃贮藏、运输、销售。
预期用途:作为再加工原料或加热充分煮熟后
供一般公众食用。
纠偏记录表
公司名称:产品描述:
公司地址:山东省XX市XX路XXX号销售和储存方法:在-18℃储存、运输、销售。
预期用途和消费者:作为再加工原料或加热
充分煮熟后供一般公众食用。
车间卫生检查记录KL064
审核人:审核日期:
加工车间安全卫生管理检查表编号:工厂车间:年月日
清洗监控记录
日期:品名/规格:追溯号:品管员:
审核人:审核日期:
不合格品处理记录
日期:品名:品管员:
余氯检查记录KL059A
审核人审核时间。