残疾人证评定流程图
- 格式:doc
- 大小:25.50 KB
- 文档页数:1
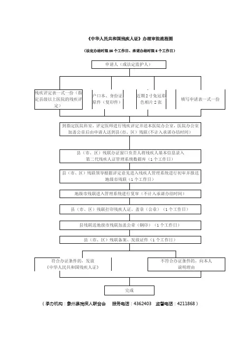
残疾人证办理程序一、申请(一)首次申办残疾人证申请人需持居民身份证、户口簿原件及复印件(一式二份)和8张近期两寸彩色白底免冠照片(光面相纸,显示头部正面,人像占三分之二,可见双耳,五官清晰,不能佩戴饰品;申请视力残疾者可戴有色眼镜),到户籍所在地连队或者居住社区提出办证申请。
单位需如实填写残疾人证申请表、残疾人证评定表(一式二份),申请人是未成年人或智力、精神类残疾人需同时提供法定监护人的身份证、户口簿等具有法律效力的证明材料。
1.申请人是精神疾病患者在发病期不能到现场办理申请手续的,可由直系亲属或法定监护人到居住地单位提出申请;没有直系亲属、监护人的,由其住所地的社区、连队代为提出申请。
2.申请人因身体原因不能亲自申请残疾人证时,应以书面形式,授权委托代理人申请残疾人证。
授权委托书应当注明代理人的姓名、身份证号、代理事项,并有申请人签名。
3.代理人可代为申请人申领残疾人证。
但出现对原申领的残疾人证有异议或办证部门认为的其他情形的,必须由申请人本人到办证部门提出申请。
4.因病致残、因意外伤害致残,不能直观认定者,须在治疗期终结、康复期满1年后方可提出申请。
5.言语障碍者须年满3周岁,精神障碍者须年满2周岁后,方可提出申请。
(二)补办残疾人证残疾人证遗失,应及时报告所在社区,户籍地连队或者基层残联声明作废后可申请补办。
第一次补办残疾人证的编号在原20位编号后加“B1”,第二次补办加“B2”,依次类推。
(三)变更残疾人证持证人的姓名、出生日期等个人身份信息、监护人信息发生变化需变更残疾人证内容的,须持证人本人(智力、精神类残疾人和未成年残疾人须法定监护人)凭身份证、残疾人证、户口簿和户籍所在地派出所出具的信息变更、更正证明,到基层残联办理信息变更手续。
经师市残联审核相关证明材料后,如情况属实,换发新证,同时收回旧证并统一销毁。
如材料证据不充分,不予变更。
(四)迁移残疾人证残疾人户口迁移的同时须办理残疾人证迁移手续。
街道残疾人联合会权力运行流程图 1.残疾人信访维权职权流程图
2.办理残疾证审核、发放工作职权流程图
3.无障碍设施监督监察工作职权流程图
4.残疾人家庭无障碍设施改造工作职权流程图
5.残疾人机动轮椅车燃油补贴职权流程图
6.安置、扶持残疾人就业工作职权流程图
7.残疾人职业技能培训工作职权流程图
8.残疾人学生和生活困难残疾人子女助学补助办理职权流程图
9.残疾人个人参加社会保险补贴工作职权流程图
10. 发放残疾人助残补贴劵职权流程图
11. 残疾儿童康复补助职权流程图
12. 盲人定向行走训练工作职权流程图
13. 残疾辅助器具购买补贴职权流程图。
精神残疾鉴定鉴定流程精神残疾鉴定是指对个体的精神状态进行评估和鉴定,以确定其是否存在精神残疾,以及残疾程度的一种程序。
精神残疾鉴定流程通常包括以下步骤:第一步,申请鉴定。
申请精神残疾鉴定的个体或其监护人需要向当地的相关部门提交书面申请,申请材料通常包括个人基本信息、病史资料、相关医疗证明等。
申请材料的准备需要充分且准确,以确保鉴定程序的顺利进行。
第二步,初步评估。
一般情况下,申请人提交申请后,相关部门会安排专业的医疗人员对申请人进行初步评估。
初步评估的目的是了解申请人的基本情况,包括精神状态、行为表现、日常生活能力等。
评估结果将为后续的鉴定提供重要参考。
第三步,深入评估。
在初步评估的基础上,如果初步评估结果显示申请人可能存在精神残疾,相关部门将安排专业的精神科医生或心理医生对申请人进行深入评估。
深入评估通常包括面对面的临床访谈、心理测验、观察申请人的日常行为等,以全面了解申请人的精神状态。
第四步,鉴定报告。
基于初步评估和深入评估的结果,相关专业人员将撰写鉴定报告。
鉴定报告将对申请人的精神状态进行详细描述,并给出鉴定结论,即是否存在精神残疾,残疾程度如何。
鉴定报告的撰写需要严谨、客观、准确,确保鉴定结论的科学性和可信度。
第五步,鉴定结果反馈。
鉴定报告完成后,相关部门将向申请人或其监护人反馈鉴定结果。
如果鉴定结果确认存在精神残疾,相关部门将根据鉴定结果为申请人提供相应的帮助和服务,包括康复治疗、社会保障等。
总结。
精神残疾鉴定是一项严肃而复杂的程序,需要专业的医疗人员和心理专家参与,确保鉴定结果的客观性和科学性。
申请人及其监护人需要配合相关部门的工作,提供准确完整的申请材料,并积极配合评估和鉴定工作。
精神残疾鉴定的目的在于为申请人提供更好的帮助和服务,帮助其更好地融入社会,提高生活质量。
西湖镇办理《老年优待证》申请流程图
西湖镇城乡居民最低生活保障申报流程图
西湖镇城乡困难群众医疗救助申报流程图
西湖镇困难群众阳光救助申报流程图
西湖镇居家养老服务申报流程图
西湖镇城镇居民低收入家庭申报流程图
西湖镇经济适用房申报流程图
西湖镇廉租房申报流程图
西湖镇农村五保供养申请申报流程
西湖镇救灾救济工作流程图
西湖镇殡葬救助工作流程
西湖镇残疾人残疾证办理流程
西湖镇残联救助工作流程。
残疾人评定流程图
残疾人评定流程图
一、评定申请
1.1 提交评定申请表格
1.2 附上相关证明材料
1.3 记录评定申请日期
二、初步审核
2.1 检查评定申请表格是否完整
2.2 验证相关证明材料的真实性和准确性
2.3 分类初步审核通过或不通过
三、面试及身体检查
3.1 安排面试时间和地点
3.2 进行面试,了解残疾人的病史、日常生活情况等3.3 进行身体检查,评估残疾程度和影响范围
3.4 记录面试和身体检查结果
四、专家综合评议
4.1 将面试和身体检查结果提交给专家评议组4.2 专家进行综合评议,确定残疾程度
4.3 专家评议组出具评议报告
五、评定结果通知
5.1 通知申请人评定结果
5.2 解释评定结果及相关处理方法
5.3 提供申请人对评定结果的异议申请通道
六、评定结果备案
6.1 评定结果备案
6.2 归档评定申请表格和相关证明材料
6.3 记录评定结果备案时间
附件:
1:评定申请表格样本
2:相关证明材料清单
3:评定结果备案表格
法律名词及注释:
1:残疾人:指具有生理、智力、精神或多重功能障碍,导致长期丧失常人日常生活能力和社会参与能力的人,按照国家标准进行评定。
2:评定申请表格:残疾人评定过程中用于申请评定的表格,包括个人基本信息、残疾证明材料等内容。
3:专家评议组:由相关领域的专家组成的评议团队,负责对残疾人的面试和身体检查结果进行评议,确定残疾程度。
4:评定结果备案:将评定结果进行正式记录和归档的过程,确保评定结果的准确性和可追溯性。
残疾等级评定的程序是怎样的残疾等级评定的程序是怎样的?我们需要注意些什么?下面,为了帮助大家更好的了解相关法律知识,我整理了以下的内容,希望对您有所帮助。
残疾等级评定的程序是怎样的
一、单位填写《伤病职工劳动能力鉴定表》一式三份,贴上因工负伤或患职业病职工的相片并加盖公章,由医师填写伤病诊断治疗经过并签名。
二、因工负伤或患职业病职工持《伤病职工劳动能力鉴定表》到指定医院作检查诊断。
诊断结论(附相关的检查和化验结果)须由两名医师签名(其中一名必须具备主治医师以上职称),并由指定医院医务科、防治科或预防保健科加盖公章。
诊断结论有效期为半年。
三、市级劳动能力鉴定机构根据诊断结论、相关的检查及化验结果,依据国家制定的《职工工伤与职业病致残程度鉴定标准》。
对因工负伤或者患职业病职工残疾等级、护理依赖程度和丧失劳动能力情况作出结论。
以上就是我总结的相关内容,如果您还有相关法律学习或者其他事项不明白的可以致电在线解答,的专业知识能够帮助到你。
申请办理残疾证明的步骤与所需材料办理残疾证明是为了让残疾人享受相关福利政策和优惠待遇。
下面我将详细介绍申请办理残疾证明的步骤以及所需材料。
一、申请办理残疾证明的步骤:
3.提供个人资料和相关证明:在申请表格上需填写个人身份信息等基本资料,同时需要提供相关证明材料,包括但不限于以下内容:-户口迁移证(如有);
-离退休证或劳动关系证明(如有);
-医院诊断证明书;
-离职证明或辞职报告(如有);
-相关治疗的病案费等收据。
4.现场审查和面试:递交完申请材料后,相关部门会对所提供的资料进行审查,可能会要求进行个人面试。
面试内容一般包括对残疾类型、程度等进行进一步了解和核实。
面试时应如实回答问题,提供必要的证明材料。
5.等待审批结果:递交申请后,需要耐心等待审批结果。
审批时间一般需要几个工作日到几个月不等,具体时间视当地政策和流程而定。
二、所需材料:
1.个人基本资料:
-户口迁移证(如有)。
2.工作情况证明(如适用):
-离退休证或劳动关系证明;
-离职证明或辞职报告。
3.医疗证明:
-医院诊断证明书;
-治疗收据等相关资料。
4.相关照片:
-尺寸照片。
总结起来,办理残疾证明的步骤包括准备、填表、提供个人资料和相
关证明、面试、审批和领证等阶段。
所需要的材料主要包括个人基本资料、工作情况证明、医疗证明和相关照片。
希望以上信息对您办理残疾证明有
所帮助。
办理残疾证的流程和所需证件资料残疾证是由国家有关部门为残疾人颁发的一种证明身份和享受相应优惠政策的证件。
办理残疾证可以为残疾人提供一些特殊的权益保障,帮助他们更好地融入社会生活。
下面将介绍办理残疾证的流程和所需证件资料。
一、办理流程:1.提交申请:残疾人或其法定代理人需亲自到当地县级以上残疾人联合会或残疾人福利机构提交申请。
申请时,需填写《残疾人证发放申请表》,并提供相关资料。
3.实地调查:根据需要,残疾人联合会或残疾人福利机构可能会进行实地调查,以了解残疾人的实际情况。
4.审批:经过审核和调查后,残疾人联合会或残疾人福利机构将根据实际情况做出审批决定。
如果符合条件,将发放残疾证,并将残疾人的信息录入残疾人信息管理系统。
5.领取残疾证:申请人将在规定的时间内到指定地点领取残疾证。
二、所需证件资料:2.残疾鉴定证明:提供残疾鉴定委员会出具的有效残疾鉴定证明。
残疾鉴定证明是申请办理残疾证的核心材料,需要具备法律效力,由残疾人鉴定委员会或指定医疗机构出具。
3.近期照片:提供申请人本人近期正面免冠彩色照片一张,一般要求尺寸为二寸。
4.户口簿:提供户口簿原件和复印件。
5.相关医疗证明:如病历、诊断证明、出院小结等。
根据残疾类型的不同,可能需要提供相应的医疗证明。
6.其他相关证明材料:如婚姻状况证明、收入证明、就业证明等。
这些资料的需求会因地区政策的不同而有所差异。
除了上述具体的证件资料外,办理人还需要注意以下事项:1.不同地区的办理流程和所需资料可能有所差异,具体要以当地政策为准。
2.办理残疾证需要本人亲自前往相关机构办理,若有需要,可以委托亲属或其他特定人员代办。
总之,办理残疾证是为残疾人提供一些特殊的权益保障,帮助他们更好地融入社会生活。
残疾证的申请流程相对简单,但所需证件资料是办理的核心,完整准确的材料可以加快审批进度,保证办理顺利。
一、残疾人证申请办理流程图
(二)残疾人就业保障金征收流程图
注:1.用人单位应缴残疾人就业保障金数=(单位上年底实际在职职工人数×应安排比例数1.5%—在岗残疾人职工人数)×上年度当地年平均职工工资。
《河北省残疾人就业保障金征缴管理实施办法》第十五条对未经批准,未申报和未按时足额缴纳残疾人就业保障金的单位,从9月1日起,按日加收5‰的滞纳金。
滞纳金数额由主管地税机关认定后,与残疾人就业保障金一并征收。
对拒不缴纳的单位,按照河北省人民政府令第188号第十七条的规定执行。
2.年审资料:(1)《按比例安排残疾人就业年审表》;(2)本单位所安置残疾人的《中华人民共和国残疾人证》原件;(3)四个证照副本复印件(不需要带原件):《营业执照》或有关部门核准成立的登记证;《社会保险登记证》;《组织机构代码证》;《税务登记证(地税)》;(4)会计凭证账册内的工资发放表;(5)残疾职工劳务合同及《个人缴费历史信息表》等社会保险缴费情况资料;(6)单位《社会保险费险种申报汇总表》等社会保险缴费情况资料。
残疾证办理鉴定条件及流程图下载温馨提示:该文档是我店铺精心编制而成,希望大家下载以后,能够帮助大家解决实际的问题。
文档下载后可定制随意修改,请根据实际需要进行相应的调整和使用,谢谢!并且,本店铺为大家提供各种各样类型的实用资料,如教育随笔、日记赏析、句子摘抄、古诗大全、经典美文、话题作文、工作总结、词语解析、文案摘录、其他资料等等,如想了解不同资料格式和写法,敬请关注!Download tips: This document is carefully compiled by theeditor. I hope that after you download them,they can help yousolve practical problems. The document can be customized andmodified after downloading,please adjust and use it according toactual needs, thank you!In addition, our shop provides you with various types ofpractical materials,such as educational essays, diaryappreciation,sentence excerpts,ancient poems,classic articles,topic composition,work summary,word parsing,copy excerpts,other materials and so on,want to know different data formats andwriting methods,please pay attention!一、残疾证办理鉴定条件1. 肢体残疾:因意外伤害、疾病、先天性等原因导致肢体功能障碍,影响日常生活和工作能力。
个人办残疾证流程残疾证是由政府颁发的一种证明身体残疾程度的证件。
持有残疾证可以享受国家和社会的各种优惠政策和服务,如残疾人就业、教育、医疗、交通等方面的优惠。
本文将介绍个人办理残疾证的流程。
第一步:确定残疾类型首先需要确定自己的残疾类型,包括视力残疾、听力残疾、言语残疾、肢体残疾、智力残疾和精神残疾等。
不同类型的残疾需要提供不同的证明材料和检查报告。
可以通过医院、残疾人协会等渠道咨询相关信息。
第二步:收集证明材料根据自己的残疾类型,收集相应的证明材料。
一般需要提供以下材料:1. 《残疾人证明书》或医院的残疾证明2. 本人身份证复印件3. 户口本或居住证明复印件4. 照片1张5. 相关检查报告(如视力、听力、肢体功能等)如果是未成年人,还需要提供监护人的身份证复印件和监护关系证明。
第三步:选择申请途径个人办理残疾证可以选择以下几种途径:1. 到当地残疾人联合会或残疾人协会申请2. 到当地社区事务受理中心申请3. 在网上申请,具体操作方法可参考当地政府网站或残疾人服务网站。
第四步:填写申请表格根据选择的申请途径,填写相应的申请表格。
一般需要填写个人基本信息、残疾情况、家庭情况等内容。
填写时需要注意填写清楚、准确,如有不清楚的地方可以咨询相关工作人员。
第五步:提交申请材料将填好的申请表格和相关证明材料一并提交到相应的申请机构,如残疾人联合会、社区事务受理中心或网上申请平台。
提交时需要注意材料的齐全和正确性,避免因材料不全或错误导致申请失败。
第六步:等待审核申请提交后,需要等待相关部门进行审核。
一般情况下,审核时间为1-2个月左右。
审核通过后,将通知申请人到指定地点领取残疾证。
第七步:领取残疾证审核通过后,申请人可以到指定地点领取残疾证。
领取时需要携带身份证原件和申请时提交的材料原件。
领取后需要认真核对证件内容是否正确,如有错误需要及时联系相关部门更正。
总结个人办理残疾证的流程并不复杂,只要准备好相关证明材料,按照流程逐步操作,就能顺利办理。
初次办理残疾证的流程
第二步:准备材料
在开始办理残疾证之前,需要准备一些必要的材料,包括:
2.相关证明材料:根据残疾类型的不同,需要准备相应的医学证明和
检查报告等,如残疾诊断证明、病历资料等;
3.照片:提供一寸或二寸免冠彩色照片。
第三步:选择机构并填写申请表
第四步:提交材料
填写完申请表后,将申请表和相关的材料一并交到选定的机构。
根据
不同的机构和地区,可能需要缴纳一定的办理费用或按规定办理相关的手续。
第五步:审核
提交材料后,机构将对所提交的材料进行审核。
审核的目的是核实申
请人的身份信息和残疾类型是否符合规定的条件。
对于审核中发现的问题,机构可能会要求申请人提供补充材料或进行再次审核。
第六步:体检
在申请材料审核通过后,机构会通知申请人进行相关的体检。
体检的
目的是验证残疾情况,并进一步确立残疾类型和等级。
具体的体检项目和
方式可能因地区和机构而异,一般包括临床检查、医学影像、实验室检验等。
第七步:领证。
残疾人鉴定流程标准残疾人鉴定是指通过对个体身体、智力和心理等方面进行综合评估,确认其残疾程度和类型的过程。
残疾人鉴定的标准和流程在不同国家和地区可能会有所不同,下面是一个参考内容,介绍了残疾人鉴定的基本流程和标准。
1.鉴定机构和人员的选择:残疾人鉴定应由专门的鉴定机构和经过专业培训的鉴定人员进行。
这些机构和人员应具备相关专业知识和技能,能够准确评估个体的身体、智力和心理情况。
2.鉴定申请和资料提交:个体或其监护人可以向鉴定机构提交残疾鉴定申请,申请表格中应提供个体的基本信息和相关资料,如身份证明、医疗记录、教育报告等。
鉴定机构会根据这些信息来了解个体的情况,并决定是否进行鉴定。
3.面试和观察:鉴定人员会与个体进行面试,了解其日常生活、工作、学习以及社交情况。
同时,鉴定人员还会对个体的行为、语言表达、社交互动等进行观察,以获取更多信息。
4.体检和相关测试:个体需要接受身体和智力方面的各种测试。
身体方面的测试可能包括检查身高、体重、视力、听力等。
智力方面的测试可能包括智商测验、认知功能测验等。
这些测试可以帮助鉴定人员了解个体的身体和智力状况。
5.专家评估和报告:鉴定机构还可以请相关领域的专家参与评估工作。
这些专家可以提供更深入的专业意见和评估,进而确定个体的残疾类型和程度。
根据评估结果,鉴定机构会出具鉴定报告,详细说明个体的残疾情况和对其生活、工作、学习等方面的影响。
6.鉴定结果的确认和复核:完成鉴定后,鉴定机构会与个体或其监护人进行沟通,说明鉴定结果并解答相关问题。
如果个体或其监护人对鉴定结果有异议,可以向鉴定机构提出申诉,要求进行复核。
7.鉴定结果的使用:鉴定结果可以作为残疾人享受相关福利和政策的依据,如残疾津贴、就业援助、教育资源等。
同时,鉴定结果也能帮助个体和其家人更好地了解个体的特殊需求,为其提供更合适的支持和服务。
需要指出的是,以上是一个一般的残疾人鉴定流程和标准的参考内容,实际情况可能因地区和国家的不同而有所差异。