物业质量保修协议
- 格式:doc
- 大小:35.00 KB
- 文档页数:3
小区物业防水维修协议书8篇篇1甲方(物业管理方):__________________乙方(业主方):______________________鉴于甲方负责小区物业管理服务,乙方为小区业主,双方就小区物业防水维修事宜达成如下协议:一、协议目的双方同意遵循平等、自愿、公平的原则,共同合作解决小区物业防水维修问题,确保居民的正常生活和财产安全。
二、维修范围及内容1. 维修范围:本次维修涉及小区内公共区域及业主共有部分的防水工程,包括但不限于屋顶、地下车库、地下室、楼道等区域的防水设施。
2. 维修内容:包括但不限于防水材料的更换、防水结构的修复、渗漏部位的整改等。
三、维修期限本协议签订后,甲方应在合理期限内开始维修工作,并尽可能短的时间内完成全部维修任务。
如遇特殊情况需延期,甲方应及时通知乙方,并共同协商解决方案。
四、费用承担1. 维修费用:本次防水维修工程所需费用由甲方承担。
2. 费用支付方式:甲方应按照实际工程量及预算费用进行支付,确保维修工作顺利进行。
3. 乙方配合:乙方应提供必要的协助和配合,如提供维修所需资料、协调业主关系等。
五、质量保证1. 甲方应选用优质防水材料,确保维修工程的质量。
2. 维修工程完成后,甲方应提供一定期限的质量保修服务,质量保修期限不低于____年。
3. 若在质量保修期内出现质量问题,甲方应及时进行免费维修。
六、安全责任1. 甲方在维修过程中应严格遵守安全操作规程,确保施工安全。
2. 若因甲方原因导致安全事故,甲方应承担全部责任。
3. 乙方应提供必要的安全保障措施,确保维修工作顺利进行。
七、违约责任1. 若甲方未能按照协议约定完成维修任务,应承担违约责任,并赔偿乙方因此造成的损失。
2. 若乙方未能提供必要的协助和配合,导致维修工作无法顺利进行,乙方应承担相应责任。
八、争议解决1. 本协议的履行过程中发生的争议,双方应友好协商解决。
2. 若协商不成,任何一方均可向所在地人民法院提起诉讼。
2023年工程质量保修协议书2023年工程质量保修协议书1发包方:(以下简称甲方)承包方:(以下简称乙方)甲乙双方根据《中华人民共和国建筑法》、《建设工程质量管理条例》和《房屋建筑工程质量保修办法》,经协商一致,对签定工程质量保修书。
一、工程竣工后回访制度1、乙方所完成的工程,在通过有关部门竣工验收后,在质量保修期内,应主动向甲方或者甲方委托的项目物业管理公司进行工程使用过程回访,知晓自己所承担施工的工程存在哪些质量缺陷,便于双方总结经验,在以后的'工程施工中得以解决提高。
2、回访时间为质量保修期开始后每月回访一次,直至质量保修期届满。
3、回访对象为:甲方或者甲方委托的项目物业管理公司。
二、工程质量保修范围和内容1、乙方在质量保修期内,按照有关法律、法规、规章的管理规定和双方约定,承担施工合同约定的所有施工承包范围内工程质量保修责任。
2、凡属于乙方原因造成的工程各部位的质量问题或其他缺陷,及由于乙方维修造成业主的相关损失,均属于乙方保修责任范围,不属于甲方责任。
三、质量保修期保修期限为壹年,实际的保修期从工程实际竣工验收并交付使用之日起计算。
四、质量保修金:本工程质量保修金按本工程结算总价的%计取。
五、质量保修金的返还:质保期满壹且乙方在质保期内正常履行义务后7个工作日内由甲方无息退还。
六、质量保修责任1、保修期内凡属乙方原因出现质量问题,乙方应免费维修、更换;如因甲方使用不当或保养不善引起的故障或设备损坏,乙方负责有偿维修(只收取材料费,不收取人工费)。
2、保修期内更换的配件必须是原厂商生产的新配件,换下的配件属于乙方的财产,更换上去的配件则成为甲方的财产。
3、在保修期内,一般情况下乙方应在接到甲方事故通知后的48小时内派人进行维修,发生紧急抢修事故的,乙方在接到事故通知后,应当立即到达事故现场抢修。
4、发生下列情况时,甲方可委托他人修理,因此产生的一切费用(包括但不限于人工费、材料费、违约赔偿金、因此给甲方造成的其他损失)由甲方直接从质量保修金内扣除,不足部分由乙方在5日内补足,并补足原有的质量保修金:(1)乙方未能按照甲方的要求派人修理或在合理期限内无法修复;(2)乙方对同一部位经两次维修仍未修复的5、质保期内如出现设备、材料更换情况,则所更换设备、材料的质保期从更换之日起重新计算。
# 温州市住宅物业保修金银行保函使用协议## 一、协议双方甲方(业主):_________________________乙方(银行):__________________________## 二、协议目的为确保住宅物业保修金的有效管理和使用,甲方同意将住宅物业保修金存入乙方,并由乙方出具银行保函,以保障甲方的权益。
## 三、保修金金额及存入### 3.1 保修金金额甲方应存入的住宅物业保修金金额为人民币(大写):________________________元整。
### 3.2 存入时间甲方应在本协议签订之日起______日内将上述保修金存入乙方指定账户。
## 四、银行保函的出具### 4.1 保函内容乙方应在收到甲方存入的保修金后______个工作日内出具银行保函,保函金额与甲方存入的保修金金额相等。
### 4.2 保函有效期银行保函的有效期自出具之日起至住宅物业保修期满后______个月。
## 五、保修金的使用### 5.1 使用条件甲方在住宅物业保修期内,如发现质量问题需要维修,可凭银行保函向乙方申请使用保修金。
### 5.2 使用程序甲方应向乙方提供质量问题的详细说明及维修费用的预算,乙方在审核无误后,按程序支付相应的保修金。
## 六、保修金的退还### 6.1 退还条件保修期满后,若无质量问题或质量问题已妥善解决,乙方应在______个工作日内将保修金退还给甲方。
### 6.2 退还程序乙方在确认无质量问题后,将保修金及相应利息退还至甲方指定账户。
## 七、违约责任### 7.1 甲方违约若甲方未按期存入保修金,应向乙方支付违约金,违约金为未存入金额的______%。
### 7.2 乙方违约若乙方未按期出具保函或未按期退还保修金,应向甲方支付违约金,违约金为违约金额的______%。
## 八、争议解决本协议在履行过程中如发生争议,双方应协商解决;协商不成的,可向乙方所在地人民法院提起诉讼。
质量保修期承诺书•相关推荐关于质量保修期承诺书范文(精选5篇)在社会发展不断提速的今天,需要使用承诺书的事情愈发增多,承诺书具有完全自愿的特点。
那么一般承诺书是怎么写的呢?以下是小编整理的关于质量保修期承诺书范文(精选5篇),希望对大家有所帮助。
质量保修期承诺书1如果我单位中标,我单位自愿承诺如下:1、承诺工程工期:本工程预计开工时间为年月日,竣工时间为年月日,工期为日历天。
2、承诺工程质量等级为合格。
3、承诺工程质量保修期为年。
4、响应-招标文件所有条款,无投标单位不能接受的条件。
承诺人:年月日质量保修期承诺书2甲方(建设单位):————————乙方(施工单位):————————甲乙双方根据《中华人民共和国建筑法》、《建设工程质量管理条例》、《房屋建筑工程质量保修办法》,经双方协商一致,签订工程质量保修协议。
项目名称:一、工程质量保修范围和内容乙方在质量保修期内,按照有关法律、法规、规章的管理规定和双方约定,承担本工程保修责任。
质量保修范围包括地基基础工程、主体结构工程、屋面防水工程、有防水要求的厨、卫房间和外墙的防渗漏,供热与供冷系统,电气管线、给排水管道、设备安装和装修工程,以及双方约定的其他项目。
具体保修的内容,双方约定如下:乙方负责施工的所有工程项目,如出现施工质量缺陷或施工质量隐患,乙方必须履行保修义务,特别是出现以下情形(不在乙方承包范围的项目除外)时:1、楼地面、屋面、墙面渗漏水;2、烟道、排气孔道、风道和设备管道等管道不通或泄露;3、楼地面沉陷、空鼓、开裂、起沙;4、内外墙及顶棚抹灰、油漆等装饰面及结合层开裂、脱落,或墙面起碱脱皮;5、门窗变形、门窗五金配件及门锁损坏、开启关闭不灵或缝隙超过规范规定及渗漏水等;6、厨房、卫生间地面泛水倒坡积水;阳台、露台、走廊、屋面倒坡积水;7、厨房、卫生间等有防水要求的部位渗漏水;8、室内外上下水管道及其他管道渗漏水、堵塞;9、强弱电系统不能正常使用,电气设备及开关、插座故障,线路漏电、短路;10、钢筋砼、砖石砌体结构及其他承重结构出现变形裂缝;11、施工产生的其他质量缺陷。
质保协议书质保协议书范本篇一、质保协议书范本协议编号:协议签订地:甲方:(以下简称甲方)乙方:(以下简称乙方)本协议以双方签定的采购合同为基础,就甲方从乙方采购的零件或商品有关乙方质量、供应保证、“三包”服务签订如下协议。
一、目的本协议对于乙方供给甲方的产品,制定了与产品质量有关质量保证准则,以防止双方在解决产品质量问题方面而产生纠纷,谋求产品质量的提高及售后服务工作的完善为宗旨。
二、遵守法律、法规1、乙方为甲方提供的产品应遵守相关的最新国家标准或行业标准。
2、乙方以接收甲方正式的采购合同为标准,如果乙方判甲方的采购合同、相关技术文件与最新国家标准或行业标准相矛盾,要立即向甲方报告、协商。
三、质量保证的对象乙方为甲方提供的所有产品均作为质量保证的对象,对于所供产品双方需要制定一个明细(做到一物一明细),作为本协议的附件。
四、产品质量保证1、为了确保订货产品满足甲方质量要求,乙方应通过对订货产品的开发、设计、物资采购、制造、检查、保管、运输等全过程的质量监控,确立经济且有效的质量保证体系。
2、乙方对重要原材料(重要材料签订协议时提供给甲方确认)进行严格的进货检验和批次管理。
3、乙方交付给甲方的产品性能必须满足双方签定的有关产品图纸、技术协议及相关标准等方面的规定和规格要求。
4、甲方提出的任何质量投诉,乙方应立即采取更正行动予以改进,并在24小时内反馈给甲方。
5、乙方的产品出现质量问题时,甲方有权要求乙方进行例行试验(含国家权威机构的第三方试验),实验结果为乙方责任,乙方应免费按时向甲方提交所供产品的例行试验报告。
6、如发生以下事项,甲方有权要求乙方支付产生费用:乙方交货时间超出订单合约交期(交期延误)造成甲方生产停止。
乙方生产的配件在甲方入厂检验时,因品质问题乙方不能及时处理。
乙方生产的配件在甲方生产过程中,发生品质异常而造成甲方停产或已生产的产品返工、返修。
因乙方配件质量问题造成甲方产品,出厂后发生的质量事故(如退货等)。
保修协议书4篇保修协议书篇1甲方:(以下简称甲方)电话:传真:地址:乙方:(以下简称乙方)电话:甲、乙双方本着互利互惠的原则,就甲方单位计算机的维护服务问题,经充分协商,决定订立本协议一、合作的内容甲方自愿将本单位的计算机交给乙方维护,具体配置见配置清单。
乙方提供上门服务。
合同期为________年。
甲方共有计算机_____台给乙方维护,共需要维护费用______元(b)年;在合同期内,甲方如果新增电脑,维护费用另议。
该款项自合同签署后,甲方每(季度)付清商议服务款项给乙方。
按(每)季度付_____元(包年)。
该合同总计甲方需首付给乙方服务费_______元(b),大写__________________元(b)。
二、上门服务项目服务项目描述1、电脑各类故障检修无法启动,不能进入系统,运行速度减慢,常死机,电子邮件设置等,操作系统重装2、各类外设维护 de、打印机、扫描仪3、系统软件安装 98.2、等4、工具软件安装及维护 ffce、acdee、金山词霸等市面常用软件5、增加及更换电脑板卡及部件 c、主板、内存、显卡、声卡、电源6、电脑升级给客户最佳的升级方案,用最少的花费做到最好的性能7、各类硬件驱动程序安装各类显卡、声卡、de8、查杀电脑病毒各类电脑病毒(分区病毒、文件病毒、邮件病毒)查杀9、数据备份光盘或硬盘备份(所需的备份介质由客户提供)10、各类网络维护安装网络设备安装、设置、检测,网络服务器维护(大规模的网络变动,费用另计)三、硬件维护的范围:电脑各类硬件维护及故障检测。
1、服务费不包含电脑部件(如显示器、光驱、软驱及板卡等)修理费用,甲方可委托乙方送修,部件修好后,乙方将为甲方送回及安装,修理费用按实际修理费收取,不另收取服务费。
2、甲方所需增加或更换的电脑部件,甲方可委托乙方代购,不另收服务费,保修期由厂家提供。
3、甲方需购买的所有电脑配件和电脑耗材,乙方在同等条件下有优先采购权。
物业零星维修服务协议合同书6篇篇1甲方(业主):__________,身份证号码:__________,联系电话:__________,详细地址:__________。
乙方(物业公司):__________,统一社会信用代码:__________,联系电话:__________,公司地址:__________。
根据《中华人民共和国合同法》及其他有关法律、法规的规定,甲、乙双方在平等、自愿、协商一致的基础上,就甲方委托乙方进行物业零星维修服务的事宜,达成如下协议:一、服务内容乙方提供的服务内容包括但不限于:1. 房屋结构维修:包括房屋主体结构、墙面、地面、天花板等部位的维修。
2. 管道维修:包括上、下水管,暖气管等管道系统的维修。
3. 电气设备维修:包括电线、电缆、开关设备、照明设备等电气系统的维修。
4. 空调设备维修:包括空调系统的维修和保养。
5. 消防设施维修:包括消防栓、灭火器、消防水带等消防设施的维修和保养。
6. 其他零星维修服务。
二、服务期限本协议的服务期限为一年,自XXXX年XX月XX日起至XXXX年XX月XX日止。
服务期满如需续签,双方应提前一个月协商。
三、服务费用及支付方式1. 服务费用:根据乙方提供的服务项目,甲方应支付相应的服务费用。
具体费用标准由双方协商确定。
2. 支付方式:甲方应在服务期满后一次性支付服务费用给乙方。
乙方在收到款项后,应向甲方提供正规的发票。
四、服务质量及保证1. 乙方应确保服务质量符合甲方的要求。
对于甲方提出的合理要求,乙方应及时响应并妥善处理。
2. 乙方应提供足够的维修人员,确保在接到甲方维修请求后能够迅速到达现场并进行维修。
3. 乙方应定期对维修人员进行培训和教育,提高维修人员的专业技能和服务意识。
4. 乙方应确保使用的维修材料符合相关标准和要求,严禁使用假冒伪劣产品。
5. 对于因乙方原因导致维修质量不合格的,乙方应重新进行维修,并承担相应的责任和费用。
物业维修合同范本6篇第1篇示例:物业维修合同范本甲方:(委托方)__________乙方:(维修方)__________根据《中华人民共和国合同法》及相关法律法规的规定,为确保物业设施的正常运行与维护,甲乙双方经友好协商达成如下协议,以确保物业设备的日常维护保养及紧急维修等服务的顺利进行:一、维修内容1. 甲方将委托乙方对物业设备进行定期维护保养、日常维修和紧急维修等服务。
2. 物业设备包括但不限于电梯、水电设施、消防设备、暖通空调、电气设备等。
3. 维修范围包括设备故障排除、设备维护保养、设备检查和相关问题的处理等服务。
二、维修期限1. 本合同自双方签订之日起生效,至____年____月____日终止。
2. 维修期限内,乙方负责对物业设备进行定期检查、维护和紧急维修等服务,并确保设备正常运行。
三、维修报酬1. 甲方应按照约定的标准向乙方支付维修报酬。
2. 维修费用包括人工费、材料费、差旅费等,具体费用以维修服务需求为准。
四、维修责任1. 乙方应保证对物业设备进行定期维护保养、维修和紧急处理等服务,确保设备正常运行。
2. 如果因乙方维修不当导致设备损坏或故障,乙方应承担相应赔偿责任。
3. 在维修过程中,如遇重大问题需更换设备或进行大额维修,应经双方协商确定后进行操作。
五、违约责任1. 若任何一方未履行或者违反本合同的约定,应承担违约责任。
2. 对于因不可抗力导致的维修延期或无法履行合同的情况,双方互相谅解,但需尽力减少损失。
六、其他条款1. 双方应保持合作关系,友好沟通,共同维护物业设备的使用权益。
2. 本合同一式两份,甲乙双方各执一份,具有同等法律效力。
3. 其他未尽事宜,由双方另行协商解决。
甲方(委托方):______ 乙方(维修方):______签订日期:______签订日期:______以上为物业维修合同范本,双方应认真履行合同约定,确保物业设备的正常运行和维护保养,共同维护物业环境的良好秩序。
物业质量保修协议
甲方(开发商):江西新龙基置业有限公司
乙方(施工方):
丙方(物管方):
根据国家建设部《房屋建筑工程质量保修办法》内相关条款规定,开发商对于新交付使用的住
宅在正常使用条件下应按建设部《房屋建筑工程质量保修办法》中相关条款规定的最低保修期限实
行保修。为规范保修责任事宜,做好保修工作,经甲,乙,丙三方协商,确定由乙方自行担负保修
责任,并订立如下协议:
一、乙方保修的房屋地址为本市 庄园路100号绿地兰宫
小区 等栋号。建筑面积 平方米,其
中住宅 平方米,公建配套用房 平方米,商场面积 平方米。
二、保修内容及期限(下述保修内容按建设部《房屋建筑工程质量保修办法》中相关条款的最低年
限标准计算。)
正常使用情况下,商品房各项目保修期限如下:
1. 地基基础工程、主体结构为设计使用年限。
2. 屋面、厨房、卫生间、门窗、外墙防渗漏:5年。
3. 装修工程:2年。
4. 电气管线:2年。
5. 给排水管道:2年。
6. 设备安装:2年。
7. 墙面、顶棚抹灰层脱落、裂缝1年。
8. 门窗变形,五金件损坏:1年。
9. 卫生洁具:1年。
10.灯具、电器开关6个月。
11.管道堵塞:2个月。
上述未包括项目可以协商确定保修期,未尽项目三方另行协商确定。
注:由于业主装修改变或错误使用造成损坏的项目不在保修范围内。
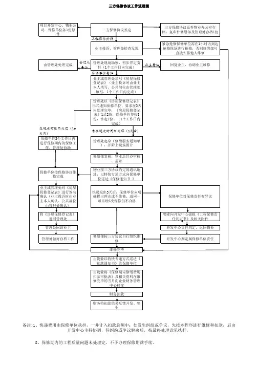
三、对于上述房屋的日常业主报修,严格按照以下程序进行:
1.乙方应安排专人在丙方工程部,以便及时跟进业主报修,快速给予处理。
2.所有业主报修由丙方出面接待登记。
3.业主报修内容若乙方有疑义可经甲方、丙方核实以分清责任。
4.丙方对业主报修汇总后向乙方报修,报单一式三联(甲方、乙方与丙方各留一联)。
5.乙方接通知后凭报修单至现场维修(限时完成),维修结束后由甲方、乙方、业主在报修单
上共同签字认可。
6.乙方将完成的报修单回交丙方,丙方接单回访,征询意见。
四、在上述修理过程中,经各方同意,如出现下列情况之一的,为确保业主利益和甲方利益,丙方
有权自行组织人员进行修理直至完成,丙方将修理后有业主签字的报修单和实际发生的工程量
汇总后上报甲方,甲方对审核确认后的相应工程量按定额直接费的3倍费用,另加10%的税金
及管理费用,从乙方工程款或保修款中扣除:
1.乙方在接到报修单六小时内(急修:即如果不马上采取有效措施必将导致一系列影响及不良
情况出现的报修项目),小修二天内、大修三天内未到位修理的,特殊情况可与业主约定时间。
2.乙方在同一报修点两次修理均未好或造成其它后果的。
3.乙方对业主向丙方报修的项目未修理到位而引起业主直接至甲方投诉的。
4.乙方在报修事实形成后的24小时内未能及时至丙方处领取该维修事项工作联系单的。
5.乙方未能按照本协议及维修工作联系单规定的时间内完成维修工作,且事前乙方又未向丙方
提供任何书面说明材料的;此种情况下乙方尚须承担因自身工作失误而直接导致的其它所有经
济责任。
五、损害赔偿责任及认定:
1.乙方应于本协议规定日期内完成维修工作,并通知甲方负责维修事务的专人与丙方工程人员
同至维修现场检查后,再经业主或者业主委托人签字认可,方可在《维修工作联系单》予以签字
确认维修完工,最后由三方负责维修事务的专人将《维修工作联系单》各自存档。
2.如存在特殊情况难以在本协议规定日期内完成维修工作,乙方可向丙方说明情况,并以书面
材料的形式报送至丙方的物业管理中心,如未做说明的,则按未完成施工处理,转由丙方维修。
3.保修范围和期限内因损坏或乙方修理造成业主人身、财产损害需要进行经济赔偿的,由乙、
丙方与业主协商,将协商初步意见经丙方交由业主签字后,书面报告甲方,甲方经审核后支付
相应款项给业主,并从乙方工程保修款中扣除。
4.若业主因赔偿事宜提出过高要求,丙方须及时将协商情况通报甲、乙方,甲方负责、丙方配
合进一步协商,若仍未果,业主和甲、乙方均可通过法律途径予以解决。
六、维修费用确认及保修款支付
1.保修期内,乙方应按月于每月底前及时派专人确认上月相关的维修费用,逾期视为乙方无条
件认可相关的维修费用。
2.保修期满,根据丙方对保修期限内乙方职责的履行情况予以书面认可后,甲方方可支付乙方
工程保修余款。
甲方联系人: 电话: 传真:
乙方联系人: 电话: 传真:
丙方联系人: 电话: 传真:
七、本协议与原上海绿地集团南昌房地产事业部2006年2月23日签发的(2006)第005号文
《绿地集团南昌事业部项目维修管理细则》有矛盾的地方,以本协议为准。
八、本协议一式叁份,三方各执一份。经三方签字盖章后生效,并将作为房屋今后保修责任追
溯和法律解决的依据。
甲方(开发商) 代表
乙方(施工方) 代表
丙方(物管方) 代表
签约日期: 年 月 日