LCD液晶显示器高压板电路图纸
- 格式:pdf
- 大小:250.57 KB
- 文档页数:1
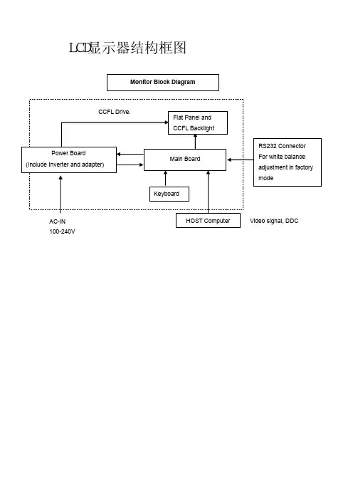
一台完整的液晶一般由液晶屏、主板、按键板以及高压板组成(又称升压板),另外,在一些特殊的液晶彩显中还带有音频板以及USB插口板等。
而早期的高压板均为独立型的高压板,即:需要由一个12V电源的电源盒来提供,另有部份机子主电源与升压板是连在一起的。
先来讲讲液晶屏的构造再讲升压板原理或许各位会听得更明白些。
目前,市场上液晶屏主要有三星、中华、奇美等等,而追其构造,均由液晶粒子屏、玻璃、信号处理板及灯管等组成!一方面,主板上提供的信号经信号处理板解码后送到液晶粒子屏,推动液晶粒子翻转,这时是看不到亮画面的,因方没有背灯管(即贴在液晶左右背处,即上面说的灯管)的照射光,只有背景一点黑暗的图象。
另一方面,主板产生信号后,紧接着升压板也开始工作,推动灯管发光,并在背灯管的照射下,液晶显示器才能显示完整的图象。
在了解以上的大概状况后,我们不难理解:升压板的作用就是点亮灯管!!!的确是这样,升压板的作用就是推动灯管发光,以产生背景照亮灯。
但是,话又说回来,灯管如同日光管一样,其内部充满了氖气,要想让它发光,必须在其未点亮前产生1500V的高压来击发内部的气体,一旦气体导通后,则必须要有600~800V电压、9MA左右的电流供其发光,这就使得普通的12V或者市电的220V电压跟本达不到其要求,因此必须升压。
而此时,所有发光的条件都满足了,背灯管当然就发光了。
是这样的,这时背灯管是发光了,而且如果给主板加信号的话,画面就出来了,没错一切似乎都正常。
但是,大家要明白,多数的液晶显示器是由直流电压控制开关的(即开关只控制主板信号,不能关掉12V),这时,如果关机会出现什么现象????大家想想,主板至液晶屏控制信号是切断了,但升压板呢,背灯管没关掉呀,没关掉当然就一直亮着,亮着当然在关机时就出现全白的显示(呵呵,这样不仅浪费电,而且很难看呀),为此必须从主板中引出一路控制升压板上脉宽IC供电电压,即控制电压(根据机型及厂家设计状况,由高低两种电压控制,一般均为3."3或5V控制),只有有了控制电压,才能保证升压板上的供电随着开关机器而通断(另有一部份机子是控制IC振荡等)。
液晶显示器高压逆变电路原理液晶显示器的背光灯(CC FL)需很高的交流电压才能够点亮,但是电源电路或外置电源适配器提供的电压最高也不过十几伏,因此就需要一个电压变换电路来把电源电压转换成适合CCFL正常工作所需要的电压,这个电路就是高压逆变电路(即Inverter)。
目前高压逆变电路应用最多的芯片有TLl451、OZ960等,其组成方框图如图1所示。
图一从图1可知液晶显示器的高压逆变电路和TWO WAY架构的CRT显示器高压电路差不多,所不同的是LCD高压电路多了亮度调节的控制接口,输出电压比较低(最高不过2kV),采用的多是贴片元件,体积非常小,最终输出的是高频正弦交流电,而非CRT显示器高压电路所需要的直流电。
本电路故障率高居液晶显示器故障之首,本期通过对一款采用TL1451为控制芯片的四灯高压板电路的剖析来介绍高压逆变电路的维修方法。
图2是松下LC40液晶显示器高压板电路图。
1TLl451芯片在开关电源电路、LCD显示器高压逆变电路都有广泛的应用,该芯片由基准电源、对称三角波振荡器、误差放大器、定时器和PWM比较器等部分组成。
利用它可以组成各种开关电源和控制系统,不仅能使开关电源和控制系统简化,容易维修,降低成本,而且更重要的是能降低系统的故障率,提高系统设备运行的可靠性。
它适应电源电压范围宽,可以在3.6~40V的单电源下工作,具有短路和低电压误动作保护电路。
为了便于读者理解其工作原理,给出内部结构图如图3所示。
液晶显示器高压逆变电路的原理图二3从图2可知,这是一个采用两两并联方式的四灯驱动电路,两个主驱动电路结构基本相同,本文以IC2这路为例,来讲述其工作原理。
1.Inverter启动在需要点亮显示器时,CN1的第⑤脚接收到控制电路传来的高电平开启指令,此高电平加到Q1的④脚,该脚接受的高电平最终使其②一③脚间的晶体管导通,电源适配器供给的+14V电压通过Q1的②一③脚加到PWM控制芯片IC2(TL1451)的电源供电⑨脚,C1、C29是IC2的供电滤波电容,当其上电压超过3.6V 时,TL1451内部三角波发生器开始振荡,从⑩脚输出脉宽受控的驱动脉冲,控制Q3、Q2的导通程度,即提供给Q4可变的工作电压,Q4及T1组成的变压器耦合自激振荡电路得电工作,产生点亮CC FL所需要的高频高压。
液晶显示器电源电路图220V交流市电通过交流保险管F101后进入由CXl01、LFl01等组成的抗干扰电路,经抗干扰电路处理后再进入BDl01进行整流。
为了防止瞬间大电流冲击,在整流后加入了THl01 NTC热敏电阻,最后经C101滤波生成约300V的直流电压。
从中可以看出,本电路不同于其他显示器开关电源的地方,一是THl01的位置不同(一般电路多设置在电源进线端),另一点就是未设置电源开关,从而决定了只要插头接人市电,整个开关电源电路就开始工作,这也恰恰是借助于FAN7601优良的“绿色”功能来实现的。
整流滤波电路产生的约300V直流电压分两路输入开关电源电路,一路经开关变压器T1的①一②绕组加到开关管Q101的漏极。
另一路通过启动电阻R117加到开关电源PWM控制器FAN7601的①脚,通过启动控制电路由⑦脚对外部电容c108充电,当C108两端电压上升到11V时,FAN7601内部振荡电路起振,从⑥脚输出驱动脉冲,通过D103、R106、R107加到Q101栅极,使开关管工作于开关状态。
开关变压器各绕组有感应电压产生,通过各整流滤波系统向负载提供直流电压。
其中开关变压器的③-④绕组产生感应电压经R105限流、D102滤波后向FAN7601的⑦脚提供芯片工作电压,第 1 页启动控制电路关断①脚的电流输入。
第 2 页在以往的开关电源维修中,尽管采用启动电阻功率比较大但依然是易损元件之一,而且发热量也比较大,实际上就是由于通电后启动电阻一直有电流通过的原因。
而在这款电源中,启动电阻却采用了一个0Ω的贴片元件,是明显区别于其他电路的,这里我们学习到新型“绿色电源芯片”内部都设有一个启动开关,一旦电源达到正常工作状况(启动过程结束),就会切断启动电阻器,这样便可省去一大部分的功率损耗。
其电路本身的故障率也接近于零该机稳压控制电路主要由U101、光电耦合器PC201、精密稳压器件U201(KIA431)及取样电阻R205、R211、R214、R210等组成。
V260B1-C01 配机芯有:8K60MAX1518包括一个高性能升压调节器、两个线性稳压控制器以及大电流运算放大器,用于有源矩阵薄膜晶体管(TFT )液晶显示器(LCD )。
器件还包括一个逻辑控制、具有可调节延时的高压开关。
V315B3-C01 配机芯有8M19TPS65161的20、21、22:电源输入Vin; 此IC 与外围电配合可产生几路电压:VGH :23V V AAP :13.5V VGL :负5V VDA : VON : VOFF : VLOGIC :3.3V 等32寸奇美屏驱动板(屏供电12V )V320B1-C03 配机芯有:8M10FP5138:电源管理芯片,升压、降压、升降压转换IC ,驱动能力强,可以很好的提供LCD 屏正负偏设计方案,各组电压输出稳定,还可以适用于7—12寸LED 液晶屏背光升压垣流驱动。
有短路保护、开路保护、软启动功能,工作电压1.8—15V ,工作电流5.5mA 。
1脚:FB 反馈 2脚:SCP 保护/软启动 3脚:VCC 供电 4脚:CTL 控制 5脚:OUT 输出 6脚:GND 地 7脚:OSC 振荡 8脚:COMP 补偿V296W1-C1,X7 配机芯有:8TG5V296W1-C1逻辑板电路主要有三大部分组成:1.由U4(CM2651B-KQ )为核心的时序与逻辑控制电路,主要功能是将串行的LVDS 信号变成并行的控制信号,用于薄腊晶体管的控制或驱动;2.由U7—U11(HX8904TA 、HX8904SA )为核心的伽玛放大电路,主要是将伽玛信号进行适当的放大,控制薄膜晶体管,实现画面对比度的调整;3.由UP1(FA3269A V )为核心的DC-DC 变换电路,主是是将主板送来的5V 供电变成VGH (20V )、VDA (15V )、VGL (—5V )、V5V (5V )、VDD (3.3V )等等,用于屏驱动供电,此逻辑板损坏的最多的地方就是这部分,易损坏元件为UP1、QP5、DP3、UP2、RP37、LP2电感等等。
液晶彩电高压板电路构成高压板电路(逆变器)是一种DC-AC(直流-交流)变换器,它的工作过程就是开关电源工作的逆变过程。
开关电源的作用是将市电电网的交流电压转变为稳定的Vcc电压(12V或24V),而高压板电路正好相反,它是将开关电源输出的Vcc电压(12V或24V)转变为高频(40~80kHz)的高压(600~800V)交流电。
高压板电路的种类较多,根据驱动电路的不同,主要有以下几种构成方案。
一、 "PWM控制芯片+Royer结构驱动电路"构成方案1."PWM控制芯片+Royer结构驱动电路"构成方案的基本结构形式图1所示是"PWM控制芯片+Royer结构驱动电路"构成方案的基本结构形式。
从图中可以看出,该高压板电路主要由驱动控制电路(振荡器、调制器)、直流变换电路、Royer结构驱动电路、电压和电流检测电路、CCFL等组成。
在实际的高压板中,常将振荡器、调制器、保护电路集成在一起,组成一块小型集成电路,一般称为PWM控制芯片。
图1中的ON/OFF为振荡器启动/停止控制信号输入端。
该控制信号来自主板微控制器(MCU),当液晶彩电由待机状态转为正常工作状态后,MCU向振荡器送出启动工作信号(高/低电平变化信号),振荡器接收到信号后开始工作,产生频率40~80kHz的振荡信号送入调制器,在调制器内部与MCU部分送来的PWM亮度调整信号进行调制后,输出PWM激励脉冲信号,送往直流变换电路,使直流变换电路产生可控的直流电压,为Royer结构的驱动电路功率管供电。
功率管及外围电容c1和变压器绕组L1(相当于电感)组成自激振荡电路,产生的振荡信号经功率放大和升压变压器升压耦合,输出高频交流高压,点亮背光灯管。
图1"PWM控制芯片+Royer结构驱动电路"构成方案的基本结构形式。
为了保护灯管,需要设置过电流和过电压保护电路。
过电流保护检测信号从串联在背光灯管上的取样电阻R上取得,输送到驱动控制芯片。
冠捷TFT1780PS液晶彩显黑屏故障检修文章出处:javie 发布时间:2011/12/01 | 2129 次阅读故障现象:黑屏,拔下与主机联接线,仔细看屏幕上隐约有一图形在移动,电源指示灯亮,由此判断是高压背光灯电路有故障。
拆开显视器,此机是二块电路板,一块数字板,一块模拟板(电源和背光灯驱动)。
拆下模拟板,用万用表在线检查各路元件,发现Q201、Q202两三极管正反向电阻无明显差别,Q201、Q202是U201(BA9741F)⑨脚的供电电路,由CPU通过CN102(与数字板联接的插座)①脚高电平控制Q201、Q202控制12V电源向U201集成电路供电,如果坏了U201就不能正常工作。
U201是双路脉宽调制集成电路,它控制背光灯的高压驱动电路。
Q201、Q202是贴片元件,上面的型号又看不清,不知是什么类型的三极管。
只有通电状态下检测,由于灯管连线太短,不能联接到电路板上来,为了安全,通电之前先拆下L201、L202断开背光灯高压电路部份电源。
联接上数字板,通电按电源开关,电源指示灯亮,测Q201 B极电压是5V(正常应为0.7V左右,关机测是0V),C极13V(正常应是1V左右),Q202 B极13V(正常应是1V左右),E极14V,C极0V(正常应是12V),测试结果说明Q201、Q202损坏。
Q201、Q202是贴片元件,一时购不到,只好用常用的C1815代Q201,用A1015代Q202.拔下电源线及数字板联接线,调好风枪温度,将Q201、Q202拆下,将代用的两三极管平贴电路板安装好,再次通电测试,Q202 C极是12V U201⑨脚供电正常。
装上L201、L202,装好液晶屏,插上电源开机无信号小方块出现在屏中。
装好外壳,联接上主机开机,一切恢复正常。
下面是印刷电路板图。
联想GJ15L2型液晶显示器高压逆变电路的工作原理文章出处:辉跃发布时间:2011/11/09 | 2620 次阅读原理分析该显示器的高压逆变电路是南IC1(BA9741F)控制芯片及Q4、Q6、Q7、Q8、Q9、Ql0及外同元件组成,它是一个两组共四灯并联式驱动电路,是由逆变开启/关闭控制电路;灯管亮度控制电路;高压发生电路;输出电路和保护电路组成,有关电路见图1所示。