第四章 小容量 注射剂
- 格式:ppt
- 大小:97.00 KB
- 文档页数:21
小容量注射剂生产工艺规程通则第一章总则第一条为了确保小容量注射剂生产过程的安全、有效和规范,提高药品质量,保护人民群众的生命健康,根据《药品生产质量管理规范》和相关法律、法规的要求,制定本工艺规程。
第二条本工艺规程适用于小容量注射剂的生产工艺规范,包括原辅料采购、生产工艺、质量控制等环节。
第三条小容量注射剂是指每支容量在2毫升以下的注射剂。
第四条小容量注射剂的生产工艺应按照国家药典等标准进行,确保产品的质量和安全性。
第二章原辅料采购第五条原辅料采购应符合国家相关法律、法规的要求,确保原辅料的质量和安全性。
第六条采购的原辅料应具有有效正式的质量合格报告,符合国家药典等标准。
第七条采购的原辅料应有合格供应商提供,并签订正式的质量协议。
第八条采购的原辅料应按标准存放、保管,防止受潮、受热和污染。
第三章生产工艺第九条小容量注射剂的生产工艺应按照国家药典等标准进行,包括原料配制、灭菌、灌装、包装等环节。
第十条原料配制环节应采用准确的称量、计量设备,严格按照工艺要求进行操作,确保原材料的准确性和有效性。
第十一条灭菌环节应使用符合标准的灭菌设备和方法,确保产品在灭菌过程中不受微生物的污染。
第十二条灌装环节应使用合适的灌装设备,确保注射剂的容量和质量稳定,并避免产品的污染。
第十三条包装环节应采用符合标准的包装材料和包装方法,确保产品在包装过程中的安全性和完整性。
第四章质量控制第十四条小容量注射剂的质量控制应按照国家药典等标准进行,包括原料质量控制、生产过程控制、成品质量控制等环节。
第十五条原料质量控制包括原料的质量监控和验证,确保原料的质量符合要求。
第十六条生产过程控制包括原料配制、灭菌、灌装、包装等环节的控制,确保各个环节操作合格。
第十七条成品质量控制包括对灭菌合格样品的检验和灌装合格样品的检验,确保产品的质量符合要求。
第十八条生产过程中应保存相关记录,包括原料采购记录、配制记录、灭菌记录、灌装记录等。
第五章现场管理第十九条生产现场应符合国家相关法律、法规的要求,设立合适的操作空间,确保生产过程的卫生和安全。
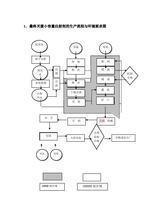
1.最终灭菌小容量注射剂的生产流程与环境要求图2.小容量注射剂验证检查要点小容量注射剂指将配制好药淮灌入小于50ml安瓿内的注射剂.根据药品新版GMP原则要求,结合注射剂生产影响药品质量的关键环节,提出小容量注射剂GMP检查要点,旨在督查药品生产企业质量保证体系和实际运行状态。
检查组须对如下内容按照药品GMP要求,逐一核实。
1、机构与人员a)主管生产和质量管理的企业负责人、生产管理和质量管理部门负责人均应具有医药或相关专业大专以上学历,并具有药品生产和质量管理经验,并履行其职责。
b)企业负责人和各级管理人员应定期接受药品管理法律法规培训。
c)质量检验、生产、维修保养、清洁人员应定期进行卫生和微生物学基础知识、洁净作业等方面的培训和考核,并具有实际操作技能。
2、厂房设施的管理要点及检查重点a)洁净区:我国《药品生产质量管理规范》对最终灭菌的无菌药品生产厂房洁净度级别的要求是:浓配或采用密闭系统的稀配应在100000级洁净区内进行;稀配、滤过、灌封、直接接触药品的包装材料的最终处理等操作应在10000级洁净区内进行;物料、中间品应经过物流缓冲间或传递柜进、出洁净区。
称量配料间如产尘应与洁净走廊呈相对负压,必要时设捕尘设施.中国药典规定: 微生物限度检查、无菌检查应在100级或10000级背景下的局部100级区内进行,并与生产区分开。
微生物限度检查与无菌检查用的实验室和空气净化系统最好彼此分开,以尽可能减少对无菌检查的干扰。
b)空气净化系统应能确保洁净区的洁净度级别、温湿度、压差等符合生产工艺要求并经过验证。
初效、中效过滤器应明确清洗/更换周期,高效过滤器应定期检测其完整性,如有泄漏或阻塞应及时更换。
空气净化系统应每天24小时运行,停用后再次运行应进行清洁、消毒并经过再验证,符合要求的方可开始生产。
c)与产品直接接触的压缩空气、氮气、二氧化碳等辅助设施这些气体因与产品直接接触,不得对产品带来污染。
应对系统进行验证。
1. 最终灭菌小容量注射剂的生产流程与环境要求图2.小容量注射剂验证检查要点小容量注射剂指将配制好药淮灌入小于50ml安瓿内的注射剂。
根据药品新版GMP原则要求,结合注射剂生产影响药品质量的关键环节,提出小容量注射剂GMP检查要点,旨在督查药品生产企业质量保证体系和实际运行状态。
检查组须对如下内容按照药品GMP要求,逐一核实。
1、机构与人员a)主管生产和质量管理的企业负责人、生产管理和质量管理部门负责人均应具有医药或相关专业大专以上学历,并具有药品生产和质量管理经验,并履行其职责。
b)企业负责人和各级管理人员应定期接受药品管理法律法规培训。
c)质量检验、生产、维修保养、清洁人员应定期进行卫生和微生物学基础知识、洁净作业等方面的培训和考核,并具有实际操作技能。
2、厂房设施的管理要点及检查重点a)洁净区:我国《药品生产质量管理规范》对最终灭菌的无菌药品生产厂房洁净度级别的要求是:浓配或采用密闭系统的稀配应在100000级洁净区内进行;稀配、滤过、灌封、直接接触药品的包装材料的最终处理等操作应在10000级洁净区内进行;物料、中间品应经过物流缓冲间或传递柜进、出洁净区。
称量配料间如产尘应与洁净走廊呈相对负压,必要时设捕尘设施。
中国药典规定:微生物限度检查、无菌检查应在100级或10000级背景下的局部100级区内进行,并与生产区分开。
微生物限度检查与无菌检查用的实验室和空气净化系统最好彼此分开,以尽可能减少对无菌检查的干扰。
b)空气净化系统应能确保洁净区的洁净度级别、温湿度、压差等符合生产工艺要求并经过验证。
初效、中效过滤器应明确清洗/更换周期,高效过滤器应定期检测其完整性,如有泄漏或阻塞应及时更换。
空气净化系统应每天24小时运行,停用后再次运行应进行清洁、消毒并经过再验证,符合要求的方可开始生产。
c)与产品直接接触的压缩空气、氮气、二氧化碳等辅助设施这些气体因与产品直接接触,不得对产品带来污染。
应对系统进行验证。
小容量注射剂生产工艺
小容量注射剂是指容量在1毫升以内的注射剂,其生产工艺包括原料准备、配方调配、制剂工艺、灭菌和包装等环节。
首先是原料准备。
原料包括溶剂、药物、辅料等。
溶剂主要用于配制注射剂的溶剂系统,可以是水、油剂或乳剂等。
药物则是注射剂的主要有效成分,根据药物性质和剂型要求选择合适的药物。
辅料则用于调节药物的性状和溶解度等。
原料的准备包括检验原料的质量和纯度,然后对其进行称量和分装等操作。
接下来是配方调配。
根据注射剂的配方要求,将准备好的原料按照一定比例混合和溶解。
配方调配需在洁净的操作台上进行,操作人员要穿戴合适的防护服和手套等,以确保产品的安全性和质量。
然后是制剂工艺。
首先是制剂中的卫生问题,如操作人员要保持身体清洁,操作的容器和设备要经过严格的清洁和消毒,以防止细菌污染。
然后是药液的配制和溶解,按照一定的工艺步骤和工艺参数进行操作。
接着是药物的过滤,以去除杂质和微生物等。
最后是制剂的灭菌处理,常见的灭菌方法有高压蒸汽灭菌和紫外线辐射灭菌等。
最后是包装。
合格的注射剂需要进行适当的包装,以确保产品的密封性和稳定性。
包装材料应符合药品包装要求,防止外界物质的污染。
包装工艺包括灌装、倒瓶、贴标签、瓶盖装封等。
包装后的产品要进行质量检验,包括外观检查、容量检测、溶解度测定等,以确保产品符合药典的规定。
总之,小容量注射剂的生产工艺包括原料准备、配方调配、制剂工艺、灭菌和包装等环节。
每个环节都需要严格按照工艺要求进行操作,以确保产品的安全性和质量。
小容量注射剂的工艺流程设备及要求下载温馨提示:该文档是我店铺精心编制而成,希望大家下载以后,能够帮助大家解决实际的问题。
文档下载后可定制随意修改,请根据实际需要进行相应的调整和使用,谢谢!并且,本店铺为大家提供各种各样类型的实用资料,如教育随笔、日记赏析、句子摘抄、古诗大全、经典美文、话题作文、工作总结、词语解析、文案摘录、其他资料等等,如想了解不同资料格式和写法,敬请关注!Download tips: This document is carefully compiled by theeditor.I hope that after you download them,they can help yousolve practical problems. The document can be customized andmodified after downloading,please adjust and use it according toactual needs, thank you!In addition, our shop provides you with various types ofpractical materials,such as educational essays, diaryappreciation,sentence excerpts,ancient poems,classic articles,topic composition,work summary,word parsing,copy excerpts,other materials and so on,want to know different data formats andwriting methods,please pay attention!小容量注射剂的工艺流程、设备及其要求小容量注射剂,通常是指容量在5毫升以下的注射液,广泛应用于医疗领域。
1. 最终灭菌小容量注射剂的生产流程与环境要求图2.小容量注射剂验证检查要点小容量注射剂指将配制好药淮灌入小于50ml安瓿内的注射剂。
根据药品新版GMP原则要求,结合注射剂生产影响药品质量的关键环节,提出小容量注射剂GMP检查要点,旨在督查药品生产企业质量保证体系和实际运行状态。
检查组须对如下内容按照药品GMP要求,逐一核实。
1、机构与人员a)主管生产和质量管理的企业负责人、生产管理和质量管理部门负责人均应具有医药或相关专业大专以上学历,并具有药品生产和质量管理经验,并履行其职责。
b)企业负责人和各级管理人员应定期接受药品管理法律法规培训。
c)质量检验、生产、维修保养、清洁人员应定期进行卫生和微生物学基础知识、洁净作业等方面的培训和考核,并具有实际操作技能。
2、厂房设施的管理要点及检查重点a)洁净区:我国《药品生产质量管理规范》对最终灭菌的无菌药品生产厂房洁净度级别的要求是:浓配或采用密闭系统的稀配应在100000级洁净区内进行;稀配、滤过、灌封、直接接触药品的包装材料的最终处理等操作应在10000级洁净区内进行;物料、中间品应经过物流缓冲间或传递柜进、出洁净区。
称量配料间如产尘应与洁净走廊呈相对负压,必要时设捕尘设施。
中国药典规定:微生物限度检查、无菌检查应在100级或10000级背景下的局部100级区内进行,并与生产区分开。
微生物限度检查与无菌检查用的实验室和空气净化系统最好彼此分开,以尽可能减少对无菌检查的干扰。
b)空气净化系统应能确保洁净区的洁净度级别、温湿度、压差等符合生产工艺要求并经过验证。
初效、中效过滤器应明确清洗/更换周期,高效过滤器应定期检测其完整性,如有泄漏或阻塞应及时更换。
空气净化系统应每天24小时运行,停用后再次运行应进行清洁、消毒并经过再验证,符合要求的方可开始生产。
c)与产品直接接触的压缩空气、氮气、二氧化碳等辅助设施这些气体因与产品直接接触,不得对产品带来污染。
应对系统进行验证。
小容量注射剂大容量注射剂药品标准1. 引言1.1 背景介绍小容量注射剂通常指每支容量在1毫升以下的注射剂,主要适用于需要精准剂量和快速作用的急救和急症治疗。
而大容量注射剂则指每支容量在1毫升以上的注射剂,常用于长期治疗或持续输注等情况下。
两者在临床应用中有着各自的优势和特点。
在保障患者用药安全和提高药品质量的药品标准的制定也显得尤为重要。
药品标准规范了药品生产的各个环节和质量要求,对于确保药品的稳定性、可靠性和有效性具有重要意义。
在注射剂领域,药品标准的制定更是至关重要,影响着药品质量和患者治疗效果。
小容量注射剂、大容量注射剂以及药品标准的研究和完善具有重要意义。
1.2 研究目的本文的研究目的是探讨小容量注射剂和大容量注射剂在临床应用中的特点及优劣,并比较它们之间的差异。
我们将分析药品标准的制定过程,以及药品标准在提高药品质量和保障患者安全方面所起到的作用。
通过本文的研究,我们希望能够更全面地了解小容量注射剂和大容量注射剂在临床实践中的应用情况,为临床药品选择提供科学依据。
我们也希望通过对药品标准的研究,提高广大患者对药品质量和安全的认知,推动药品行业的规范发展。
通过本研究,我们将为小容量注射剂和大容量注射剂的合理使用以及药品标准的制定和执行提供重要参考。
2. 正文2.1 小容量注射剂的特点小容量注射剂是指每次使用量较小的注射剂,通常在1ml以下。
小容量注射剂的特点主要包括以下几个方面:1. 精准剂量:小容量注射剂可以更精确地控制药物的剂量,避免过量使用或浪费药物。
2. 方便携带:由于体积小巧,小容量注射剂便于患者携带和使用,特别适合需要频繁注射的患者。
3. 减少交叉感染:每次使用后,小容量注射剂通常会被立即丢弃,避免交叉感染的风险。
4. 适合特定用途:有些药物需要以较小的剂量进行注射,小容量注射剂可以更好地满足这些特殊需求。
5. 稳定性好:小容量注射剂通常不需要添加过多的防腐剂,保持药物的稳定性,减少对患者的不良影响。
小容量注射剂的生产工艺流程实验原理下载温馨提示:该文档是我店铺精心编制而成,希望大家下载以后,能够帮助大家解决实际的问题。
文档下载后可定制随意修改,请根据实际需要进行相应的调整和使用,谢谢!并且,本店铺为大家提供各种各样类型的实用资料,如教育随笔、日记赏析、句子摘抄、古诗大全、经典美文、话题作文、工作总结、词语解析、文案摘录、其他资料等等,如想了解不同资料格式和写法,敬请关注!Download tips: This document is carefully compiled by theeditor.I hope that after you download them,they can help yousolve practical problems. The document can be customized andmodified after downloading,please adjust and use it according toactual needs, thank you!In addition, our shop provides you with various types ofpractical materials,such as educational essays, diaryappreciation,sentence excerpts,ancient poems,classic articles,topic composition,work summary,word parsing,copy excerpts,other materials and so on,want to know different data formats andwriting methods,please pay attention!小容量注射剂的生产工艺流程与实验原理探析小容量注射剂,通常指容量在5ml以下的注射液,广泛应用于医疗和制药行业。
小容量注射剂的制备摘要:1.引言2.确定药物候选在制备小容量注射剂之前,需要对药物进行评估和筛选。
首先,药物的溶解度和稳定性是选择的重要因素。
溶解度较高的药物更容易制备抗菌性好的注射剂。
其次,药物的毒性和副作用也需要考虑。
毒性较高的药物可能需要更小的剂量,以确保安全性。
3.选择适当的溶剂和辅料选择适当的溶剂对于制备小容量注射剂至关重要。
常用的溶剂包括水、生理盐水和无菌油剂。
水是最常见的溶剂,但对于一些不溶于水的药物,可以选择生理盐水或无菌油剂作为溶剂。
辅料如酸碱调节剂、增稠剂、防腐剂等也需要根据药物的特性进行选择。
4.控制制剂参数制剂的pH值、温度和灭菌是制备过程中需要特别注意的参数。
pH值的控制可以影响药物的溶解度和稳定性。
温度的控制可以防止药物的分解和降解。
灭菌操作可以杀灭可能存在的微生物。
这些参数的控制需要根据具体药物的特性和制备工艺进行调整。
5.包装材料的选择选择合适的包装材料是保证小容量注射剂质量的重要环节。
包装材料应具有良好的耐药物性、耐温性和密封性能。
常用的包装材料包括玻璃瓶、塑料瓶和塑料袋。
在选择包装材料时,还需要考虑到对药物特性的适应性和光敏药物的保护。
6.质量控制质量控制是制备小容量注射剂过程中不可或缺的一部分。
常用的质量控制方法包括药物含量测定、溶解度测定、细菌限度测试等。
通过这些测试可以确保最终产品的质量和安全性。
7.结论小容量注射剂的制备是一个复杂的过程,需要考虑多个因素。
合适的药物候选、适当的溶剂和辅料的选择、严格控制制剂参数以及合理的包装材料选择都是保证产品质量和安全性的重要环节。
在制备过程中,还需要进行质量控制以确保最终产品符合要求。
试述小容量注射剂的生产工艺流程下载温馨提示:该文档是我店铺精心编制而成,希望大家下载以后,能够帮助大家解决实际的问题。
文档下载后可定制随意修改,请根据实际需要进行相应的调整和使用,谢谢!并且,本店铺为大家提供各种各样类型的实用资料,如教育随笔、日记赏析、句子摘抄、古诗大全、经典美文、话题作文、工作总结、词语解析、文案摘录、其他资料等等,如想了解不同资料格式和写法,敬请关注!Download tips: This document is carefully compiled by theeditor.I hope that after you download them,they can help yousolve practical problems. The document can be customized andmodified after downloading,please adjust and use it according toactual needs, thank you!In addition, our shop provides you with various types ofpractical materials,such as educational essays, diaryappreciation,sentence excerpts,ancient poems,classic articles,topic composition,work summary,word parsing,copy excerpts,other materials and so on,want to know different data formats andwriting methods,please pay attention!试述小容量注射剂的生产工艺流程小容量注射剂,通常指的是容量在10毫升以下的注射液,广泛应用于医疗领域。