任务12小容量注射剂
- 格式:doc
- 大小:62.27 KB
- 文档页数:10
主题内容与适用范围1.本标准在小容量注射剂工艺规程通则的基础上,规定了维生素K1注射液的处方与依据,原辅材料,中间产品、成品质量标准、半成品的检验方法和控制、原辅材料的消耗定额等内容。
2.本标准适用于维生素K1注射液的生产质量控制及检查。
产品名称、剂型、规格1.产品名称:1.1.通用名称:维生素K1注射液1.2.汉语拼音:WeishengsuK1Zhusheye1.3.英文名:VitaminK1Injection2.规格:1ml:10mg3.剂型:注射剂4.性状:本品为黄色的液体。
产品处方和依据1.处方:维生素K110g聚山梨酯8070g丙二醇20g焦亚硫酸钠3g无水醋酸钠10g醋酸2ml注射用水加至1000ml2.依据:中国药典2005年版二部3.批准文号:国药准字H370214734.安瓿质量要求:玻璃安瓿应为中性安瓿.外观,尺寸,折断力应符合小容量注射剂工艺规程通则要求.4.1安甑精洗:注射用水终端经0.22pm聚砜滤器滤过。
4.2滤器要求:除炭过滤(5pm钛棒)、粗滤(5pm钛棒)、保证过滤(0.45pm聚砜)精滤(0.22“m聚砜)5.药液配制:.5.1缓冲液的配制5.1.1.根据配制量,向浓配罐内注入配制总量70%的注射用水,打开入料口盖向上反放稳妥。
5.1.2.向盛有醋酸钠的不锈钢桶内注入适量的注射用水,以溶解醋酸钠。
5.1.3.启动搅拌电源开关进行搅拌,边搅拌边将称量溶解好的醋酸钠倒入浓配罐中。
5.1.4.根据配制量,用量筒按千分之二的量量取醋酸,倒入浓配罐中,配制成醋酸-醋酸钠的缓冲溶液。
5.1.5.开启浓配罐夹层进水阀,进行降温处理,缓冲液温度不能超过50°C。
5.1.6.搅拌均匀后,停止自动搅拌,待温度降至50C,关闭夹层进水阀,开启排水阀。
缓冲液配好后待用。
5.2.乳化剂的配制5.2.1.用洁净的不锈钢搅拌棒在盛有丙二醇的桶内开始搅拌,搅拌时朝同一个方向搅拌,边搅拌边将称量好的维生素K1缓缓加入桶内。
小容量注射剂灌封技术浅析摘要:小容量注射剂,灌封工序是关键操作之一,针对灌封工序中容易出现装量异常、封口不美观、焦头、可见异物等质量问题。
关键词:预热、拉丝、熔封小容量注射剂灌封过程中,封口不美观、焦头等为灌封岗位出现概率较高的问题,极大程度上影响了产品质量和收率,本文主要针对以上问题进行分析,给出拉丝灌封的一些控制要点。
一、拉丝灌封的原理。
小容量注射剂灌封分两三个工位,药液灌注,预热,拉丝封口。
1、药液灌注工作过程为:安瓿瓶在传动系统带动下运行到药液灌注工位,通过靠瓶梁和靠瓶拦栅将瓶子夹住固定,针架下降,针头插入瓶口到瓶颈略下位置,暂停,灌注泵开始动作,药液注入安瓿瓶。
药液注入完毕,此时针头上升,同时靠瓶梁和靠瓶拦栅同步张开。
针头离开瓶口后,安瓿瓶被传动系统带动继续前行,进入下一个工位。
2、拉丝封口工作过程为:安瓿瓶在行走梁带动下,走到预热工位,暂停,此时转瓶滚轮会压住瓶身旋转,配合靠瓶梁上滚轮轴承,带动瓶身旋转,火嘴喷出火焰对瓶颈封口部位均匀加热,使充分预热。
然后瓶身继续行进到拉丝工位,暂停,拉丝工位火嘴继续对旋转的安瓿瓶封口部位进一步加热,使达到熔融温度,拉丝钳下降夹住瓶口,向上提拉瓶口,此时在瓶身旋转作用和拉丝钳拉升作用下,瓶颈封口位置会被扭成细丝,并最终被拉断,拉丝动作完成后,在拉丝火焰的持续加热下,瓶身上细丝会被被熔融成一个圆头,瓶身继续往前行进,同时冷却,最终形成一个完美的封口。
通常预热火焰应当比拉丝区火焰略小,确保能充分预热又不会过加热过度,导致瓶颈在预热器即被软化,影响后续拉丝时拉丝钳夹住瓶颈。
熔封火焰,燃气来源通常有使用灌装煤气+灌装氧气、氢氧气体发生器产生的氢氧混合气体两种方式。
煤气火焰温度相对较低,大概能到达1600℃。
相对较低的温度,对于操作人员来说,熔封可控性更好。
但是调节火焰时,煤气/氧气的比例调节有一定技术要求,同时需要频繁的更换气罐,使用过程中经常容易出现中途需要更换气罐现象。
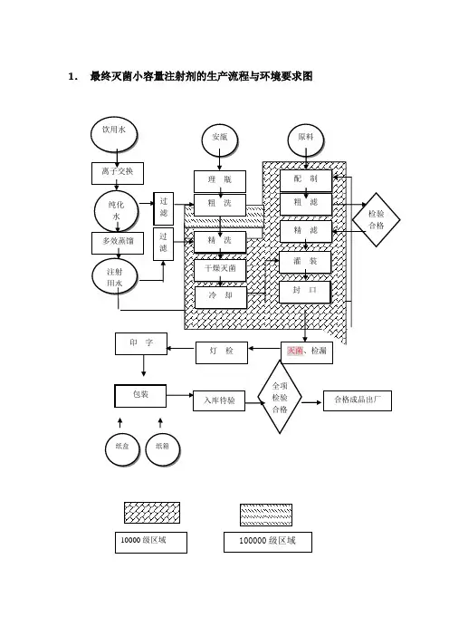
1. 最终灭菌小容量注射剂的生产流程与环境要求图2.小容量注射剂验证检查要点小容量注射剂指将配制好药淮灌入小于50ml安瓿内的注射剂。
根据药品新版GMP原则要求,结合注射剂生产影响药品质量的关键环节,提出小容量注射剂GMP检查要点,旨在督查药品生产企业质量保证体系和实际运行状态。
检查组须对如下内容按照药品GMP要求,逐一核实。
1、机构与人员a)主管生产和质量管理的企业负责人、生产管理和质量管理部门负责人均应具有医药或相关专业大专以上学历,并具有药品生产和质量管理经验,并履行其职责。
b)企业负责人和各级管理人员应定期接受药品管理法律法规培训。
c)质量检验、生产、维修保养、清洁人员应定期进行卫生和微生物学基础知识、洁净作业等方面的培训和考核,并具有实际操作技能。
2、厂房设施的管理要点及检查重点a)洁净区:我国《药品生产质量管理规范》对最终灭菌的无菌药品生产厂房洁净度级别的要求是:浓配或采用密闭系统的稀配应在100000级洁净区内进行;稀配、滤过、灌封、直接接触药品的包装材料的最终处理等操作应在10000级洁净区内进行;物料、中间品应经过物流缓冲间或传递柜进、出洁净区。
称量配料间如产尘应与洁净走廊呈相对负压,必要时设捕尘设施。
中国药典规定:微生物限度检查、无菌检查应在100级或10000级背景下的局部100级区内进行,并与生产区分开。
微生物限度检查与无菌检查用的实验室和空气净化系统最好彼此分开,以尽可能减少对无菌检查的干扰。
b)空气净化系统应能确保洁净区的洁净度级别、温湿度、压差等符合生产工艺要求并经过验证。
初效、中效过滤器应明确清洗/更换周期,高效过滤器应定期检测其完整性,如有泄漏或阻塞应及时更换。
空气净化系统应每天24小时运行,停用后再次运行应进行清洁、消毒并经过再验证,符合要求的方可开始生产。
c)与产品直接接触的压缩空气、氮气、二氧化碳等辅助设施这些气体因与产品直接接触,不得对产品带来污染。
应对系统进行验证。
小容量注射剂市场发展现状概述随着医疗服务的不断改进和人们对健康的关注增加,小容量注射剂市场迅速发展。
小容量注射剂是指每支注射剂容量在1毫升到100毫升之间的产品。
本文将介绍小容量注射剂市场的发展现状。
市场规模目前,小容量注射剂市场的规模不断扩大。
根据数据统计,全球小容量注射剂市场在2020年达到了X亿美元,预计到2025年将增长到X亿美元。
市场规模的增长主要得益于消费者对高质量健康产品的需求增加,以及医疗行业的不断发展。
市场驱动因素小容量注射剂市场的发展受到多个因素的驱动。
1.人口老龄化随着全球人口的老龄化趋势,患者对注射剂的需求增加。
老年人更容易患上慢性疾病,需要长期接受药物治疗。
小容量注射剂因其便携性和易用性,逐渐取代了传统的大容量注射剂。
2.医疗技术进步随着医疗技术的进步,越来越多的药物可以通过注射的方式给予患者。
小容量注射剂可以准确地控制药物的剂量,提高患者的治疗效果。
3.市场竞争由于小容量注射剂市场的潜力巨大,越来越多的制药公司进入该领域。
市场竞争的加剧促进了产品的不断创新和提高。
市场前景小容量注射剂市场的前景十分广阔。
1.地区市场差异不同地区的市场需求存在差异。
发达国家的小容量注射剂市场较为成熟,消费者对产品质量和安全性的关注度较高。
发展中国家的市场潜力巨大,随着医疗服务的改善,小容量注射剂市场将迎来较快的增长。
2.技术创新随着技术的不断进步,小容量注射剂市场将受益于更多的创新产品。
例如,无针注射和智能注射器等新技术将改变市场格局,推动行业变革。
3.市场合作小容量注射剂市场的发展离不开不同企业之间的合作。
制药公司、医疗设备供应商和医疗机构之间的合作将促进小容量注射剂的推广和应用。
挑战与机遇小容量注射剂市场在发展过程中也面临着一些挑战和机遇。
1.产品质量和安全性小容量注射剂的质量和安全性是消费者关注的焦点。
制药公司需要确保产品的质量控制和生产过程的规范化,以满足市场需求。
2.市场竞争市场竞争的加剧将促使制药公司不断提高产品质量和创新能力。
情境三 液体制剂类制备技术任务十二 小容量注射剂小容量注射剂:又称水针剂,指装量小于50ml 的注射剂,通常采用湿热灭菌法制备。
除一般理化性质外,无菌、热原、可见异物、PH 值等检查均符合规定。
一、小容量注射剂生产工艺流程图(最终灭菌产品):二、安瓿的洗涤 (播放视频后讲解以下内容)(一)安瓿(ampule):为避免折断安瓿瓶颈时产生玻璃屑、微粒进入安瓿污染药液,SFDA 强制推行曲颈易折安瓿(GB 2637-1995)。
易折安瓿有两种:色环易折安瓿和点刻痕易折安瓿。
色环易折安瓿是将一种膨胀系数高于安瓿两倍的低熔点粉末熔固在安瓿颈部成为环状,冷却后由于两种玻璃的膨胀系数不同,在环状部位产生一圈永久应力,用力一折即可平整折断,不易产生玻璃碎屑。
刻痕易折安瓿是在曲颈部位有一细微刻痕,在刻痕中心标有直径2mm 的色点,折断时施力于刻痕中间的背面,折断后断面平整。
安瓿应无色透明,以便于检查澄明度、杂质以及变质情况;需要避光的药物可选琥珀色玻璃安瓿(可滤除紫外线),但因含氧化铁,已被铁离子催化的药物不能使用。
制造安瓿用玻璃分中性玻璃(适宜中性或弱酸性药液)、含钡玻璃(耐碱性好,适宜碱性较强药液)和含锆玻璃(耐酸碱性好,适宜酸碱性较强的及对PH敏感的药液)三种。
安瓿规格:1、2、5、10、20ml。
(二)安瓿的质量要求及检查1.安瓿的质量要求:应具有低的膨胀系数,优良的耐热性。
要有足够的物理强度。
高度的化学稳定性,不改变溶液的pH,不被侵蚀。
熔点较低,易于熔封。
不得有气泡、麻点及砂粒。
2.安瓿的检查:物理检查:外观、尺寸、应力、清洁度、热稳定性等。
化学检查:耐酸、耐碱和中性检查。
尚需做装药试验,检查安瓿与药液的相容性,证明无影响后方能使用。
(三)安瓿的洗涤技术与设备1.超声洗涤法与加压气水喷射洗涤法综合洗涤方法。
2.设备:洗、烘(灭菌)、灌、封联动线。
(四)安瓿洗涤岗位洁净度要求:D级(五)安瓿洗涤操作过程(六)安瓿清洗过程的工艺管理要点和质量控制1.生产工艺管理要点:(1)清洗过程随时检查水气压力,保证水气能冲到安瓿底部。
大(小)容量注射剂批次划分的原则大(小)容量注射剂是指注射剂的容量较大(小),一般超过(小于)2毫升。
在制药生产过程中,为了确保生产的安全性和质量,需要对大(小)容量注射剂进行批次划分。
下面将介绍一些常见的批次划分原则。
根据原料的来源,可以将大(小)容量注射剂划分为不同的批次。
不同的原料供应商会有不同的质量标准和生产流程,因此需要将不同供应商提供的原料分开生产,并进行相应的质量监控和追溯。
根据生产日期进行批次划分。
大(小)容量注射剂的生产日期是非常重要的信息,它可以用于追溯产品的生产过程和质量状况。
因此,在生产过程中,需要将不同日期生产的注射剂分开,并在包装上标注生产日期,以便追溯和管理。
根据生产线进行批次划分也是一种常见的原则。
不同的生产线可能存在着不同的设备和工艺条件,因此生产出的产品可能会有一定的差异。
为了确保产品的质量稳定性,可以将不同生产线生产的产品分开,并分别进行质量监控。
根据生产工艺进行批次划分也是一种常见的原则。
生产工艺的不同可能会对产品的质量和性能产生影响,因此需要将不同工艺条件下生产的产品分开,并进行相应的质量控制和追溯。
根据产品规格和包装进行批次划分也是一种常见的原则。
不同规格和包装的产品可能会有不同的用途和适应人群,因此需要将不同规格和包装的产品分开,并进行相应的质量控制和标识。
根据质量控制要求进行批次划分也是一种重要的原则。
不同的产品可能会有不同的质量控制要求,例如微生物检验、化学检验等。
为了确保产品的质量符合要求,需要将不同质量控制要求的产品分开,并进行相应的检验和追溯。
大(小)容量注射剂批次划分是制药生产中非常重要的一环,它可以确保产品的质量和安全性。
在实际操作中,可以根据原料来源、生产日期、生产线、生产工艺、产品规格和包装以及质量控制要求等因素进行批次划分。
通过合理的批次划分,可以有效管理和追溯产品的质量,确保产品符合相关法规和标准的要求。
1. 最终灭菌小容量注射剂的生产流程与环境要求图2.小容量注射剂验证检查要点小容量注射剂指将配制好药淮灌入小于50ml安瓿内的注射剂。
根据药品新版GMP原则要求,结合注射剂生产影响药品质量的关键环节,提出小容量注射剂GMP检查要点,旨在督查药品生产企业质量保证体系和实际运行状态。
检查组须对如下内容按照药品GMP要求,逐一核实。
1、机构与人员a)主管生产和质量管理的企业负责人、生产管理和质量管理部门负责人均应具有医药或相关专业大专以上学历,并具有药品生产和质量管理经验,并履行其职责。
b)企业负责人和各级管理人员应定期接受药品管理法律法规培训。
c)质量检验、生产、维修保养、清洁人员应定期进行卫生和微生物学基础知识、洁净作业等方面的培训和考核,并具有实际操作技能。
2、厂房设施的管理要点及检查重点a)洁净区:我国《药品生产质量管理规范》对最终灭菌的无菌药品生产厂房洁净度级别的要求是:浓配或采用密闭系统的稀配应在100000级洁净区内进行;稀配、滤过、灌封、直接接触药品的包装材料的最终处理等操作应在10000级洁净区内进行;物料、中间品应经过物流缓冲间或传递柜进、出洁净区。
称量配料间如产尘应与洁净走廊呈相对负压,必要时设捕尘设施。
中国药典规定:微生物限度检查、无菌检查应在100级或10000级背景下的局部100级区内进行,并与生产区分开。
微生物限度检查与无菌检查用的实验室和空气净化系统最好彼此分开,以尽可能减少对无菌检查的干扰。
b)空气净化系统应能确保洁净区的洁净度级别、温湿度、压差等符合生产工艺要求并经过验证。
初效、中效过滤器应明确清洗/更换周期,高效过滤器应定期检测其完整性,如有泄漏或阻塞应及时更换。
空气净化系统应每天24小时运行,停用后再次运行应进行清洁、消毒并经过再验证,符合要求的方可开始生产。
c)与产品直接接触的压缩空气、氮气、二氧化碳等辅助设施这些气体因与产品直接接触,不得对产品带来污染。
应对系统进行验证。
小容量注射剂(聚丙烯安瓿)产品无菌保证措施描述按照《无菌药品》的要求,无菌药品的生产须满足其质量合预定用途的要求,应当最大限度地降低微生物、各种微粒和热原的污染。
生产人员的技能、所接受的培训及其工作态度是达到上述目标的关键因素,无菌药品的生产必须严格按照精心设计并经验证的方法及规程进行,产品的无菌或其它质量特性绝不能只依赖于任何形式的最终处理或成品检验。
按照上述要求,现将我公司小容量注射剂(聚丙烯安瓿)生产过程中无菌保证措施描述如下:1.人员(生产人员的技能、所接受的培训及其工作态度)小容量注射剂(聚丙烯安瓿)车间共有员工25名(不包括质量管理部人员);其中高中及以上人员17名;11名有制药企业生产经验,其中6名有无菌药品生产的实践经验。
按照公司2018年培训方案,该车间员工均接受GMP及其附录无菌药品的理论和实践培训、药品管理法、岗位职责及相应岗位的SOP培训,培训次数达到246人次,其中包括洁净室消毒、清场清洁、人员更衣规程、无菌操作法及岗位操作SOP;同时对员工还进行了《员工守则》和《员工日常行为规范》教育培训,端正了员工工作态度,使员工真正掌握无菌药品生产人员应具备的基本素质;通过三批(注射用水)模拟生产和三批氯化钾的实际生产现场考核,该车间生产人员已熟练掌握了无菌药品生产的基础知识、基本技能和基本要求。
2.厂房洁净室厂房按照《洁净室施工及验收规范》(GB50591-2010)进行设计、建设;本着尽量减少尘埃聚集及便于清洁的原则,墙面、地面连接处均采用R30的圆弧装修,以降低微生物污染,水池、地漏均安装有空气阻断器防止倒灌,地漏用碘伏和新洁尔灭轮换消毒,且同外部排水系统的连接方式能有效防止微生物的侵入;更衣室按照气锁方式设计、建设,两侧们同时打开时,有报警装置,有效防止了工作服被微生物和微粒污染;洁净区的送风能够确保对周围低级别区域的正压,洁净室与室外压差≥12Pa,不同洁净度的洁净室之间的压差≥12Pa,同一级别的相邻房间之间压差≥3Pa,上述相邻区域之间均安装有压差计,压差数据定时记录,有效地维持了良好的气流方向,保证有效的净化能力;C级区域共有5个百级层流保护装置,分布在灭菌后室、整衣间、聚丙烯颗粒上料间、活性炭称量室、原料称量室及吹灌封的暴露等环节,有效保护了已清洁及灭菌的工衣,与器具及产品直接暴露的操作区域,有效的降低了生产环境对生产过程的微生物污染。
情境三 液体制剂类制备技术任务十二 小容量注射剂小容量注射剂:又称水针剂,指装量小于50ml 的注射剂,通常采用湿热灭菌法制备。
除一般理化性质外,无菌、热原、可见异物、PH 值等检查均符合规定。
一、小容量注射剂生产工艺流程图〔最终灭菌产品〕:二、安瓿的洗涤 〔播放视频后讲解以下容〕〔一〕安瓿(ampule):为防止折断安瓿瓶颈时产生玻璃屑、微粒进入安瓿污染药液,SFDA强制推行曲颈易折安瓿〔GB 2637-1995〕。
易折安瓿有两种:色环易折安瓿和点刻痕易折安瓿。
色环易折安瓿是将一种膨胀系数高于安瓿两倍的低熔点粉末熔固在安瓿颈部成为环状,冷却后由于两种玻璃的膨胀系数不同,在环状部位产生一圈永久应力,用力一折即可平整折断,不易产生玻璃碎屑。
刻痕易折安瓿是在曲颈部位有一细微刻痕,在刻痕中心标有直径2mm 的色点,折断时施力于刻痕中间的背面,折断后断面平整。
安瓿应无色透明,以便于检查澄明度、杂质以与变质情况;需要避光的药物可选琥珀色玻璃安瓿〔可滤除紫外线〕,但因含氧化铁,已被铁离子催化的药物不能使用。
制造安瓿用玻璃分中性玻璃〔适宜中性或弱酸性药液〕、含钡玻璃〔耐碱性好,适宜碱性较强药液〕和含锆玻璃〔耐酸碱性好,适宜酸碱性较强的与对PH敏感的药液〕三种。
安瓿规格:1、2、5、10、20ml。
〔二〕安瓿的质量要求与检查1.安瓿的质量要求:应具有低的膨胀系数,优良的耐热性。
要有足够的物理强度。
高度的化学稳定性,不改变溶液的pH,不被侵蚀。
熔点较低,易于熔封。
不得有气泡、麻点与砂粒。
2.安瓿的检查:物理检查:外观、尺寸、应力、清洁度、热稳定性等。
化学检查:耐酸、耐碱和中性检查。
尚需做装药试验,检查安瓿与药液的相容性,证明无影响后方能使用。
〔三〕安瓿的洗涤技术与设备1.超声洗涤法与加压气水喷射洗涤法综合洗涤方法。
2.设备:洗、烘〔灭菌〕、灌、封联动线。
〔四〕安瓿洗涤岗位洁净度要求:D级〔五〕安瓿洗涤操作过程〔六〕安瓿清洗过程的工艺管理要点和质量控制1.生产工艺管理要点:〔1〕清洗过程随时检查水气压力,保证水气能冲到安瓿底部。
基本药物处方一维生素B12注射液
【制剂规格】(1)1ml:0.05mg(2)1ml:0.1mg(3)
1ml:0.25mg(4)1ml:0.5mg(5)1ml:Img
【适应症】
主要用于因内因子缺乏所致的巨幼细胞性贫血,也可用于亚急性联合变性神经系统病变,如神经炎的辅助治疗。
【不良反应】
肌注偶可引起皮疹、瘙痒、腹泻及过敏性哮喘,但发生率低,极个别有过敏性休克。
【用法用量】
肌注,成人,1日0.025〜(Hmg或隔日0.05〜0.2mg0用于神经炎时,用量可酌增。
本品也可用于穴位封闭。
【药物相互作用】尚不明确。
【注意事项】
(1)可致过敏反应,甚至过敏性休克,不宜滥用。
(2)有条件时,用药过程中应监测血中维生素B12浓度。
(3)痛风患者使用本品可能发生高尿酸血症。
(4)治疗巨细胞贫血,在起始48小时,宜查血钾,以
防止低钾血症。
1. 最终灭菌小容量注射剂的生产流程与环境要求图2.小容量注射剂验证检查要点小容量注射剂指将配制好药淮灌入小于50ml安瓿内的注射剂。
根据药品新版GMP原则要求,结合注射剂生产影响药品质量的关键环节,提出小容量注射剂GMP检查要点,旨在督查药品生产企业质量保证体系和实际运行状态。
检查组须对如下内容按照药品GMP要求,逐一核实。
1、机构与人员a)主管生产和质量管理的企业负责人、生产管理和质量管理部门负责人均应具有医药或相关专业大专以上学历,并具有药品生产和质量管理经验,并履行其职责。
b)企业负责人和各级管理人员应定期接受药品管理法律法规培训。
c)质量检验、生产、维修保养、清洁人员应定期进行卫生和微生物学基础知识、洁净作业等方面的培训和考核,并具有实际操作技能。
2、厂房设施的管理要点及检查重点a)洁净区:我国《药品生产质量管理规范》对最终灭菌的无菌药品生产厂房洁净度级别的要求是:浓配或采用密闭系统的稀配应在100000级洁净区内进行;稀配、滤过、灌封、直接接触药品的包装材料的最终处理等操作应在10000级洁净区内进行;物料、中间品应经过物流缓冲间或传递柜进、出洁净区。
称量配料间如产尘应与洁净走廊呈相对负压,必要时设捕尘设施。
中国药典规定:微生物限度检查、无菌检查应在100级或10000级背景下的局部100级区内进行,并与生产区分开。
微生物限度检查与无菌检查用的实验室和空气净化系统最好彼此分开,以尽可能减少对无菌检查的干扰。
b)空气净化系统应能确保洁净区的洁净度级别、温湿度、压差等符合生产工艺要求并经过验证。
初效、中效过滤器应明确清洗/更换周期,高效过滤器应定期检测其完整性,如有泄漏或阻塞应及时更换。
空气净化系统应每天24小时运行,停用后再次运行应进行清洁、消毒并经过再验证,符合要求的方可开始生产。
c)与产品直接接触的压缩空气、氮气、二氧化碳等辅助设施这些气体因与产品直接接触,不得对产品带来污染。
应对系统进行验证。
小容量注射剂大容量注射剂药品标准1. 引言1.1 背景介绍小容量注射剂通常指每支容量在1毫升以下的注射剂,主要适用于需要精准剂量和快速作用的急救和急症治疗。
而大容量注射剂则指每支容量在1毫升以上的注射剂,常用于长期治疗或持续输注等情况下。
两者在临床应用中有着各自的优势和特点。
在保障患者用药安全和提高药品质量的药品标准的制定也显得尤为重要。
药品标准规范了药品生产的各个环节和质量要求,对于确保药品的稳定性、可靠性和有效性具有重要意义。
在注射剂领域,药品标准的制定更是至关重要,影响着药品质量和患者治疗效果。
小容量注射剂、大容量注射剂以及药品标准的研究和完善具有重要意义。
1.2 研究目的本文的研究目的是探讨小容量注射剂和大容量注射剂在临床应用中的特点及优劣,并比较它们之间的差异。
我们将分析药品标准的制定过程,以及药品标准在提高药品质量和保障患者安全方面所起到的作用。
通过本文的研究,我们希望能够更全面地了解小容量注射剂和大容量注射剂在临床实践中的应用情况,为临床药品选择提供科学依据。
我们也希望通过对药品标准的研究,提高广大患者对药品质量和安全的认知,推动药品行业的规范发展。
通过本研究,我们将为小容量注射剂和大容量注射剂的合理使用以及药品标准的制定和执行提供重要参考。
2. 正文2.1 小容量注射剂的特点小容量注射剂是指每次使用量较小的注射剂,通常在1ml以下。
小容量注射剂的特点主要包括以下几个方面:1. 精准剂量:小容量注射剂可以更精确地控制药物的剂量,避免过量使用或浪费药物。
2. 方便携带:由于体积小巧,小容量注射剂便于患者携带和使用,特别适合需要频繁注射的患者。
3. 减少交叉感染:每次使用后,小容量注射剂通常会被立即丢弃,避免交叉感染的风险。
4. 适合特定用途:有些药物需要以较小的剂量进行注射,小容量注射剂可以更好地满足这些特殊需求。
5. 稳定性好:小容量注射剂通常不需要添加过多的防腐剂,保持药物的稳定性,减少对患者的不良影响。
维生素B12针剂的作用及功能主治1. 作用维生素B12针剂是一种含有维生素B12的注射剂,其作用主要体现在以下几个方面:•补充维生素B12:维生素B12是人体必需的维生素之一,它在体内参与蛋白质、脂肪和碳水化合物的代谢过程,对维持神经系统的正常运行、促进红细胞的生成和分裂具有重要作用。
维生素B12针剂可以有效补充体内维生素B12的不足。
•提高能量水平:维生素B12参与脂肪和碳水化合物的代谢,可促进能量的产生和转化,从而提高能量水平。
这对于缺乏维生素B12的人群来说特别重要,可以缓解疲劳、增加精力。
•增强免疫力:维生素B12在免疫系统的正常功能中扮演着重要角色,它参与淋巴细胞的生成及免疫抗体的合成,能够增强人体的免疫力,提高抵抗力,降低患病风险。
•促进神经系统的正常运作:维生素B12对神经系统具有保护作用,可以维持神经细胞的正常功能,改善神经病变、神经炎等疾病症状。
长期缺乏维生素B12可能导致神经系统的功能障碍,维生素B12针剂可以帮助预防和改善相关神经病变。
2. 功能主治维生素B12针剂主要用于以下方面:2.1 治疗维生素B12缺乏症•补充维生素B12:维生素B12缺乏症是由于摄入不足或吸收障碍导致的维生素B12水平下降。
维生素B12针剂可以直接注入体内,绕过吸收障碍,迅速补充体内维生素B12的不足,有效治疗维生素B12缺乏症,并预防相关疾病的发生。
•预防和治疗贫血:维生素B12对红细胞的生成和分裂起着重要作用,缺乏维生素B12可导致恶性贫血等贫血疾病的发生。
维生素B12针剂可以补充体内缺乏的维生素B12,帮助恢复正常红细胞的生成,从而预防和治疗贫血。
2.2 神经系统疾病的治疗•治疗神经炎:神经炎是指神经组织发生炎症反应导致的疾病,维生素B12在神经系统的代谢过程中起着重要作用,可以促进神经细胞的正常功能。
维生素B12针剂可以通过补充维生素B12,改善神经炎症状,缓解疼痛和不适感。
•预防和改善神经病变:长期缺乏维生素B12可能导致神经系统的功能障碍,表现出手脚麻木、记忆力减退、精神疲劳等症状。
小容量注射剂市场需求分析摘要随着人们对健康意识的提高和医学技术的不断创新,小容量注射剂作为一种常见的药物给药方式受到了越来越多的关注。
本文旨在对小容量注射剂市场需求进行详细的分析,包括市场规模、需求特点、竞争态势等方面。
1. 引言小容量注射剂是指每支装有1毫升至50毫升溶液的注射器,广泛应用于医疗领域。
随着医疗技术的进步和患者的个性化需求增加,小容量注射剂的市场需求也在不断增长。
2. 市场规模小容量注射剂市场的规模可以从两个方面进行衡量:产量和销售额。
2.1 产量根据相关统计数据,小容量注射剂的生产量逐年增长。
这主要得益于医疗技术的不断提高和医疗需求的增加。
2.2 销售额随着小容量注射剂市场需求的增加,销售额也在逐年增长。
根据市场调研数据显示,在过去几年中,小容量注射剂市场的销售额年均增长率超过10%。
3. 需求特点小容量注射剂市场的需求具有以下几个特点:3.1 个性化需求随着人们对健康的重视程度提高,个性化医疗需求也越来越强烈。
小容量注射剂作为一种能够满足个性化需求的给药方式,受到了越来越多患者的青睐。
3.2 高效给药小容量注射剂具有体积小、吸收迅速等特点,能够有效提高药物的给药效果。
这也是小容量注射剂市场需求不断增长的重要原因之一。
3.3 安全性小容量注射剂在存储和运输过程中相对容易管理,能够提供更好的药品质量保证,减少药物风险。
4. 竞争态势小容量注射剂市场竞争激烈,主要存在以下几个方面的竞争:4.1 价格竞争由于小容量注射剂市场需求增长较快,在市场竞争中,价格成为重要的竞争手段之一。
生产企业需要通过优化生产工艺和降低成本来提供具有竞争力的价格。
4.2 技术竞争小容量注射剂市场涉及到多个关键技术,如生产工艺、药品质量控制等。
在技术创新方面具备优势的企业能够在市场竞争中取得一定的优势地位。
4.3 品牌竞争在小容量注射剂市场,品牌形象和知名度对于企业的竞争力至关重要。
拥有良好的品牌形象和知名度的企业能够吸引更多患者和医疗机构选择他们的产品。
1. 最终灭菌小容量注射剂的生产流程与环境要求图2。
小容量注射剂验证检查要点小容量注射剂指将配制好药淮灌入小于50ml安瓿内的注射剂。
根据药品新版GMP原则要求,结合注射剂生产影响药品质量的关键环节,提出小容量注射剂GMP检查要点,旨在督查药品生产企业质量保证体系和实际运行状态。
检查组须对如下内容按照药品GMP要求,逐一核实。
1、机构与人员a)主管生产和质量管理的企业负责人、生产管理和质量管理部门负责人均应具有医药或相关专业大专以上学历,并具有药品生产和质量管理经验,并履行其职责。
b)企业负责人和各级管理人员应定期接受药品管理法律法规培训。
c)质量检验、生产、维修保养、清洁人员应定期进行卫生和微生物学基础知识、洁净作业等方面的培训和考核,并具有实际操作技能.2、厂房设施的管理要点及检查重点a)洁净区:我国《药品生产质量管理规范》对最终灭菌的无菌药品生产厂房洁净度级别的要求是:浓配或采用密闭系统的稀配应在100000级洁净区内进行;稀配、滤过、灌封、直接接触药品的包装材料的最终处理等操作应在10000级洁净区内进行;物料、中间品应经过物流缓冲间或传递柜进、出洁净区。
称量配料间如产尘应与洁净走廊呈相对负压,必要时设捕尘设施.中国药典规定:微生物限度检查、无菌检查应在100级或10000级背景下的局部100级区内进行,并与生产区分开。
微生物限度检查与无菌检查用的实验室和空气净化系统最好彼此分开,以尽可能减少对无菌检查的干扰.b)空气净化系统应能确保洁净区的洁净度级别、温湿度、压差等符合生产工艺要求并经过验证.初效、中效过滤器应明确清洗/更换周期,高效过滤器应定期检测其完整性,如有泄漏或阻塞应及时更换。
空气净化系统应每天24小时运行,停用后再次运行应进行清洁、消毒并经过再验证,符合要求的方可开始生产.c)与产品直接接触的压缩空气、氮气、二氧化碳等辅助设施这些气体因与产品直接接触,不得对产品带来污染。
应对系统进行验证。
情境三 液体制剂类制备技术任务十二 小容量注射剂小容量注射剂:又称水针剂,指装量小于50ml 的注射剂,通常采用湿热灭菌法制备。
除一般理化性质外,无菌、热原、可见异物、PH 值等检查均符合规定。
一、小容量注射剂生产工艺流程图(最终灭菌产品):二、安瓿的洗涤 (播放视频后讲解以下内容)(一)安瓿(ampule):为避免折断安瓿瓶颈时产生玻璃屑、微粒进入安瓿污染药液,SFDA 强制推行曲颈易折安瓿(GB 2637-1995)。
易折安瓿有两种:色环易折安瓿和点刻痕易折安瓿。
色环易折安瓿是将一种膨胀系数高于安瓿两倍的低熔点粉末熔固在安瓿颈部成为环状,冷却后由于两种玻璃的膨胀系数不同,在环状部位产生一圈永久应力,用力一折即可平整折断,不易产生玻璃碎屑。
刻痕易折安瓿是在曲颈部位有一细微刻痕,在刻痕中心标有直径2mm 的色点,折断时施力于刻痕中间的背面,折断后断面平整。
安瓿应无色透明,以便于检查澄明度、杂质以及变质情况;需要避光的药物可选琥珀色玻璃安瓿(可滤除紫外线),但因含氧化铁,已被铁离子催化的药物不能使用。
制造安瓿用玻璃分中性玻璃(适宜中性或弱酸性药液)、含钡玻璃(耐碱性好,适宜碱纯化水原辅料注射剂成品安 瓿饮用水 原水处理配制 粗滤 注射用水干燥灭菌精滤灌装* 冷却熔封*灭菌检漏灯检包装印字蒸馏过 滤洗瓶 过滤D 级洁净区 C 级洁净区A 级洁净区*性较强药液)和含锆玻璃(耐酸碱性好,适宜酸碱性较强的及对PH敏感的药液)三种。
安瓿规格:1、2、5、10、20ml。
(二)安瓿的质量要求及检查1.安瓿的质量要求:应具有低的膨胀系数,优良的耐热性。
要有足够的物理强度。
高度的化学稳定性,不改变溶液的pH,不被侵蚀。
熔点较低,易于熔封。
不得有气泡、麻点及砂粒。
2.安瓿的检查:物理检查:外观、尺寸、应力、清洁度、热稳定性等。
化学检查:耐酸、耐碱和中性检查。
尚需做装药试验,检查安瓿与药液的相容性,证明无影响后方能使用。
(三)安瓿的洗涤技术与设备1.超声洗涤法与加压气水喷射洗涤法综合洗涤方法。
2.设备:洗、烘(灭菌)、灌、封联动线。
(四)安瓿洗涤岗位洁净度要求:D级(五)安瓿洗涤操作过程(六)安瓿清洗过程的工艺管理要点和质量控制1.生产工艺管理要点:(1)清洗过程随时检查水气压力,保证水气能冲到安瓿底部。
(2)洗瓶机使用后应保持干燥,防止生锈。
(3)洗瓶机水泵禁止长时间干运转,加热器、超声波禁止干运转。
2.质量控制要点:(1)洁净度:应光洁,不得有纤维、白点、异物、玻璃等,符合内控标准。
(2)破损率:符合内控标准。
三、安瓿干燥灭菌:(播放视频后讲解以下内容)(一)安瓿干燥灭菌岗位的洁净度要求:安瓿清洗、灭菌在D级,灭菌后的存放C级。
(二)安瓿干燥灭菌的常用设备大生产连续生产采用隧道式烘箱(电热层流干热灭菌烘箱和远红外加热灭菌烘箱两种),整个输送隧道在密封系统内,有100级层流净化空气保护,不受污染。
分三区,分别完成预热、高温灭菌和冷却过程,冷却后温度接近室温。
前端与洗瓶机相连,后端可设在1万级洁净区与灌封机相连,组成生产线。
(三)安瓿干燥灭菌的过程隧道杀菌烘箱,加热温度350°,经过隧道时间几分钟。
(四)安瓿干燥灭菌的过程的生产工艺管理与质量控制1.生产工艺管理要点:(1)随时监控干燥灭菌质量,温度应保持在设定值。
(2)控制安瓿经过烘箱隧道的速度,根据设定温度安瓿在烘箱隧道内的时间不宜太短,应确保能达到干燥灭菌要求。
2.质量控制要点:(1)洁外观:应光洁、无花斑。
(2)干燥程度:符合内控标准。
(3)可见异物:应符合药典或内控标准。
(4)无菌检查:应符合药典或内控标准。
四、配液与过滤(播放视频后讲解以下内容)(一)配液与过滤岗位的洁净度要求:浓配间洁净度为D级;稀配间洁净度为D级。
(二)配液与过滤常用的技术与设备原辅料应符合要求,先小试,合格后方可使用。
水溶性溶剂主要是注射用水,也可用生理盐水或其他适宜水溶液。
注射用水须在生产后12h内使用。
工厂控制更严。
经检查合格后进入下道工序。
非水溶性溶剂常用的是植物油,主要是供注射用的大豆油,用符合大豆油(供注射用)标准;其他还有乙醇、丙二醇、聚乙二醇等溶液。
投料时要双人核对,对含结晶水的药物注意折算投料量(如咖啡因);生产过程(如灭菌后)含量下降的应酌情增加投料量。
1.配液:浓配法和稀配法两种。
对不易滤清的杂质可用0.1-0.3% 的注射用活性炭吸附和助滤配制油性注射液时,先将注射用油经150°干热灭菌1-2小时,冷却至适当温度(一般在主药熔点以下20-30°)趁热配制,过滤(一般在60°以下),温度不宜过低,否则不易过滤。
搅拌机转速为20r/min。
2.过滤:二级过滤,用钛滤器预滤,再用微孔滤膜(0.22-0.45um)精滤;有的在将净精滤后的药液在灌装前再用0.22um的微孔滤膜进行终端过滤。
(三)配液与过滤操作过程1.浓配罐操作规程:(1)检查设备各部件是否正常,各阀门是否已关闭,电源是否接通。
(2)开启阀门,根据工艺用水量往罐内通入定量的注射用水,关闭阀门。
(3)旋松入孔盖紧固螺栓,打开入孔盖,从入孔处依次投入原辅料,投料完毕后关紧入孔盖,上紧入孔盖紧固螺栓(注意:含量小又不易溶解的药物用先在适当容器内溶解后再投入浓配灌)。
(4)启动搅拌浆电机,开始搅拌。
(5)夹层通蒸汽,升温,当药液达到工艺要求时关闭蒸汽、搅拌浆电机,即可进行粗滤。
2.稀配罐操作规程:(1)检查设备各部件是否正常,各阀门是否已关闭,电源是否接通。
(2)开启输液阀门,启动输液泵,将浓配罐内液体泵入稀配罐,同时药液流经钛滤器进行粗滤,输液完毕后关闭阀门和输液泵。
(3)开进水阀门,往稀配罐内通注射用水稀释至足量,然后关闭进水阀门。
(4)启动搅拌浆电机,开始搅拌。
(5)当药液达到工艺要求时关闭搅拌浆电机,停止搅拌。
(6)将稀配后的药液通往微孔滤膜滤器进行精滤。
3.配液灌清洁保养:用洗涤剂刷洗,用粗滤的饮用水冲洗,用纯化水、注射用水洗;换品种时大清,用1%氢氧化钠煮半小时。
4.微孔滤膜滤器操作过程:(1)微孔滤膜滤器使用前处理:测定气泡点;用注射用水浸泡24小时。
(2)旧的滤芯用氢氧化钠洗至五残留(不能用双氧水洗,否则呈粉性)。
5.配液与滤过过程中的生产工艺管理与质量控制生产工艺管理要点:(1)尽可能缩短配液时间,防止微生物与热原的污染。
(2)所用器具、原辅料尽量无菌,减少污染。
(3)对不易滤清的药液可加0.1-0.3%活性炭处理,浓配脱碳要冷却到50°左右再过滤,避免脱吸附。
(4)如使用非水溶媒,设备、容器具须干燥后使用。
(5)搅拌时间符合工艺要求。
(6)微孔滤膜应做气泡点检查。
质量控制要点:(1)色泽。
(2)含量。
(3)可见异物。
五、注射剂的灌封(播放视频后讲解以下内容)(一)灌封岗位的洁净度要求:最终灭菌产品灌封操作室洁净度为C级背景下A级。
(二)灌封常用的技术与设备安瓿灌封要求剂量准确,严密不漏气,安瓿顶端圆整光滑,无焦头、瘪头、泡头、尖头等质量问题。
灌装增加装量:见教材分拉丝封口(当旋转安瓿瓶颈玻璃在火焰加热下熔融时,采用机械方法将瓶颈闭口,国家规定必须采用直立或倾斜旋转拉丝封口)和顶封两种。
灌装和封口应在同一室内。
注意问题:洁净度剂量沾瓶通气(惰性气体)熔封时易出现问题、原因及解决办法:见教材自动灌封机可同时完成进瓶-理瓶-送瓶-前充氮-灌装-后充氮-预热-拉丝封口-出瓶(三)灌封操作过程(四)安瓿干燥灭菌的过程的生产工艺管理与质量控制1.生产工艺管理要点:(1)经常检查装量及封口质量,封口不得有炭化、封口不严等。
(2)收集灌封后安瓿的容器应有标签,标明品名、规格、批号、生产日期、灌封人、灌封序号,防止混药、混批。
2.质量控制要点:(1)封口质量。
(2)装量:根据要的规定增加灌装量。
(3)可见异物。
六、注射剂的灭菌和检漏(播放视频后讲解以下内容)(一)灭菌和检漏过程:灌封后12h内灭菌。
不耐热压的品种可用流通蒸汽灭菌,1-5ml安瓿采用100°30分钟,10-20ml100°45分钟,如Vc、地塞米松磷酸钠缩为15分钟。
热稳定性品种及输液均用热压灭菌,F0值大于8。
检漏:灭菌后待温度稍降,抽气减压至真空度85.3-90.6kPa,停止抽气,将有色溶液(一般用亚甲蓝)注入灭菌器淹没安瓿,然后放入空气,有色溶液便进入有漏隙的安瓿。
(二)灭菌和检漏程中的生产工艺管理与质量控制1.生产工艺管理要点:(1)灌封后要立即灭菌。
(2)灭菌时间须由全部药液温度达到规定的温度时算起。
(3)压力回零后再打开柜门2.质量控制要点:(1)温度。
(2)压力。
(3)F0值。
七、注射剂的印字与包装及质量检查(播放视频后讲解以下内容)印字包装:最少应有名称、规格、批号质量检查:(一)可见异物检查检查装置为伞棚式安瓿检查灯。
(二)装量检查标示装量为不大于2ml者取供试品5支,2ml以上至50ml者取3支,依法检查,每支装量均不得少于其标示量。
(三)热原检查(四)无菌检查无菌检查法包括直接接种法和薄膜过滤法。
(五)降压物质检查有些注射剂如生物制品要求检查降压物质。
(六)其他检查鉴别、含量测定、pH值的测定、毒性试验、刺激性试验等按具体品种要求进行检查实例分析:维生素C注射液Vc注射液处方:维生素C(主药) 104gEDTA-2Na(络合剂) 0.05g碳酸氢钠(pH调节剂) 49.0g亚硫酸钠(抗氧剂) 2.0g注射用水加至1000ml制备:80%注射用水→通二氧化碳→碳酸氢钠→EDTA-2Na、亚硫酸钠→维生素C→pH6.0-6.2→注射用水全量→过滤→通二氧化碳灌封→100℃, 15min流通蒸气灭菌。
八、注射剂制备(实训五)【实训目的】1.掌握注射剂的生产工艺过程及操作要点。
2.掌握安瓿及容器、器具的处理方法与要求。
3.熟悉注射剂灌封原理及方法。
4.熟悉注射剂的漏气检查及可见异物检查方法。
【实训指导】盐酸普鲁卡因注射剂的制备1.含义注射剂系指药物制成的可供注入人体的灭菌溶液或乳状液,以及供临用前配成溶液或混悬液的无菌粉末或浓溶液。
注射剂是一类供皮下、肌肉、静脉、脊髓等注射的灭菌溶液。
具有奏效迅速等优点。
注射剂的要求更为严格,以保证用药安全、有效。
对注射剂的基本质量要求是:(1)无菌; (2)无热原; (3)含量合格; (4)pH合格; (5)澄明度合格; (6)稳定无毒性; (7)等渗为达到上述要求,制备时应尽量在避菌、避尘的条件下进行,原料药品及溶媒应严格要求,灭菌操作应确实掌握温度、时间以达到完全灭菌要求。
2.制备工艺原辅料的准备→配液→滤过→灌注→熔封→灭菌→质量检查→印字包装→成品。
3.制备要点配制注射剂的原辅料必须符合药典或卫生部药品标准中注射剂的有关规定。