整套监理工作流程图(38张,visio编辑)
- 格式:doc
- 大小:3.62 MB
- 文档页数:38
监理工作流程图全套 The pony was revised in January 2021附录1:监理工作流程图附图一(一)总监理程序框图施工准备阶段监理施工阶段监理是否附图二(二)施工测量监理程序不合格附图三合格不合格不合格合格合格附图四(四)外购材料监理程序框图附图五附图六(六)见证试验监理程序框图附图八 (八)分项工程开工报告审批监理程序框图不认可 认可不认可 认可资料 整理监理同意开工附图九(九)工 序 验 收 程 序不不合格合格附图十(十)分项工程检验程序框图填附图十一 (十一)填前碾压监理程序框图施工程序 监理程序 原始资料归档程序要求重新碾压不合格同意进入下道工序施工附图十二(十二)填方路堤施工监理程序框图施工程序 监理程序 原始资料归档程序重新碾压 不合格注意松铺厚度、作业段搭接长度不合格请验合格合格资料整理附图十三(十三)挖方路基施工监理程序框图不认可安全施工、设排水通道排水方式坡度满足设计要求压实后的下沉量不合格请验附图十四共检请验合格合格附图十五(十五)系梁(承台)施工监理程序框图请验同意资格整理附图十六(十六)墩柱施工监理程序框图请验同意资料整理附图十七(十七)盖梁施工监理程序框图纠正不合格合格请验合格资料整理附图十八(十八)混凝土及钢筋混凝土施工监理程序框图(桥梁、涵洞、通道混凝土施工)随时纠正查找原因附图十九(十九)桥涵基坑施工监理程序不认可认可填报分项开工报告纠正不合格合格请验纠正检测坍落度制取试件请验纠正检测坍落度制取试件纠正检测坍落度制取试件不合格合格请验合格资料整理附图二十一(二十一)路面工程监理程序框图监理程序施工程序附图二十三 (二十三)沥青面层施工程序及监理工作示意附图二十四。
创作编号:GB8878185555334563BT9125XW创作者: 凤呜大王*附录1:监理工作流程图附图一 (一)总监理程序框图 施 工 准 备 阶 段 监 理否附图二(二)施工测量监理程序创作编号:GB8878185555334563BT9125XW创作者:凤呜大王*不合格附图三(三)自采材料监理程序框图合格合合格合格不合格不合格合格合格附图四(四)外购材料监理程序框图附图五(五)外委试验监理程序框图附图六(六)见证试验监理程序框图附图七(七)施工阶段费用控制工作流程附图八(八)分项工程开工报告审批监理程序框图不认可认可资料整理监理同意开工附图九(九)工序验收程序创作编号:GB8878185555334563BT9125XW创作者:凤呜大王*合格附图十(十)分项工程检验程序框图合合格格不合格合格填附图十一(十一)填前碾压监理程序框图不 合创作编号:GB8878185555334563BT9125XW创作者: 凤呜大王*附图十二(十二)填方路堤施工监理程序框图(十三)挖方路基施工监理程序框图附图十四(十四)钻孔桩施工监理程序框图不认可认可填报分项开工报告纠正创作编号:GB8878185555334563BT9125XW创作者:凤呜大王*共检合格不合格合格请验纠正测坍落度制取试件共检请验合格合格附图十五(十五)系梁(承台)施工监理程序框图请验同意资格整理附图十六(十六)墩柱施工监理程序框图不合格请验同意资料整理附图十七(十七)盖梁施工监理程序框图纠正纠正不合格合格请验合格资料整理附图十八(十八)混凝土及钢筋混凝土施工监理程序框图(桥梁、涵洞、通道混凝土施工均可参照)随时纠正制取试件随时纠正查找原因附图十九(十九)桥涵基坑施工监理程序重新修整不合格请验合格合格资料整理附图二十(二十)管涵施工监理程序框图请验纠正检测坍落度制取试件纠正检测坍落度制取试件不合格合格请验合格资料整理附图二十一(二十一)路面工程监理程序框图监理程序施工程序附图二十二(二十二)基层底基层施工程序及监理工作示意图附图二十三(二十三)沥青面层施工程序及监理工作示意附图二十四(二十四)质量事故处理工作流程图不通过通过否是创作编号:GB8878185555334563BT9125XW创作者:凤呜大王*。
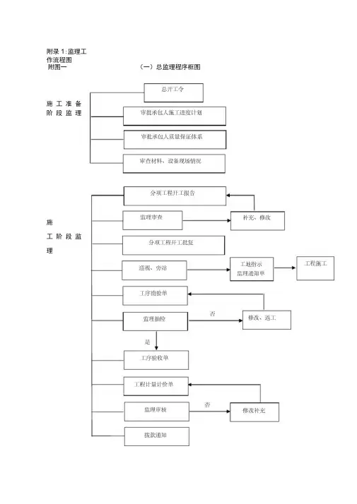
附录1:监理工作流程图
附图一(一)总监理程序框图
施工准备阶段监理
施工阶段
监理
(二)施工测量监理程序
(三)自采材料监理程序框图
(四)外购材料监理程序框图
(五)外委试验监理程序框图
(六)见证试验监理程序框图
(七)施工阶段费用控制工作流程
附图八(八)分项工程开工报告审批监理程序框图
(九)工序验收程序
(十)分项工程检验程序框图
附图十一(十一)填前碾压监理程序框图
(十二)填方路堤施工监理程序框图
(十三)挖方路基施工监理程序框图
附图十四(十四)钻孔桩施工监理程序框图
附图十五(十五)系梁(承台)施工监理程序框图
附图十六(十六)墩柱施工监理程序框图
附图十七(十七)盖梁施工监理程序框图
附图十八(十八)混凝土及钢筋混凝土施工监理程序框图
(桥梁、涵洞、通道混凝土施工均可参照)
附图十九(十九)桥涵基坑施工监理程序
附图二十(二十)管涵施工监理程序框图
附图二十一(二十一)路面工程监理程序框图监理程序施工程序
附图二十二
(二十二)基层底基层施工程序及监理工作示意图
附图二十三(二十三)沥青面层施工程序及监理工作示意
附图二十四
(二十四)质量事故处理工作流程图。
附录1:监理工作流程图附图一(一)总监理程序框图施工准备阶段监理施工阶段监理(二)施工测量监理程序(三)自采材料监理程序框图(四)外购材料监理程序框图施工单位提供产品合格证及试验报告监理审核认可购买验收进场运出场外资料正确存档附图四■退货不合格L合格施工单位使用前复核性抽检 必要时监理抽检合格 不合格施工单位按频率抽检必要时监理抽检用于施工 资料正确存档(五)外委试验监理程序框图(六)见证试验监理程序框图(七)施工阶段费用控制工作流程月度汇总中期支付交工结帐附图八(八)分项工程开工报告审批监理程序框图施工程序监理程序原始资料归档程序附图九(九)工序验收程序(十)分项工程检验程序框图附图十旁站监理抽样检测不批准不合不合格合格1 r附图 (十一)填前碾压监理程序框图施工程序 监理程序 原始资料归档程序不认可随时纠正监理巡视施工原始资料一份随时纠正~~I --------------监理巡视要求重新碾压报监理监理抽检工序报验单二份 施工单位自检资料一份 监理抽检资料一份同意进入下道工序施工监理资料一 份请验单、 抽检资料施工单位资 料一份请验 单、施工原 始记录、自 检资料(十二)填方路堤施工监理程序框图(十三)挖方路基施工监理程序框图施工程序监理程序原始资料归档程序清理地表监理检查不认可用指示桩标明路堑堑顶轮廓监理检查不认可修筑截水沟、视土质11 亠1监理检杳情况作防渗工作1不认可11注意施工原始资料一份按施组设计方案进行开挖安全施监理巡视、旁站弃土堆合理、堆放符合规范要求监理巡视排水方式合;格附图十四(十四)钻孔桩施工监理程序框图附图十五 (十五)系梁(承台)施工监理程序框图施工程序监理程序原始资料归档程序纠正钢筋加工与安装监理巡视不合格监理旁站制取试件监理巡视砼强度达70%拆除底模板1 F不合格监理抽检请验同意卄 进入下道工序施工监理同意工序报验单二份 自检资料一份 抽检资料一份施工单位资料一份① 开工报告及所附资料② 检验申请批复单、自检 资料、施工原 始记录。
图三施工阶段中间计量支付监理工作流程
图四平面控制点、高程控制点交接监理工作流程
图五施工放样测量监理工作流程
图十填方用土质量监理工作流程
图十一片石、碎石、石屑、砂、矿粉材料质量监理工作流程
图十二沥青、水泥、石灰、钢材质量监理工作流程
图十五基层、底层混合料质量监理工作流程
图十六沥青混合料质量监理工作流程
图十七原地面清理及填前碾压工程质量监理工作流程
图二十池塘填石工程质量监理流程
图二十一排水管道质量监理流程
图二十二浆砌排水沟(边沟、截水沟、流水槽、急流槽、跌水等)检查(雨水)井、盲沟工程质量监理流程
图二十三挡土墙防护及其他砌石(浆砌圬土、混凝土及锚碇板式挡土墙、护底锥坡护坡、导流调治)工程质量监理流程
图二十四路面面层工程质量监理流程
图二十五沥青砼路面面层工程质量监理流程
图二十六路面基层、底基层质量监理流程
图二十七水泥砼路面面层工程质量监理流程
图二十八桥梁工程质量监理流程
图二十九明挖基础工程质量监理流程
图三十钻孔灌注桩工程质量监理流程
图三十一圬工砌体、墩台工程质量监理流程
图三十二钢筋及预应力钢筋加工安装工程质量监理流程
图三十三砼浇筑(含上下部工程的预制、就地浇筑)
工程质量监理流程
图三十四先张法预应力混凝土预制梁、板工程质量监理流程
图三十五后张法预应力混凝土预制梁工程质量监理流程。
监理工作流程图(全套)施工阶段监理工作总程序:1.项目监理组进驻现场,熟悉图纸有关资料,编制监理实施细则,并通知监理人员名单和监理工程师权限。
2.进行施工现场调查,检查施工现场的安全保护和文明设施,并通知监理程序送施工单位。
3.进行图纸会审和施工组织设计审批,并召开第一次工地会议投资控制,签发开工指令。
4.实施监督与管理,使用报表通知分包单位资格审查、审核工程量、审核预算、签发工程付款单、处理索赔,督促施工单位严格按规范、图纸及工艺标准施工,按规定及要求报验,分析查明原因,监督返不合格修、返工,合格质量控制和进度控制。
5.审核上岗人员资格,预控原材料、构配件和设备,质量预控及验收分部分项与单位工程,组织竣工初验,协助业主组织竣工验收,参与质检部门核定质量等,审核总进度计划和年、季、月施工进度计划实际进度与计划进度对比分析、调整,签发竣工移交证书,施工阶段监理总结安全控制。
施工准备阶段监理程序:1.监理人员进场,协助业主进行施工招标投标,办理建筑、开工、施工许可证,办理施工临时用电、临建报批手续,办理拆迁、消防、交通、环保、绿化、通讯等手续。
2.进行现场复查施工放线、测量原始地面线,现场交桩,图纸会审、技术交底、施工组织设计、方案审查,召开第一次工地会议,工程开工,进入施工阶段监理。
开工申请核签程序:1.施工单位提出申报,总监室提出意见,与业主及各方面协调会,初审意见转发现场监理工程师。
2.现场监理工程师协调会议纪要签发程序,主持协调会,指定有关人员拟订会议纪要文稿,审查、核定,征求有关方面包括业主意见,修改后签章、行文外发。
图纸会审及技术交底程序:1.熟悉施工图纸,初审提出问题,各专业监理工程师监理组内部会审,总监主持,整理列出问题清单。
2.清单问题审核,总监理工程师清单问题补充,各专业监理工程师清单问题汇总,汇总清单问题报业主,列出设计要点、施工重点及难点。
3.设计院各专业监理工程师召开技术交底会,在业主、施工单位、设计单位、监理单位四方图纸会审会上,由设计院交底并就准备好的问题进行答疑,业主、设计单位、监理单位、施工单位整理设计会审纪要发有关单位。
主要监理工作流程图
1.施工安装阶段监理服务流程
2.开工审核监理工作流程
3.施工图纸会审流程
4.建筑材料供应单位资质审核工作程序
5.建筑材料进场使用监理审核流程
6.分包单位资格审查基本流程
7.技术核定单位审核工作流程
8.监理巡视检查工作程序
9.施工阶段质量控制工作流程
10.工程质量事故处理审核工作流程
11.隐蔽工程验收监理工作流程
12.分项工程验收监理工作流程
13.进度控制工作流程图
14.投资控制监理工作流程
15.合同管理其他工作的监理程序
16.安全、文明施工监理工作流程
17.竣工验收监理工作流程
18.保修阶段的监理程序
1.施工安装阶段监理服务流程
接下页
承上页
2.开工审核监理工作流程
3.施工图纸会审流程
4.建筑材料供应单位资质审核工作程序
5.建筑材料进场使用监理审核流程
接下页
接上页
6.分包单位资格审查基本流程
7。
技术核定单位审核工作流程
8.监理巡视检查工作程序
9.施工阶段质量控制工作流程
10.工程质量事故处理审核工作流程
13.进度控制工作流程图
接下页
承上页
14。
投资控制监理工作流程
⑴工程量计量流程
可
⑵工程付款流程
可
⑶竣工结算控制流程图
15.合同管理其他工作的监理程序
⑴工程变更监理的基本程序
⑵工程延期监理基本程序
16.安全、文明施工监理工作流程
17.竣工验收监理工作流程
18.保修阶段的监理程序。
附录1:监理工作流程图
附图一(一)总监理程序框图
工
准
备
阶
段
监
理
施
工
阶
段
监
理
附图二
附图三
合格不合格
不合格
合格合格
附图四
(四)外购材料监理程序框图
附
不认可 认可
资料 整理
监理同意开工
附图九
(九)工 序 验 收 程 序
附图十
(十)分项工程检验程序框图
不
批
准
批准
不
合
合格格
不
合
格
合格
填
附图十一(十一)填前碾压监理程序框图
纠 正 请验 合格
纠正 请验 测试坍落度 制取试件
纠正 不合格 不合格
请验
同意 资料 整理
附图十七 (十七)盖梁施工监理程序框图
(桥梁、涵洞、通道混凝土施工均可参照)
纠正
检测坍落度
制取试件
请验
纠正
检测坍落度
制取试件
纠正
检测坍落度
制取试件
不合格合格
请验
合格资料整理附图二十一(二十一)路面工程监理程序框图
监理程序施工程序
附图二十三(二十三)沥青面层施工程序及监理工作示意。
主要监理工作流程图
1.施工安装阶段监理服务流程
2.开工审核监理工作流程
3.施工图纸会审流程
4.建筑材料供应单位资质审核工作程序
5.建筑材料进场使用监理审核流程
6.分包单位资格审查基本流程
7.技术核定单位审核工作流程
8.监理巡视检查工作程序
9.施工阶段质量控制工作流程
10.工程质量事故处理审核工作流程
11.隐蔽工程验收监理工作流程
12.分项工程验收监理工作流程
13.进度控制工作流程图
14.投资控制监理工作流程
15.合同管理其他工作的监理程序
16.安全、文明施工监理工作流程
17.竣工验收监理工作流程
18.保修阶段的监理程序
1.施工安装阶段监理服务流程
接下页 承上页
2.开工审核监理工作流程
3.施工图纸会审流程
6.分包单位资格审查基本流程
7.技术核定单位审核工作流程
8.监理巡视检查工作程序
9.施工阶段质量控制工作流程
10.工程质量事故处理审核工作流程
11.
12.分项工程验收监理工作流程
13.进度控制工作流程图
接下页
承上页
14.投资控制监理工作流程
⑴工程量计量流程
⑵工程付款流程
磋商
⑶竣工结算控制流程图
15.合同管理其他工作的监理程序
⑴工程变更监理的基本程序
⑵工程延期监理基本程序
16.安全、文明施工监理工作流程
17.竣工验收监理工作流程
18.保修阶段的监理程序。
监理工作流程图目录表1、保修期监理工作流程-保修阶段的监理程序图32、建筑设备安装工程质量控制流程图2、变更监理工作程序图33、建筑施工测量质量控制的作流程图3、工序或单元工程质量控制监理工作程序图34、门窗工程质量控制工作流程图4、费用索赔管理基本程序图35、通风空调工程质量监理的工作流程图5、工程延期管理基本程序图36、屋面工程质量控制流程图6、结束监理合同的程序图37、原材料、成品、半成品验收监理工作流程图7、签订监理合同图38、质量评定监理工作程序图8、索赔处理监理工作程序图39、主体工程质量控制流程图9、违约处理基本程序图40、装饰工程质量控制流程图10、施工监理工作的总程序图41、质量评定监理工作程序图11、监理单位选择工作程序图42、承包单位组织结构图12、进度控制监理工作程序图43、监理单位组织结构图13、工程进度控制的基本程序图44、建设单位组织结构图14、进度控制监理工作程序图15、施工总进度计划的编制监理工作程序图16、分包单位资格审查基本程序图17、施工组织设计审核流程图18、图纸会审监理工作流程图19、工程款竣工结算基本程序图20、工程款支付基本程序图21、工程款支付监理工作程序图22、月工程计量和支付基本程序图23、单位工程验收基本程序图24、地基与基础工程质量控制工作流程图25、地面与楼面工程质量控制流程图26、分部分项工程质量验收监理工作流程图27、分项、分部工程签认基本程序图28、工程材料、构配件和设备质量控制基本程序图29、工序或单元工程质量控制监理工作程序图30、建筑采暖卫生与煤气工程质量监理的工作流程图31、建筑电气安装工程质量监理的工作流程图1.保修阶段的监理程序.2. 变更监理工作程序图同意3、工序或单元工程质量控制监理工作程序图进入下一工序或(单元工程)4、费用索赔管理基本程序图5、工程延期管理基本程序图6、结束监理合同的程序图7、签订监理合同流程图8、索赔处理监理工作程序图9、违约处理基本程序图10、施工监理工作的总程序图11、监理单位选择工作程序图12、进度控制监理工作程序图13、工程进度控制的基本程序图14、进度控制监理工作程序图16、分包单位资格审查基本程序图17、施工组织设计审核流程图18、图纸会审监理工作流程图19、工程款竣工结算基本程序图20、工程款支付基本程序图21、工程款支付监理工作程序图22、月工程计量和支付基本程序图23、单位工程验收基本程序图24、地基与基础工程质量控制工作流程图25、地面与楼面工程质量控制流程图26、分部分项工程质量验收监理工作流程图27、分项、分部工程签认基本程序图28、工程材料、构配件和设备质量控制基本程序图29、工序或单元工程质量控制监理工作程序图进入下一工序或(单元工程)30、建筑采暖卫生与煤气工程质量监理工作流程图31、建筑电气安装工程质量监理工作流程图32、建筑设备安装工程质量控制流程1.隐蔽工程2.部件及设备安装工程33、建筑施工测量质量控制的工作流程34、门窗工程质量控制工作流程图35、通风空调工程质量监理的工作流程36、屋面工程质量控制流程图37、原材料、成品、半成品验收监理工作流程图38、质量评定监理工作程序图41、质量评定监理工作程序图。
监理工作程序框图目录1、监理工作总体程序框图2、施工准备阶段监理工作程序框图3、工序、分项工程质量控制监理工作程序框图4、质量评定监理工作程序框图5、进度控制监理工作程序框图6、工程款支付监理工作程序图7、工程变更监理工作程序框图8、索赔处理监理工作程序框图9、施工图检查与设计交底程序框图10、施工组织设计报审程序框图11、施工测量控制程序框图12、开工令发布程序框图13、施工设备现场的报验程序框图14、工序变更检验程序框图15、隐蔽工程检验程序框图16、工程停工令发布程序框图17、工程复工令发布程序框图18、工程材料进场报验程序框图19、工程分包报审程序框图20、工程质量事故处理程序框图1 监理工作总体程序框图2 施工准备阶段监理工作程序框图说明:执行本程序使用的主要表格为:CB01、CB05、CB06、CB07、CB08、CB11、CB12、CB13、CB14、CB15、CB38、JL02、JL03。
3 工序、分项工程质量控制监理工作程序框图说明:执行本程序使用的主要表格为:CB18、CB39。
进入下一工序或分项工程4 质量评定监理工作程序框图说明:执行本程序使用的主要表格为:CB18、CB33、JL24、JL25。
5 进度控制监理工作程序框图说明:执行本程序使用的主要表格为:CB02、CB24、CB25、CB32、JL05、JL06、JL13。
6 工程款支付监理工作程序图说明:执行本程序使用的主要表格为:CB18、CB23、CB26、CB27、CB28、CB29、CB30、CB31、JL14、JL15、JL16、JL19、JL20、JL21。
说明:1、一般变更监理分部处理,重要变更先由监理分部提出处理意见后报监理部审核;2、执行本程序使用的主要表格为:CB23、JL5、JL13、JL14、JL15、JL16。
8 索赔处理监理工作程序框图说明:1、索赔处理先由监理分部提出处理意见,报监理部审核;2、执行本程序使用的主要表格为:CB27、CB28、JL05、JL19、JL20、JL21。
一、组建项目监理机构流程图
二、投资控制工作流程图
三、进度控制工作流程图
四、单位工程质量控制流程图
五、分项工程监理工作流程图
六、工序质量控制流程图
七、施工测量监理工作流程图
八、工程材料控制流程图
九、软基处理监理流程图
袋装砂井+砂垫层
监理流程
施工流程
土工格栅
十、混凝土挡土墙施工监理程序
十一、填方路基监理工作流程图
施工程序监理程序
十二、挖方路基监理工作流程图
施工流程
监理流程
十三、水泥稳定石屑施工监理工作流程
施工程序监理程序
十四、水泥砼路面施工监理工作流程
十四、沥青砼路面施工监理工作流程
十五、管涵、箱涵、通道施工监理程序框图
十六、钢筋工程监理工作流程
施工流程
监理流程
十七、混凝土工程监理工作流程
监理程序施工程序
十八、模板与支架施工监理工作流程图
施 工 程 序
监 理 程 序
十九、钻孔灌注桩监理工作流程图
二十、承台施工监理工作流程
二十一、墩柱施工监理工作流程
二十二、现浇连续箱梁施工监理工作流程图
二十三、预应力简支T梁预制施工监理流程图
监理流程
施工流程
二十四、钢套箱沉放和承台施工监理工作流程图
监理流程
施工流程
二十五、官洲河特大桥主桥连续刚构监理工作流程图1、连续刚构节段施工监理工作流程图
监理流程
施工流程
2、连续刚构总体监理工作流程图
监理流程
施工流程
二十六、新造珠江特大桥主桥施工监理流程图1、索塔的爬模施工监理流程图
2、斜拉索制造监理流程图
施工流程监理流程
3、斜拉索施工监理工作流程图
监理流程
施工流程
二十七、支座安装监理工作流程
施工流程监理流程
二十八、伸缩缝安装监理工作流程
施工流程监理流程
二十九、安全施工监理工作流程图
三十、质量缺陷处理流程图
三十一、索赔处理工作流程图
三十二、竣工验收监理工作流程图
三十三、保修期监理工作流程图。