监理工作流程图全套
- 格式:docx
- 大小:53.71 KB
- 文档页数:10
监理工作流程图全套 The pony was revised in January 2021附录1:监理工作流程图附图一(一)总监理程序框图施工准备阶段监理施工阶段监理是否附图二(二)施工测量监理程序不合格附图三合格不合格不合格合格合格附图四(四)外购材料监理程序框图附图五附图六(六)见证试验监理程序框图附图八 (八)分项工程开工报告审批监理程序框图不认可 认可不认可 认可资料 整理监理同意开工附图九(九)工 序 验 收 程 序不不合格合格附图十(十)分项工程检验程序框图填附图十一 (十一)填前碾压监理程序框图施工程序 监理程序 原始资料归档程序要求重新碾压不合格同意进入下道工序施工附图十二(十二)填方路堤施工监理程序框图施工程序 监理程序 原始资料归档程序重新碾压 不合格注意松铺厚度、作业段搭接长度不合格请验合格合格资料整理附图十三(十三)挖方路基施工监理程序框图不认可安全施工、设排水通道排水方式坡度满足设计要求压实后的下沉量不合格请验附图十四共检请验合格合格附图十五(十五)系梁(承台)施工监理程序框图请验同意资格整理附图十六(十六)墩柱施工监理程序框图请验同意资料整理附图十七(十七)盖梁施工监理程序框图纠正不合格合格请验合格资料整理附图十八(十八)混凝土及钢筋混凝土施工监理程序框图(桥梁、涵洞、通道混凝土施工)随时纠正查找原因附图十九(十九)桥涵基坑施工监理程序不认可认可填报分项开工报告纠正不合格合格请验纠正检测坍落度制取试件请验纠正检测坍落度制取试件纠正检测坍落度制取试件不合格合格请验合格资料整理附图二十一(二十一)路面工程监理程序框图监理程序施工程序附图二十三 (二十三)沥青面层施工程序及监理工作示意附图二十四。
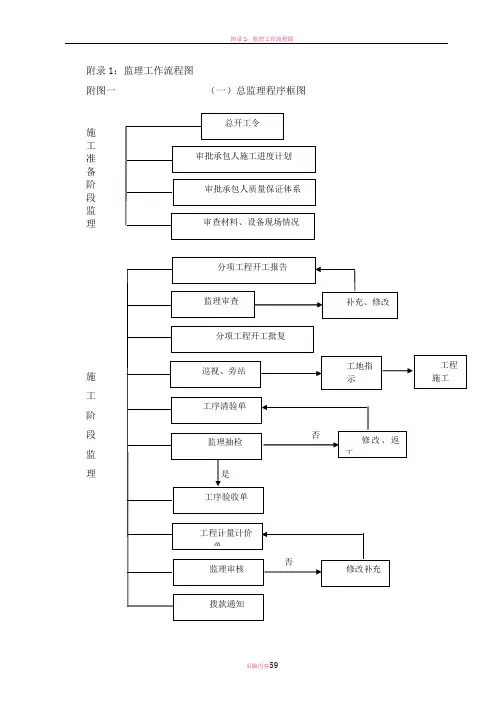
附录1:监理工作流程图
附图一(一)总监理程序框图
施工准备阶段监理
施工阶段
监理
(二)施工测量监理程序
(三)自采材料监理程序框图
(四)外购材料监理程序框图
(五)外委试验监理程序框图
(六)见证试验监理程序框图
(七)施工阶段费用控制工作流程
附图八(八)分项工程开工报告审批监理程序框图
(九)工序验收程序
(十)分项工程检验程序框图
附图十一(十一)填前碾压监理程序框图
(十二)填方路堤施工监理程序框图
(十三)挖方路基施工监理程序框图
附图十四(十四)钻孔桩施工监理程序框图
附图十五(十五)系梁(承台)施工监理程序框图
附图十六(十六)墩柱施工监理程序框图
附图十七(十七)盖梁施工监理程序框图
附图十八(十八)混凝土及钢筋混凝土施工监理程序框图
(桥梁、涵洞、通道混凝土施工均可参照)
附图十九(十九)桥涵基坑施工监理程序
附图二十(二十)管涵施工监理程序框图
附图二十一(二十一)路面工程监理程序框图监理程序施工程序
附图二十二
(二十二)基层底基层施工程序及监理工作示意图
附图二十三(二十三)沥青面层施工程序及监理工作示意
附图二十四
(二十四)质量事故处理工作流程图。
监理工作流程图大全目录一、施工阶段监理工作总程序: (1)二、施工准备阶段监理程序: (3)三、开工申请核签程序: (4)四、协调会议纪要签发程序: (5)五、图纸会审及技术交底程序 (6)六、施工组织设计(方案)审查程序: (7)七、单位工程质量控制程序: (8)八、工程进度控制程序: (10)九、施工阶段投资控制程序 (12)十、测量放线监理程序: (16)十一、土方工程质量控制程序: (20)十二、基坑边坡土钉墙及锚杆支护监理程序: (22)十三、预应力管桩质量监理程序: (24)十四、打(压)桩工程质量控制程序 (26)十五、地基与基础工程质量监理工作程序: (28)十六、原材料、成品、半成品质量监理工作程序: (30)十七、隐蔽验收控制程序: (32)十八、钢筋工程质量监理工作程序: (33)十九、砼工程质量监理工作程序: (35)二十、防水混凝土结构工程质量控制程序 (37)二十一、水泥砂浆防水层工程质量控制程序: (39)二十二、卷材防水层工程质量控制程序: (40)二十三、地面与楼面工程质量监理工作程序: (42)二十四、门窗工程质量监理工作程序: (44)二十五、屋面工程质量监理工作程序: (46)二十六、装饰工程质量监理工作程序: (47)二十七、建筑设备进场监理工作程序: (49)二十八、建筑设备安装工程质量监理工作程序: (50)三十、给水工程监理程序: (55)三十一、排水管道工程监理程序: (57)三十二、电信、电力管道监理程序: (59)三十三、电梯安装工程质量监理工作程序: (60)三十四、电气安装工程监理工作程序: (64)三十五、空调通风防排烟监理程序: (70)三十六、自动喷淋及消火栓灭火系统安装监理程序: (75)三十七、工序交接检验程序: (81)三十八、工程变更处理程序: (82)三十九、工程计量程序: (83)四十、工程款支付核签程序: (84)四十一、设计变更审核程序: (85)四十二、工程款审查程序: (86)四十三、索赔处理程序: (87)四十四、工程质量事故处理程序: (88)四十五、工程结算监理工作程序: (89)四十六、合同争议处理监理工作程序: (91)四十七、施工安全控制的监理工作程序: (92)四十八、安全隐患和事故处理的监理工作程序: (94)四十九、文明施工的监理工作程序: (96)五十、工程竣工初步验收监理工作程序: (98)五十一、工程竣工验收监理工作程序: (100)五十二、工程竣工档案验收监理工作程序: (104)五十三、保修阶段监理工作程序 (106)五十四、组织协调控制监理工作程序 (109)五十五、质量处理程序 (110)一、施工阶段监理工作总程序:协助业主组织竣工验收进度附录1:监理工作流程图页脚内容控制参与质检部门核定质量等签发竣工移交证书,施工阶段监理总结安全控制工程开工,进入施工阶段监理三、开工申请核签程序:现场监理工程师四、协调会议纪要签发程序:否总监签章、行文外发五、图纸会审及技术交底程序六、施工组织设计(方案)审查程序:附录1:监理工作流程图页脚内容七、单位工程质量控制程序:设计交底、图纸会审业主、设计、施工、监理人员申请开工承建商附: 1)审查施工组织设计2)测量复核资料3)材料、机械设备进场情况 4)有关材料的试验报告 5)施工企业资格证件6)分包单位的资格审查表审批、发布开工令 业主、总监理工程师制定质量监理细 监理工程师不合格工序施工 承建商自检、填报分部分项质量审批表承建商跟踪检查监理工程师资料齐备 材料合格 上道工序合格承建商下达整改通知书 监理工程师现场检查、内业资料检查监理工程师、质检站整理分析检查资料、填写质量监理记录、编写质量监理报告承建商、总监理工程师工程未全部完成编写质量监理总结、质量控 制结束组织竣工初验附录1:监理工作流程图页脚内容监理参加“三方”竣工验收督促承建商报请质量监督站核定竣工工程量等级签发竣工移交证书附录1:监理工作流程图页脚内容八、工程进度控制程序:施工承包合同工期编制施工进度计划承建商制定相应的劳动力、机械、材料使用计划业主、监理工程师审查讨论制订施工进度综合控制计划监理工程师编制相应的年、季、月度计划承建商检查施工人员材料供应、设备情况监理工程师检查实际进度执行情况监理工程师偏离计 划每月、季度调整一次计划监理工程师定期(每月、每周)进行进度分析,编写进度报告提交业主监理工程师编制进度监理总结,进度控制工作结束监理工程师竣工验收监督工程返修附录1:监理工作流程图合同保修期满页脚内容附录1:监理工作流程图九、施工阶段投资控制程序页脚内容附录1:监理工作流程图修改已完工程结算单审核索赔文件提出索赔文件No有无不合理之处?NoYes页脚内容附录1:监理工作流程图(续前页)之处?修改竣工决算文件N竣工决算结束页脚内容附录1:监理工作流程图页脚内容图例:业主工作 监理工程师工作设计人员工作施工单位工作附录1:监理工作流程图页脚内容十、测量放线监理程序:果不合格量,并计算挖土、填 土的土方量附录1:监理工作流程图合格页脚内容附录1:监理工作流程图线果合格附录1:监理工作流程图进入下一道工序承包人页脚内容附录1:监理工作流程图十一、土方工程质量控制程序:自检记录质量评定记录附录1:监理工作流程图验槽隐蔽验收记录施工记录页脚内容十二、基坑边坡土钉墙及锚杆支护监理程序:续前页同意十三、预应力管桩质量监理程序:同意续前页十四、打(压)桩工程质量控制程序学习图纸和技术资料学习操作规程和质量标准准备工作测量仪器准备技术交底桩帽或送桩帽与桩周围的间隙为 5~10 ㎜打(压)桩锤与锤帽、桩帽与桩之间应有相适应 的弹性衬垫注意打桩垂直度6.先长后短。
最新监理工作流程图总监理程序框图 施工 准 备 阶 段 监 理施 工 阶段监理是否施工测量监理程序自采材料监理程序框图不合格合格合格外购材料监理程序框图合格不合格附图五外委试验监理程序框图合格不合格见证试验监理程序框图合格不合格施工阶段费用控制工作流程(分项工程开工报告审批监理程序框图不认可认可不认可认可不认可认可不认可认可不认可认可不认可认可资料整理监理同意开工工序验收程序合格分项工程检验程序框图不批准批准不合合格格不合格合格填填前碾压监理程序框图道工序施工填方路堤施工监理程序框图合格资料 整理挖方路基施工监理程序框图设计要求下沉量钻孔桩施工监理程序框图共检合格不合格合格请验纠正测坍落度制取试件共检请验合格合格系梁(承台)施工监理程序框图纠正不合格请验合格纠正清除测坍落度制取试件纠正不合格不合格请验同意资格整理墩柱施工监理程序框图不认可 认可纠 正纠 正请验合格纠正 请验 测试坍落度 制取试件纠正 不合格不合格请验同意 资料 整理盖梁施工监理程序框图不认可认可不认可认可纠正不合格请验合格纠正纠正测试坍落度制取试件纠正纠正不合格合格请验合格资料整理混凝土及钢筋混凝土施工监理程序框图(桥梁、涵洞、通道混凝土施工均可参照)(十九)桥涵基坑施工监理程序(二十)管涵施工监理程序框图23检测坍落度 制取试件不合格 合格请验合格 资料 整理路面工程监理程序框图监理程序 施工程序基层底基层施工程序及监理工作示意图页脚内容24沥青面层施工程序及监理工作示意页脚内容26质量事故处理工作流程图不通过通过否是页脚内容27。
图三施工阶段中间计量支付监理工作流程
图四平面控制点、高程控制点交接监理工作流程
图五施工放样测量监理工作流程
图十填方用土质量监理工作流程
图十一片石、碎石、石屑、砂、矿粉材料质量监理工作流程
图十二沥青、水泥、石灰、钢材质量监理工作流程
图十五基层、底层混合料质量监理工作流程
图十六沥青混合料质量监理工作流程
图十七原地面清理及填前碾压工程质量监理工作流程
图二十池塘填石工程质量监理流程
图二十一排水管道质量监理流程
图二十二浆砌排水沟(边沟、截水沟、流水槽、急流槽、跌水等)检查(雨水)井、盲沟工程质量监理流程
图二十三挡土墙防护及其他砌石(浆砌圬土、混凝土及锚碇板式挡土墙、护底锥坡护坡、导流调治)工程质量监理流程
图二十四路面面层工程质量监理流程
图二十五沥青砼路面面层工程质量监理流程
图二十六路面基层、底基层质量监理流程
图二十七水泥砼路面面层工程质量监理流程
图二十八桥梁工程质量监理流程
图二十九明挖基础工程质量监理流程
图三十钻孔灌注桩工程质量监理流程
图三十一圬工砌体、墩台工程质量监理流程
图三十二钢筋及预应力钢筋加工安装工程质量监理流程
图三十三砼浇筑(含上下部工程的预制、就地浇筑)
工程质量监理流程
图三十四先张法预应力混凝土预制梁、板工程质量监理流程
图三十五后张法预应力混凝土预制梁工程质量监理流程。
附图1城市桥梁工程质量监理工作流程
签认竣工证书
附图2城市桥梁工程测监量放样师监理工作流程
不合格
附图3模板安装质量监理工作流程
附图4钢筋加工及安装质量监理工作流程
合格
签认隐蔽验收单
监理工程师附图5混凝土浇筑监理工作流程
不合格
合格附图6钻孔灌注桩监理工作流程
附图7支座安装监理工作流程
填报开
工申请
单
审核开工申请单
监理工程师合格
不合格合格
附图8梁、板安装质量监理工作流程
同时附上:
•复核支座安装质量
•施工组织设计
•梁、板到场情况•工人、技术
人员数量
安装、申请检验安装质量批准安装施工方案
承包人^1
监理工程师
■
不合格
返工编写安装施工方案报批
承包人
重编
同意不合格
合格
不合格
合格
附图9桥面铺装质量监理工作流程
附图10栏杆、灯柱安装质量监理工作流程
附图11饰面质量监理工作流程。
图1 施工监理服务实施程序
图2 施工招标阶段监理工作程序(受业主委托时)
图3 施工准备阶段监理工作程序
图4 工程质量控制程序
图5检验批及分项工程验收监理流程
图6 工程材料质量控制监理流程
图7 无损探伤监理控制程序
图8 工程质量事故处理程序
修
改
图9 工程变更处理程序
图10 工程预检、隐检、分项、分部工程验收程序
图11 进度审批程序框图
图12工程进度控制程序
图13 月完成工程量计量支付程序
图14 工程合同费用控制程序
图15 索赔处理程序
图16 工程延期管理程序
符
合要求
图17 竣工验收基本程序
业主
监理部
勘察、设计单位承建单位
图18 工程信息流程图。
施工阶段工程质量监理工作流程标准试验监理工作流程工艺试验监理工作流程验证试验监理工作流程抽样试验监理工作流程材料监理流程图平面控制点、高程控制点交接监理工作流程施工放样测量监理工作流程路基工程施工监理流程图原地面清理及填前碾压工程质量监理工作流程挖方(土方、石方)路基工程质量监理工作流程防护工程施工监理流程图挡土墙防护及其他砌石工程质量监理工作流程排水工程质量监理流程浆砌排水沟、检查(雨水)井、盲沟工程质量监理工作流程填石工程质量监理流程图涵洞工程施工监理流程图水泥、钢材材料质量监理工作流程片石、碎石、砂材料质量监理工作流程砂浆质量监理工作流程21砼质量监理工作流程22明挖基础工程质量监理工作流程23钻孔灌注桩工程质量监理流程24圬工砌体、墩台工程质量监理工作流程25多次浇筑的桥梁墩、台施工监理流程图26钢筋及预应力钢筋加工安装工程质量监理流程27砼浇筑(含上下部构造的预制、就地浇筑)工程质量监理工作流程28预制构件(含空心板、T梁、板等砼预制构件)施工监理流程图非预应力结2930预制梁、板的安装施工监理流程图桥面系施工监理流程图水泥混凝土路面面层工程质量监理工作流程基层、底基层混合料质量监理工作流程路面基层、底基层质量监理工作流程沥青混合料质量监理工作流程沥青混凝土路面面层工程质量监理工作流程路面面层工程质量监理工作流程质量事故处理框图施工阶段工程进度监理工作流程施工阶段中间计量支付监理工作流程41工程费用的工程变更监理工作流程42。
工程监理工作流程图
一、前期准备阶段
1.确定监理标的
•审查合同文件,了解监理范围与责任
•确认监理目标及重点内容
2.编制监理计划
•划分监理阶段及工作内容
•制定监理任务分工及时间节点
二、施工准备阶段
1.开展施工前调研
•实地考察工程场地及周边环境
•检查施工单位资质与技术条件
2.监理人员配备
•分工明确,角色职责清晰
•人员培训及专业技能提升
三、施工实施阶段
1.定期现场检查
•监督施工进度与质量
•发现问题及时处理与记录
2.咨询技术问题
•对施工中出现的技术问题进行咨询与解决•提供建议,协调解决工程实际问题
四、验收与监测阶段
1.工程质量验收
•对工程实施过程进行全方位验收
•准确记录验收结果
2.工程监理报告编制
•汇总监理过程中的问题及处理情况
•提出工程质量评价意见
五、竣工阶段
1.工程竣工验收
•审查工程验收资料
•最终确认工程质量及成果
2.监理总结与交接
•总结监理过程中的经验教训
•将监理文件、资料等交给相关单位和部门
六、事后监督阶段
1.定期回访检查
•回访工程使用情况,了解工程质量问题
•监督维护性工作的落实
2.问题整改与修正
•发现问题及时整改并纠正
•持续跟踪工程质量变化
以上为工程监理工作的流程图,详细展现了工程监理工作的全过程及各阶段的重点工作内容。
每一步都至关重要,需要监理人员严格按照流程执行,确保工程质量和安全。
监理作业程序1.监理作业程序1.1.施工监理的前期准备作业经与业主协商一致后签署监理委托协议,接受监理任务。
设立项目监理机构,委派总监理工程师.总监代表.各专业监理工程师,并明确岗位责任。
配备监理设施及检测设备,熟悉施工图纸,编制项目监理规划及实施细则。
业主有需求时,可协助业主组织施工协议的招标.评标.优选中标单位。
1.2.施工准备阶段的监理作业参与由业主组织的设计交底;审定施工组织设计.施工方案;审查施工测量结果;对施工现场周围环境的调查;检查承包单位技术管理及质量保障体系的落实;检查施工现场的安全防护.消防卫生设备.文明施工措施,提出意见并监督执行;召开第一次工地会议,进行施工监理交底;检查开工条件,批准开工。
1.3.施工过程中的三控.二管.一协调的作业程序1.质量控制作业程序(1)分包单位资质审查选择分包单位→总承包填写“分包单位资质报审单”→总监理工程师审查(总监同意)→总承包方与分包单位签署施工分包协议→分包单位进场施工。
(2)工程材料.构配件和设备进场检验程序承包单位填写“工程物资进场报验表”,监理工程师进行审核,合格后同意进场;不合格另选。
(3)隐蔽验收。
所有隐蔽工程必须经施工方自检合格并报监理验收合格后方能进行下道工序。
(4)分项.分部工程监理作业程序承包单位达到分项工程报验条件进行自检合格后填写“分项/分部工程施工报验表”报监理工程师审核,若不合格,承包单位进行纠正后重新报验;若合格监理工程师签认分项工程报验单,施工单位可进入下道工序施工。
达到分部工程验收条件时,施工单位先自检,然后填写“分部工程施工报验表”报监理工程师审核,若不合格,承包单位进行纠正后重新报验;若合格,监理工程师签认分部工程报验表2.进度控制作业程序(1)承包单位编制施工总进度计划,经总监理工程师批准后执行。
(2)承包单位应按年.季.月编制进度计划报总监审批后执行;监理工程师对实施情况进行检查.分析,若严重偏离计划目标则应指示承包单位采取措施及时纠偏。
监理工作流程图
总监理程序框图
工
准
备
阶
段
监
理
施
工
阶
段否
监
理是
施工测
合格不合
不合格
自采材料监理程序框图
合
认可
合格不合格
合格不合格
见证试验监理程序框图
工序验收程序
不不合格 合格
施
合格
分项工程检验程序框图
填前碾压监理程序框图施工程序监理程序原始资料归档程序
合
格
同意进入下道工序施工
施工程序监理程序原始资料归档程序
请验合格
纠正
请验
测试坍落度
制取试件
纠正
不合格
不合格
请验
同意资料整理
盖梁施工监理程序框图
防止离析、泌水
随时纠正
制取试件
随时纠正
查找原因
桥涵基坑施工监理程序
监理程序施工程序
沥青面层施工程序及监理工作示意。
附录1:监理工作流程图
附图一(一)总监理程序框图
工
准
备
阶
段
监
理
施
工
阶
段
监
理
附图二
附图三
不合格
合格合格
附图四
(四)外购材料监理程序框图
附(八)分项工程开工报告审批监理
附图十
(十)分项工程检验程序框图
附图十二
(十二)填方路堤施工监理程序框图
施工程序监理程序原始资料归档程序
纠正
不合格
不合格
请验
同意资格整理附图十六(十六)墩柱施工监理程序框图
纠正
不合格合格
请验
合格资料整理附图十八(十八)混凝土及钢筋混凝土施工监理程序框图
(桥梁、涵洞、通道混凝土施工)
不合格合格
请验
纠正
检测坍落度
制取试件
请验
纠正
检测坍落度
制取试件
纠正
检测坍落度
制取试件
不合格合格
请验
合格资料整理附图二十一(二十一)路面工程监理程序框图
监理程序施工程序
不通过
通过
否
是。