监理工作流程图
- 格式:doc
- 大小:544.00 KB
- 文档页数:42
监理工作流程图全套 The pony was revised in January 2021附录1:监理工作流程图附图一(一)总监理程序框图施工准备阶段监理施工阶段监理是否附图二(二)施工测量监理程序不合格附图三合格不合格不合格合格合格附图四(四)外购材料监理程序框图附图五附图六(六)见证试验监理程序框图附图八 (八)分项工程开工报告审批监理程序框图不认可 认可不认可 认可资料 整理监理同意开工附图九(九)工 序 验 收 程 序不不合格合格附图十(十)分项工程检验程序框图填附图十一 (十一)填前碾压监理程序框图施工程序 监理程序 原始资料归档程序要求重新碾压不合格同意进入下道工序施工附图十二(十二)填方路堤施工监理程序框图施工程序 监理程序 原始资料归档程序重新碾压 不合格注意松铺厚度、作业段搭接长度不合格请验合格合格资料整理附图十三(十三)挖方路基施工监理程序框图不认可安全施工、设排水通道排水方式坡度满足设计要求压实后的下沉量不合格请验附图十四共检请验合格合格附图十五(十五)系梁(承台)施工监理程序框图请验同意资格整理附图十六(十六)墩柱施工监理程序框图请验同意资料整理附图十七(十七)盖梁施工监理程序框图纠正不合格合格请验合格资料整理附图十八(十八)混凝土及钢筋混凝土施工监理程序框图(桥梁、涵洞、通道混凝土施工)随时纠正查找原因附图十九(十九)桥涵基坑施工监理程序不认可认可填报分项开工报告纠正不合格合格请验纠正检测坍落度制取试件请验纠正检测坍落度制取试件纠正检测坍落度制取试件不合格合格请验合格资料整理附图二十一(二十一)路面工程监理程序框图监理程序施工程序附图二十三 (二十三)沥青面层施工程序及监理工作示意附图二十四。
附录1:监理工作流程图
附图一(一)总监理程序框图
施工准备阶段监理
施工阶段
监理
(二)施工测量监理程序
(三)自采材料监理程序框图
(四)外购材料监理程序框图
(五)外委试验监理程序框图
(六)见证试验监理程序框图
(七)施工阶段费用控制工作流程
附图八(八)分项工程开工报告审批监理程序框图
(九)工序验收程序
(十)分项工程检验程序框图
附图十一(十一)填前碾压监理程序框图
(十二)填方路堤施工监理程序框图
(十三)挖方路基施工监理程序框图
附图十四(十四)钻孔桩施工监理程序框图
附图十五(十五)系梁(承台)施工监理程序框图
附图十六(十六)墩柱施工监理程序框图
附图十七(十七)盖梁施工监理程序框图
附图十八(十八)混凝土及钢筋混凝土施工监理程序框图
(桥梁、涵洞、通道混凝土施工均可参照)
附图十九(十九)桥涵基坑施工监理程序
附图二十(二十)管涵施工监理程序框图
附图二十一(二十一)路面工程监理程序框图监理程序施工程序
附图二十二
(二十二)基层底基层施工程序及监理工作示意图
附图二十三(二十三)沥青面层施工程序及监理工作示意
附图二十四
(二十四)质量事故处理工作流程图。
监理工作流程图(一)施工准备阶段监理工作流程图
(二)施工阶段监理工作流程图
进
入
合格下
道
工
序
(三)保修阶段监理工作流程图
属 保
通知 修
范不同意
围
属保修范围
未完成
完成
(四)单位工程质量控制监理流程图
(五)施工组织设计(施工方案)审批监理流程
不合格修改再报
(六)施工进度控制监理工作流程
不同意,
同
意,
修改计划
同意,注:如施工总进度计划
是施工组织设计的组
成部分,可不另外审批
偏离计划
正
常
(七)开工申请监理工作流程
(八)工程测量监理工作流程
不合格
合格
(九)原材料、构配件及设备质量监理工作流程
原材
备可
原材料,构配件
以场设备不能进入现
场
(十)工程隐检、予检及分部分项工程验收监理流程
返工
注:根据规定
隐检及各项中间验收,施工单位
应提前48小时通知监理单位。
(十一)工程停工复工监理程序
(十二)工程质量事故处理监理程序
注:在质量事故中出现人身伤亡时,需要停工时,按“
工程停、复工程序”执行。
(十三)工程洽商监理工作程序
(十四)工程量计量监理工作程序
注:工程完成量计算规则应符合有关规定,并应与施工概预算(或标底)
计算方法相同。
(十五)信息管理监理程序
职。
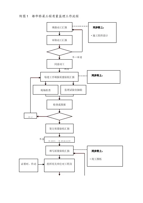
附图1 都市桥梁工程质量监理工作流程
附图2 都市桥梁工程测量放样监理工作流程
不合格附图3 模板安装质量监理工作流程
不合格
合格
附图4 钢筋加工及安装质量监理工作流程
合格
附图5 混凝土浇筑监理工作流程
不一样意
同意
不合格
合格
附图6 钻孔灌注桩监理工作流程
附图7 支座安装监理工作流程
不合格
合格
附图8 梁、板安装质量监理工作流程
同意不合格
合格
不合格
合格
附图9 桥面铺装质量监理工作流程
不合格
合格
附图10 栏杆、灯柱安装质量监理工作流程
不合格
合格
附图11 饰面质量监理工作流程
不合格合格。
图三施工阶段中间计量支付监理工作流程
图四平面控制点、高程控制点交接监理工作流程
图五施工放样测量监理工作流程
图十填方用土质量监理工作流程
图十一片石、碎石、石屑、砂、矿粉材料质量监理工作流程
图十二沥青、水泥、石灰、钢材质量监理工作流程
图十五基层、底层混合料质量监理工作流程
图十六沥青混合料质量监理工作流程
图十七原地面清理及填前碾压工程质量监理工作流程
图二十池塘填石工程质量监理流程
图二十一排水管道质量监理流程
图二十二浆砌排水沟(边沟、截水沟、流水槽、急流槽、跌水等)检查(雨水)井、盲沟工程质量监理流程
图二十三挡土墙防护及其他砌石(浆砌圬土、混凝土及锚碇板式挡土墙、护底锥坡护坡、导流调治)工程质量监理流程
图二十四路面面层工程质量监理流程
图二十五沥青砼路面面层工程质量监理流程
图二十六路面基层、底基层质量监理流程
图二十七水泥砼路面面层工程质量监理流程
图二十八桥梁工程质量监理流程
图二十九明挖基础工程质量监理流程
图三十钻孔灌注桩工程质量监理流程
图三十一圬工砌体、墩台工程质量监理流程
图三十二钢筋及预应力钢筋加工安装工程质量监理流程
图三十三砼浇筑(含上下部工程的预制、就地浇筑)
工程质量监理流程
图三十四先张法预应力混凝土预制梁、板工程质量监理流程
图三十五后张法预应力混凝土预制梁工程质量监理流程。
图1 施工监理服务实施程序
图2 施工招标阶段监理工作程序(受业主委托时)
图3 施工准备阶段监理工作程序
图4 工程质量控制程序
图5检验批及分项工程验收监理流程
图6 工程材料质量控制监理流程
图7 无损探伤监理控制程序
图8 工程质量事故处理程序
修
改
图9 工程变更处理程序
图10 工程预检、隐检、分项、分部工程验收程序
图11 进度审批程序框图
图12工程进度控制程序
图13 月完成工程量计量支付程序
图14 工程合同费用控制程序
图15 索赔处理程序
图16 工程延期管理程序
符
合要求
图17 竣工验收基本程序
业主
监理部
勘察、设计单位承建单位
图18 工程信息流程图。
监理工作流程图
总监理程序框图
工
准
备
阶
段
监
理
施
工
阶
段否
监
理是
施工测
合格不合
不合格
自采材料监理程序框图
合
认可
合格不合格
合格不合格
见证试验监理程序框图
工序验收程序
不不合格 合格
施
合格
分项工程检验程序框图
填前碾压监理程序框图施工程序监理程序原始资料归档程序
合
格
同意进入下道工序施工
施工程序监理程序原始资料归档程序
请验合格
纠正
请验
测试坍落度
制取试件
纠正
不合格
不合格
请验
同意资料整理
盖梁施工监理程序框图
防止离析、泌水
随时纠正
制取试件
随时纠正
查找原因
桥涵基坑施工监理程序
监理程序施工程序
沥青面层施工程序及监理工作示意。