环境保护管理体系的运行流程图
- 格式:docx
- 大小:32.91 KB
- 文档页数:1
环境管理体系PDCA 循环流程图第1 页共7 页附件2:环境管理体系各条款的工作流程一、策划1、环境因素识别与评价环境因素:影响环境的行为和活动.识别:就是工程从开工到竣工所有的生产和生活影响环境的行为和活动都识别出来。
通过识别建立《环境因素台帐》识别环境因素应考虑三种状态、三种时态和八个方面:三种状态:正常状态:指固定、例行性且计划中的作业与程序。
异常状态:指在计划中,然而不是例行性的作业.紧急状态:指可能或已发生的紧急事件.三种时态:过去:以往遗留的环境问题现在:现在正在发生的、并持续未来的环境问题将来:不可预见什么时候发生且对环境造成较大影响。
八个方面:向大气的排放;向水体的排放;向土地的排放;原材料和自然资源的使用;能源使用;能量释放(如热、辐射、振动等);废物和副产品;物理属性,如大小、形状、颜色、外观等。
评价:根据识别的《环境因素台帐》进行评价,列出《重大环境因素台帐》,环境因素的评价方法采用重要性准则法和多因素打分法。
评价的原因:公司建立、实施并保持《环境因素识别与评价程序》2、目标、指标及管理方案1)目标、指标及管理方案针对重要环境因素,通过目标、指标及管理方案的制订把影响环境的重大行为和活动控制在法律、法规的范围内2)目标与指标的制订应具有可测量性3)管理方案的制定应包括以下内容:a)应明确要实现的目标和指标。
b)应有可行的技术措施。
c)注明完成的时间和进度要求.d)明确责任部门或责任人。
e)方案应针对重大环境因素制定。
二、实施1、运行控制1)目的:针对重要环境因素进行控制,以确保环境目标、指标得到实现.2)内容:噪声、扬尘、固体废弃物、污水、资源能源消耗、原材料.3)噪声和污水监测报告、处置有毒有害废弃物单位的证明、垃圾清运协议、施工现场的控制4)根据公司和项目运行需要,需建立的运行控制程序包括:《污染物管理程序》《相关方管理程序》《节约原材料控制程序》《化学危险品管理程序程序》《能源资源节约管理程序》2、应急响应和准备公司建立并保持《应急准备与响应程序》,预防或减少事故的发生和对环境的影响,做好事件突发前的预测及发生后的应急反应,以减少事故、事件带来的损失和后果.三、检查1、绩效测量和监视1)目标、指标及方案的监测集团公司、区域公司、项目部定期对环境目标、指标的实现情况和管理方案的落实情况进行监督。
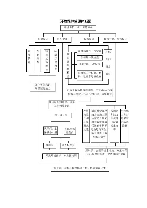
环境保护管理体系图
环境保护、水土保持体系
技术方案、措施保证
检查保证
思想保证
项目部每月一次检查
队每周一次检查 严格按设计和环保要求实施 对特殊工种制定强有力防范措施
按国家和地方相关部门法规规定办事
环保 部门 日常 监督
项 目 部 定 期 检 查
工班每日一次检查 班组每工序检查,材料、运渣车每辆检查
对施工现场环境和道路卫生有破坏、污染和水土保持工作未作到的逐一落实解决
项目经理部环保、水保
工作领导小组
用科学、合理的技术措施、方案来保证环境保护和水土保持目标的实现
综合办公室
专职环保检查员
队环保、水保领导小组 义务检查员
班组长 开展环境保护、水土保持周
制定科学合理的方案施工现场布局合理采用有效措施确保运输车辆不污染道路卫生、
施工废水不影响水土流失
普 及 教 育
专
业 教 育
特 殊 工 种 教 育
法 制 法 规 教 育
强化环保意识 增强预防能力
保护施工现场环境及临时住地、既有道路卫生
组织保证。
环境保护管理体系框图
环境保护管理制度
环
境
保
护
活
动
经
费
环
境
保
护
知
识
竞
赛
环
境
保
护
奖
惩
条
例
岗
位
环
境
保
护
责
任
制
环
境
保
护
教
育
各
种
环
境
保
护
警
示
项目环境保护领导小组
环境保护责任制环境保护教育环境保护管理体系
项目部安全环保科
标段安全环保处
安全环保员
环保人员
实现环境保护
奖罚兑现提高环境保护意识
现
场
植
被
保
护
与
防
火
水
资
源
保
护
生
态
环
境
保
护
水
污
染
防
治
与
水
土
保
持
野
生
动
物
保
护
噪
音
污
染
防
治
防
尘
与
大
气
污
染
防
治
环境保护工作体系
提高预测预防能力
不
定
期
检
查
定
期
检
查
环境保护检查
清除环境保护隐患。
施工现场环境保护方法1 施工现场保洁施工区内派清扫班2-3人,每日进行定时清扫,及时洒水确保路面清洁;日常车辆进出,必须对车辆进行冲洗,保证灰土不带出工地,生活区、办公区由保洁员每天进行日常保洁清扫工作。
(1)每天进行1至2次清扫,清扫的尘土和垃圾必须及时处理,不得滞留;(2)在清扫前,必须对路面、地面进行洒水,防止清扫时产生粉尘而污染周边环境;(3)车辆进料必须进行登记,车辆出门必须进行洗车,如车辆拒不执行洗车,一律不予放行,并及时上报项目部领导;(4)做好保卫工作,与本项目无关的扬尘污染源禁止带入施工场地;(5)生活区垃圾箱必须及时更换垃圾袋,及时上盖,及时清运。
2 沉淀池管理施工办公现场的沉淀池由清扫班清理,并形成记录。
(1)项目内沉淀池必须做到二级沉淀;(2)日常每周一次对沉淀池进行清理,特殊情况下必须及时清理,保证管道流水畅通;(3)不得将漂浮物和固体物排入沉淀池内;(4)专池专用,不得代替其它排水池;(5)不准损坏沉淀池;(6)定期对沉淀池的沉淀排污情况进行检查,保证排污达标。
3 专用建筑垃圾临时储存间管理建筑垃圾临时储存间由材料员负责管理,及时通知环卫部门清运。
(1)建筑垃圾必须通过楼梯或垂直运输机械进行转运,不得从建筑物高处向下流放污水、倾倒建筑垃圾。
(2)建筑垃圾必须分类堆放,不得混堆;(3)禁止超量堆放;(4)及时进行遮盖洒水,防止粉尘挥发;(5)保持周边清洁,不得散落;(6)及时做好清运记录。
4 木工房管理木工房由木工机械操作工负责日常管理,确保木工房产生的粉尘、废料不污染环境。
(1)木工房专人操作和管理;(2)木工房必须保持全封闭,操作时必须关门;(3)保持木工房整齐、整洁,及时清理木悄及废料,木悄及刨花等必须在装袋后清运至指定地点,必要时可进行喷水湿润后再清理;(4)专房专用,禁止将木工房作他用。
5 垃圾及材料运输管理垃圾及砂石等材料的运输,能导致在运输途中的撒、漏、扬等不良现象,造成扬尘污染和其它环境影响,必须实施有效控制。
环境管理体系PDCA 循环流程图附件2:环境管理体系各条款得工作流程一、策划1、环境因素识别与评价环境因素:影响环境得行为与活动。
识别:就就是工程从开工到竣工所有得生产与生活影响环境得行为与活动都识别出来。
通过识别建立《环境因素台帐》识别环境因素应考虑三种状态、三种时态与八个方面:三种状态:正常状态:指固定、例行性且计划中得作业与程序。
异常状态:指在计划中,然而不就是例行性得作业。
紧急状态:指可能或已发生得紧急事件。
三种时态:过去:以往遗留得环境问题现在:现在正在发生得、并持续未来得环境问题将来:不可预见什么时候发生且对环境造成较大影响。
八个方面:向大气得排放;向水体得排放;向土地得排放;原材料与自然资源得使用;能源使用;能量释放(如热、辐射、振动等);废物与副产品;物理属性,如大小、形状、颜色、外观等。
评价:根据识别得《环境因素台帐》进行评价,列出《重大环境因素台帐》,环境因素得评价方法采用重要性准则法与多因素打分法。
评价得原因:公司建立、实施并保持《环境因素识别与评价程序》2、目标、指标及管理方案1)目标、指标及管理方案针对重要环境因素,通过目标、指标及管理方案得制订把影响环境得重大行为与活动控制在法律、法规得范围内2)目标与指标得制订应具有可测量性3)管理方案得制定应包括以下内容:a)应明确要实现得目标与指标。
b)应有可行得技术措施。
c)注明完成得时间与进度要求。
d)明确责任部门或责任人。
e)方案应针对重大环境因素制定。
二、实施1、运行控制1)目得:针对重要环境因素进行控制,以确保环境目标、指标得到实现。
2)内容:噪声、扬尘、固体废弃物、污水、资源能源消耗、原材料。
3)噪声与污水监测报告、处置有毒有害废弃物单位得证明、垃圾清运协议、施工现场得控制4)根据公司与项目运行需要,需建立得运行控制程序包括:《污染物管理程序》《相关方管理程序》《节约原材料控制程序》《化学危险品管理程序程序》《能源资源节约管理程序》2、应急响应与准备公司建立并保持《应急准备与响应程序》,预防或减少事故得发生与对环境得影响,做好事件突发前得预测及发生后得应急反应,以减少事故、事件带来得损失与后果。