接触网承力索以及接触线装配流程
- 格式:ppt
- 大小:404.50 KB
- 文档页数:32
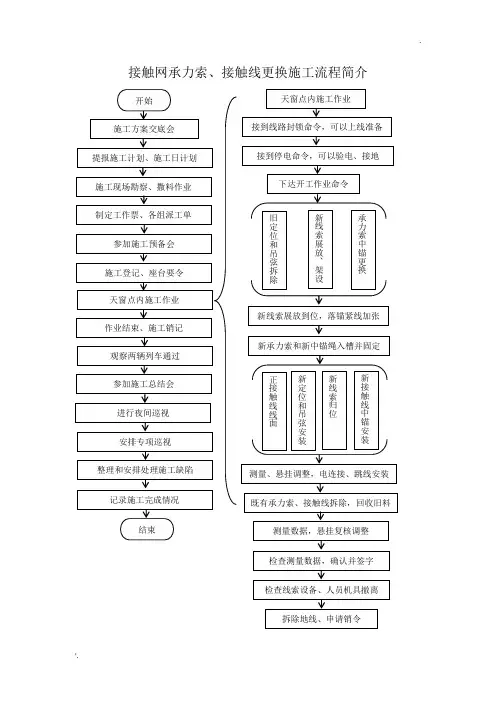
接触网承力索、接触线更换施工流程简介顺序一、施工方案交底会二、提报施工计划三、提报施工日计划四、现场勘察、撒料作业五、制定工作票、各组派工单六、参加施工预备会七、天窗前施工登记、座台要令等准备工作八、天窗时间内放线施工九、作业结束,施工销记十、天窗结束后安排观察列车通过情况十一、天窗结束后参加施工总结会十二、夜巡安排十三、安排施工后专项巡视十四、整理并安排处理施工中的缺陷十五、施工完成情况天窗时间内放线施工(一)作业流程(二)作业说明1、驻站要令人员接收线路封锁命令并下达至工作领导人,联控轨道车出站;2、驻站要令人员,向电调申请、接收停电作业命令,并下达至工作领导人;3、工作领导人接到封锁命令后,向各个作业小组下达进入封锁区间进行准备作业命令(严禁上杆作业)。
接到停电作业命令后,向各个作业小组下达开工作业命令;4、新承力索和接触线完成穿线并固定好后,作业车开始展放和架设新线索;其它各组同时将既有定位装置、吊弦拆除;中锚组将既有承力索中锚拆除、安装新中锚;5、新线展放到位后进行落锚,对新承力索、接触线依次加张力紧线;6、线索张力弛度到位后固定新承力索及承力索中锚;7、固定好承力索中锚后,各组开始正接触线线面,将新承力索入槽,安装新吊弦、定位装置和新接触线中锚;新线依次与补偿连接;8、进行数据测量、悬挂调整,进行电连接、跳线安装;9、拆除既有承力索、接触线,回收旧料;10、重新测量数据及调整悬挂装置;11、统计调整后的测量数据,找现场配合人员及施工监理检查并签字确认;12、检查线索设备无异常,人员机具全部撤离作业场地;施工单位、配合单位和工程监理共同确认设备到达开通条件后,准许工作领导人通知拆除地线,消除停电作业命令和封锁命令。
(三)注意事项及安装标准1、既有线索张力卸载利用两组大绳和滑轮、钢丝套子将既有线索的张力卸载;滑轮安装在支柱顶部,紧线器连接大绳和既有线索,再将大绳在支柱底部扪住。
此时可以进行更换补偿或者将补偿装置与新的线索连接。
襄渝铁路胡家营至达州段牵引供电扩能改造工程旬阳至安康段、花楼坝至达州段扩能改造工程承力索与接触线更换专项施工方案文件编号: ZTWJ襄渝施案2014—02编制:日期:年月日复核: 日期: 年月日审批:日期:年月日中铁五局(集团)电务工程有限公司襄渝接触网改造工程项目部目录一、编制依据: (1)二、各种锚段类型的划分 (1)2.1区间锚段 (1)2.2车站锚段 (1)三、人力和机具保障 (2)四、举例说明区间各类锚段承力索与接触线的更换方案 (2)4。
1花达段蒲家至双龙区间3锚段承力索与接触线更换方案: (2)4.2花达段石柱槽至蒲家区间1锚段接触线更换方案(含承力索下锚锚臂、中锚锚臂更换方案) (4)4.3花达段蒲家至双龙区间2锚段承力索更换方案 (7)4.4花达段宣汉至石柱槽区间8锚段接触线更换方案 (7)五、举例说明车站各类锚段承力索与接触线的更换方案 (8)5.1旬安段吕河车站4锚段接触线更换方案 (8)5。
2旬安段吕河车站渡1锚段接触线更换方案 (9)5。
3旬安段吕河车站II锚段接触线更换方案 (10)六、安全保障措施 (11)承力索与接触线更换专项施工方案一、编制依据:1.1旬安、花达段接触网施工设计图;1.2铁路电力牵引供电施工质量验收标准;1.3铁路技术管理规程;1.4西铁局相关安全管理规定;1.5施工天窗时间按120分钟考虑;1。
6施工现场实际调查与测量。
二、各种锚段类型的划分2。
1区间锚段2.1.1区间起锚、落锚柱为砼柱或钢柱的锚段;2.1。
2区间锚段中锚在隧道内的锚段;2。
1.3区间起锚、落锚为隧道或隧道门墙下锚的锚段;2。
1。
4区间经历器件式分相的锚段。
2.2车站锚段2.2。
1车站站线经历上下行渡线(卡设分段绝缘器)下锚的锚段;2.2。
2车站上下行单独渡线(卡设分段绝缘器)锚段;2.2。
3车站正线(两端经历线岔)锚段.三、人力和机具保障3.1人力保障:每个作业队配备作业队长一名,技术负责人一名,领工员一名,驻站联络员一名,现场接地防护员二名,上部作业小组长十名,上部熟练接触网工五十名以上。
接触网施工作业流程接触网施工作业流程:①施工准备:开工初期,根据站前工程施工实际进度,结合建设单位总体施工组织方案编制接触网工程实施性施工组织设计,报监理工程师和建设单位审批。
同时,与站前施工部门对接,确认轨道的线路中线桩、水准基点桩等数据。
②地锚埋设:按照设计要求,进行地锚的埋设,为后续的拉线和承力索提供稳固的锚固点。
③拉线基础浇注:在确定的位置进行拉线基础的浇注,确保拉线结构的稳定。
④锚柱安装:安装锚柱,这是接触网系统中用于固定接触线和承力索的关键结构。
⑤承力索和接触线架设:根据设计图纸,架设承力索和接触线,这是接触网的核心组成部分,负责传递电力给电力机车。
⑥转换点设置:在需要转换接触线的地方设置转换点,确保电力机车在不同供电臂间平滑过渡。
⑦限界保证:检查并确保所有接触网设备不会侵入列车的运行限界,保障行车安全。
⑧软横跨安装:在跨越线路或其他障碍时,安装软横跨结构,确保接触网的连续性和安全性。
⑨质量记录:在施工过程中,做好各种质量记录,分项工程完成后由作业班组进行自检,合格后由安质人员组织专检并认定合格。
⑩隐蔽工程记录:隐蔽工程施工过程要请监理参与,填报隐蔽工程记录并报监理签字确认。
⑪技术交底:编制施工表和技术交底下发到技术员,确保每个施工环节都有详细的操作指南。
⑫安全细则执行:遵循接触网施工作业安全细则,包括但不限于在轨道卡子处确认钢轨无变形、保证机械作业人员与接触网作业人员的密切联系与配合等。
⑬设备调试与检验:完成安装后,对接触网设备进行调试和全面检验,确保其功能正常且符合安全标准。
⑭施工收尾:完成所有施工任务后,进行现场清理,整理施工记录,准备竣工验收。
⑮竣工验收:邀请监理单位和建设单位进行竣工验收,确认接触网施工符合设计要求和相关规范。
接触网承力索、接触线更换施工流程简介顺序一、施工方案交底会二、提报施工计划三、提报施工日计划四、现场勘察、撒料作业五、制定工作票、各组派工单六、参加施工预备会七、天窗前施工登记、座台要令等准备工作八、天窗时间内放线施工九、作业结束,施工销记十、天窗结束后安排观察列车通过情况十一、天窗结束后参加施工总结会十二、夜巡安排十三、安排施工后专项巡视十四、整理并安排处理施工中的缺陷十五、施工完成情况天窗时间内放线施工(一)作业流程(二)作业说明1、驻站要令人员接收线路封锁命令并下达至工作领导人,联控轨道车出站;2、驻站要令人员,向电调申请、接收停电作业命令,并下达至工作领导人;3、工作领导人接到封锁命令后,向各个作业小组下达进入封锁区间进行准备作业命令(严禁上杆作业)。
接到停电作业命令后,向各个作业小组下达开工作业命令;4、新承力索和接触线完成穿线并固定好后,作业车开始展放和架设新线索;其它各组同时将既有定位装置、吊弦拆除;中锚组将既有承力索中锚拆除、安装新中锚;5、新线展放到位后进行落锚,对新承力索、接触线依次加张力紧线;6、线索张力弛度到位后固定新承力索及承力索中锚;7、固定好承力索中锚后,各组开始正接触线线面,将新承力索入槽,安装新吊弦、定位装置和新接触线中锚;新线依次与补偿连接;8、进行数据测量、悬挂调整,进行电连接、跳线安装;9、拆除既有承力索、接触线,回收旧料;10、重新测量数据及调整悬挂装置;11、统计调整后的测量数据,找现场配合人员及施工监理检查并签字确认;12、检查线索设备无异常,人员机具全部撤离作业场地;施工单位、配合单位和工程监理共同确认设备到达开通条件后,准许工作领导人通知拆除地线,消除停电作业命令和封锁命令。
(三)注意事项及安装标准1、既有线索张力卸载利用两组大绳和滑轮、钢丝套子将既有线索的张力卸载;滑轮安装在支柱顶部,紧线器连接大绳和既有线索,再将大绳在支柱底部扪住。
此时可以进行更换补偿或者将补偿装置与新的线索连接。
接触网承力索、接触线更换施工流程简介顺序一、施工方案交底会二、提报施工计划三、提报施工日计划四、现场勘察、撒料作业五、制定工作票、各组派工单六、参加施工预备会七、天窗前施工登记、座台要令等准备工作八、天窗时间内放线施工九、作业结束,施工销记十、天窗结束后安排观察列车通过情况十一、天窗结束后参加施工总结会十二、夜巡安排十三、安排施工后专项巡视十四、整理并安排处理施工中的缺陷十五、施工完成情况天窗时间内放线施工(一)作业流程(二)作业说明1、驻站要令人员接收线路封锁命令并下达至工作领导人,联控轨道车出站;2、驻站要令人员,向电调申请、接收停电作业命令,并下达至工作领导人;3、工作领导人接到封锁命令后,向各个作业小组下达进入封锁区间进行准备作业命令(严禁上杆作业)。
接到停电作业命令后,向各个作业小组下达开工作业命令;4、新承力索和接触线完成穿线并固定好后,作业车开始展放和架设新线索;其它各组同时将既有定位装置、吊弦拆除;中锚组将既有承力索中锚拆除、安装新中锚;5、新线展放到位后进行落锚,对新承力索、接触线依次加张力紧线;6、线索张力弛度到位后固定新承力索及承力索中锚;7、固定好承力索中锚后,各组开始正接触线线面,将新承力索入槽,安装新吊弦、定位装置和新接触线中锚;新线依次与补偿连接;8、进行数据测量、悬挂调整,进行电连接、跳线安装;9、拆除既有承力索、接触线,回收旧料;10、重新测量数据及调整悬挂装置;11、统计调整后的测量数据,找现场配合人员及施工监理检查并签字确认;12、检查线索设备无异常,人员机具全部撤离作业场地;施工单位、配合单位和工程监理共同确认设备到达开通条件后,准许工作领导人通知拆除地线,消除停电作业命令和封锁命令。
(三)注意事项及安装标准1、既有线索张力卸载利用两组大绳和滑轮、钢丝套子将既有线索的张力卸载;滑轮安装在支柱顶部,紧线器连接大绳和既有线索,再将大绳在支柱底部扪住。
此时可以进行更换补偿或者将补偿装置与新的线索连接。
接触网承力索、接触线更换施工流程简介顺序一、施工方案交底会二、提报施工计划三、提报施工日计划四、现场勘察、撒料作业五、制定工作票、各组派工单六、参加施工预备会七、天窗前施工登记、座台要令等准备工作八、天窗时间内放线施工九、作业结束,施工销记十、天窗结束后安排观察列车通过情况十一、天窗结束后参加施工总结会十二、夜巡安排十三、安排施工后专项巡视十四、整理并安排处理施工中的缺陷十五、施工完成情况天窗时间内放线施工(一)作业流程(二)作业说明1、驻站要令人员接收线路封锁命令并下达至工作领导人,联控轨道车出站;2、驻站要令人员,向电调申请、接收停电作业命令,并下达至工作领导人;3、工作领导人接到封锁命令后,向各个作业小组下达进入封锁区间进行准备作业命令(严禁上杆作业)。
接到停电作业命令后,向各个作业小组下达开工作业命令;4、新承力索和接触线完成穿线并固定好后,作业车开始展放和架设新线索;其它各组同时将既有定位装置、吊弦拆除;中锚组将既有承力索中锚拆除、安装新中锚;5、新线展放到位后进行落锚,对新承力索、接触线依次加张力紧线;6、线索张力弛度到位后固定新承力索及承力索中锚;7、固定好承力索中锚后,各组开始正接触线线面,将新承力索入槽,安装新吊弦、定位装置和新接触线中锚;新线依次与补偿连接;8、进行数据测量、悬挂调整,进行电连接、跳线安装;9、拆除既有承力索、接触线,回收旧料;10、重新测量数据及调整悬挂装置;11、统计调整后的测量数据,找现场配合人员及施工监理检查并签字确认;12、检查线索设备无异常,人员机具全部撤离作业场地;施工单位、配合单位和工程监理共同确认设备到达开通条件后,准许工作领导人通知拆除地线,消除停电作业命令和封锁命令。
(三)注意事项及安装标准1、既有线索张力卸载利用两组大绳和滑轮、钢丝套子将既有线索的张力卸载;滑轮安装在支柱顶部,紧线器连接大绳和既有线索,再将大绳在支柱底部扪住。
此时可以进行更换补偿或者将补偿装置与新的线索连接。
地铁接触网双承力索、双接触线并列架设施工工法(TLEJGF-94-27)铁道部电气化工程局一、前言随着我国经济建殴的不断发展,铁路电气化的重点已逐步转移到大干线和沿海经济发达地区,还将改造和新建准高速、高速电气化铁路,现在采用的单承力索单接触导线已不能满足牵引对供电的要求,使用并列双承力索和双接触导线,是解决以上问题的有效途径。
我们在上海地铁供电工程中,按德国AEG 公司和SIEMENS公司联合设计的接触网供电系统(直流1500V、额定电流1000A),在中德双方技术人员合作下,顺利地开发了保持导线内同等张力的并列双线架设技术,并使工艺规范化,总结成本工法。
1992~1993年,我们架设了17个锚段并列双线(其中地面段5锚段双承力索双导线,隧道段12锚段双导线四条馈线),无维修安全运行一年。
二、工法特点1.本工法为接触网科学化、规范化、标准化施工作业奠定了基础。
2.考虑了各种线材可能引起的初伸长或非弹性伸长的影响,在导线初调完成后(双承力索在承受导线全部负荷后),再最终做好终端线夹与补偿器的连接,从而避免传统工艺可能造成的返工。
3.有利于现场管理和行车安全。
三、适用范围本工法适用于我国繁忙铁路干线电气化改造区段,特别是因线路坡度大需要扩大导线载流面积而桥隧净空不允许增设加强线或架设承力索区段,也适用于运输繁忙、不允许给更多封闭点的区间以及站场上正线或车辆段的出库线,更适用于我国城市地下铁道或城市轻轨旅客电动列车低电压大电流系统的接触网单承力索双导线系统。
我国正在不断发展的准高速和高速电气化铁路区段也必将用到本工法。
四、施工工艺(一)工艺原理“并列双导架设”工艺采用国外先进的标准化施工要求和管理办法,科学安排施工程序和人力、机具,做到起锚、架线和下锚一整套过程一组人(4人)全包制,工作效率高。
(二)工艺流程(见图1)(三)施工要点1.准备工作(1)完成架线锚段内下述工程项目:安装好腕臂和洞内定位底座;架设完导线承力索,装好承力索吊弦线夹,挂好双吊弦;安装好曲线内侧的长定位管,并和承力索打上斜拉线;架好洞内外的导线上方的馈线、地线和导线下锚处的电杆拉线。
第1篇一、前期准备1. 工程设计:根据铁路线路的实际情况,进行接触网工程设计,包括接触网类型、架设高度、供电方式等。
2. 施工组织:成立施工项目部,明确各部门职责,制定施工方案和施工进度计划。
3. 材料设备准备:根据工程设计,准备接触网所需的各种材料、设备,包括导线、承力索、绝缘子、金具等。
4. 人员培训:对施工人员进行技术培训和安全教育,确保施工人员具备相应的技术水平和安全意识。
二、基础施工1. 支柱基础:根据设计要求,进行支柱基础的开挖、混凝土浇筑、预埋件安装等工作。
2. 支柱安装:将支柱吊装至基础,调整位置,使其符合设计要求。
3. 支柱防腐:对支柱进行防腐处理,确保其使用寿命。
三、接触网架设1. 导线架设:将导线吊装至支柱上,调整导线高度、角度和张力,确保导线符合设计要求。
2. 承力索架设:将承力索吊装至支柱上,调整承力索高度、角度和张力,确保承力索符合设计要求。
3. 绝缘子安装:将绝缘子安装于支柱上,确保绝缘子与支柱连接牢固。
4. 金具安装:将金具安装于导线、承力索和绝缘子上,确保金具连接牢固。
四、接触网调整1. 导线调整:调整导线高度、角度和张力,确保导线符合设计要求。
2. 承力索调整:调整承力索高度、角度和张力,确保承力索符合设计要求。
3. 绝缘子调整:调整绝缘子位置,确保绝缘子与支柱连接牢固。
4. 金具调整:调整金具连接,确保金具连接牢固。
五、接触网调试1. 接触网冷滑试验:在接触网架设完成后,进行冷滑试验,检查接触网是否满足运行要求。
2. 接触网热滑试验:在冷滑试验合格后,进行热滑试验,验证接触网在实际运行条件下的性能。
3. 接触网调试:对接触网进行调试,确保其运行稳定、可靠。
六、竣工验收1. 施工单位进行自检,确保工程质量符合设计要求。
2. 验收单位对接触网进行验收,包括外观质量、电气性能、运行稳定性等方面。
3. 验收合格后,接触网工程正式投入使用。
在整个接触网整体工程施工程序中,要注重施工安全、质量控制、进度控制等方面,确保工程顺利进行。
承力索、接触线的架设17.1承力索架设17.1.1适用范围适用于简单链型悬挂及弹性链型悬挂接触网工程承力索架设。
17.1.2作业内容起锚、架线、落锚、检查和填写施工记录。
17.1.3施工技术标准1架线区段的检查内容(1)高彳氐压电力线路,通信、广播等弱电线路应迁改完毕或临时改移不影响架线。
(2)所有支柱的限界、埋深、倾斜度均应符合技术标准,横卧板按设计要求安装。
(3)锚板拉线,补偿装配支持装置安装完毕,并符合技术标准。
(4)限界门已装,支柱号已刷或已临时书写。
曲线区段的腕臂已作临时加固。
(5)复线区段曲线处,上、下行两相对的支柱腕臂头可用双根①4.0铁线相互拉紧,铁线不宜过紧,能承受紧线时腕臂偏移力即可。
单线区段曲线内侧支柱腕臂可以安装临时固定角钢加固。
加固形式如下图16.1.3所示:(6)钢柱基础养生期已够,强度达到技术标准。
(7)检查支柱装配、拉线有无错误,软横跨悬挂安装是否符合设计。
(8)地锚拉杆灌注强度达到技术标准。
2起锚(1 )补偿滑轮转动灵活,坠硝完整无损,排列整齐,缺□方向错开180。
,并保证坠花不被支柱或其它物件卡滞。
(2)坠硝数量可与承力索一样,加到其等效负载数量。
计算方法如下:由于:F=gcl2/8Tx= gc+j+d I2/8T 即:Tx=Txgc/ gc+j+d其中:Tx为承力索等效张力。
T为承力索额定张力。
gc为承力索单位自重。
gc+j+d为接触悬挂调整完毕后的单位自重。
因此:N等效=N额定xTx/TN等效即为“张力等效负载法”中使承力索为等效张力时所加的坠碇数量。
3架线(1)架线时,张力控制在300N〜500N,由线盘车上看线人员控制执行。
(2)架线车架线时运行速度要求5km/h左右。
(3)使用的放线滑轮应用铝质滑轮。
(4)放线用的铁线套子应双股使用。
(5)承力索外观质量标准:绞线不应有交叉、松散、硬弯、折叠等现象。
(6)通过道岔后,是否需要临时扪线,应根据锚段内接触线有无接头,下锚时是否穿线等因素由作业指挥员决定。
接触网承力索以及接触线装配流程解析接触网承力索是电气化铁路接触网供电系统的重要组成部分,主要用于支撑和固定接触网。
接触网装配流程是将承力索和接触线安装在相应位置并完成调整和固定的过程。
以下是对接触网承力索和接触线装配流程进行详细解析。
一、接触网承力索的制作和安装1.首先,通过提供的设计图纸和规格要求,制作承力索。
承力索通常采用钢丝绳制作,根据设计要求进行绞合,钢丝绳之间进行绑扎固定,并进行拉力测试以确保其强度和稳定性。
2.在铁路线路上方的支柱或横梁上预留好承力索的固定孔洞,并根据设计要求进行标记。
同时,在孔洞周围进行清理和处理,确保孔洞的平整和牢固。
3.将制作好的承力索安装到孔洞中。
首先,将承力索的一端穿入孔洞,然后通过预埋在孔洞中的螺栓或焊接件进行固定。
固定时应保持承力索的合理张力以保证其在使用过程中的稳定性。
4.安装好的承力索需要进行调整和检查。
调整主要包括对承力索的张力进行调整,确保张力均匀,并使用相应工具检测承力索的张力值是否符合设计要求。
检查主要包括对承力索的连接部位进行检查,确保连接牢固可靠。
二、接触线的装配和安装1.先根据设计规格和要求,制作好所需长度的接触线。
接触线通常采用铜或铝合金制作,在制作过程中需要进行连接、绝缘和防腐等处理。
2.根据接触网的布置和线路要求,确定好接触线的安装位置和方向。
通常,接触线与承力索交叉形成菱形结构,其中接触线位于承力索下方且与承力索相对称。
3.将接触线安装在承力索上方的接触机构中,并通过接触机构固定在承力索上。
在安装接触线的过程中,需要确保接触线与承力索之间的距离符合设计要求,并保持接触线的水平和垂直度。
4.完成接触线的安装后,需要进行调试和测试。
调试主要包括对接触机构的调整,确保接触线与承力索的接触良好,并使用测试仪器进行线路测试,检测电阻和导电性能是否符合要求。
5.最后,对接触线进行绝缘和保护。
对于裸露的部分接触线,可以使用绝缘套管进行绝缘,并在接触线的两端安装绝缘接头。
接触网工程关键工序施工方法1 腕臂安装一次到位腕臂安装采用测量精确化、计算微机化、预配工厂化、安装专业化的一次到位安装技术,确保施工安装质量。
利用经纬仪精确测量支柱斜率,利用水准仪精确测量轨平面影射支柱面位置,同时测量支柱侧面限界。
依据现场测出的限界、斜率等数据,结合设计安装图纸,利用计算机程序计算、打印《腕臂预配数据表》。
在预配车间,利用腕臂预制专用平台进行预装配并标识。
安装人员都是经过专业培训合格后持证上岗人员,来确保安装质量。
腕臂安装工序流程如下:2 承力索和接触线架设方法承力索、接触线架设质量,特别是接触线架设后平直度直接影响到弓网受流质量,为保证导线平直度和良好的弓网受流质量,承力索和接触线采用锚段配盘,并采用吉斯玛恒张力架线车组和普拉塞恒张力架线车进行架设,同时采用超拉或额定张力自然延伸等措施使新线初伸长(蠕变)一次基本出尽,保证接触悬挂调整一次到位。
以下是采用吉斯玛恒张力架线车组进行承力索和接触线架设简单介绍。
架线车组编排恒张力架线车按W A20+作业车UM1+作业车UM2编组,为节省运输时间,一般要有轨道运输车配套使用。
架线基本流程架线前准备工作:对所架设锚段的支柱装配及补偿装置进行检查,并对支柱进行加固,将承力索坠砣串固定到设计位置,导线坠砣码好,用钢线卡子将两动滑轮间补偿绳固定牢靠。
起锚:封闭线路后,恒张力架线车运行至起锚柱与转换柱间,将张力架线车W A20,作业车UM1、UM2进行分解,使用张力器“开卷”过程,将承力索、接触线端从伸缩杆辊轮拉至UM1作业平台,作业车UM1牵引承力索、接触线至起锚柱,与起锚处绝缘子或双环杆分别连接。
架线过程:W A20恒张力架线车的张力器进行紧线(车停止),当承力索补偿坠砣在支柱上的固定铁线不再受力,同时接触线的张力值读数达到额定张力后,用张力控制盘上的相关钮设置两线的张力值。
张力架线车慢行,伸缩杆控制将承力索、接触线在转换柱处放入放线滑轮内,作业车UM1人员加挂跨中承力索与接触线临时吊弦。