风险概率和影响评估
- 格式:doc
- 大小:12.54 KB
- 文档页数:1
风险评价的方法有哪些风险评价是指对风险进行定性和定量分析的过程,旨在评估和衡量风险的概率和影响程度,并制定风险应对和管理策略。
下面将介绍几种常用的风险评价方法。
1. 定性方法:定性方法是基于专业经验和直觉的评估方法,常用的方法有以下几种:(1)专家判断法:通过专家团队的讨论和评估,收集意见和建议,并综合权衡各个专家的观点,以达成共识。
(2)敏感度分析:通过变动某个关键性因素,观察对风险产生的影响,从而评估风险的可能性和严重程度。
(3)场景推演法:根据历史数据和未来预测,推演出多种场景情景,以评估风险发生的可能性和影响程度。
(4)失效模式和影响分析(FMEA):通过对系统或过程中可能发生的失效模式进行评估,分析失效对系统的影响程度和可能性。
2. 定量方法:定量方法是基于数据分析和数学模型的评价方法,常用的方法有以下几种:(1)事件树分析(ETA):通过构造事件树,定量分析事件发生的机理,从而评估事件发生的可能性和相应的后果。
(2)风险矩阵分析:通过将风险概率和影响程度进行量化,并构建风险矩阵,以评估风险的等级和优先级。
(3)Monte Carlo模拟:通过随机数生成器模拟多次风险事件的不同情景,从而评估风险发生的可能性和相应的影响。
(4)概率论和统计分析:通过概率论和统计学方法,对已知的数据进行分析,预测未来风险事件的概率和可能性。
3. 综合方法:综合方法是通过结合定性和定量方法,综合评估风险的概率和影响程度,以得出风险评价结果。
常用方法有以下几种:(1)蒙特卡洛树分析(MCT):结合Monte Carlo模拟和事件树分析,综合考虑风险发生的可能性和后果。
(2)层次分析法(AHP):通过建立层次结构和判断矩阵,对风险因素进行权重分配和等级排序,综合评估风险的优先级。
(3)风险评估矩阵:通过将风险因素按重要性和影响程度进行分类,并综合评估风险的优先级和等级。
(4)风险评分卡(Risk Scorecard):根据预设的评分标准和权重,对风险因素进行评分和加权,从而综合评估风险的程度和优先级。
评估风险:概率和影响的重要环节
评估风险的概率和影响是判断潜在风险大小的重要环节。
以下是一些方法可以帮助评估风险的概率和影响:
1. 收集信息
收集与任务或活动相关的信息可以帮助我们更好地了解潜在风险的大小。
包括了解类似任务或活动的历史数据、经验和知识,以及了解相关的政策和法规等。
2. 分析数据
对于收集到的信息,可以通过分析数据来评估风险的概率和影响。
这些数据包括事故报告、安全记录、调查问卷等。
通过数据分析可以发现潜在的风险和问题,并了解其发生的概率和影响程度。
3. 考虑影响
在评估风险时,需要考虑风险对人员、财产和环境的影响。
包括考虑可能的伤害、损失或破坏的范围和程度,以及考虑风险对时间、成本和质量等方面的影响。
4. 考虑概率和影响的关系
在评估风险的概率和影响时,需要考虑它们之间的关系。
例如,如果风险的概率很高,但影响程度较小,那么可能需要采取一些措施来降低风险。
相反,如果风险的概率很低,但影响程度很大,那么可能需要更加关注这个风险,并采取相应的措施来预防和处理。
5. 参考专家的意见
在评估风险的概率和影响时,可以参考专家的意见和建议。
这些专家包括安全专家、风险评估专家、行业专家等。
通过与专家交流和咨询,可以获得更专业的建议和指导。
通过以上方法,我们可以更准确地评估风险的概率和影响,并采取相应的措施来预防和处理风险。
同时,也需要不断学习和积累经验和知识,提高自身的风险评估能力和应对能力。
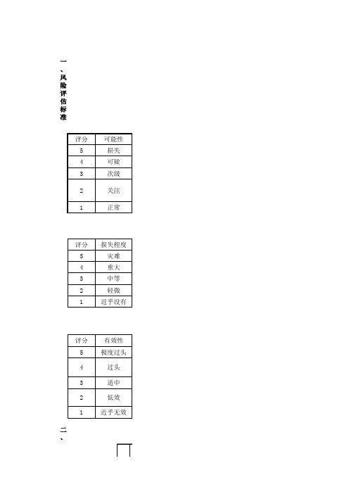
一、风险评估标准评分可能性5损失4可疑3次级2关注1正常评分损失程度5灾难4重大3中等2轻微1近乎没有评分有效性5极度过头4过头3适中2低效1近乎无效二、风险分级值风险等级1-5最低风险6-10中等风险12-15高风险风险评估方法及风险等级划分和应对策略表1 风险发生的可能性(概率)评分标准说明在未来12个月内,这项风险几乎肯定会出现至少1次在未来12个月内,这项风险极可能出现1次在未来2-10年内,这项风险可能出现至少1次①客户信用良好,贷款用途所用行业发展前景不明朗,有优质抵押物,这项风险出现的可能性较低。
②客户信用良好,贷款用途所用行业很展前景良好,抵押物不好转手,这项风险出现的可能性较低。
客户信用良好,贷款用途所在行业很有发展前景,有优质抵押物,这项风险出现的可能性极低表2 风险发生影响度评分标准说明令企业失去继续动作的能力(或经经济损失占税前利润达到20%以上)对于企业争取完成其性计划和目标造成重大影响(5-10%税前利润)对于企业在争取完成其策略性计划和目标的过程在一定程度上造成阻碍(至少5%税前利润)对于企业在争取完成其策略性计划和目标,只造成轻微影响(1%)以下税前利润影响程度十分轻微表3 风险处理方法的有效性评分标准说明处理方法能直接针对该风险,但相信会令企业业绩“倒退”或成本过高处理方法能直接针对该风险,但由于需要投入大量资源或/及将其他资源转到处理该风险上,会对企业的效率造成影响处理方法有效针对该风险,同时并不影响企业的效率处理方法针对该风险的效果不理想,或投入处理该风险的资源不充分或/及对投入的资源未有适当利用处理方法的效果十分低,可能是由于企业根本没有处理方法,又或处理手法不当表2 风险度判断标准行动可接受的:在考虑所有风险要素后,继续审查:在采取措施进行全面管理后,继续不可接受的:停止,直到已执行足够的控制手段将风险减少到可接受的水平。
风险可能性标准和影响程度标准风险可能性标准和影响程度标准是风险评估和管理中的关键概念。
通过识别和评估风险可能性和影响程度,组织可以有效地应对潜在的风险,以减少损失和避免不必要的风险。
风险可能性标准是一种衡量事件发生概率的尺度。
它允许组织根据事件发生的可能性来评估对应的风险级别。
这些标准通常采用评级体系,如低、中和高,或者使用更具体的数字评分,如1到5,来表示事件发生的可能性。
影响程度标准是一种衡量事件对组织造成的实际或潜在影响的尺度。
它可以用于评估事件对组织的财务状况、声誉、业务连续性、安全性等方面的影响。
与风险可能性标准类似,影响程度标准也通常采用评级体系或数字评分,以便对不同类型的影响进行分类和评估。
风险可能性标准和影响程度标准的制定是一个依赖于组织特定情况和需求的过程。
多数组织会根据其行业、业务特点和风险偏好制定定制化的标准。
然而,一般而言,以下是一些常见的风险可能性标准和影响程度标准,可以作为参考:1. 风险可能性标准:- 低可能性:该事件或情况很少发生,发生概率非常低,几乎可以忽略不计。
- 中等可能性:该事件或情况有时发生,发生概率适中,需要一定程度的关注和防范。
- 高可能性:该事件或情况经常发生,发生概率较高,需要密切监控和采取相应的风险管理措施。
2. 影响程度标准:- 低影响程度:事件发生后对组织的影响较小,可以在短时间内处理或修复,对业务连续性和财务状况的影响有限。
- 中等影响程度:事件发生后对组织的影响适中,可能需要一些时间和资源来处理,对业务连续性和财务状况可能会有一定的影响。
- 高影响程度:事件发生后对组织的影响非常严重,可能需要大量时间和资源来恢复,对业务连续性和财务状况的影响可能会非常严重甚至灾难性。
风险可能性标准和影响程度标准的制定需要考虑组织的整体风险承受能力和战略目标。
对于一些关键风险,组织可能会采取更为严格的标准,在标准的基础上进一步细化评估,以制定相应的风险管理策略。
风险评估的方法有哪些风险评估是指对潜在风险进行全面分析和评估的过程,以便确定风险的发生概率和影响程度,评估结果可为组织制定风险管理策略和措施提供依据。
下面将介绍常用的风险评估方法。
一、定性评估方法:1. 专家判断法:通过邀请专家对风险进行判断和评估,借助专家的经验和知识确定风险的概率和影响程度。
2. 利害关系者参与法:利用利害关系者参与风险评估过程,结合各方的意见和观点,对风险进行评估并确定风险的重要性。
3. 矩阵评估法:将风险的概率和影响程度用数值量化(如1-5),绘制成矩阵,通过对应的矩阵区块进行评估,确定风险的等级和优先级。
4. 多因素评估法:考虑多个因素的影响,如风险发生概率、风险影响程度、风险意愿程度等,综合考虑这些因素来评估风险。
二、半定量评估方法:1. 敏感度分析法:通过对风险的不确定因素进行分析,确定不同因素对风险的影响程度,以及不同因素变化对风险的敏感程度。
2. 层次分析法:将风险因素进行划分和权重分配,通过构建层次结构和对不同因素进行比较和判断,得出风险的综合评价结果。
3. 贝叶斯网络法:基于贝叶斯理论,结合风险因素间的关联性,构建网络模型并进行概率计算,得出风险发生概率和影响程度的评估结果。
三、定量评估方法:1. 数值分析法:通过收集和分析历史数据,借助统计学方法建立数学模型,对风险进行定量分析和评估。
2. 事件树分析法:通过绘制事件树,将风险事件及其可能的发生路径进行分析,计算出风险事件的发生概率和影响程度。
3. 风险敏感性分析法:利用蒙特卡洛模拟等方法,对风险因素进行模拟和分析,计算出风险的发生概率和影响程度的概率分布。
四、综合评估方法:1. 综合评分法:将不同的评估结果进行加权和综合,得出综合评分,反映风险的整体情况。
2. 综合概率分析法:将各种评估方法的结果进行整合和概率计算,通过统计学方法得出风险发生的可能概率和影响程度。
3. 离散事件模拟法:利用计算机模拟技术,建立模型来模拟风险事件的发生和影响过程,通过多次模拟产生大量数据,并进行统计和分析,对风险进行综合评估。
风险评估报告的撰写与管理一、风险评估报告的重要性风险评估报告是企业或项目进行有效管理的重要工具。
通过对潜在风险进行评估和分析,可以帮助企业或项目识别关键风险,预测未来可能发生的风险事件,制定相应的风险应对策略,减轻风险带来的损失。
因此,撰写和管理风险评估报告至关重要。
二、风险评估报告的撰写步骤1. 确定评估目标:在开始撰写风险评估报告之前,首先需要明确评估目标。
明确评估目标可以帮助评估人员集中精力,准确对待各种风险问题。
2. 收集相关信息:评估人员应当收集和整理与评估对象相关的信息资料,包括历史数据、内外环境的变化、市场趋势等。
通过充分了解和分析这些信息,有助于提高评估报告的准确性和可信度。
3. 评估风险概率和影响:评估人员需要对各种风险的概率和影响进行评估。
概率评估是对风险事件发生的可能性进行判断,影响评估是对风险事件发生后对企业或项目的可能影响进行评估。
4. 编写评估报告:根据以上评估结果,评估人员应编写具有可操作性和实用性的评估报告。
报告应包括对风险的详细描述、评估结果的定量和定性分析、建议的风险应对措施等。
三、风险评估报告的管理1. 报告更新与追踪:风险评估报告并非一次性的工作,风险情况随着时间的推移会发生变化。
因此,管理者需要定期更新报告,并根据最新的情况进行修订和追踪,确保报告的实用性和及时性。
2. 分发与共享:评估报告需要及时传达给相关人员,包括管理层、决策者和相关部门。
通过分发和共享报告,可以提高风险意识,形成整体防范和应对能力。
3. 报告存档与保密:评估报告应当进行存档,并进行保密处理。
报告的存档有助于后续追溯和比对,保密处理可以防止敏感信息被泄露。
四、风险评估报告的技巧与要点1. 简明扼要:评估报告应当简明扼要,突出重点。
避免冗长的叙述和重复的内容,使报告更易读和理解。
2. 结果量化:评估结果应当尽可能的量化,以便于对风险进行比较和排序。
同时,量化结果也能提高报告的可信度。
3. 风险等级划定:可以将不同风险划分为高、中、低三个等级,并给出相应的警示和应对建议。
如何进行风险评估风险评估是一种全面且系统地识别、评估和减少可能对组织和项目造成不利影响的潜在风险的方法。
在商业环境中,风险无处不在,无论是企业的战略决策,还是项目的执行,都需要进行风险评估来规避潜在的风险。
下面将介绍如何进行风险评估的基本步骤和方法。
一、确定评估目标在进行风险评估之前,首先需要明确评估的目标。
评估目标可以是特定项目的风险评估,也可以是整个组织的风险评估。
评估目标的明确有助于确定评估的范围、重点和方法。
二、识别潜在风险风险评估的第一步是识别潜在风险。
这可以通过多种方式来实现,包括问卷调查、专家咨询和头脑风暴等。
在这一阶段,需要尽可能全面地识别潜在风险,包括内部和外部的风险因素。
三、评估风险概率和影响一旦潜在风险被识别出来,接下来需要评估风险发生的概率和其对组织或项目的影响程度。
这可以通过定性和定量的方法来实现。
定性方法可以是根据专家经验和直觉进行评估,定量方法可以是使用统计数据和建模技术进行评估。
四、确定风险优先级在评估风险的概率和影响之后,需要确定风险的优先级。
风险优先级可以根据潜在风险的严重程度、可能性和可控性来确定。
通常,风险优先级高的风险需要优先进行处理和控制。
五、制定风险管理策略一旦风险优先级确定之后,需要制定相应的风险管理策略。
风险管理策略可以包括避免、减轻、转移或接受风险等。
具体的策略选择应根据风险的性质和组织的实际情况来确定。
六、实施风险管理措施制定了风险管理策略之后,需要将其具体转化为行动。
这包括确定责任人、制定实施计划、分配资源、监督和控制风险管理措施的执行等。
此外,还应建立风险监测和报告机制,定期评估风险管理措施的有效性。
七、持续改进和监测风险评估不是一次性的工作,而是一个持续的过程。
因此,持续改进和监测是风险评估的重要环节。
需要定期评估和更新风险评估结果,并根据实际情况进行调整和改进。
此外,还应建立有效的风险沟通机制,确保风险信息能够及时传达和反馈。
综上所述,风险评估是组织和项目管理中不可或缺的环节。
项目安全风险评估论证
项目安全风险评估论证是指对项目中存在的安全风险进行评估和论证的过程。
在项目进行之前,进行安全风险评估可以帮助项目团队全面了解项目的安全风险情况,并采取相应的措施进行风险管理和控制。
安全风险评估论证的过程可以按照以下步骤进行:
1. 确定评估目标:明确评估的目标是什么,例如评估项目的安全资产、风险潜在区域、影响因素等。
2. 收集项目信息:收集项目的相关信息,包括项目的业务流程、技术架构、关键资产和资源、已有的安全控制措施等。
3. 识别潜在风险:通过分析项目信息,识别出可能存在的安全风险,例如系统漏洞、数据泄露、恶意攻击等。
4. 评估风险概率和影响:评估每个潜在风险发生的概率和对项目的影响程度,这可以通过定量和定性的方法进行评估。
5. 确定风险优先级:将评估结果进行排序,确定风险的优先级,以便项目团队能够重点关注高优先级的风险。
6. 提出风险处理措施:根据评估结果,提出相应的风险处理措施,包括风险避免、风险转移、风险缓解和风险接受等策略。
7. 论证风险处理措施:对提出的风险处理措施进行论证,包括
评估其有效性、可行性和成本效益等。
8. 制定风险管理计划:根据论证结果,制定具体的风险管理计划,包括实施风险处理措施的具体步骤、责任分工和时间计划等。
9. 定期监控和评估:在项目实施过程中,定期监控和评估项目的安全风险情况,及时调整和更新风险管理计划。
通过项目安全风险评估论证,可以帮助项目团队更好地了解和管理项目的安全风险,确保项目的安全性和可靠性,并减少安全风险对项目的不利影响。
影响程度评估及风险优先数计算影响程度评估及风险优先数计算是风险管理过程中必不可少的一环。
它帮助企业了解和评估风险的重要性,并确定应对风险的优先顺序。
本文将详细介绍影响程度评估及风险优先数计算的概念、步骤和重要性。
影响程度评估是指对风险事件可能给企业造成的潜在损失的程度进行评估。
通常,影响程度评估考虑三个方面的因素:影响范围、影响强度和持续时间。
影响范围指的是风险事件可能影响的业务领域或业务过程的范围;影响强度是指风险事件对业务的影响程度,包括财务损失、声誉损失、客户流失等;持续时间是指风险事件对业务的持续影响时间,即恢复到正常运营所需的时间。
在进行影响程度评估时,可以使用量化和定性的方法。
量化方法是通过数据分析和建模来确定风险事件可能造成的具体损失金额、时间等;定性方法是通过专家判断和经验来评估风险事件的影响程度。
两种方法都有各自的优势和适用范围,具体选择哪种方法应根据实际情况来决定。
风险优先数是一种用于确定风险应对优先顺序的计算方法。
它是通过综合考虑风险事件的概率、影响程度和控制性来确定的。
一般来说,风险优先数越高,表示风险越重要,应优先处理。
计算风险优先数可以使用数学模型,如乘法模型、加权模型等。
乘法模型是指将概率、影响程度和控制性三个因素相乘,得到风险优先数;加权模型是指对概率、影响程度和控制性三个因素进行加权处理,然后相加,得到风险优先数。
不同模型适用于不同的情况,可以根据实际需求选择合适的模型。
影响程度评估及风险优先数计算对于企业风险管理具有重要意义。
首先,它有助于企业了解风险的重要性和紧迫性,避免忽视或低估重要风险。
其次,它可以帮助企业确定风险应对的优先顺序,以确保有限的资源得到合理分配。
最后,它可以提供可靠的决策依据,提高企业风险管理的科学性和有效性。
在实际应用中,影响程度评估及风险优先数计算要结合具体的风险管理流程和方法来进行。
一般来说,可以分为以下几个步骤:1. 风险识别:识别并记录潜在的风险事件;2. 影响程度评估:根据影响范围、影响强度和持续时间等因素,评估风险事件的影响程度;3. 概率评估:评估风险事件发生的概率;4. 控制性评估:评估企业对于风险事件的控制能力;5. 计算风险优先数:根据概率、影响程度和控制性等因素,计算风险优先数;6. 优先顺序确定:根据风险优先数确定风险应对的优先顺序;7. 风险应对:根据优先顺序制定相应的风险应对计划。
影响程度评估及风险优先数计算首先,影响程度评估是指对风险事件对项目目标的潜在影响程度进行评估。
影响程度可以从多个角度进行评估,比如对项目成本、进度、质量和资源的影响等。
一般来说,影响程度可以分为低、中和高三个级别,根据具体情况进行定性或定量评估。
通过影响程度评估,项目管理团队能够了解项目中不同风险事件对项目目标的影响程度,并为后续制定风险应对策略提供依据。
其次,风险优先数计算是根据影响程度和发生概率来确定风险事件的优先级。
风险优先数通常采用定量评估方法,可以根据不同的评估模型来计算。
一种常用的计算方法是将影响程度和发生概率相乘,得到风险事件的风险优先数。
根据风险优先数的大小,项目管理团队可以确定风险事件的优先级,从而有针对性地制定风险管理措施。
影响程度评估和风险优先数计算对项目管理具有重要的意义。
首先,它们能够帮助项目管理团队识别和评估潜在风险,从而及早采取相应措施,降低风险对项目的影响。
其次,通过对不同风险事件进行优先级排序,项目管理团队可以更好地分配资源,提高项目管理的效率。
此外,影响程度评估和风险优先数计算也有助于项目管理团队与相关利益相关者进行沟通,共同制定风险管理战略。
然而,需要注意的是,影响程度评估和风险优先数计算都存在一定的主观性和不确定性。
不同的人可能对同一风险事件的影响程度有不同的看法,而发生概率的评估也可能受到各种因素的影响。
因此,在进行影响程度评估和风险优先数计算时,项目管理团队需要充分考虑各种因素,并进行合理的主观判断。
总之,影响程度评估和风险优先数计算是项目管理中非常重要的工具。
它们能够帮助项目管理团队识别和管理项目中的风险,提高项目管理的效率和成功率。
然而,需要注意在评估和计算过程中的主观性和不确定性,并进行合理的判断和决策。
在进行影响程度评估和风险优先数计算时,项目管理团队需要遵循一定的步骤和方法。
下面将详细介绍这些步骤和方法,并进一步探讨影响程度评估和风险优先数计算对项目管理的影响。
风险评估方式
风险评估是对潜在危险性的预测与定量化分析,旨在识别与评估风险,并采取合适的措施进行风险管理。
以下是常用的风险评估方式:
1. 定性评估法:通过描述风险的性质、特征、可能导致的影响等,进行主观性的评估。
这种方法常用于初期项目风险评估,可以帮助项目组识别与应对各种潜在风险。
2. 定量评估法:基于统计学原理和模型,通过数据的量化和计算,对风险发生的概率、程度和影响进行量化分析。
这种方法通常用于较为复杂的项目或对风险进行更精确的评估。
3. 敏感性分析:通过改变风险事件的概率和影响,观察风险对项目的整体影响。
这种方法可以帮助项目团队确定关键风险,了解风险对项目的敏感度,并制定相应的风险应对策略。
4. 基于历史数据的风险评估:通过分析历史事件和数据,寻找相似的情况,从而预测未来可能出现的风险。
这种方法适用于已经有一定历史数据的项目或行业,并可以提供一定的参考依据。
5. 专家评估法:通过请教相关专家的意见和经验,对风险进行评估。
这种方法可以充分利用专家的知识和经验,减少主观性评估的不确定性,但也可能面临专家的主观性和个体差异。
6. 多标准决策分析:通过建立评价指标体系,将风险评估转化
为多标准决策问题,并采用决策分析方法进行综合评估和优选。
这种方法可以将风险评估与项目目标和利益相关者要求相结合,得出综合考虑各种因素的评估结果。
综上所述,风险评估方式各有优缺点,选择适合的方法取决于具体的项目情况和战略目标。
在实际应用中,可以根据项目的特点和需求,结合多种方法进行综合评估,提高风险识别和管理的准确性和有效性。
如何评估风险和机会在我们的生活中,风险和机会无处不在。
无论是个人还是组织,都必须对其进行评估。
风险评估是一种系统的方法,用于检测潜在的威胁和机会,以确定相应的控制措施和策略。
这篇文章将向您介绍如何以一种系统的方式评估风险和机会。
第一步:识别风险和机会首先,我们需要识别风险和机会。
风险可能会导致损失或不良影响,而机会则可能导致收益或好处。
这两个因素都需要被考虑进来。
例如,如果您是一家制造商,您可能会面临由于原材料价格上涨而导致的成本增加的风险。
另一方面,您还可能面临可能将您的产品扩展到新市场和获得更多的客户的机会。
第二步:评估风险和机会的概率和影响一旦风险和机会被识别出来,我们需要对其进行评估,以确定其概率和影响。
概率是指发生风险或机会的可能性。
影响是指该风险或机会对组织的影响程度。
例如,您识别出原材料价格上涨的风险。
在评估概率时,您考虑了过去的价格变动、市场的需求、供应的可用性和竞争对手的影响。
在评估影响时,您将考虑您的成本结构、销售价格、产品市场份额以及客户忠诚度。
第三步:开发风险管理策略和机会利用计划一旦您了解了潜在的风险和机会,以及它们的概率和影响,您可以制定相应的风险管理策略和机会利用计划。
这些计划应该明确说明如何防范和减轻风险,以及如何最大化机会的利用。
对于风险管理策略,您可以考虑运用各种控制措施来降低或消除风险。
例如,您可以寻找替代的供应链来源,或者与供应商协商稳定的价格。
对于机会利用计划,您可以探索如何利用这些机会来获得收益并使自己在市场中保持竞争力。
例如,您可以将产品推广到新市场,或者开发新的产品线以满足变化的市场需求。
第四步:监控和修订风险管理和机会利用计划风险管理和机会利用计划需要定期监控和修订。
市场和业务环境是时刻变化的,因此,您需要确保您的计划能够适应这些变化。
定期评估和调整风险和机会评估,以确保它们保持最新,评估的结果仍然是可信的。
总结起来,具有系统方法的风险和机会评估过程是非常重要的。
风险评估技术-风险指数引言概述:风险评估技术是现代管理中的重要工具,它可以帮助企业和组织评估潜在风险,并采取相应的措施来降低或避免这些风险。
风险指数是一种常用的风险评估指标,它通过对风险的概率和影响进行综合评估,为决策者提供了一个直观的风险等级。
本文将介绍风险评估技术中的风险指数,并详细阐述其在风险管理中的应用。
一、风险指数的定义和计算方法1.1 风险指数的定义风险指数是一种综合评估指标,它用于衡量风险的严重程度。
它通常由风险的概率和影响两个因素综合计算得出。
1.2 风险指数的计算方法风险指数的计算方法可以根据具体情况进行调整,但通常采用以下公式:风险指数 = 风险概率 ×风险影响1.3 风险指数的解释风险指数的数值越高,表示风险越大;反之,数值越低,表示风险越小。
风险指数可以帮助决策者对不同风险进行排序,以便更好地分配资源和制定相应的风险管理策略。
二、风险指数的应用领域2.1 项目管理在项目管理中,风险指数可以帮助项目经理评估项目中的各种风险,并根据风险指数的高低来制定相应的风险管理计划。
通过对不同风险进行风险指数排序,项目经理可以更好地分配资源和制定相应的风险应对策略。
2.2 金融风险管理在金融领域,风险指数可以用于评估不同投资产品或投资组合的风险水平。
投资者可以根据风险指数的大小来选择适合自己的投资产品或制定投资策略,以实现风险和收益的平衡。
2.3 供应链管理在供应链管理中,风险指数可以帮助企业评估供应链中的各种风险,并制定相应的风险管理策略。
通过对供应链中的不同风险进行风险指数排序,企业可以更好地控制供应链风险,提高供应链的稳定性和可靠性。
三、风险指数的优势和局限性3.1 优势风险指数可以将风险问题量化,提供一个直观的风险等级,便于决策者理解和比较不同风险的严重程度。
同时,风险指数可以帮助决策者更好地分配资源和制定相应的风险管理策略。
3.2 局限性风险指数的计算结果受到数据的质量和可靠性的影响,如果数据不准确或不完整,风险指数的结果可能不准确。