工资核算工作流程图
- 格式:doc
- 大小:27.00 KB
- 文档页数:1
薪酬管理流程图薪酬管理是指组织在管理过程中对员工提供的报酬和福利进行规划、设计、实施和评估的全过程。
薪酬管理的目标是确保员工的工资和福利符合他们的付出和贡献,同时也能够激励他们提高工作表现。
本文将介绍薪酬管理的基本流程,并以流程图的形式展示。
薪酬管理流程图如下:1. 确定薪酬政策和目标在薪酬管理的第一步中,组织需要确定薪酬政策和目标。
这些目标应该与组织的整体战略和目标相一致。
2. 进行岗位分析和评估岗位分析和评估是为了确定不同岗位之间的薪酬差异。
这个过程包括确定岗位的职责、技能要求和贡献度,并根据这些信息对岗位进行评估。
3. 确定薪酬结构薪酬结构是指不同岗位之间的薪酬差异和职级的设定。
根据岗位的重要性、技能要求和市场供需状况,组织需要确定不同岗位所对应的薪酬水平。
4. 制定绩效评估系统绩效评估系统是为了评估员工的工作表现和贡献度。
这个系统应该能够客观、公正地评估员工的工作表现,并与薪酬挂钩。
5. 进行薪酬调查薪酬调查是为了了解市场上同一岗位的薪酬水平。
通过与竞争对手和行业平均水平进行比较,组织可以确定适当的薪酬水平。
6. 制定薪酬方案根据岗位分析、薪酬结构、绩效评估和市场调查的结果,组织需要制定薪酬方案。
这个方案应该能够满足员工的期望,同时也符合组织的预算和战略。
7. 实施薪酬管理在实施薪酬管理过程中,组织需要确保薪酬方案的顺利执行。
这包括制定薪酬政策和流程、进行薪资核算和发放,以及解决员工的薪酬问题和疑虑。
8. 监督和评估薪酬管理薪酬管理的最后一步是监督和评估。
组织需要定期审查和评估薪酬方案的效果,并根据情况进行调整和改进。
通过以上的薪酬管理流程图,组织可以更好地规划、设计、实施和评估员工的报酬和福利。
薪酬管理的有效实施不仅有助于激励员工提高工作表现,还可以增强组织的竞争力和可持续发展能力。
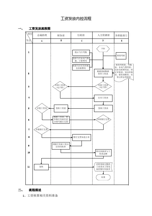
工资发放内控流程一、工资发放流程图二、流程描述1、工资核算相关资料准备工资发放周期为自然月,为预留核算签批时间,各项基础数据的统计周期为上月26日至当月25日,每月26日开始准备当月工资的核算发放工作。
(1)行政部统计当月考勤、查抄水电气数据及计算房补房租费用,次日提交相关表格给人力资源部(C1)。
(2)各部门开始实施当月绩效考核工作,次日完成绩效考核评分及面谈工作,工资发放日前3天,提交绩效考核表给人力资源部(E2)。
2、编制工资表人力资源部根据相关原始资料的基础数据核算当月员工工资,编制工资表(D2)。
3、审核工资表工资发放日前2天:人力资源部、财务部审核工资表电子档,发现问题及时反馈修改(D3、B3)。
工资发放日前1天:人力资源部制表人打印已审核的工资表并签字(D4),人力资源部负责人及财务部分别核对工资表打印版与电子档并签字确认(D5、B5),总裁助理审批工资表并签字(A5)。
4、工资发放准备工资发放日:(1)财务部根据签批完整的工资表制作银行发放信息并按照工资银行发放表的合计金额填写银行支票(B6),交人力资源部负责人审核支票金额与应发工资银行总额是否一致(D6)。
(2)总裁助理审批银行支票(A7)后,交行政部盖章(C8)。
5、发放工资工资发放日,财务部到银行发放工资并打印工资发放回执单(B9)。
6、复核工资发放回执人力资源部核对银行发放回执单与工资表是否一致(D10),无误后交总裁助理复核(A11)。
7、工资相关资料存档人力资源部负责人存档签核完整的工资表及工资发放回执单(D11)。
三、工资发放内控关键点1、明确人力资源部、财务部和行政部在工资核算发放中的职责分工:(1)行政部负责根据职工名单和考勤记录出具考勤表及其它相关表格并根据领导签核的单据在支票上加盖公章;(2)人力资源部负责根据原始资料提供的基础数据编制工资表;(3)财务部负责根据各种原始资料审核工资表并发放工资。
2、强化审查手续:(1)反复计算每一张工资表,验证公式的正确性,至少计算两遍;(2)每一张工资表都应经过人力资源部、财务部和审批人多环节的复核;(3)工资发放前审查银行支票,确保支票金额与应发总额一致;(4)工资发放后审查银行发放明细与工资表每位员工的实发金额是否一致。
工资发放流程
1 目的
为规***科技(以下简称“公司”)薪资发放工作,特制定本流程。
2 适用围
本规适用于公司薪资发放工作。
3 名词定义
无。
4 输入和输出
输入:本月员工薪资情况表和本月员工住房公积金、住宿管理费、代扣餐费、水电费等情况表。
输出:员工薪资发放单。
5 角色职责
5.1 薪酬管理员
负责提供员工薪资变动情况明细表及汇总表。
5.2 员工管理员
负责提供员工住房公积金、住宿管理费及代扣水电费等变动情况明细表及汇总表。
5.3 薪酬核算员
依据相关部门提供的变动表,进行薪资修改、发放工作。
6 程序
6.1 流程图
工资发放流程图(V1.0)
6.2流程操作说明
7 相关文件
无
8 相关记录
1)加盖人力处部门章的本月员工薪资变动情况明细表2)加盖人力处部门章全体员工薪资明细表
3)全体员工薪资明细表
4)部门工资汇总表
5)工资发放电子数据表和员工工薪资明细表
9 附件
无。
NC产品指南----薪资管理1.系统概述1.1 产品目标NC薪资管理系统主要可为各类企业、事业、行政单位提供工资的核算及管理功能。
全面支持多种工资计算及发放方式,准确地进行工资的核算和分摊,实现用户多种工资类别计税的需要,同时支持多币种和集团应用,并可通过NC会计平台实现与财务会计的无缝连结。
从而帮助企业提高人力资源部门和工资发放、核算部门的办公效率,满足企业薪资管理信息化的需求。
1.2主要功能NC薪资管理系统包括基础设置、工资汇总类别、工资核算、数据接口、统计分析、期末处理和多类别期末处理7大部分。
1、基础设置:包括工资类别、薪资表、税率表、代发银行、打开/关闭工资类别、工资项目、工资部门、工资变动模板、分摊类型和账号分配共10个功能节点,提供了进行薪资的日常核算和管理的基础。
2、工资类别汇总:在本功能节点中,用户可建立汇总工资类别,实现工资类别的汇总处理。
3、工资核算:提供工资档案、工资变动、个人所得税、工资分钱、工资分摊、银行代发工资和补发工资7个功能节点。
全面满足企业薪资核算及管理的业务需要。
4、期末处理:提供期末结账与反结账功能,根据需要完成可变动工资项目的自动清零功能。
5、多类别期末处理:提供多种工资类别汇总进行期末处理的功能。
6、统计分析:提供工资变动增加明细表/汇总表、工资变动减少明细表/汇总表、工资变动净额明细表/汇总表、工资变动明细表/汇总表、工资发放条、工资发放签名表等多种工资报表和多类别工资报表的查询、打印功能。
7、数据接口:提供设置数据接口的功能,支持数据的导入、导出,从而减少工作量,实现与外部的连接。
1.3 产品特点1、满足企业多种工资类别和一个会计周期多次发放工资、多次计税的需要,支持建立多种工资类别,并针对工资类别进行工资核算和管理;同时提供工资类别汇总功能,并可按汇总工资类别统一进行核算和纳税和期末处理,实现企业对多种工资类别的汇总管理。
2、全面支持集团应用。
包括人员信息、薪资信息档案在内的基础数据可进行集中和分级管理,实现公共数据的共享和参照使用;同时支持在一个工资账套中,对集团和各分公司分建工资类别,集团可通过汇总功能生成汇总工资类别,实现集团的统一纳税申报与核算,满足集团对整个企业工资情况管理的需要。
由中国总会计师协会专家项目组成员-周国海教授撰写主讲《企业最全财务部工作流程图》
下拉可收图,先看看目录
1. 财务报表工作流程图
2. 预算外费用审批流程图
3. 预算外费用报销流程图
4. 预算内费用报销流程图
5. 材料盘存工作流程图
6. 银行承兑汇票办理及使用流程图
7. 税务申报工作流程图
8. 工资核算流程图
9. 固定资产账务处理流程图
10. 投标保函办理流程图
11. 履约保函办理流程图
12. 往来递收凭证工作流程图
13. 往来递送凭证工作流程图
14. 外出经营许可证办理流程图
15. 网上银行工作流程图
16. 项目部资金申报与审批流程图
17. 专业化成本费用流程图
18. 项目部转专业化成本费用流程图
19. 出纳工作流程图
20. 电网公司资金管理流程图
根据自己公司实际情况更改一下,本文仅供参考。
工资发放流程图工资发放是企业管理中重要的一环。
在一个企业中,工资是员工的一项重要收入,因此工资发放需要有一套规范的流程来保证工资的准确、及时发放。
下面是一份工资发放的流程图。
首先,整个工资发放流程应该由相关人员在企业内部共同协商,确定各个环节的责任人及时间节点等。
流程图的第一步是确定工资发放时间。
通常,工资发放时间是每个月的最后一天或者次月的第一天。
确定工资发放时间后,企业财务部门会开始进行工资计算,包括对每位员工的考勤、绩效、社保、个人所得税等进行核算。
接下来是工资核算环节。
财务部门会收集各部门的考勤数据,并计算每位员工的出勤天数和加班时间。
同时,绩效部门会收集各部门的绩效数据,并根据绩效评估体系,给出员工的绩效评分。
考勤和绩效数据是确定员工月工资的重要依据。
在进行工资核算的过程中,财务部门还需要核算社保和个人所得税。
企业财务会根据国家相关法规,计算员工的社保缴纳金额,并在工资中扣除。
同时,根据个人所得税法规,财务部门会对员工的应缴个人所得税进行核算,并在工资中扣除。
核算完每位员工的工资后,财务部门会制作工资明细表。
工资明细表主要包括每位员工的基本工资、加班费、奖金、社保和个人所得税等。
工资明细表需要包括员工的姓名、岗位、工资项目及金额等。
制作完工资明细表后,财务部门会将工资明细表和相应的工资金额交给相关负责人进行审核。
审核环节主要是对工资明细表的正确性和合理性进行审查,确保工资的准确性和合法性。
审核通过后,财务部门会将工资明细表提交给人力资源部门,人力资源部门会根据工资明细表,安排员工的工资发放。
通常,工资发放是通过银行转账的方式进行,因此人力资源部门需要将工资金额和员工的银行卡号等信息提供给银行。
最后一步是工资发放。
在工资发放日,银行会将相应的工资金额转入员工的银行卡账户。
人力资源部门会通知员工工资已经发放,员工可以通过ATM或者网上银行查询工资发放情况。
总之,工资发放流程图的关键是确保工资的准确、及时发放。
薪酬核算岗位工作流程及操作说明㈠流程图㈡流程及操作说明一、准备工作A、需要自己完成的:1、新员工入职(定资)表新员工入职(定资)表用来核算新员工工资。
每月根据当月入职员工情况填写新员工入职(定资)表,并按部门汇总打印归档。
2、试用员工转正申请表新员工的试用期,除部门负责人另定的试用期限外基本上都是以2个月作为试用期限。
试用期工资自员工入职之日起,顺延两个月计算,试用期过后,于第3个月体现转正工资。
员工是否转正需与部门负责人确认(提前汇总出各部门当月需要转正的员工名单,并由各部门负责人签字确认员工是否转正),确认转正的,直接将《试用员工转正申请表》发至员工本人手中,并告知其填写方法、询问上交日期,做到心中有数,不影响工资核算。
收表截止时间一般以发放转正表之日起开始计算,一周内签回收回并汇总打印即可。
3、员工工资调整表部门根据工资水平会进行适时调整,一般调整前会到人力资源部来取员工工资调整表,发放员工工资调整表时需要向领表人说明表格提交的最晚时间,所有部门员工工资调整表必须有董事长签字。
可接收的最晚时间一般为工资核算前,做完员工转正工资后。
收到的员工工资调整表按月分部门进行汇总打印备份。
4、审核全体员工考勤汇总表考勤表审核从两个主要点着手。
第一,全勤员工的考勤。
全勤员工(含新员工全勤)只能出现扣款及补款的情况。
出现其他情况需要问清是哪种情况。
第二,非全勤员工考勤。
分为新员工未上满全月的情况及老员工请假情况。
主要审核老员工请假考勤,其考勤审核原则:当月应出勤天数=实际出勤天数+缺勤(休假请假旷工等)天数。
以上两点均需要注意员工实际工作的店面、考勤产生在哪个店则应计入哪个店。
各店之间有员工调动情况的,需要注意考勤不能做重。
其他(考勤异常):考勤中部分员工,如工伤、暂缓发放工资的员工、已离职但需要以工资卡形式发放的、不代发工资的、当月已离职已发放工资的考勤需要用特殊颜色底纹分别标明。
注:实习生考勤、非在编员工考勤操作同上。