4-19-8-1 有医院感染监测指标体系,按照《医院感染监测规范》(WST312-2009)开展监测工作并记录。
- 格式:doc
- 大小:820.04 KB
- 文档页数:2
医院感染监测规范试题及答案一、单选题(10题)1、新建或未开展过医院感染监测的医院,应先开展全院综合性监测,监测时间应不少于多长时间。
(D)A 3个月B 6个月C 12个月D 24个月2、医院开展的目标性监测,持续时间应连续多长时间以上。
(B)A 3个月B 6个月C 12个月D 24个月3、医院感染患病率调查应至少多长时间开展一次。
(C)A 3个月B 6个月C 12个月D 24个月4、泛耐药的鲍曼不动杆菌简称为(A)A PDR-AB B PDR-PAC VRED ESBLs5、耐甲氧西林金黄色葡萄球菌简称为(D)A MSSAB PRPC VRED MRSA6、ICU患者目标性监测,临床病情等级评定,需要多少时间1次(B)A 每日B 每周C 每月 D每季7、患者日医院感染发病率单位住院时间通常用患者住院日表示。
(C)A 10个B 100个C 1000个D 10000个8、目标性监测是针对等开展的医院感染及其危险因素的监测。
(D)A 全部住院患者B 门诊病人C 医务人员吗D 高危人群、高发感染部位9、医院应按每实际使用病床,配备1名医院感染专职人员。
(D)A 50-100张B 100-150张C 150-200张D 200-250张10、抗菌药物使用率是指( A )A出院患者中使用抗菌药物的比率 B 住院患者中使用抗菌药物的比率 C 住院患者抗菌药物的每日使用量 D出院患者抗菌药物的使用量二、多选题(5题)1、关于医院感染监测,下面哪些说法是正确的?(ABCDE)A 包括全院综合性监测和目标性监测B 具有长期、系统、连续的特点C 研究对象是医院感染在一定人群中的发生、分布及其影响因素D 为医院感染的预防、控制和管理提供科学依据E 所有医院都必须开展医院感染监测2、关于医院感染全院综合性监测,下面哪些说法是不正确的?(ACE)A 监测对象即所有临床科室的全部住院患者B 监测对象即所有临床科室的全部住院患者和医务人员C 监测时间至少1年D 监测时间至少2年E 新建或未开展过医院感染监测的医院,可以同时开展全院综合性监测和目标性监测3、关于医院感染目标性监测,下面哪些说法是不正确的?(BD)A 指的是针对高危人群、高发感染部位等开展的医院感染及其危险因素的监测B 不包括抗菌药物临床应用与细菌耐药性监测C 目标性监测持续时间应连续6个月以上D 目标性监测持续时间应连续3个月以上E 应该在已经开展2年以上全院综合性监测的医院开展4、下面的定义中,哪些是正确的?(BCE)A 患者日医院感染发病率:单位住院时间内住院患者新发医院感染的频率,单位住院时间通常用100个患者住院日表示B 患者日医院感染发病率:单位住院时间内住院患者新发医院感染的频率,单位住院时间通常用1000个患者住院日表示C 抗菌药物使用率:出院患者中使用抗菌药物的比率D 抗菌药物使用剂量:住院患者住院期间抗菌药物的使用量E DDD频数:某一抗菌药物的总消耗量与该药的规定日剂量之比5、关于医院感染监测的资料分析,下面那些计算方法是正确的?(ABC)A 医院感染发病率:观察期新发医院感染病例数与同期出院人数之比B 日医院感染发病率:观察期间内医院感染新发病例数与同期住院患者住院日总数之比C 手术部位感染发病率:指定时间内某种手术患者的手术部位感染数与指定时间内某种手术患者数之比D 器械使用率:使用器械患者人数与同期住院患者总人数之比E 器械相关感染发病率:使用器械患者中感染人数与使用器械患者总人数之比三、填空题(12题)1、医院应建立有效的医院感染监测与通报制度,及时诊断医院感染病例,分析发生医院感染的危险因素,采取针对性的预防与控制措施。
医院感染监测规范标准医院感染监测规范中华人民共和国卫生行业标准WS/T312-2009于2009年4月1日发布,2009年12月1日实施,规定了医院感染监测的管理与要求、监测方法及医院感染监测质量保证。
范围:本标准适用于医院与妇幼保健院,其他有住院床位的医疗机构参照执行。
规范性引用文件:本标准引用了国家突发公共卫生事件相关信息报告管理工作规范(试行)卫生部2006年和国家突发公共卫生事件应急预案卫生部2006年。
术语与定义:医院感染监测:长期、系统、连续地收集、分析医院感染在一定人群中的发生、分布及其影响因素,并将监测结果报送与反馈给有关部门与科室,为医院感染的预防、控制与管理提供科学依据。
患者日医院感染发病率:指单位住院时间内住院患者新发医院感染的频率,单位住院时间通常用1000个患者住院日表示。
全院综合性监测:连续不断地对所有临床科室的全部住院患者与医务人员进行医院感染及其有关危险因素的监测。
目标性监测:针对高危人群、高发感染部位等开展的医院感染及其危险因素的监测,如重症监护病房医院感染监测、新生儿病房医院感染监测、手术部位感染监测、抗菌药物临床应用与细菌耐药性监测等。
抗菌药物:具杀菌或抑菌活性、主要供全身应用(含口服、肌肉注射、静脉注射、静脉滴注等,部分也可以用于局部)的各种抗生素、磺胺类、咪唑类、硝咪唑类、喹诺酮类、呋喃类等化学药物。
通常不包括抗寄生虫药物、抗病毒药物、抗结核药物与局部使用抗菌药物等。
抗菌药物使用率:出院患者中使用抗菌药物的比率。
4.6.1 医院应当按照每200张至250张实际使用病床的比例配备一名医院感染专职人员。
专职人员应当接受监测和感染控制知识和技能的培训,并熟练掌握相关技能。
4.6.2 医院应当在医院信息系统建设中完善医院感染监测系统和基础设施,确保医院感染监测设施运转正常。
5 监测5.1 医院感染监测方法根据监测范围分为全院综合性监测和目标性监测。
5.1.1 全院综合性监测的具体监测方法按照附录B进行。
三基题库之院感(精选多篇)第一篇:三基题库之院感sj-yg题号:1/49答题指南:题下选项可能多个正确,只能选择其中最佳的一项按《医院感染管理规范》制定的卫生学标准,下列哪项属于Ⅰ类环境A.层流洁净病房 B.产房 C.烧伤病房 D.儿科病房 E.传染病房答案:A题号:2/49消毒合格是指消毒后媒介物携带的自然微生物减少A.100%B.99.99% C.99.9% D.99% E.90%答案:E题号:3/49某医院只进行高危区监测的目的是A.将有限的人力、财力用于解决医院感染的关键B.获得医院感染本底感染率C.判断医院感染的流行D.提高医务人员对医院感染的警惕性E.为卫生行政机构制定政策条例提供依据答案:A题号:4/49菌群失调二度的表现 A.可逆性 B.血行感染 C.慢性病 D.二重感染 E.菌交替症答案:C题号:5/49传染源离开疫源地后进行 A.医院消毒 B.终末消毒 C.预防消毒 D.疫源地消毒 E.随时消毒答案:B题号:6/49医务人员手的卫生学标准是A.不得检出沙门氏菌B.Ⅰ类环境中≤1cfu/cm2 C.Ⅱ类环境中≤10cfu/cm2 D.Ⅲ类环境中≤100cfu/cm2E.Ⅳ类环境中≤15cfu/cm2答案:E题号:7/49中性粒细胞减少患者使用大量抗生素治疗后,常易发生下列哪种病原体感染 A.阴沟杆菌 B.隐球菌 C.肠球菌 D.克雷伯菌 E.大肠杆菌答案:B题号:8/49下列哪项是机体自身原因导致医院感染的危险因素A.器官移植B.糖尿病 C.血液透析 D.放射治疗 E.大量抗生素答案:B题号:9/49医务人员被HBsAg阳性血污染的针头刺伤后,应定期进行乙型肝炎血清学检查多长时间 A.3至5个月 B.6至9个月 C.半年至1年 D.1至2年 E.1至3年答案:C题号:10/49《医院感染管理规范》规定医院各类人员接受医院感染知识培训时间,实习生、医务人员、医院感染管理专职人员分别应达到多少小时 A.3、6、9 B.3、6、15 C.6、9、12 D.6、9、15 E.3、8、12 答案:B题号:11/49卫生部《医院感染管理规范》规定多少张床位以上应设立医院感染管理科 A.200 B.300 C.400 D.500 E.600答案:B题号:12/49医疗用品卫生标准中,接触粘膜者,菌落总数应小于或等于多少cfu/g或100cm2 A.10 B.20 C.30 D.100 E.200答案:B题号:13/49有关消毒灭菌工作中的自我保护,哪项是错误的A.紫外线防止对人直接照射 B.废弃物干热灭菌防止燃烧 C.有毒的消毒气体防止泄漏 D.液体消毒灭菌剂防止过敏 E.压力蒸汽灭菌防止爆炸答案:B题号:14/49对可能受到病原微生物污染的物品和场所进行A.医院消毒B.终末消毒 C.预防消毒 D.疫源地消毒 E.随时消毒答案:C题号:15/49消毒合格是指消毒后媒介物携带的人工污染微生物减少A.100%B.99.99% C.99.9% D.99% E.90%答案:C题号:16/49下列哪种情况需要鉴别才能定为医院内感染A.出院1个月内发生的手术切口感染 B.输血后肝炎 C.新生儿感染D.羊肠线吸收不佳的炎症反应E.入院后3天发生的肺炎答案:C题号:17/49下列预防静脉导管感染的措施,正确的是 A.药液输完立即拔除B.尽量使用较粗导管以免堵塞C.加入大量抗生素D.加入小量肝素E.配好的药液在8小时内使用答案:D题号:18/49下列哪种情况属于医院感染A.烧伤创面培养出金黄色葡萄球菌B.经产道感染的乙型肝炎C.输液导管作细菌培养菌落数8个D.羊肠线吸收不佳的炎症反应E.入院后5天发生的甲型肝炎答案:B题号:19/49下列哪项是多重耐药的非肠道革兰氏阴性杆菌A.铜绿假单胞菌B.埃希氏菌属 C.克雷伯菌属 D.沙门氏菌属 E.志贺氏菌属答案:A题号:20/49医务人员被HBsAg阳性血污染的针头刺伤后,伤口应以下列哪项处理 A.碘伏 B.红汞 C.硝酸银 D.硫酸铜 E.环氧乙烷答案:A题号:21/49细胞毒药物 A.阿霉素 B.阿奇霉素 C.螺旋霉素 D.林肯霉素 E.卡那霉素答案:A题号:22/49医院感染研究的对象主要是A.住院病人和医院职工B.住院病人和门诊病人 C.门诊病人和医院职工 D.住院病人和陪护人员 E.陪护人员和医院职工答案:A题号:23/49对青霉素耐药的革兰氏阴性菌是 A.金葡菌 B.肺炎球菌 C.链球菌 D.肠球菌 E.奈瑟氏菌答案:E题号:24/49对医院内存在着或曾经存在着感染性疾病传染源的场所进行A.医院消毒 B.终末消毒 C.预防消毒 D.疫源地消毒 E.随时消毒答案:D题号:25/49《医院感染管理规范》规定,1000张床位以上大型医院的医院感染管理专职人员不得少于多少人 A.1 B.2 C.3 D.4 E.5答案:E题号:26/49下列哪项不属于医院感染控制中的重点部门A.手术室B.血透室C.ICU D.产房 E.CT室答案:E题号:27/49杀灭或消除医院环境中和媒介物上污染的病原微生物的过程A.医院消毒 B.终末消毒 C.预防消毒 D.疫源地消毒 E.随时消毒答案:A题号:28/49100张病床以下,100~500张病床,500张病床以上医院的医院感染发病率分别应低于A.7%,8%,9%B.7%,8%,10%C.1%,0.5%,0.5% D.9%,8%,7% E.10%,8%,7%答案:B题号:29/49无菌器械保存液的卫生标准是 A.无菌B.菌落总数≤20cfu/gC.菌落总数≤100cfu/mlD.菌落总数≤200cfu/gE.致病微生物不得检出答案:A题号:30/49目前还难以控制的医院感染来源于 A.其他病人 B.医务人员 C.陪护人员 D.病人自身 E.医院环境答案:D题号:31/49灭菌是指杀灭或去除外环境中媒介物携带的A.致病微生物B.非致病微生物 C.芽孢 D.孢子E.一切微生物答案:E题号:32/49下列哪项是免疫抑制剂使用前必须治疗的寄生虫潜在性感染A.钩虫 B.弓形体 C.螺旋体 D.支原体 E.蛔虫答案:B题号:33/49预防医院感染需要检验科在合理使用抗生素方面做什么工作A.对耐药菌株多的抗生素限制使用B.定期统计各科室各类抗生素用量C.定期统计公布各菌株抗生素敏感率D.根据菌株抗生素敏感率确定进药品种E.根据菌株抗生素敏感率确定各抗生素属于一线还是二线药物答案:C题号:34/49灭菌过程必须使物品污染微生物的戚概率减少到A.10-6 B.10-5 C.10-4 D.10-3 E.10-2答案:A题号:35/49下列哪项是产生超广谱β-内酰胺酶的多重耐药菌 A.肠球菌 B.埃希氏菌 C.肠杆菌 D.嗜血杆菌 E.枸橼酸杆菌答案:B题号:36/49医院各类环境的空气中、物体表面、医务人员手的检测均不得检出 A.乙型溶血性链球菌 B.沙门氏菌 C.埃希氏菌 D.厌氧菌 E.致病性微生物答案:E题号:37/49细菌易位最多见为 A.大肠杆菌 B.金葡菌 C.肠球菌 D.厌氧菌 E.芽胞杆菌答案:A题号:38/49医院存在的疫源地内有传染源存在时进行A.医院消毒B.终末消毒C.预防消毒 D.疫源地消毒 E.随时消毒答案:E题号:39/49100~500张床位的医院,医院感染发病率与一类切口手术部位感染率应分别低于A.7%,0.5%B.7%,1%C.8%,0.5%D.8%,1%E.10%,0.5%答案:C题号:40/49答题指南:判断下列说法正确与否,(纸答卷正确用√错误用×表示)医疗场所过于简陋是医院感染发生的危险因素之一。
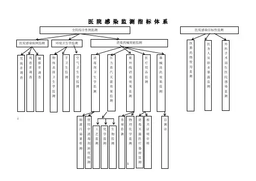
医院感染监测指标体系1.发病率≤10%、2.现患率调查,每年一次。
3.漏报率≤20%4.物体表面卫生学监测:必要时监测。
细菌总落数(CFU/cm2)→Ⅰ、Ⅱ类环境物表≤5; Ⅲ、Ⅳ类环境物表≤10;5.手卫生监测:重点部门每季度监测一次,手表面细菌总落数(CFU/cm2)→①卫生手消毒后≤10;②外科手消毒后≤5。
6.空气卫生学监测:①洁净区域空气净化微生物监测每月一次。
②非洁净区域必要时监测。
7.医院洁净手术部监测:①分级用房;②日常管理;③环境卫生学监测;常规监测/专项监测/物表监测/医务人员手卫生监测;④静压差监测8.消毒剂卫生学监测:①使用中消毒剂浓度监测(试纸法)→含氯消毒剂每日一次。
戊二醛每周一次。
②细菌污染量检测→消毒剂CFU/ml≤100,无致病菌;灭菌剂无菌生长。
9.蒸汽压力灭菌效果监测,灭菌合格率100%。
①工艺监测(物理监测):a.每锅→测量表(压力表、温度表、计时表)、图表、指示针、报警器。
记录灭菌器型号、压力、温度、时间、灭菌物品、灭菌操作者签名;b. B-D试验(设备控制测试):→每日第一次空载进行一次;②化学监测:→a包裹控制→包内指示卡,每包;b暴露控制→包外各种化学指示胶带,每包;③生物监测(载荷控制→生物指示剂):→嗜热脂肪杆菌芽孢菌片监测法,每周一次;④灭菌物品抽样培养:必要时进行;210.紫外线消毒效果监测:①日常监测→a记录应用时间、照射累计时间;b照射强度监测(物理化学监测)→物理监测(紫外线照度计)/化学指示物监测(紫外线化学指示卡),每季或半年一次。
②生物指示物监测→生物菌片11.过氧化氢等离子灭菌效果监测,灭菌合格率100%:①工艺监测(每锅进行)②化学监测(每包进行)③生物监测(每周一次)12.干热灭菌效果监测,灭菌合格率100%:①物理监测法(热电偶检测法)②化学监测(每包内、外化学指示物进行)③生物监测(枯草杆菌黑色变种芽孢,每周一次)13.医疗用品监测:①生物监测→灭菌医疗器材监测/消毒医疗器材监测(必要时采样)②相关证明审核→消毒药械、一次性使用医疗器械、器具的相关证明进行审核14.内镜消毒灭菌效果监测:①清洗效果监测→操作流程(水洗/酶洗/清洗/消毒或灭菌/冲洗6步进行)②内镜消毒灭菌效果监测→常规监测→a消毒剂浓度监测,每日一次b.生物学监测→消毒内镜每季一次(细菌总数<20CFU/件)、灭菌内镜每月一次(检测无菌)15.器械清洗效果监测:①目测→肉眼裸视法/放大镜观察法②监测有机物污染法:a.残留血试验→联苯胺-双氧水法/蓝光实验/残留血试纸法/杰力试纸测试法、b.残留蛋白质法→水合茚三酮法/双缩脲法;c. ATP生物荧光法③微生物检测法:细菌培养计数法/ ATP生物荧光法④内毒素法3。
医院感染监测指标体系1.发病率≤10%、2.现患率调查,每年一次。
3.漏报率≤20%4.物体表面卫生学监测:必要时监测。
细菌总落数(CFU/cm2)→Ⅰ、Ⅱ类环境物表≤5; Ⅲ、Ⅳ类环境物表≤10;5.手卫生监测:重点部门每季度监测一次,手表面细菌总落数(CFU/cm2)→①卫生手消毒后≤10;②外科手消毒后≤5。
6.空气卫生学监测:①洁净区域空气净化微生物监测每月一次。
②非洁净区域必要时监测。
7.医院洁净手术部监测:①分级用房;②日常管理;③环境卫生学监测;常规监测/专项监测/物表监测/医务人员手卫生监测;④静压差监测8.消毒剂卫生学监测:①使用中消毒剂浓度监测(试纸法)→含氯消毒剂每日一次。
戊二醛每周一次。
②细菌污染量检测→消毒剂CFU/ml≤100,无致病菌;灭菌剂无菌生长。
9.蒸汽压力灭菌效果监测,灭菌合格率100%。
①工艺监测(物理监测):a.每锅→测量表(压力表、温度表、计时表)、图表、指示针、报警器。
记录灭菌器型号、压力、温度、时间、灭菌物品、灭菌操作者签名;b. B-D试验(设备控制测试):→每日第一次空载进行一次;②化学监测:→a包裹控制→包内指示卡,每包;b暴露控制→包外各种化学指示胶带,每包;③生物监测(载荷控制→生物指示剂):→嗜热脂肪杆菌芽孢菌片监测法,每周一次;2④灭菌物品抽样培养:必要时进行;10.紫外线消毒效果监测:①日常监测→a记录应用时间、照射累计时间;b照射强度监测(物理化学监测)→物理监测(紫外线照度计)/化学指示物监测(紫外线化学指示卡),每季或半年一次。
②生物指示物监测→生物菌片11.过氧化氢等离子灭菌效果监测,灭菌合格率100%:①工艺监测(每锅进行)②化学监测(每包进行)③生物监测(每周一次)12.干热灭菌效果监测,灭菌合格率100%:①物理监测法(热电偶检测法)②化学监测(每包内、外化学指示物进行)③生物监测(枯草杆菌黑色变种芽孢,每周一次)13.医疗用品监测:①生物监测→灭菌医疗器材监测/消毒医疗器材监测(必要时采样)②相关证明审核→消毒药械、一次性使用医疗器械、器具的相关证明进行审核14.内镜消毒灭菌效果监测:①清洗效果监测→操作流程(水洗/酶洗/清洗/消毒或灭菌/冲洗6步进行)②内镜消毒灭菌效果监测→常规监测→a消毒剂浓度监测,每日一次b.生物学监测→消毒内镜每季一次(细菌总数<20CFU/件)、灭菌内镜每月一次(检测无菌)15.器械清洗效果监测:①目测→肉眼裸视法/放大镜观察法②监测有机物污染法:a.残留血试验→联苯胺-双氧水法/蓝光实验/残留血试纸法/杰力试纸测试法、b.残留蛋白质法→水合茚三酮法/双缩脲法;c. ATP生物荧光法③微生物检测法:细菌培养计数法/ ATP生物荧光法④内毒素法34。
湖北省三级医院医院感染管理质量评价标准一、组织建设1.医院感染管理委员会(1)医院感染管理委员会文件.查看医院感染管理委员会文件。
一项不合要求扣1分(2)医院感染管理委员会会议记录。
检查过去1年的会议记录.一项不合要求扣1分。
2。
医院感染管理部门医院应当设独立的医院感染管理部门,每200-250张实际床位配备1名专职人员,3人以上应配备临床医学、预防医学等专业人员。
有医院感染管理专项经费(包含培训经费)保证工作正常开展。
查文件、档案及经费来源。
一项不和要求扣1分.3.各科室、部门协同(1)医院感染管理应纳入医院医疗质量控制体系。
医务、护理部门应督促临床科室落实感染控制的各项诊疗护理操作规程及制度,并组织培训、考核和督导检查。
查医务、护理部门相关记录。
一项不合要求扣1分。
(2)各科室医院感染管理小组应执行医院感染管理的相关法规、制度,采取有效措施预防和控制多重耐药菌感染。
医务人员应了解医院感染暴发概念、报告程序并及时报告。
应积极送检,依据细菌耐药监测数据,合理使用抗感染药物,病原学送检率应>50%.查3个科室、3名医务人员、15~20份病历。
一项不和要求扣1分。
一名回答不全扣0.5分.(3)药剂部门依据相关法规制定本院的抗菌药物管理相关制度与考核办法,定期向医疗、护理、医院感染管理部门及临床科室通报全院抗菌药物使用情况。
查制度、考核办法及反馈情况。
缺一项扣0.5分。
(4)总务后勤部门应按照相关要求做好洗衣房管理、医院污水处理、医疗废物处理等工作。
相关人员应掌握医院感染管理的相关知识和技能.查1名工作人员.回答不全扣0。
5分。
(5)设备部门应依据相关法律法规对消毒药械、一次性医疗器械、器具索取相关证件并存档。
查临床科室使用的器械、消毒剂,采购部门查证件。
一项不合要求扣1分。
二、制度建设建立健全各项制度.医院应有感染监测制度、重点科室消毒隔离制度、医院感染在职教育制度、医院感染暴发报告控制制度、抗感染药物管理制度、多重耐药菌感染预防和控制措施、一次性医疗器具及消毒药械管理制度、医疗废物管理制度、医院感染突发事件紧急预案及相关预防控制措施、职业暴露防护制度等。
医院感染监测规范(中华人民共与国卫生行业标准WS/T312-2009,中华人民共与国卫生部2009年4月1日发布,2009年12月1日实施)1范围本标准规定了医院感染监测的管理与要求、监测方法及医院感染监测质量保证。
本标准适用于医院与妇幼保健院。
有住院床位的其她医疗机构参照执行。
2 规范性引用文件下列文件中的条款通过本标准的引用而成为本标准的条款。
凡就是标注日期的引用文件,期限随后所有的修改(不包括勘误内容)或修订版均不适用于本标准,然而,鼓励根据本标准达成协议的各方研究就是否可使用这些文件的最新版本。
凡不注明日期的引用文件,其最新版本适用于本标准。
国家突发公共卫生事件相关信息报告管理工作规范(试行) 卫生部2006年国家突发公共卫生事件应急预案卫生部2006年3 术语与定义3.1 医院感染监测 nosocomial infection surveillance长期、系统、连续地收集、分析医院感染在一定人群中的发生、分布及其影响因素,并将监测结果报送与反馈给有关部门与科室,为医院感染的预防、控制与管理提供科学依据。
3.2 患者日医院感染发病率 nosocomial infection incidence per patient-day就是一种累计暴露时间内的发病密度,指单位住院时间内住院患者新发医院感染的频率,单位住院时间通常用1000个患者住院日表示。
3.3全院综合性监测 hospital-wide surveillance连续不断地对所有临床科室的全部住院患者与医务人员进行医院感染及其有关危险因素的监测。
3.4目标性监测 target surveillance针对高危人群、高发感染部位等开展的医院感染及其危险因素的监测,如重症监护病房医院感染监测、新生儿病房医院感染监测、手术部位感染监测、抗菌药物临床应用与细菌耐药性监测等。
3.5 抗菌药物 antimicrobial agents具杀菌或抑菌活性、主要供全身应用(含口服、肌肉注射、静脉注射、静脉滴注等,部分也可以用于局部)的各种抗生素、磺胺类、咪唑类、硝咪唑类、喹诺酮类、呋喃类等化学药物。
医院感染试题及答案(2)医院感染试题及答案A.接触隔离患者的血液、体液、分泌物、排泄物等物质时,应戴手套。
B.离开隔离病室前,接触污染物品后应摘除手套,洗手和/或手消毒。
C.手上有伤口时应戴双层手套。
D.进入隔离病室,从事可能污染工作服的操作时,应穿隔离衣。
E.一次性隔离衣用后按医疗废物管理要求进行处置。
参考答案判断题:1—10全对选择题;1.ABCD 2.ABC 3.ABCD 4.ABCDE 5.ABCDE一次性使用医疗用品管理判断题1.使用的一次性使用医疗用品和消毒药械,须符合国家规定的准入要求、集中采购,质量合格、标识齐全、包装合格、在有效期内。
2.一次性使用医疗用品的存放要求:存放于阴凉干燥、通风良好的货架上,距地面≥20CM,距墙壁≥5CM,距屋顶≥50CM。
3.科室领回的一次性使用医疗用品应存放于医疗用品存放柜内,其存放柜内外环境应清洁、阴凉干燥,通风良好;受条件限制时,可以分类分柜或分类分层相对定位存放。
4.一次性医疗用品使用前,应检查有效期和包装情况,使用中发生热原反应、感染等情况,应及时留样送检并立即报告。
5.一次性使用医疗用品严禁重复使用,使用后的应按《医疗卫生机构医疗废物管理办法》进行处理。
6.科室领取的一次性医疗用品入库临时存放,为方便摆放,应拆除中包装保持最小包装。
7.进入治疗室备用的一次性使用医疗用品应达到最小包装,应用量及时补充。
1-5、7,对。
6错。
MDRO感染防控管理一、判断题1.多重耐药菌(MDRO)主要是指对临床使用的3类或3类以上抗菌药物同时呈现耐药的细菌。
2.细菌对抗菌药物产生耐药性是因可以产生药物灭活酶或钝化酶。
3.关于隔离标志的姿色,黄色为空气传播隔离,粉色为飞沫传播隔离,蓝色为接触传播隔离。
4.对感染或携带MDR/PDR-PA或MDR/PDR-AB的病人,医疗器械、设备应该专用或一用一消毒。
5.医务人员对患者实施诊疗护理操作时,应当将高度疑似或确诊为多重耐药菌感染患者或定植患者安排在最后进行。
三级综合医院评审标准条款评价要素与方法说明PSG4.1执行手卫生规范,落实医院感染操纵的差不多要求 (2)MQI.19 医院感染治理与连续改进 (3)MQI.8 ICU 院感治理 (16)MQI.6 手术室抗菌药物预防应用 (19)MQI.21血透室院感治理 (20)MQI.5新生儿室护理院感治理p342 (22)HS.3急诊科的院感治理 (23)MQI.20介入室院感治理 (23)MQI.18 输血科院感治理 (25)MQI.16 病理科院感 (25)MQI.25 医技科室院感治理 (26)HM.8.4 医疗废物治理 (27)医院感染质量操纵质量监测指标 (28)患者安全MQI.20 介入室院感治理医德医风考评医院感染质量操纵质量监测指标第六节医院感染操纵质量监测指标一、概述按照卫生部WST 312-2009医院感染监测规范,将针对高危人群、高发部位、重点环节的目标性监测,列入对医院感染监控的评判指标,重点是三级医院和规模较大的二级医院(病床数在500张以上),旨在提升医院感染.工作的内涵质量,为推动连续改进提供方向与目标。
医院感染操纵质量改进:是以特定对象的结果指标(即使用呼吸机、导管、导尿三项器械所致感染的结果指标)为重点,同时以手术风险评估的指数来评判不同的风险指数手术发生感染的情形。
按每季、每年,统计医院感染的差不多监测指标,了解医院医院感染的差不多情形。
二、监测指标(一)呼吸机有关肺炎感染发病率(‰) 指标名称:呼吸机有关性肺炎发病率(‰)对象选择:全医院所有重症监护病房凡需要使用机械通气的患者。
指标类型:过程指标。
指标改善:发病率的下降。
设置理由:呼吸机有关性肺炎是机械通气的一个频繁发生的并发症。
呼吸机有关性肺炎明显增加患者的病死率和医疗资源的消耗。
呼吸机有关性肺炎的发生率差异极大,专门大程度上反映所在科室的医疗和护理质量。
呼吸机有关性肺炎定义:感染前48小时内使用过呼吸机,有呼吸道感染的全身及呼吸道感染症状,并有胸部X 线症状及实验室依据。
医院感染管理质量控制指标(2019年版)1. 引言医院感染管理是医疗机构保障患者安全和提供优质医疗服务的重要方面。
感染管理的质量控制指标是评估医院感染管理水平和效果的重要工具。
本文档介绍了医院感染管理质量控制指标的2019年版,旨在提供便于医疗机构使用的标准指标,以保障患者安全和提高医疗质量。
2. 感染管理质量控制指标概述感染管理质量控制指标是通过对感染管理相关数据进行整理和分析所得出的指标体系。
这些指标可以用于评估医院感染管理工作的质量和效果,并为改善感染管理提供依据。
质量控制指标主要包括感染发生率、感染预防措施的执行情况、感染管理政策和流程的执行情况等方面的指标。
3. 医院感染发生率感染发生率是评估医院感染管理工作的重要指标之一。
常见的感染发生率指标包括手术部位感染率、院内感染率、耐药菌感染率等。
感染发生率指标的监测可以帮助医疗机构及时发现感染问题,并采取相应的预防和控制措施。
具体感染发生率指标包括:•手术部位感染率:衡量医院手术部位感染的风险和质量控制水平。
•院内感染率:评估医院内患者感染的发生情况,包括呼吸道感染、泌尿道感染、血流感染等各类感染。
•耐药菌感染率:监测医院内耐药菌感染的情况,包括耐甲氧西林金黄色葡萄球菌、耐万古霉素肠杆菌等。
•术后感染率:评估手术后患者发生感染的情况,包括手术切口感染和深部组织感染等。
4. 感染预防措施执行情况感染预防措施的执行情况是衡量医院感染管理质量的重要指标之一。
医院应建立感染预防措施标准和流程,并对医务人员的执行情况进行监测和评估。
具体感染预防措施执行情况指标包括:•手卫生合规率:衡量医务人员进行手卫生的合规情况。
•器械消毒合规率:评估医疗器械消毒操作的合规情况。
•感染预防培训覆盖率:评估医务人员接受感染预防培训的覆盖情况。
•隔离措施执行率:衡量医院对患者采取隔离措施的执行情况。
5. 感染管理政策和流程执行情况感染管理政策和流程的执行情况是评估医院感染管理质量的关键指标之一。
医院感染监测指标体系随着科技的不断进步和医疗水平的提高,人们对医院感染的关注度也越来越高。
医院感染指的是在接受医疗服务的过程中入院患者、探亲陪护人员和医护人员等人群所出现的由医疗服务引起特定部位或者全身的感染。
医院感染不仅会对患者的生命安全造成威胁,还会延长住院时间和增加医疗费用。
因此,建立科学有效的医院感染监测指标体系,成为各国医疗机构必须面对的重要课题之一。
医院感染监测指标体系是指通过监测和收集相关数据,分析和评估医院感染的情况,并以此为依据制定预防和控制策略的一套方法和工具。
它是医院感染管理中的重要组成部分,可以帮助医院发现感染发生的规律、监测预防策略的效果以及及时采取措施减少感染的发生。
医院感染监测指标体系需要包含多个方面的指标,以全面反映医院感染的情况。
首先,感染发病率是其中的重要指标之一。
感染发病率可以反映医院感染的发病情况,包括累积感染发病率和新发感染发病率。
通过监测感染发病率的变化,可以了解感染的趋势,及时作出调整和干预。
其次,感染部位和类型是另一个重要的监测指标。
医院感染可以发生在不同的部位,如呼吸道感染、尿路感染、手术切口感染等。
监测感染的部位和类型可以帮助医院确定重点防控领域,并采取相应的策略进行干预。
另外,感染细菌的耐药性也是医院感染监测指标体系中的重要内容。
随着抗生素的广泛使用,细菌对抗生素的耐药性逐渐增加,导致感染的治疗越来越困难。
因此,监测感染细菌的耐药性,及早发现和采取相应的措施非常关键。
此外,医院感染监测指标体系还应包括感染控制措施的执行情况和手卫生行为的遵守情况等指标。
这些指标可以反映医护人员是否按照规定的标准进行操作,是否采取了必要的防护措施,从而减少感染的发生。
除了上述内容之外,医院感染监测指标体系还可以包括医疗设施的环境卫生状况、消毒灭菌技术的质量和有效性等方面的指标。
这些指标可以帮助医院发现环境中可能存在的感染隐患,进一步加强预防控制工作。
综上所述,医院感染监测指标体系对于预防和控制医院感染具有重要意义。
第六节医院感染控制质量监测指标一、解读根据卫生部《医院感染监测规范(WS/T 312-2009)》,将针对高危人群、高发部位、重点环节的目标性监测,列入对医院感染监控的评价指标,重点是三级医院和规模较大的二级医院(病床数在500张以上),旨在提高医院感染控制工作的内涵质量,为推动持续改进提供方向与目标。
医院感染控制质量改进:是以特定对象的结果指标(即使用呼吸机、导管、导尿管三项器械所致感染的结果指标)为重点,同时以手术风险评估的指数来评价不同的风险指数手术发生感染的情况。
按每季、每年,统计医院感染的基本监测指标,了解医院感染的基本情况。
【监测指标】(一)呼吸机相关肺炎发病率(‰)指标名称:呼吸机相关肺炎发病率(‰)对象选择:全院所有ICU中使用呼吸机的患者。
指标类型:过程指标。
指标改善:比率下降。
设置理由:呼吸机相关肺炎是机械通气一个频繁发生的并发症。
呼吸机相关肺炎明显增加患者的病死率和医疗资源的消耗。
呼吸机相关肺炎的发生率差异极大,很大程度上反映所在科室的医疗和护理质量。
呼吸机相关肺炎定义:感染前48小时内使用过呼吸机,有呼吸道感染的全身及呼吸道感染症状,并有胸部X线症状及实验室依据。
分子:单位时间一定范围内呼吸机相关肺炎的例数。
分母:单位时间一定范围内所有患者使用呼吸机的总日数。
计算公式:呼吸机相关肺炎的例数呼吸机相关肺炎发病率(‰)=---------------------------×1000所有患者使用呼吸机的总日数(二)留置导尿管相关泌尿系感染发病率(‰)指标名称:留置导尿管相关泌尿系感染发病率(‰)。
对象选择:全院所有ICU或使用导尿管较多的科室使用留置导尿管的患者。
指标类型:结果指标。
指标改善:比率下降。
设置理由:由留置导尿管所导致的泌尿系感染是最常见的院内感染之一,但经常会被忽视。
注意无菌操作和尽早拔除不需要的导尿管是降低发病率的主要措施。
留置导尿管相关泌尿系感染的定义:留置导尿管相关泌尿系感染主要是指患者留置导尿管后,或者拔除导尿管48小时内发生的泌尿系统感染。
盐城市大丰人民医院创建资料目录
【项目】:4-19-8 医院感染管理组织对医院感染危险因素、医院感染率及其变化趋势进行监测;根据医院感染风险、医院感染发病率和(或)患病率及其变化趋势改进诊疗流程;将医院感染情况与其他医疗机构进行比较;定期通报医院感染监测结果。
【基本要求】:4-19-8-1 有医院感染监测指标体系,按照《医院感染监测规范》(WS/T312-2009)开展监测工作并记录。
【C】:
1、有医院感染监测指标体系,按照《医院感染监测规范》(w s/T 31 2—2009)开展监测工作,并记录。
2、有监测信息收集与反馈渠道,保证信息质量,保存原始记录文件。
【B】:符合“C”,并
1、医院感染管理组织定期(至少每季度)对监测信息进行分析讨论,有会议记录或简报,定期(至少每季度)发布医院感染监测信息,对医院感染风险、医院感染率及其变化趋势提出预警和改进诊疗流程等建议。
【A】:符合“B”,并
1、医院感染监测指标真实、准确、完整,能为医院感染管理提供依据,持续改进医院感染管理工作,有持续改进案例。
【资料目录】:。