建设项目环保审批流程图【模板】
- 格式:docx
- 大小:19.62 KB
- 文档页数:2
环境保护审批流程图(正文)为了保护环境,我国实行了环境保护审批制度,对涉及到环境保护的各类项目进行审批和监管。
环境保护审批流程图如下:1. 项目报建阶段:项目报建是环境保护审批的起始点,申请单位需要向所在地的环境保护部门提交项目报建申请,并提供有关的项目资料和申请书。
环境保护部门在收到申请后进行初审,初审合格后进入下一阶段。
2. 环境影响评价(EIA)阶段:EIA是环境保护审批的重要环节,其目的是评价和预测项目对环境造成的影响。
申请单位需要组织编制环境影响评价报告,报告包括项目的规划设计、环境影响评价、环境管理措施等内容。
环境保护部门对报告进行评估,并进行公示和听证。
评估结果将直接影响项目是否能够获得环境保护审批。
3. 环评文件备案阶段:环评文件备案是环境保护审批的重要环节之一,意在向社会公示项目环评文件的结果和内容。
环境保护部门将受理符合要求的环评文件,并依法进行备案。
备案过程中,社会公众有权利提出意见和建议。
4. 审批阶段:审批是环境保护审批的关键环节,环境保护部门对项目进行审批,包括项目的技术性、合法性和合规性等方面。
审批结果将影响项目是否获得环境保护许可证。
审批结果可以分为三种情况:批准、不批准和批准但需改进。
5. 环境保护许可证发放阶段:环境保护许可证是项目合法运营的依据,只有取得环境保护许可证,项目才能正常运营。
环境保护部门对审批合格的项目进行核查,并发放环境保护许可证。
项目运营过程中,必须遵守许可证的相关规定,否则将受到法律的制裁。
6. 监管阶段:监管是环境保护审批的持续环节,环境保护部门将对已获得许可证的项目进行定期检查和监测,确保项目按照环评报告的要求和许可证的规定运行。
若项目违反环境法规或许可证要求,环境保护部门有权采取相应的处罚措施。
(结尾)以上即为环境保护审批流程图及相应的阶段解析。
通过这一完整的流程,我国可以有效审查和监管对环境有潜在影响的项目,从而保护环境,促进可持续发展。
建设项目环境影响评价审批流程图审批、公示建设项目环境保护验收审批word 教育资料受理 验收 申请 0日内办结 环保验收 意见个工作 出具三、行政处罚流程图计算额定排污费维持原决定更改原决定重 新计算排污费岀〈排污费缴纳通知单〉四、排污费征收流程图申报申报 阶段申报登记给予处罚申报登记表审核不合格责令限期改正补办审核 阶段向排污者发放审 核同意的排污申 请登记表岀排污申请登记表it审核后的每月或季的排污情况—拒报、谎报核定 阶段排污者月或季的实际排 污情核定的依据① 导入自动监控数据 ② 录入监督性监测数据 ③ 录入物料衡算数据节性 ④ 直接录入测算数据直接核定核定岀〈污染核定通知书〉 每月或季向排污者送达 〈污染核定通知书〉变更申报.按月或季计算额定排污费并公告 按排污费征收标准 征收 阶段 逾期不缴纳的 处罚日后未按规 定缴纳的,从 第8日起加收 % 的滞纳金, 并责令限期缴 纳排污者接到(通知 单)之日起7日内 到指定商业银行缴 纳排污费排污者 申请减、 缓、免缴 排污费环保行政主 管部门书面 决定并公告异议五、行政复议程序(情况复杂可延长30日)决定限期履行维持变更撤销确认违法建设项目环境影响报告书审批1、办理事项:建设项目环境影响报告书审批2、办理部门:新区规划建设环保局3、办事依据:《中华人民共和国环境影响评价法》、《国务院建设项目环境管理条例》、《江苏省太湖水污染防治条例》、《江苏省环境噪声污染防治条例》、《无锡市环境噪声污染防治管理办法》4、申报材料:1)、资质单位编制《建设项目环境影响报告书》2)、专家审查意见3)、建设项目环境影响报告书光盘5、办事程序:窗口受理-经办人现场勘察-审核-窗口发放批准文件6、核发文件:《建设项目环境影响报告书》审批意见7、办理期限:15个工作日8、收据费依据与标准:无9、办事告知:无。
建设项目环境影响评价审批流程图审批决定并书面通知建设单位核技术利用单位《辐射安全许可证》核发、变更、延续、注销流程图申请单位提出申请区县环保局提出审批意见申请单位向市辐射环境监督监测站提交书面材料当场受理并要求网上申报单位信息告知申请单位需要补全的全部内容材料不齐全,不符合要求的市环保局审查,提出审批意见符合条件的市辐射环境监督监测站按决定进行处理向申请单位发不予许可决定书核发辐射安全许可证书对准予许可的对不准予许可的办理排污许可证核发、变更、延续、注销流程图申请前信息公开(5个工作日)后提交(网上),提交有关资料至环境保护主管部门(详见排污许可证管理暂行规定)市环保局总量控制科或区县环保局相关业务科室网上受理材料不符合要求的向申请单位提出补件要求审核通过予以公示、发放排污许可证对排污单位提交的申请材料进行审核(各部门会签、经办人汇总意见、局务会研究)和现场核查,并提出审核意见。
审核不通过向申报单位说明不予发证理由不予受理的项目,向申报单位说明不予受理的原因企业提出申请(均在国家排污许可信息公开系统填报)权限内拆除或者闲置污染物处理设施的审批不属实情况属实申请单位提出申请监察人员现场核实市环保局组织专家研究并做出决定提交书面申请报告书面通知申请单位相关材料:1、书面申请报告。
行政批文并告知申请单位从事收集、储存、处置危险废物经营活动的许可不合格合格不通过同意申请单位提出申请对申报材料进行初审污控科组织进行技术评估市环保局组织对技术评估报告进行评审和现场核查,并做出决定一次告知需要补充的全部材料提交《危险废物处置许可申请书》及证明材料书面通知申请单位相关材料:(一)《自治区危险废物经营许可证申请表》;(二)县、市环保部门初审意见;(三)符合与申请经营的危险废物类别和经营方式要求的技术人员名单及其相关证明;(四)与所申请经营危险废物的特性、数量相适应的专用运输工具及相关证明。
无自备运输工具的,应提供与专业运输单位签定的委托运输合同或运输工具租赁合同及相关证明;(五)建设项目环境保护验收批复文件;(六)堆存设施、设备的详细情况;(七)保证危险废物经营安全规章制度文本和污染防治管理措施文本及相关证明材料;(八)应急预案备案情况行政批准发证权限内转移危险废物流程图不合格合格未通过通过企业提出转移申请一次告知需要补齐的全部材料出具转移联单监察人员现场检查确认将问题反馈至企业要求企业进行整改市环保局污控科对转移申请材料进行初审危险废物转移须提交的材料:1、书面转移申请;2、接受单位的处置资质;3、运输单位的运输资质;4、转移处置合同;5、运输单位道路运输突发事件应急预案;6、危险废物转移计划表。
叮叮小文库建设项目环境影响评价审批流程图叮叮小文库建设项目环境保护验收审批受理验收申请不达要求三、行政处罚流程图四、排污费征收流程图申报 阶段 排污者申报申报?登记 -1「审核 ----申报登记表审核■> 给予处罚审核 阶段 不合格鼻责令限期改正补办核定 阶段 ' r ....... 征收 阶段 向排污者发放审 核同意的排污申 请登记表岀排污申请登记表审核后的每月或季的排污情况拒报、谎报排污者月或季的实际排 污情核定的依据 ① 导入自动监控数据 ② 录入监督性监测数据 ③ 录入物料衡算数据节性 ④ 直接录入测算数据按排污费征收标准核定核定排污者月或季 的实际排污情况岀〈污染核定通知书〉 每月或季向排污者送达 〈污染核定通知书〉计算额定排污费>按月或季计算额定排污费并公告排污者不复议、不诉讼又不履行 逾期 不缴 纳的 处罚 岀〈排污费缴纳通知单〉送达〈排污费缴纳通知单〉 7日后未按规 定缴纳的,从 第8日起加收 2%的滞纳金, 并责令限期缴 纳排污者接到(通知 单)之日起7日内 到指定商业银行缴 纳排污费1 T对账 —►复议或诉讼期满后180 日内申请法院强制执行直接核定变更申报接申请排污者10日内 7日内申做出并 请复核 复核送达复核决定异议更改原决定重 新计算排污费不服*排污者提起复排污者 申请减、 缓、免缴 排污费统计汇总维持原决定议或申诉环保行政主 管部门书面 决定并公告缴费五、行政复议程序限期履行维持变更撤销确认违法建设项目环境影响报告书审批1、办理事项:建设项目环境影响报告书审批2、办理部门:新区规划建设环保局3、办事依据:《中华人民共和国环境影响评价法》、《国务院建设项目环境管理条例》、《江苏省太湖水污染防治条例》、《江苏省环境噪声污染防治条例》、《无锡市环境噪声污染防治管理办法》4、申报材料:1)、资质单位编制《建设项目环境影响报告书》2)、专家审查意见3)、建设项目环境影响报告书光盘5、办事程序:窗口受理-经办人现场勘察-审核-窗口发放批准文件6、核发文件:《建设项目环境影响报告书》审批意见7、办理期限:15个工作日8、收据费依据与标准:无9、办事告知:无。
1-1建设项目环境影响评价登记表审批流程图建设单位申请行政审批政务服务中心窗口受理首席代表审查拟定审批意见窗口发文不予受理告知理由提交申请、登记表一式4份规划及土地部门相关文件不符合要求退回修改补正1-1建设项目环境影响评价审批流程图建设单位申请行政审批政务服务中心窗口受理审查现场踏勘专家评估内部审查受理公示(10日)拟批公示(10日)1、建设单位红头申请函;2《建设项目环境保护审批登记表》及建设项目环境影响评价技术评估结论;3、《建设项目环境影响报告书(表)》,涉及水土保持的,还需水行政主管部门审批的水土保持方案;4、项目所在地(县市区)环保部门及行业行政主管部的预审意见;5、项目建议书及有关主管部门的批复;6、建设项目排放污染物总量指标来源确认函。
1、检查产业政策相符性2、检查与规划相符性3、检查材料完整性不予通过给予说明提出整改意见退回补正未通过告知原因(特别程序)特别程序公众持较大反对意见予以退回(特别程序)1、征求科室意见2、项目审批委员会审定(30日)3、拟定审批意见决定窗口发文受理流程审批流程1-1建设项目环境保护验收审批流程图建设单位申请验收政务服务中心窗口受理审查现场检查、核实、评估1、建设单位红头申请函;2、环境保护工作执行情况报告;3、《建设项目竣工环境保护“三同时”验收登记表》及项目环保设施竣工验收技术评估结论;4、项目所(在地县市区)环保部门同意项目运行或试生产的函及预审意见;5、《建设项目环境保护竣工验收申请报表》或《建设项目环境保护竣工验收申请》或《建设项目环境保护竣工竣工验收申请登记卡》;6、《建设项目环境保护竣工验收监测表》或《建设项目环境保护竣工验收报告》(污染影响类);《建设项目环境保护竣工验收环境影响调查报告》或《建设项目环境保护竣工验收调查表》(生态影响类)。
不予通过告知理由提出整改意见退回补正(特别程序)内部审查(5日)未通过告知原因(特别程序)1、征求科室意见2、拟定审批意见拟批公示(15日)公众持较大反对意见予以退回(特别程序)决定窗口发文1-2排污许可证(大气、水)核发外部流程图建设单位申请行政审批科室审核会签拟定审批意见窗口发证排污单位按核查意见整改完毕窗口预审一次性告知需补充的资料和要求排污单位按反馈意见进一步整改1-3辐射安全许可证核发外部流程图辐射工作单位提出申请政务服务中心窗口受理材料审查公示(10日)审查、形成初审意见窗口发证1、辐射安全许可证申请表;2、企业法人营业执照证、副本或事业单位法人证书、副本及法定代表人身份证原件及其复印件,审验后留存复印件;3、经审批的环境影响评价文件;4、单位现存的和拟新增加的放射源和射线装置明细表;5、《放射性同位素与射线装置安全许可证管理办法》十六条相应规定的证明材料不予受理告知理由不符合要求退回补正特别程序未通过告知理由审批2 环境行政处罚外部流程图发现违法事实报请立案调查取证(2人以上)案件审查报告备案制作笔录、抽样取证等销 案免予处罚移送司法理由成立的批评教育改正的属法定轻微情节的结案收集书证、物证等鉴定、勘验等其他取证方式登记保全(7日内决定)告知时间、地点当事人质证辩论制作听证笔录不予或免于处罚执行行政复议决定或行政判决书执行当事人15日内到指定银行缴纳罚款,在事后难以执行的以及特殊情况下当场收缴情节较重或重大的送达结案执行行政复议决定或行政判决书执行当事人15日内到指定银行缴纳罚款,在事后难以执行的以及特殊情况下当场收缴事先告知听取陈述申辩组织听证(情节复杂或重大处罚)集体讨论听证告知听证主持人主持听证表明身份、指出违法事实说明处罚理由、听取陈述申辩填写处罚决定书、当场交付作出决定行政处罚执行3 排污费核定征收外部工作流程拒报、谎报逾期不报不合要求排污者提交申报资料初审 支队复核 局领导审签决定 向排污者送达排污核定通知书 公告排污核定结果 移交市地方税务部门 排污者提起复议或诉讼 排污者到市地税办理缴纳排污费手续排污者因不可抗力遭受重大经济损失的,申请减、免、缓缴排污费 责令限期补报 处罚审 查异议 排污者逾期不缴纳的,加收滞纳金并罚款4-1危险废物行政代处置流程图发现违法行为责令限期处置 不处置或处置不符合规定 提出行政代处置建议污防科审核审核结果 告知权利 通过听取陈述、申辩陈述 申辩 复核主管领导审批决定 审核结果同意 交付文书,指定单位代处置通知当事人承担处置费用办理结束 不同意排污者4-2 水污染物行政代处置流程图发现违法行为责令限期处置不按要求治理或不具备治理提出行政代处置建议法规处审核审核结果 告知权利 通过听取陈述、申辩 陈述 申辩 复核 主管领导审批决定 审核结果同意 交付文书,指定单位代处置通知当事人承担处置费用 办理结束 不同意不通过4-3 涉嫌违反医疗废物管理规定的场所、设备、运输工具和物品查封扣押流程图报 告 当场采取强制措施经分管领导批准告知当事人采取行政强制措施的理由、依据、救济途径以及依法享有的权利;听取当事人的陈述和申辩。
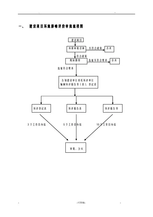
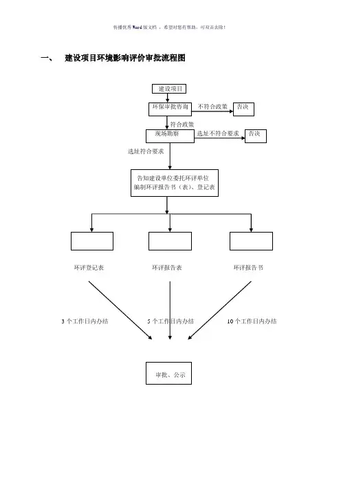
一、建设项目环境影响评价审批流程图
环评登记表环评报告表环评报告书3个工作日内办结5个工作日内办结10个工作日内办结
传播优秀Word版文档,希望对您有帮助,可双击去除!
二、建设项目环境保护验收审批
三、行政处罚流程图
四、排污费征收流程图
五、行政复议程序
限期履行维持变更撤销确认违法
建设项目环境影响报告书审批
1、办理事项:建设项目环境影响报告书审批
2、办理部门:新区规划建设环保局
3、办事依据:《中华人民共和国环境影响评价法》、《国务院建设项目环境管理条例》、《江苏省太湖水污染防治条例》、《江苏省环境噪声污染防治条例》、《无锡市环境噪声污染防治管理办法》
4、申报材料:
1)、资质单位编制《建设项目环境影响报告书》
2)、专家审查意见
3)、建设项目环境影响报告书光盘
5、办事程序:窗口受理-经办人现场勘察-审核-窗口发放批准文件
6、核发文件:《建设项目环境影响报告书》审批意见
7、办理期限:15个工作日
8、收据费依据与标准:无
9、办事告知:无
---精心整理,希望对您有所帮助。
一、建设项目环境影响评价审批流程图
3个工作日办结5个工作日办结10个工作日办结
. -
- -可修编- -
二、 建设项目环境保护验收审批
三、行政处罚流程图
四、排污费征收流程图
五、行政复议程序
自受理之日起60日作出复议决定
(情况复杂可延长30日)
限期履行维持变更撤销确认
建设项目环境影响报告书审批
1、办理事项:建设项目环境影响报告书审批
2、办理部门:新区规划建设环保局
3、办事依据:《中华人民国环境影响评价法》、《国务院建设项目环境管理条例》、《省太湖水污染防治条例》、《省环境噪声污染防治条例》、
《市环境噪声污染防治管理办法》
4、申报材料:
1)、资质单位编制《建设项目环境影响报告书》
2)、专家审查意见
3)、建设项目环境影响报告书光盘
5、办事程序:窗口受理-经办人现场勘察-审核-窗口发放批准文件
6、核发文件:《建设项目环境影响报告书》审批意见
7、办理期限:15个工作日
8、收据费依据与标准:无
9、办事告知:无。
路北区环保分局关于固定资产投资项目审批办理流程图
环保局全部审批流程至少需要15个工作日(含环评文件在互联网上公示10个工
作日,不含环评公司编写建设项目环境影响报告书40个工作日)。
建设项目环
境影响报告书审批法定时间60个工作日。
一、建设项
目环境影响
报告书
二、建设项目环境影响报告表
环保局全部审批流程至少需要15个工作日(含环评文件在互联网上公示10个工作日,不含环评公司编写建设项目环境影响报告表7个工作日)。
建设项目环境影响报告表审批法定时间30个工作日。
建设项目环保审批流程图
(行政审批)
申报材料:
(一)、符合规划的批文(规划和建设局规划股办理,复印件)
(二)、项目批准文件(新建项目,需有发展和改革局批文;扩建、改建项目,需有经济商务局批文,复印件);工商预核登记书或营业执照(到工商局办理,复印件)
(三)、填报《**市开发建设项目环境保护申报表》一式三份,申报表表格在珙县政务中心环保窗口直接免费领取。
(四)、企业法人代表身份证(复印件)
其中矿产开采企业需附五--八项
(五)、土地预审批文(国土资源局办理,复印件)
(六)、有效期限内安全生产许可证(复印件)
(七)、有效期限内取水许可证(复印件)
(八)、有效期限内采矿许可证(复印件)
(九)、畜牧兽医局备案文件
审批条件:
符合国家产业政策、当地规划及环保要求。
属于四川省人民政府印发的《四川省建设项目环境影响评价分级审批办法》中县级审批权限范围内项目环评文件由县环保部门审批。
法定依据:
《中华人民共和国环境影响评价法》
《建设项目环境保护管理条例》
办理时限:
法定时限:报告书60个工作日、报告表30个工作日、登记表15个工作日。
承诺时限:报告书(表)11个工作日、登记表3个工作日。