根据轴测图画三视图1
- 格式:doc
- 大小:47.50 KB
- 文档页数:1
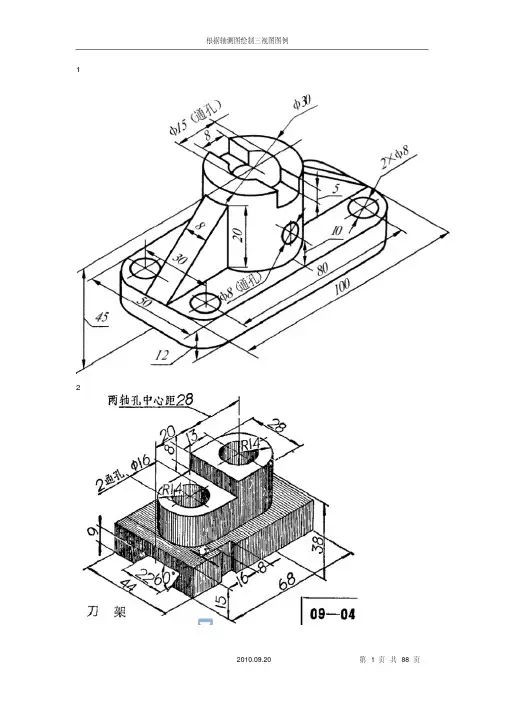
机械制图课程试题库中专第一章制图基本知识与技能一、填空题1、机械制图当中基本图幅有哪五种 A0 、 A1 、 A2 、 A3A4 其中A4图纸幅的尺寸为 210×297 ;2、机械制图当中常用的线型有粗实线、细实线、虚线等,可见轮廓线采用粗实线,尺寸线,尺寸界线采用细实线线,轴线,中心线采用细点画线 ;3、机械制图当中的汉字应写成长仿宋体;4、图样中的尺寸以㎜为单位;5、在标注直径时,在数字前面应该加φ ,在标注半径时应在数字前加 R ;6、尺寸标注由尺寸界线、尺寸线和尺寸数字组成;7、在标注角度尺寸时,数字应水平书写;★8、机械制图中通常采用两种线宽,粗、细线的比率为 2:1 ;9、线性尺寸数字一般应注写在尺寸线的上方或左方 ;★10、平面图形中所注尺寸按作用分为定形尺寸和定位尺寸 ;二、选择题1、下列符号中表示强制国家标准的是 C ;A. GB/T B. GB/Z2、不可见轮廓线采用 B 来绘制;A.粗实线 B.虚线 C.细实线3、下列比例当中表示放大比例的是 BA.1:1 B. 2:1 :24、在标注球的直径时应在尺寸数字前加 CA.R B.ΦΦ4、下列比例当中表示缩小比例的是 CA.1:1 B. 2:1 :25、机械制图中一般不标注单位,默认单位是 AA.㎜ B.㎝6、下列尺寸正确标注的图形是 C7、下列缩写词中表示均布的意思的是 CA.SR B. EQS8、角度尺寸在标注时,文字一律 A 书写A.水平 B.垂直 C.倾斜9、标题栏一般位于图纸的 AA.右下角 B.左下角 C.右上角机械制图课程试题库第二章正投影作图基础一、填空题1、工程上常采用的投影法是中心投影法和平行投影法法,其中平行投影法按投射线与投影面是否垂直又分为正投影法和斜投影法;2、当直线平行于投影面时,其投影反映实长 ,这种性质叫实形性,当直线垂直投影面时,其投影为一点 ,这种性质叫积聚性,当平面倾斜于投影面时,其投影为缩短的直线原图的类似行,这种性质叫类似性;3、主视图所在的投影面称为正立投影面 ,简称正面 ,用字母 V 表示,俯视图所在的投影面称为水平投影面 ,简称水平面 ,用字母 H 表示;左视图所在的投影面称为侧立投影面简称侧面 ,用字母 W 表示;4、三视图的投影规律是:主视图与俯视图长对正;主视图与左视图高平齐;俯视图与左视图宽相等 ;5、零件有长宽高三个方向的尺寸,主视图上只能反映零件的长和高 ,俯视图上只能反映零件的长和宽 ,左视图上只能反映零件的宽和高 ;★6、零件有上、下、左、右、前、后六个方位,在主视图上只能反映零件的上下左右方位,俯视图上只能反映零件的前后左右方位;7、直线按其对三个投影面的相对位置关系不同,可分为投影面的平行线、投影面的垂直线、一般位置直线 ;8、与一个投影面垂直的直线,一定与其它两个投影面平行 ,这样的直线称为投影面的垂直线 ;9、与正面垂直的直线,与其它两个投影面一定平行 ,这样的直线称为正垂线 ;10、与一个投影面平行,与其它两个投影面倾斜的直线,称为投影面的平行线 ,具体又可分为正平线、水平线、侧平线 ;11、与三个投影面都倾斜的直线称为一般位置直线 ;12、空间平面按其对三个投影面的相对位置不同,可分投影面的平行面、投影面的垂直面一般位置平面 ;13、与一个投影面平行的平面,一定与其它两个投影面垂直 ,这种平面称为投影面的平行面,具体可分为正平面、水平面、侧平面 ;14、与正面平行的平面,与其它两个投影面垂直这样的平面称为正平面;它的正投影反映实形;二、选择题1、下列投影法中不属于平行投影法的是 AA、中心投影法B、正投影法C、斜投影法2、当一条直线平行于投影面时,在该投影面上反映 AA、实形性B、类似性C、积聚性3、当一条直线垂直于投影面时,在该投影面上反映 CA、实形性B、类似性C、积聚性4、在三视图中,主视图反映物体的 BA、长和宽B、长和高C、宽和高5、主视图与俯视图 AA、长对正B、高平齐C、宽相等6、主视图与左视图 BA、长对正B、高平齐C、宽相等7、为了将物体的外部形状表达清楚,一般采用 A 个视图来表达;A、三B、四C、五8、三视图是采用 B 得到的A、中心投影法B、正投影法C、斜投影法★9、当一个面平行于一个投影面时,必 B 于另外两个投影面A、平行B、垂直C、倾斜★10、当一条线垂直于一个投影面时,必 A 于另外两个投影面A、平行B、垂直C、倾斜机械制图课程试题库第四章立体表面交线的投影作图一、选择题1、已知物体的主、俯视图,正确的左视图是 A ;2、已知圆柱截切后的主、俯视图,正确的左视图是 D ;3、已知物体的主、俯视图,错误的左视图是 A4、已知立体的主、俯视图,正确的左视图是 B ;★5、已知物体的主、俯视图,正确的左视图是 A机械制图课程试题库第四章轴测图一、选择题1、物体上互相平行的线段,轴测投影 AA、平行B、垂直C、无法确定2、正等轴测图的轴间角为 AA、120B、60C、903、正等轴测图中,为了作图方便,轴向伸缩系数一般取 CA、3B、2C、14、画正等轴测图的X、Y轴时,为了保证轴间角,一般用 A 三角板绘制A、30○B、45○C、90○5、在斜二等轴测图中,取一个轴的轴向变形系数为时,另两个轴向变形系数为 BA、 B、1 C、2★6、根据组合体的组合方式,画组合体轴测图时,常用 D 作图;A、切割法B、叠加法C、综合法 D,切割法、叠加法和综合法三、根据轴侧图,补画三视图中所缺的线条1、 2、四、.根据轴侧图画三视图,尺寸在图上量取1、根据轴测图画三视图★2、根据轴测图画三视图3、根据轴测图画三视图五、根据三视图画正等轴测图1、根据三视图画正等轴测图★2、根据三视图画正等轴测图3、根据三视图画正等轴测图机械制图课程试题库第五章组合体一、填空题★1、组合体的组合形式有叠加和切割两类;★2、组合体相邻的表面可能形成共面、相交和相切三种关系 ;3、组合体视图的画图步骤是形体分析法、选择比例图幅、选择视图、布置视图、画底稿、检查、描深、标注尺寸、完成全图;4、组合体尺寸标注的基本要求为:正确、齐全、清晰 ;二、选择题1、看懂主、俯视图,想象出组合体的形状,找出错误的左视图 A ;2、根据两面视图,想出组合体的形状,并补画第三面视图;10分3、画出下面立体的三视图20分4、补全图中的漏线;5分5、求作W投影10分;6、由轴测图补画视图; 10分7、补画视图中的缺线10分8、补画第三视图40分a机械制图课程试题库第六章机械图样的基本表示方法一、填空题★1、按剖切范围分,剖视图可分为全剖、半剖和局部剖三类;2、断面图分为:重合断面和移出断面两种;3、同一零件各剖视图的剖面线方向相同间隔相等4、六个基本视图的名称为:主视图俯视图左视图右视图仰视图后视图 ;二、选择题★1、下列局部剖视图中,正确的画法是 B ;A B C D★2、下列四组视图中,主视图均为全剖视图,其中 A 的主视图有缺漏的线;A B C. D3、在半剖视图中,剖视图部分与视图部分的分界线为:AA.、细点画线 B 粗实线、 C、双点画线4、重合剖面的轮廓线都是用 CA.、细点画线绘制 B 、粗实线绘制 C 、细实线绘制5、当需要表示位于剖切平面前的结构时,这些结构按假想投影的轮廓线用:CA.、细点画线 B、粗实线、 C、双点画线2、用单一剖切面,将主视图画成全剖视图;20分3、用单一剖切面,将主视图画成全剖视图;20分★4、将物体的主视图改画成剖视图;20分★5、在轴的小孔及键槽处,画移出断面图;15分★6、在指定位置画出断面图并标记;10分7、在指定位置画出断面图并标记;10分8、在轴的指定位置作剖面图A处键槽深为4mm,C处键槽宽为8mm;15分第七章机械图样中的特殊表示法一、填空题★1、内外螺纹只有当____牙型____;_直径_______;_____螺距___;____线数____;_旋向_______等五要素完全相同时,才能旋合在一起;★2、导程S和螺距P的关系是___S=Pn_____;3、绘制圆柱齿轮的圆视图中,齿顶圆用粗实线线表示,分度圆用细点画线线表示,齿根圆用细实线线表示,或省略不画;★4、外螺纹在非圆视图中,大径用粗实线表示、小径用细实线表示;二、选择题★1、旋合长度代号分短、中、长三组,分别用字母代替,其中中等旋合长度用:A、N代替 B 、S代替C、L代替2、一般用于受力不大且不常拆卸的场合的连接方法是:A、螺栓连接 B 、双头螺柱连接C、螺钉连接3、标准直齿圆柱齿轮的齿顶高尺寸计算公式等于:A、ha=mzB、ha =mC、ha =4、普通螺纹的公称直径为螺纹的;A、大径B、中径C、小径5、普通螺纹的牙型为;A、三角形B、梯形C、锯齿形6、一对齿轮啮合时:A、模数相等B、压力角相等C、模数和压力角相等7、普通螺纹的牙型角是A 30°B 60°C 33°D 45°★8、螺栓连接画法中,下列说法错误的是;A、板上的孔直径大于螺纹大径B、螺母上有倒角C、螺栓是不剖的D、上下板的剖面线方向是平行9、螺栓连接的组成中共有标准件数是;A、2B、3C、4D、5四、画图题★1、画出正确的螺纹;10分★2、完成螺栓连接的图样;10分3、分析螺钉连接图中的错误,将正确的螺柱连接图画在右侧;15分5、按规定画法,完成螺柱连接画法的主、左视图;15分6、找出下列螺纹画法中的错误,画出正确的图形;20分1 23 4第八章零件图一、填空题1、零件图四大内容是:、、、;2、零件图的尺寸标注要求是:、、、;3、尺寸公差是指 ;★4、国标中规定,标准公差为级,相同尺寸公差值越小,精度;公差值越大,精度 ,同一等级的公差,尺寸越小,公差值尺寸越大,公差值 ;5、在表面粗糙度的评定参数中,轮廓算术平均偏差的代号为 ;6、零件的表面越光滑,粗糙度值越 ;7、零件图主视图的选择原则有原则, 原则, 原则;8、孔与轴的配合为7830fH,这是基制配合;9、基本尺寸相同的,相互结合的孔和轴公差带之间的关系称为;10、基本尺寸相同的孔和轴产生配合关系,根据间隙的大小,可分为配合, 配合, 配合三种;二、选择题1、下面哪种符号是代表形位公差中的同轴度 ;★2、以下尺寸标注不合理的是3、 132±的公差为A: + B: C: + D:4、公差表示尺寸允许变动的范围,所以为A、一定正值B、一定为负值C、可以为零D、以上值都可以5、零件图主视图选择原则有A、形状特征原则B、加工位置原则C、工作位置原则D、以上答案均正确6、在零件图中对尺寸基准根据其作用分为两类A、设计基准和工艺基准B、长宽高基准C、主要基准和辅助基准D、合理基准和不合理基准7、表面粗糙度中,Ra的单位为A、米B、毫米C、微米D、厘米四、读零件图一看懂导套的零件图并填空;1、导套零件的材料为 ,画图比例为 ,主视图采用的是剖视图;2、的基本尺寸为 ,基本偏差是 ,最大极限尺寸是 ,最小极限尺寸是 ,公差是 ;3、导套表面粗糙度要求最高的表面是 ,代号为 ;4、越程槽3×表示槽宽 ,槽深 ,槽的定位尺寸为 ;5、直径为38圆柱长为 ,其表面粗糙度的代号为 ;6、直径为23的孔左端倒角为 ;7、说明图中下列形位公差的意义:被测要素为 ;基准要素为 ;公差项目为 ,公差值为 ;二看懂套的零件图并填空;1.该零件的名称是 ,材料是 ,绘图比例为 ;2.主视图采用的是剖剖视图,B下面的图形为视图;3.上方有5:1的图为图;4.尺寸的基本尺寸为 ,基本偏差是 ,最大极限尺寸是 , 最小极限尺寸是 ,公差是 ;5.该零件轴向的尺寸基准是 ,径向的尺寸基准是 ;6.孔的右端倒角为 ;7.套100的外圆面的表面粗糙度为 ;8.说明图中下列形位公差的意义:被测要素为 ,基准要素为 ,公差项目为 ,公差值为 ;三看懂轴的零件图并回答问题;1.该零件的名称是 ,材料是 ,绘图比例为 ;2.主视图采用的是剖视图,主视图右边的图形为视图;3.上方有B-B的图为图;4.尺寸的基本尺寸为 ,基本偏差是 ,最大极限尺寸是 , 最小极限尺寸是 ,公差是 ;5.该零件轴向的尺寸基准是 ,径向的尺寸基准是 ;6.零件的右端面螺纹尺寸为M10×1-6H的螺距为 ;7.零件的右端面的倒角为 ;8.套50的外圆面的表面粗糙度为 ;9.说明图中下列形位公差的意义:被测要素为 ,基准要素为 ,公差项目为 ,公差值为 ;七、计算题:每题7分,2题,共14分1、算出下列配合中最大、最小间隙或过盈,并画出公差带图及配合公差带图;①Φ50H8+ 0/n7 错误!②Φ40R7 错误!/ n6 错误!第九章装配图焊接专业选做一、填空题1、装配图是表达机器或部件的、、零件之间的和 ;★2、装配图的五大尺寸是、、、、;3、孔与轴的配合为7830fH,这是基制配合;4、装配图的内容有_______ ______,_____________, , ;5、装配图的特殊画法有拆卸画法, 画法, 画法, 画法和夸大画法;五、读装配图一看懂机用虎钳的装配图并填空;1.机用虎钳共用了11种零件,标准件有种;2.主视图采用了剖视图,上方双点划线表示画法,主视图还采用了剖视图;左视图采用的是剖视图;3.主视图右边φ18H8/f7的基本尺寸是 ,轴的公差带代号是 ,孔的公差带代号是;它是螺杆8与号件之间的配合,属于基制的配合;4.固定钳座1属于类零件,螺杆8属于类零件;5.主视图中0~70属于尺寸,60 属于尺寸;二看懂齿轮油泵的装配图并填空;1.齿轮油泵共用了种零件,标准件有种;2.主视图采用了剖视图与剖视图,左视图上方拆去11、12、13、14表示画法;3.左视图中尺寸φ48H7/f7的基本尺寸是 ,轴的公差带代号是 ,孔的公差带代号是;它是齿轮4与号件之间的配合,属于基制的配合;4.泵体1属于类零件,齿轮轴5属于类零件;5.左视图中两个120属于尺寸,90 属于尺寸;。
《机械制图》课程试题库(中专)第一章制图基本知识与技能一、填空题1、机械制图当中基本图幅有哪五种A0、A1、A2、A3A4其中A4图纸幅的尺寸为210×297。
2、机械制图当中常用的线型有粗实线、细实线、虚线等,可见轮廓线采用粗实线,尺寸线,尺寸★89★105A.SRB.EQSC.C8、角度尺寸在标注时,文字一律(A)书写A.水平B.垂直C.倾斜9、标题栏一般位于图纸的(A)A.右下角B.左下角C.右上角三、判断题1、国家制图标准规定,图纸大小可以随意确定(×)2、比例是指图样与实物相应要素的线性尺寸之比。
(×)3、2:1是缩小比例。
(×)4、绘制机械图样时,尽量采用1:1的比例(√)5、使用圆规画图时,应尽量使钢针和铅笔芯垂直于纸面。
(√)6、丁字尺与三角板随意配合,便可画出65度的倾斜线。
(×)7、国家制图标准规定,可见的轮廓线用虚线绘制。
(×)8、国家制图标准规定,各种图线的粗细相同。
(×)9、制图标准规定,图样中标注的尺寸数值为工件的最后完成尺寸。
(√)10、图样中书写汉字的字体,应为长仿宋体。
(√)11、画圆的中心线时,其交点可心是点画线的短画。
(×)12、当圆的直径过小时,可以用线实线来代替线点画线。
(√)四、用已知半径作圆弧连接(保留作图痕迹)1、五、检查下图尺寸注法的错误,将正确的标注方法标注在右边图中。
12357一定与其它两个投影面平行,这样的直线称为投影面的垂直线。
9、与正面垂直的直线,与其它两个投影面一定平行,这样的直线称为正垂线。
10、与一个投影面平行,与其它两个投影面倾斜的直线,称为投影面的平行线,具体又可分为正平线、水平线、侧平线。
11、与三个投影面都倾斜的直线称为一般位置直线。
12、空间平面按其对三个投影面的相对位置不同,可分投影面的平行面、投影面的垂直面一般位置平面。
13、与一个投影面平行的平面,一定与其它两个投影面垂直,这种平面称为投影面的平行面,具体可分为正平面、水平面、侧平面。
《机械制图》课程试题库〔中专〕第一章制图基本知识与技能一、填空题1、机械制图当中基本图幅有哪五种 A0 、 A1 、 A2 、 A3A4 其中A4图纸幅的尺寸为 210×297 。
2、机械制图当中常用的线型有粗实线、细实线、虚线等,可见轮廓线采用粗实线,尺寸线,尺寸界线采用细实线线,轴线,中心线采用细点画线。
3、机械制图当中的汉字应写成长仿宋体。
*4、图样中的尺寸以㎜为单位。
5、在标注直径时,在数字前面应该加φ,在标注半径时应在数字前加 R 。
6、尺寸标注由尺寸界线、尺寸线和尺寸数字组成。
7、在标注角度尺寸时,数字应水平书写。
★8、机械制图中通常采用两种线宽,粗、细线的比率为 2:1 。
9、线性尺寸数字一般应注写在尺寸线的上方或左方。
★10、平面图形中所注尺寸按作用分为定形尺寸和定位尺寸。
二、选择题1、以下符号中表示强制国家标准的是〔 C 〕。
2、不可见轮廓线采用〔 B 〕来绘制。
3、以下比例当中表示放大比例的是〔 B 〕A.1:1 B. 2:1 C.1:24、在标注球的直径时应在尺寸数字前加〔 C 〕A.R B.ΦΦ4、以下比例当中表示缩小比例的是〔 C 〕A.1:1 B. 2:1 C.1:25、机械制图中一般不标注单位,默认单位是〔 A 〕6、以下尺寸正确标注的图形是( C )7、以下缩写词中表示均布的意思的是〔 C 〕8、角度尺寸在标注时,文字一律〔 A 〕书写9、标题栏一般位于图纸的〔 A 〕三、判断题1、国家制图标准规定,图纸大小可以随意确定 ( × )2、比例是指图样与实物相应要素的线性尺寸之比。
( × )3、2:1是缩小比例。
( × )4、绘制机械图样时,尽量采用1:1的比例( √ )5、使用圆规画图时,应尽量使钢针和铅笔芯垂直于纸面。
( √ )6、丁字尺与三角板随意配合,便可画出65度的倾斜线。
( × )7、国家制图标准规定,可见的轮廓线用虚线绘制。
《机械制图》课程试题库(中专)第一章制图基本知识与技能一、填空题、1、机械制图当中基本图幅有哪五种A0 、A1 、A2 、A3 、A4 其中A4 图纸幅的尺寸为210×297 。
2、机械制图当中常用的线型有粗实线、细实线、虚线等,可见轮廓线采用粗实线,尺寸线,尺寸界线采用细实线线,轴线,中心线采用细点画线。
3、机械制图当中的汉字应写成长仿宋体。
*4、图样中的尺寸以㎜为单位.5、在标注直径时,在数字前面应该加φ ,在标注半径时应在数字前加R .。
6、尺寸标注由尺寸界线、尺寸线和尺寸数字组成。
7、在标注角度尺寸时,数字应水平书写。
★8、机械制图中通常采用两种线宽,粗、细线的比率为2:1 。
9、线性尺寸数字一般应注写在尺寸线的上方或左方。
★10、平面图形中所注尺寸按作用分为定形尺寸和定位尺寸。
二、选择题1、下列符号中表示强制国家标准的是(C )。
A.GB/T B.GB/Z C.GB2、不可见轮廓线采用(B )来绘制。
A.粗实线B.虚线 C.细实线3、下列比例当中表示放大比例的是(B )A.1:1 B.2:1 C。
1:24、在标注球的直径时应在尺寸数字前加(C )A.R B.Φ C.SΦ4、下列比例当中表示缩小比例的是(C )A.1:1 B.2:1 C. 1:25、机械制图中一般不标注单位,默认单位是(A )A.㎜B.㎝ C.m6、下列尺寸正确标注的图形是( C )7、下列缩写词中表示均布的意思的是(C )A.SR B.EQS C。
C8、角度尺寸在标注时,文字一律(A )书写A.水平B.垂直C。
倾斜9、标题栏一般位于图纸的(A )A.右下角B.左下角C。
右上角三、判断题1、国家制图标准规定,图纸大小可以随意确定(× )2、比例是指图样与实物相应要素的线性尺寸之比。
( × )3、2:1 是缩小比例。
(× )4、绘制机械图样时,尽量采用1:1 的比例(√ )5、使用圆规画图时,应尽量使钢针和铅笔芯垂直于纸面。
《机械制图》课程中专试题库第一章制图基本知识与技能一、填空题1、机械制图当中基本图幅有哪五种 A0 、 A1 、 A2 、 A3A4 其中A4图纸幅的尺寸为 210×297 。
2、机械制图当中常用的线型有粗实线、细实线、虚线等,可见轮廓线采用粗实线,尺寸线,尺寸界线采用细实线线,轴线,中心线采用细点画线。
3、机械制图当中的汉字应写成长仿宋体。
*4、图样中的尺寸以㎜为单位。
5、在标注直径时,在数字前面应该加φ,在标注半径时应在数字前加 R 。
6、尺寸标注由尺寸界线、尺寸线和尺寸数字组成。
7、在标注角度尺寸时,数字应水平书写。
★8、机械制图中通常采用两种线宽,粗、细线的比率为 2:1 。
9、线性尺寸数字一般应注写在尺寸线的上方或左方。
★10、平面图形中所注尺寸按作用分为定形尺寸和定位尺寸。
二、选择题1、下列符号中表示强制国家标准的是( C )。
A. GB/T B. GB/Z C.GB2、不可见轮廓线采用( B )来绘制。
A.粗实线 B.虚线 C.细实线3、下列比例当中表示放大比例的是( B )A.1:1 B. 2:1 C.1:24、在标注球的直径时应在尺寸数字前加( C )A.R B.Φ C.SΦ4、下列比例当中表示缩小比例的是( C )A.1:1 B. 2:1 C.1:25、机械制图中一般不标注单位,默认单位是( A )A.㎜ B.㎝ C.m6、下列尺寸正确标注的图形是( C )7、下列缩写词中表示均布的意思的是( C )A.SR B. EQS C.C8、角度尺寸在标注时,文字一律( A )书写A.水平 B.垂直 C.倾斜9、标题栏一般位于图纸的( A )A.右下角 B.左下角 C.右上角三、判断题国家制图标准规定,图纸大小可以随意确定 ( × )比例是指图样与实物相应要素的线性尺寸之比。
( × )2:1是缩小比例。
( × )绘制机械图样时,尽量采用1:1的比例( √ )使用圆规画图时,应尽量使钢针和铅笔芯垂直于纸面。
《机械制图》课程试题库(中专)第一章制图基本知识与技能一、填空题1、机械制图当中基本图幅有哪五种 A0 、 A1 、 A2 、 A3A4 其中A4图纸幅的尺寸为 210×297 。
2、机械制图当中常用的线型有粗实线、细实线、虚线等,可见轮廓线采用粗实线,尺寸线,尺寸界线采用细实线线,轴线,中心线采用细点画线。
3、机械制图当中的汉字应写成长仿宋体。
*4、图样中的尺寸以㎜为单位。
5、在标注直径时,在数字前面应该加φ,在标注半径时应在数字前加 R 。
6、尺寸标注由尺寸界线、尺寸线和尺寸数字组成。
7、在标注角度尺寸时,数字应水平书写。
★8、机械制图中通常采用两种线宽,粗、细线的比率为 2:1 。
9、线性尺寸数字一般应注写在尺寸线的上方或左方。
★10、平面图形中所注尺寸按作用分为定形尺寸和定位尺寸。
二、选择题1、下列符号中表示强制国家标准的是( C )。
A. GB/T B. GB/Z2、不可见轮廓线采用( B )来绘制。
A.粗实线 B.虚线 C.细实线3、下列比例当中表示放大比例的是( B )A.1:1 B. 2:1 :24、在标注球的直径时应在尺寸数字前加( C )A.R B.ΦΦ4、下列比例当中表示缩小比例的是( C )A.1:1 B. 2:1 :25、机械制图中一般不标注单位,默认单位是( A )A.㎜ B.㎝6、下列尺寸正确标注的图形是( C )7、下列缩写词中表示均布的意思的是( C )A.SR B. EQS8、角度尺寸在标注时,文字一律( A )书写A.水平 B.垂直 C.倾斜9、标题栏一般位于图纸的( A )A.右下角 B.左下角 C.右上角三、判断题1、国家制图标准规定,图纸大小可以随意确定 ( × )2、比例是指图样与实物相应要素的线性尺寸之比。
( × )3、2:1是缩小比例。
( × )4、绘制机械图样时,尽量采用1:1的比例( √ )5、使用圆规画图时,应尽量使钢针和铅笔芯垂直于纸面。
《机械制图》课程试题库(中专)第一章制图基本知识与技能一、填空题1、机械制图当中基本图幅有哪五种A0、A1、A2、A3A4其中A4图纸幅的尺寸为210×297。
2、机械制图当中常用的线型有粗实线、细实线、虚线等,可见轮廓线采用粗实线,尺寸线,尺寸界线采用细实线线,轴线,中心线采用细点画线。
3、机械制图当中的汉字应写成长仿宋体。
*4、图样中的尺寸以㎜为单位.5、在标注直径时,在数字前面应该加φ,在标注半径时应在数字前加R。
6、尺寸标注由尺寸界线、尺寸线和尺寸数字组成。
7、在标注角度尺寸时,数字应水平书写。
★8、机械制图中通常采用两种线宽,粗、细线的比率为2:1。
9、线性尺寸数字一般应注写在尺寸线的上方或左方。
★10、平面图形中所注尺寸按作用分为定形尺寸和定位尺寸.二、选择题1、下列符号中表示强制国家标准的是(C)。
A.GB/TB.GB/ZC.GB2、不可见轮廓线采用(B)来绘制。
A.粗实线B.虚线C.细实线3、下列比例当中表示放大比例的是(B)A.1:1B.2:1C.1:24、在标注球的直径时应在尺寸数字前加(C)A.RB.ΦC.SΦ4、下列比例当中表示缩小比例的是(C)A.1:1B.2:1C。
1:25、机械制图中一般不标注单位,默认单位是(A)A.㎜B.㎝C.m6、下列尺寸正确标注的图形是(C)7、下列缩写词中表示均布的意思的是(C)A.SRB.EQSC。
C8、角度尺寸在标注时,文字一律(A)书写A.水平B.垂直C.倾斜9、标题栏一般位于图纸的(A)A.右下角B.左下角C。
右上角三、判断题1、国家制图标准规定,图纸大小可以随意确定(×)2、比例是指图样与实物相应要素的线性尺寸之比。
(×)3、2:1是缩小比例。
(×)4、绘制机械图样时,尽量采用1:1的比例(√)5、使用圆规画图时,应尽量使钢针和铅笔芯垂直于纸面。
(√)6、丁字尺与三角板随意配合,便可画出65度的倾斜线。
WORD格式整理《机械制图》课程试题库(中专)第一章制图基本知识与技能一、填空题1 、机械制图当中基本图幅有哪五种A0A4 其中A4图纸幅的尺寸为、 A1 、A2 、210×297。
A32 、机械制图当中常用的线型有寸线,尺寸界线采用细实线3 、机械制图当中的汉字应写成*4 、图样中的尺寸以㎜粗实线、细实线、线,轴线,中心线采用长仿宋体。
为单位。
虚线等,可见轮廓线采用粗实线,尺细点画线。
5 、在标注直径时,在数字前面应该加φ6 、尺寸标注由尺寸界线、尺寸线,在标注半径时应在数字前加R 。
和尺寸数字组成。
7 、在标注角度尺寸时,数字应水平书写。
★8、机械制图中通常采用两种线宽,粗、细线的比率为 2 :1 。
9 、线性尺寸数字一般应注写在尺寸线的上方或左方。
★10、平面图形中所注尺寸按作用分为定形尺寸和定位尺寸。
二、选择题1 、下列符号中表示强制国家标准的是( C )。
A .GB/TB .GB/Z C.GB2 、不可见轮廓线采用( B )来绘制。
A .粗实线B .虚线 C.细实线3 、下列比例当中表示放大比例的是( B )A.1:1B.2:1 C.1:24 、在标注球的直径时应在尺寸数字前加( C )A .RB .Φ C.SΦ4 、下列比例当中表示缩小比例的是( C )A.1:1B.2:1 C.1:25 、机械制图中一般不标注单位,默认单位是( A )A .㎜B .㎝ C.m6 、下列尺寸正确标注的图形是( C )7 、下列缩写词中表示均布的意思的是( C )A .SRB .EQS C.C8 、角度尺寸在标注时,文字一律( A )书写A .水平B .垂直 C.倾斜9 、标题栏一般位于图纸的( A )A.右下角B.左下角 C.右上角《机械制图》课程试题库WORD格式整理第二章正投影作图基础一、填空题1 、工程上常采用的投影法是中心投影法和平行投影法法,其中平行投影法按投射线与投影面是否垂直又分为正投影法和斜投影法。
《机械制图》课程试题库(中专)第一章制图基本知识与技能一、填空题1、机械制图当中基本图幅有哪五种A0、A1、A2、A3A4其中A4图纸幅的尺寸为210×297。
2、机械制图当中常用的线型有粗实线、细实线、虚线等,可见轮廓线采用粗实线,尺寸线,尺寸界线采用细实线线,轴线,中心线采用细点画线。
3、机械制图当中的汉字应写成长仿宋体。
*4、图样中的尺寸以㎜为单位。
5、在标注直径时,在数字前面应该加φ,在标注半径时应在数字前加R。
6、尺寸标注由尺寸界线、尺寸线和尺寸数字组成。
7、在标注角度尺寸时,数字应水平书写。
★8、机械制图中通常采用两种线宽,粗、细线的比率为2:1。
9、线性尺寸数字一般应注写在尺寸线的上方或左方。
★10、平面图形中所注尺寸按作用分为定形尺寸和定位尺寸。
二、选择题1、下列符号中表示强制国家标准的是(C)。
A.B.2、不可见轮廓线采用(B)来绘制。
A.粗实线B.虚线 C.细实线3、下列比例当中表示放大比例的是(B)A.1:1B.2:1 C.1:24、在标注球的直径时应在尺寸数字前加(C)A.R B.ΦΦ4、下列比例当中表示缩小比例的是(C)A.1:1B.2:1 C.1:25、机械制图中一般不标注单位,默认单位是(A)A.㎜B.㎝6、下列尺寸正确标注的图形是(C)7、下列缩写词中表示均布的意思的是(C)A.B.8、角度尺寸在标注时,文字一律(A)书写A.水平B.垂直 C.倾斜9、标题栏一般位于图纸的(A)A.右下角B.左下角 C.右上角三、判断题1、国家制图标准规定,图纸大小可以随意确定(×)2、比例是指图样与实物相应要素的线性尺寸之比。
(×)3、2:1是缩小比例。
(×)4、绘制机械图样时,尽量采用1:1的比例(√)5、使用圆规画图时,应尽量使钢针和铅笔芯垂直于纸面。
(√)6、丁字尺与三角板随意配合,便可画出65度的倾斜线。
(×)7、国家制图标准规定,可见的轮廓线用虚线绘制。