接触网承导线更换施工流程
- 格式:doc
- 大小:54.00 KB
- 文档页数:5
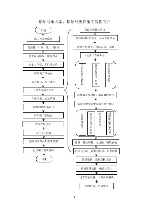
接触网承力索、接触线更换施工流程简介顺序一、施工方案交底会二、提报施工计划三、提报施工日计划四、现场勘察、撒料作业五、制定工作票、各组派工单六、参加施工预备会七、天窗前施工登记、座台要令等准备工作八、天窗时间内放线施工九、作业结束,施工销记十、天窗结束后安排观察列车通过情况十一、天窗结束后参加施工总结会十二、夜巡安排十三、安排施工后专项巡视十四、整理并安排处理施工中的缺陷十五、施工完成情况天窗时间内放线施工(一)作业流程(二)作业说明1、驻站要令人员接收线路封锁命令并下达至工作领导人,联控轨道车出站;2、驻站要令人员,向电调申请、接收停电作业命令,并下达至工作领导人;3、工作领导人接到封锁命令后,向各个作业小组下达进入封锁区间进行准备作业命令(严禁上杆作业)。
接到停电作业命令后,向各个作业小组下达开工作业命令;4、新承力索和接触线完成穿线并固定好后,作业车开始展放和架设新线索;其它各组同时将既有定位装置、吊弦拆除;中锚组将既有承力索中锚拆除、安装新中锚;5、新线展放到位后进行落锚,对新承力索、接触线依次加张力紧线;6、线索张力弛度到位后固定新承力索及承力索中锚;7、固定好承力索中锚后,各组开始正接触线线面,将新承力索入槽,安装新吊弦、定位装置和新接触线中锚;新线依次与补偿连接;8、进行数据测量、悬挂调整,进行电连接、跳线安装;9、拆除既有承力索、接触线,回收旧料;10、重新测量数据及调整悬挂装置;11、统计调整后的测量数据,找现场配合人员及施工监理检查并签字确认;12、检查线索设备无异常,人员机具全部撤离作业场地;施工单位、配合单位和工程监理共同确认设备到达开通条件后,准许工作领导人通知拆除地线,消除停电作业命令和封锁命令。
(三)注意事项及安装标准1、既有线索张力卸载利用两组大绳和滑轮、钢丝套子将既有线索的张力卸载;滑轮安装在支柱顶部,紧线器连接大绳和既有线索,再将大绳在支柱底部扪住。
此时可以进行更换补偿或者将补偿装置与新的线索连接。
襄渝铁路胡家营至达州段牵引供电扩能改造工程旬阳至安康段、花楼坝至达州段扩能改造工程承力索与接触线更换专项施工方案文件编号: ZTWJ襄渝施案2014—02编制:日期:年月日复核: 日期: 年月日审批:日期:年月日中铁五局(集团)电务工程有限公司襄渝接触网改造工程项目部目录一、编制依据: (1)二、各种锚段类型的划分 (1)2.1区间锚段 (1)2.2车站锚段 (1)三、人力和机具保障 (2)四、举例说明区间各类锚段承力索与接触线的更换方案 (2)4。
1花达段蒲家至双龙区间3锚段承力索与接触线更换方案: (2)4.2花达段石柱槽至蒲家区间1锚段接触线更换方案(含承力索下锚锚臂、中锚锚臂更换方案) (4)4.3花达段蒲家至双龙区间2锚段承力索更换方案 (7)4.4花达段宣汉至石柱槽区间8锚段接触线更换方案 (7)五、举例说明车站各类锚段承力索与接触线的更换方案 (8)5.1旬安段吕河车站4锚段接触线更换方案 (8)5。
2旬安段吕河车站渡1锚段接触线更换方案 (9)5。
3旬安段吕河车站II锚段接触线更换方案 (10)六、安全保障措施 (11)承力索与接触线更换专项施工方案一、编制依据:1.1旬安、花达段接触网施工设计图;1.2铁路电力牵引供电施工质量验收标准;1.3铁路技术管理规程;1.4西铁局相关安全管理规定;1.5施工天窗时间按120分钟考虑;1。
6施工现场实际调查与测量。
二、各种锚段类型的划分2。
1区间锚段2.1.1区间起锚、落锚柱为砼柱或钢柱的锚段;2.1。
2区间锚段中锚在隧道内的锚段;2。
1.3区间起锚、落锚为隧道或隧道门墙下锚的锚段;2。
1。
4区间经历器件式分相的锚段。
2.2车站锚段2.2。
1车站站线经历上下行渡线(卡设分段绝缘器)下锚的锚段;2.2。
2车站上下行单独渡线(卡设分段绝缘器)锚段;2.2。
3车站正线(两端经历线岔)锚段.三、人力和机具保障3.1人力保障:每个作业队配备作业队长一名,技术负责人一名,领工员一名,驻站联络员一名,现场接地防护员二名,上部作业小组长十名,上部熟练接触网工五十名以上。
浅谈既有电气化铁路接触网承导线换线施工摘要:本文分析了既有电气化铁路接触网施工中,承导线换线施工的特点,容易出现的问题,并制定了解决对策。
论证了接触网承导线换线施工的方法,重点对如何缩短封锁时间及天窗使用次数,减少对铁路运输的干扰进行了全面的分析,提出了如何在保证接触网关键部位参数不变的前提下,提高既有线电气化铁路接触网承导线换线施工效率。
关键词:既有电气化铁路接触网承导线换线施工一、问题的提出随着我国经济的快速发展,对铁路安全运输能力的要求越来越高,接触网在电气化铁道中起到了十分重要的作用,特别是一些单线电气化铁路,一旦接触网出现问题,将直接影响运输。
许多繁忙线路上的电气化设备已运行多年,接触网线索磨损严重,这就使既有电气化铁路接触网承导线换线改造的项目日益增多,换线问题亟待解决。
比如大准(大同至准格尔)单线电气化铁路,运输量大,对接触网安全性能要求高,线索磨损速度快。
由于既有运营线的天窗点少且时间较短,如何在有限的天窗时间内,在保证接触网拉出值、导高、结构高度、锚段关节等关键部位调整技术参数保持不变的前提下提高换线施工的效率成为我们要解决的关键问题。
二、既有电气化铁路接触网承导线换线施工要求1、有限的天窗封锁时间及天窗使用次数,减少天窗点内施工工作量,缩短天窗点使用时间,减小对既有电气化铁路运输的干扰,减少对既有设备的影响,保证设备稳定及行车安全。
2、机械设备和施工工艺简单,便于操作,实用性强。
3、降低人员、机具使用,减少施工成本,支持结构及定位安装方式不变,拉出值、导高、结构高度、锚段关节等项调整技术参数保持不变。
三、施工工艺原理采用“承导线同步架设”,科学安排施工工序和人力,机具,做到起锚,穿线及下锚互不影响且互相支援。
精密安排,防止现场作业人员因任务分配不合理出现窝工现象,同时避免反复作业导致的返工现象,进而减少人员使用及机械使用,保证天窗时间正点消令。
四、既有电气化铁路接触网承导线换线施工方法4.1施工工艺流程4.2 施工工艺操作要点4.2.1施工准备1、检查所更换锚段范围内腕臂是否符合温度变化的偏移值,确认承力索进行归位固定,确认补偿装置安装是否正确。
接触网承力索、接触线更换施工流程简介顺序一、施工方案交底会二、提报施工计划三、提报施工日计划四、现场勘察、撒料作业五、制定工作票、各组派工单六、参加施工预备会七、天窗前施工登记、座台要令等准备工作八、天窗时间内放线施工九、作业结束,施工销记十、天窗结束后安排观察列车通过情况十一、天窗结束后参加施工总结会十二、夜巡安排十三、安排施工后专项巡视十四、整理并安排处理施工中的缺陷十五、施工完成情况天窗时间内放线施工(一)作业流程(二)作业说明1、驻站要令人员接收线路封锁命令并下达至工作领导人,联控轨道车出站;2、驻站要令人员,向电调申请、接收停电作业命令,并下达至工作领导人;3、工作领导人接到封锁命令后,向各个作业小组下达进入封锁区间进行准备作业命令(严禁上杆作业)。
接到停电作业命令后,向各个作业小组下达开工作业命令;4、新承力索和接触线完成穿线并固定好后,作业车开始展放和架设新线索;其它各组同时将既有定位装置、吊弦拆除;中锚组将既有承力索中锚拆除、安装新中锚;5、新线展放到位后进行落锚,对新承力索、接触线依次加张力紧线;6、线索张力弛度到位后固定新承力索及承力索中锚;7、固定好承力索中锚后,各组开始正接触线线面,将新承力索入槽,安装新吊弦、定位装置和新接触线中锚;新线依次与补偿连接;8、进行数据测量、悬挂调整,进行电连接、跳线安装;9、拆除既有承力索、接触线,回收旧料;10、重新测量数据及调整悬挂装置;11、统计调整后的测量数据,找现场配合人员及施工监理检查并签字确认;12、检查线索设备无异常,人员机具全部撤离作业场地;施工单位、配合单位和工程监理共同确认设备到达开通条件后,准许工作领导人通知拆除地线,消除停电作业命令和封锁命令。
(三)注意事项及安装标准1、既有线索张力卸载利用两组大绳和滑轮、钢丝套子将既有线索的张力卸载;滑轮安装在支柱顶部,紧线器连接大绳和既有线索,再将大绳在支柱底部扪住。
此时可以进行更换补偿或者将补偿装置与新的线索连接。
接触网承力索、接触线更换施工流程简介顺序一、施工方案交底会二、提报施工计划三、提报施工日计划四、现场勘察、撒料作业五、制定工作票、各组派工单六、参加施工预备会七、天窗前施工登记、座台要令等准备工作八、天窗时间内放线施工九、作业结束,施工销记十、天窗结束后安排观察列车通过情况十一、天窗结束后参加施工总结会十二、夜巡安排十三、安排施工后专项巡视十四、整理并安排处理施工中的缺陷十五、施工完成情况天窗时间内放线施工(一)作业流程(二)作业说明1、驻站要令人员接收线路封锁命令并下达至工作领导人,联控轨道车出站;2、驻站要令人员,向电调申请、接收停电作业命令,并下达至工作领导人;3、工作领导人接到封锁命令后,向各个作业小组下达进入封锁区间进行准备作业命令(严禁上杆作业)。
接到停电作业命令后,向各个作业小组下达开工作业命令;4、新承力索和接触线完成穿线并固定好后,作业车开始展放和架设新线索;其它各组同时将既有定位装置、吊弦拆除;中锚组将既有承力索中锚拆除、安装新中锚;5、新线展放到位后进行落锚,对新承力索、接触线依次加张力紧线;6、线索张力弛度到位后固定新承力索及承力索中锚;7、固定好承力索中锚后,各组开始正接触线线面,将新承力索入槽,安装新吊弦、定位装置和新接触线中锚;新线依次与补偿连接;8、进行数据测量、悬挂调整,进行电连接、跳线安装;9、拆除既有承力索、接触线,回收旧料;10、重新测量数据及调整悬挂装置;11、统计调整后的测量数据,找现场配合人员及施工监理检查并签字确认;12、检查线索设备无异常,人员机具全部撤离作业场地;施工单位、配合单位和工程监理共同确认设备到达开通条件后,准许工作领导人通知拆除地线,消除停电作业命令和封锁命令。
(三)注意事项及安装标准1、既有线索张力卸载利用两组大绳和滑轮、钢丝套子将既有线索的张力卸载;滑轮安装在支柱顶部,紧线器连接大绳和既有线索,再将大绳在支柱底部扪住。
此时可以进行更换补偿或者将补偿装置与新的线索连接。
电气化铁路扩能改造工程接触网承导线更换在我国快速发展的铁路交通领域,电气化铁路已成为主流。
为了满足旅客和货物运输的需求,提高运输能力和效率,电气化铁路扩能改造工程扮演着重要的角色。
其中,接触网承导线更换是电气化铁路扩能改造工程中的一项关键任务。
本文将从接触网的作用、更换的原因、更换的工作流程以及其对电气化铁路的影响等方面进行探讨。
第一,接触网的作用。
接触网是电气化铁路的重要部分,它提供了电力供应给行驶过程中的电力机车和列车。
接触网通常由承力索、承导线、挂接装置等组成。
承导线作为接触网的核心部件,承载着整个接触网的重要功能,它与电力机车和列车之间建立起电能传输的桥梁,保证了列车正常运行。
第二,接触网承导线更换的原因。
随着电气化铁路负荷的增加和行车速度的提高,旧有的接触网设备可能无法满足现代化运营的要求。
承导线是电气化铁路的关键设备之一,其质量和性能直接影响着电气化铁路的运营效果。
因此,定期更换承导线成为确保电气化铁路安全、稳定运行的必要措施。
第三,接触网承导线更换的工作流程。
接触网承导线更换是一项复杂且耗时的工程。
首先,需要对旧有的承导线进行检测和评估,确定是否需要更换。
接着,制订详细的承导线更换方案,包括更换时间、更换区段、更换材料等。
然后,进行施工准备工作,如搭建临时架设、准备施工材料等。
最后,实施承导线更换工作,包括旧线的拆卸、新线的安装、线路的调整等。
在施工过程中,需要严格按照相关技术规范和安全标准进行操作,确保施工质量和工人的安全。
第四,接触网承导线更换对电气化铁路的影响。
接触网承导线更换工程可以提高电气化铁路的可靠性和运行效率。
新型的承导线通常具有更好的导线材料和结构设计,能够更好地适应高速运行和大负荷的需求。
此外,换装先进的承导线还可以减少接触网的故障率,提高电气化铁路的安全性和稳定性。
虽然接触网承导线更换是一项费时费力的工程,但是它对电气化铁路持续发展具有重要意义。
综上所述,接触网承导线更换是电气化铁路扩能改造工程中的重点任务之一。
低净空隧道内柔性接触网大修换线施工方案探讨介绍了轨道交通低净空隧道接触网结构及特点。
接触网大修换线流程及重点工序,以及在施工过程中的注意事项。
希望通过文章的分析,能够为相关人士提供一定的参考和借鉴。
标签:柔性接触网;结构特点;施工流程;注意事项引言低净空隧道内柔性接触网是一种结构简单、安全可靠、维修方便的供电方式,其运营维护技术成熟,并在国内上海、广州、南京、深圳地铁中均有广泛采用,但其大修换线工作复杂、作业量大、安全风险高、难度大。
鉴于此,文章探讨研究了一种新的大修换线的施工方案并以实例解说,便于同行参考借鉴。
1 低净空隧道内接触网的结构和特点低净空隧道内柔性接触网为简单直链型悬挂,主要有承力索(或双承力索)、双接触线、吊弦、支持装置、定位装置、电连接及下锚补偿装置等组成。
这种悬挂方式结构高度小,仅有235mm~270mm;承力索及接触线通过三角平衡板并联下锚。
2 柔性接触网大修换线(以深圳地铁科学馆至华强路更换承力索为例)2.1 施工流程为确保地铁正常、安全的营运,考虑到新架设承力索过程中,由于不可预知的干扰因素,可能出现既有腕臂承力过大,绝缘子断裂,影响列车正常运行。
为确保安全,拟在与既有腕臂相距0.5~1米范围内增加一组腕臂,临时悬挂新架设的承力索,待新线投运后及时拆除。
按如下三个阶段实施:第一阶段:放线前工作。
工作内容:测量、锚栓预埋及拉拔、支持装置安装及其接地跳线安装、补偿装置安装及其接地跳线安装和其它放线前准备工作。
第二阶段:承力索架设及临时处理。
工作内容:放线、倒鞍子、起(落)锚、临时电连接安装、中心锚结安装、绝缘包扎及复检。
第三阶段:倒线及旧承力索拆除。
工作内容:倒线、接触悬挂调整、倒锚及旧承力索拆除。
2.2 重点施工工序2.2.1 承力索架设施工区域为运营线路,接触网专业施工只能在晚上地铁停运后才能进行,作业时间控制至关重要,将直接影响放线工作的成败。
为此,施工前必须做到施工组织设计及施工技术方案编制合理、技术交底充分、作业人员施工工艺熟练和各接口专业配合良好。
襄渝铁路胡家营至达州段牵引供电扩能改造工程旬阳至安康段、花楼坝至达州段扩能改造工程承力索与接触线更换专项施工方案文件编号: ZTWJ襄渝施案2014-02编制:日期:年月日复核:日期:年月日审批:日期:年月日中铁五局(集团)电务工程有限公司襄渝接触网改造工程项目部目录一、编制依据: (1)二、各种锚段类型的划分 (1)2.1区间锚段 (1)2.2车站锚段 (1)三、人力和机具保障 (2)四、举例说明区间各类锚段承力索与接触线的更换方案 (2)4.1花达段蒲家至双龙区间3锚段承力索与接触线更换方案:(对应2.1.1条锚段类型) (2)4.2花达段石柱槽至蒲家区间1锚段接触线更换方案(含承力索下锚锚臂、中锚锚臂更换方案)(对应2.1.2、2.1.3条“隧道下锚、隧道中锚型”): (4)4.3花达段蒲家至双龙区间2锚段承力索更换方案(对应2.1.2条“承力索中锚在隧道内的锚段”): (7)4.4花达段宣汉至石柱槽区间8锚段接触线更换方案(对应2.1.4条“经历器件式分相型”。
): (8)五、举例说明车站各类锚段承力索与接触线的更换方案 (8)5.1旬安段吕河车站4锚段接触线更换方案(对应2.2.1条“车站站线经历渡线卡分段绝缘器”类型。
): (8)5.2旬安段吕河车站渡1锚段接触线更换方案(对应2.2.2条“车站单独渡线卡分段绝缘器”类型。
): (9)5.3旬安段吕河车站II锚段接触线更换方案(对应2.2.3条“车站正线两端经历线岔”类型。
): (10)六、安全保障措施 (11)承力索与接触线更换专项施工方案一、编制依据:1.1旬安、花达段接触网施工设计图;1.2铁路电力牵引供电施工质量验收标准;1.3铁路技术管理规程;1.4西铁局相关安全管理规定;1.5施工天窗时间按120分钟考虑;1.6施工现场实际调查与测量。
二、各种锚段类型的划分2.1区间锚段2.1.1区间起锚、落锚柱为砼柱或钢柱的锚段;2.1.2区间锚段中锚在隧道内的锚段;2.1.3区间起锚、落锚为隧道或隧道门墙下锚的锚段;2.1.4区间经历器件式分相的锚段。
电气化铁路扩能改造工程接触网承导线更换作者:廖建荣来源:《中国科技纵横》2017年第12期摘要:铁路的出现和发展方便了我国地区之间的经济、文化交流,促进了我国的国民经济发展。
同时,也由于国民经济的迅猛发展,市场和国家对铁路事业在速度、安全性上的发展提出了更高的要求。
本文将通过简述电气化铁路扩能改造工程接触网承导线更换的动力——中国铁路目前迅猛的发展状况,分析电气化铁路扩能改造工程中接触网的构成,再进一步解析在电气化铁路扩能改造工程更换接触网承导线施工方法及措施,最后再简单说明在施工后验收时需要注意的事项,旨在为电气化铁路扩能改造工程接触网承导线更换提供一些参考和借鉴。
关键词:更换接触网承导线;动力;构成;施工;验收注意事项中图分类号:F406.2 文献标识码:A 文章编号:1671-2064(2017)12-0119-01根据我们的经历与体验不难发现在现今的社会环境之下,我们与亲戚朋友的时间空间距离越来越小,能达到这样的效果,这其中有铁路建设发展的不少功劳。
铁路建设发展在近几年得到了迅猛的发展,不断完善相应的基础设施,更新改造,努力实现跨越式的发展。
1 动力——中国铁路目前迅猛的发展状况电气化铁路能得到不断的改进与发展,其主要的动力就是现今中国铁路的迅猛发展,表现在政策支持、技术支持以及需求上。
由于我国的地形地貌,铁路在沟通我国地区之间的交流起到了极其重要的作用,国家也十分注重我国的铁路建设。
在“十一五”以后,国家不断出台相关的措施政策,大力推动我国的铁路建设,提高我国的铁路电气化水平。
2 电气化铁路接触网的构成电气化铁路是指主要牵引动力是电力机车的铁路,而电气化铁路接触网则是指在铁路线上空架设的向电力机车供电的特殊形式的输电线路,它的主要构成部分是支柱与基础、支持装置、接触悬挂。
首先,支柱与基础是用来承载另外两部分的,在承受它们的负荷时还将接触悬挂部分固定在规定的高度和位置上。
其次,关于支持装置是由腕臂、定位装置、水平拉杆、悬式绝缘子串、棒式绝缘子、硬横跨、软横跨以及其他的特殊支持设备,它主要是用来支持接触悬挂,并且把它的重力传给支柱或者其他的承重物。
一施工准备开工初期,根据站前工程施工实际进度,结合建设单位总体施组方案编制接触网工程实施性施工组织设计,报监理工程师和建设单位审批.会同站前施工部门对轨道的线路中线桩、水准基点桩、岔心桩、曲线桩、轨道里程标等线路资料进行交底,按照交桩测量的有关要求安排现场复测,并做好测量记录。
对复测中出现的问题,主动联系有关单位处理.调查大型材料和机械设备的进场路线,并按规定办理相关手续.二施工测量1.施工定测依据设计提供的起测点或正线岔心及大型建筑物为测量起点,按照接触网平面图支柱跨距沿钢轨测量定位(曲线地段沿外轨测量),在轨腰上做出标记,并埋设副桩.接触网纵向测量采用钢尺人工拉链测量跨距,测量过程中如因桥涵、钢轨、避车台、跨越电力线等障碍物影响杆位时,合理调整跨距,调整后的跨距不得大于设计允许最大跨距。
高挡墙、护坡及特殊地质地段,测量时充分利用线路专业预留的接触网坑位,避免开挖时对站前已完工程形成损坏。
对沿线平行和横跨的高低压电力线路弱电通信线路等干扰情况做好详细记录.2。
交桩测量过中线测量找出每一支柱副桩相对于线路中心的横向位置,通过对水准测量数据的整理计算,计算出每一副桩的高程.最终计算出每一支柱相对于副桩的埋深、限界。
测量精度要求达到:跨距量误差1/2000。
中线测允许闭合差:在直线转点的左右方向偏差不大于置镜点长度的1/20000,最大不超过20mm;曲线横向闭合差:曲线长度500m以内为30mm,超过500m时不大于50mm.水准测量允许闭合差±30mm,其中L的取值单位为km,且前后置镜距离应相等,距离差不大于4m.三基坑开挖根据设计图确定坑的类型、限界、坑形和深度,坑口的线路侧加设防止道渣滑落的档板和铺设防污染的彩条布。
遇水沟需移时,需保证原有水沟截面和畅通,护坡培土、砌石达到新建铁路设计标准。
争取当日开挖、当日立杆,对当天立不上杆,有危及行车安全的基坑应回填,防止塌方影响行车。
基坑开挖多余弃土要装编织袋运走。
第1篇一、工程背景随着我国经济的快速发展,电力需求日益增长,输电线路作为电力传输的重要载体,其安全稳定运行对保障电力供应具有重要意义。
近年来,由于各种原因,部分输电线路导线老化、损坏等问题逐渐凸显,为确保输电线路的安全稳定运行,提高电力传输效率,需对部分导线进行更换。
本方案针对某输电线路更换导线工程进行详细规划。
二、工程概况1. 工程名称:某输电线路更换导线工程2. 工程地点:某省某市某县3. 工程规模:更换导线总长度约XX公里4. 工程内容:更换导线、杆塔加固、接地系统改造、通信设施维护等5. 工程工期:XX个月三、施工方案1. 施工准备(1)组织机构:成立工程指挥部,下设施工、技术、安全、质量、物资等小组,明确各部门职责。
(2)人员培训:对施工人员进行技术培训和安全教育,提高施工人员素质。
(3)施工材料:提前采购所需导线、杆塔、金具、接地材料等,确保材料质量。
(4)施工机械:租赁或购买施工车辆、吊车、切割机、紧线机等施工机械。
2. 施工工艺(1)导线更换:按照设计要求,采用以下步骤进行导线更换:1)拆除旧导线:使用切割机将旧导线切断,然后用吊车将旧导线吊离杆塔。
2)安装新导线:将新导线通过紧线机拉至杆塔位置,按照设计要求进行绑扎。
3)验收:检查新导线安装质量,确保导线连接牢固、无松弛现象。
(2)杆塔加固:对损坏或腐蚀严重的杆塔进行加固处理,包括:1)检查杆塔基础:对杆塔基础进行加固,确保基础稳定。
2)更换杆塔:对损坏严重的杆塔进行更换,确保杆塔强度。
3)涂装:对加固后的杆塔进行涂装,提高耐腐蚀性能。
(3)接地系统改造:对接地系统进行改造,包括:1)检查接地电阻:使用接地电阻测试仪检测接地电阻,确保接地电阻符合设计要求。
2)更换接地材料:对老化、损坏的接地材料进行更换。
3)接地施工:按照设计要求进行接地施工,确保接地系统可靠。
(4)通信设施维护:对通信设施进行维护,确保通信畅通。
3. 施工进度安排(1)前期准备阶段(1个月):完成施工组织、人员培训、材料采购等工作。
铁路供电接触网更换电连接作业方案及流程下载温馨提示:该文档是我店铺精心编制而成,希望大家下载以后,能够帮助大家解决实际的问题。
文档下载后可定制随意修改,请根据实际需要进行相应的调整和使用,谢谢!并且,本店铺为大家提供各种各样类型的实用资料,如教育随笔、日记赏析、句子摘抄、古诗大全、经典美文、话题作文、工作总结、词语解析、文案摘录、其他资料等等,如想了解不同资料格式和写法,敬请关注!Download tips: This document is carefully compiled by theeditor.I hope that after you download them,they can help yousolve practical problems. The document can be customized andmodified after downloading,please adjust and use it according toactual needs, thank you!In addition, our shop provides you with various types ofpractical materials,such as educational essays, diaryappreciation,sentence excerpts,ancient poems,classic articles,topic composition,work summary,word parsing,copy excerpts,other materials and so on,want to know different data formats andwriting methods,please pay attention!铁路供电接触网更换电连接作业方案与流程详解铁路供电接触网是铁路运输系统的重要组成部分,其稳定运行对于保障列车安全、高效运行至关重要。
一、接触网局部更换承导线一、编制依据1、《铁路电力牵引供电验收标准》TB10421-20032、铁四院《襄阳机务段标准化整备场改造接触网平面布置图》3、现场调查的相关资料及我公司现有的机械设备、技术实力、施工能力和从事类似工程施工实践过程中积累的施工经验二、工程概况电气化施工内容为:承、导线更换0.6条公里,混凝土支柱组立6根,拆除5根;钢柱组立2根,;软横跨安装1处、分段绝缘器9处,隔离开关6处等。
三、施工方案图一局部更换承导线示意图1、2、3、4—紧线器;A、B—手扳葫芦;5—旧接触线(需要更换地段旧接触线);6—新接触线;7—新、旧接触线接头;C—旧接触线断开点2、施工步奏1、利用接触网作业车在旧接触线上合适位臵(局部更换的第一端)打紧两个紧线器1、2,并挂手搬葫芦A紧线,紧手搬葫芦A至两紧线器间的旧接触线松弛后,在该处将旧接触线断开后(图中C点)将旧接触线一端头整平,做好新旧接触线的第一个接头7。
2、梯车摸着新接触线线面,缓缓移动至需另做接头处位臵(局部更换的第二端),在新接触线安装紧线器3,在旧接触线上安装紧线器4,利用手扳葫芦B将新旧线相连。
3、紧手扳葫芦B直至新接触线完全受力,旧线完全松驰后,松手扳葫芦A,在需做第二个接头的合适位臵切断该处的旧接触线,并将手扳葫芦A、旧线以及紧线器1、2拆除,做好新旧接触线的第二个接头。
4、两个接头均做好后,松手扳葫芦B使新接触线完全受力,检查所制作接头的状态,确认受力良好后拆除紧线器及手扳葫芦。
5、撤除旧接触线上的吊弦和定位,将旧接触线放至地面,将吊弦及定位安装在新接触线上。
6、接触线夹状态检查。
7、导线外观检查。
8、承力索更换同上。
五、安全要求1、人员机具必须保证规定的安全距离,不得进入邻线,不得影响相邻轨道电路。
2、两部车梯同时作业时,要加强联系,相互配合。
3、高空作业人员作业时要认真分析接触线受力方向,避免线索弹回伤人。
4、作业时禁止作业人员踩踏接触线和定位器,禁止作业平台碰挂接触线。
83中国设备工程Engineer ing hina C P l ant中国设备工程 2018.03 (上)我国铁路的行车方式是昼夜不断,因此电气化铁路接触网承导线的更换只能在停电天窗进行。
而停电天窗时间短,同时又与相关专业多有交叉和干扰,而且施工的程序复杂,外部环境多变,使得接触网承导线更换的具体施工作业难度之大将比新线电化施工还要高出许多。
另外,对于接触网承导线的更换目前既没有国外经验可以借鉴,国内也没有多少可以依照的标准。
本文主要介绍了接触网的结构,并对接触网承导线施工过渡工程进行了分析,进一步根据目前国内铁路的运营情况,组织接触网过渡施工,探讨研究了电气化铁路扩能改造中接触网承导线的更换过程及验收过程中的注意事项。
1 电气化铁路接触网研究背景电气化铁路的主要牵引动力为电力机车,接触网作为电气化铁路的重要组成部份,是一种特殊的输电线路,其架设在铁路线路的上方,主要用于向电力机车输送电能。
主要是由支柱与基础、支持装置和接触悬挂三个部分构成的。
其中支柱与基础需要承受支持装置和接触悬挂两个部分的负荷,同时还要保证将接触悬挂部分固定在规定的位置和高度上,主要对接触悬挂起到承载的作用。
支持装置包含了大量的支持设备,有腕臂、水平拉杆、定位装置、悬式绝缘子串以及棒式绝缘子、软横跨、硬横跨等等,其主要作用是将接触悬挂部分的受力传递给支柱和基础部分,同时又对接触悬挂起到支撑作用。
接触悬挂部分是由牵引变电所输送过来的电能,然后再输送给电力机车,其主要部件有接触线、承力索、电连接和吊弦等等。
本文在充分的了解电气化铁路接触网结构组成及其作用的基础上,主要研究了在运营中的电气化铁路扩能改造中更换接触网承导线的措施和验收注意事项。
2 电气化铁路扩能改造中更换接触网承导线的措施和验收注意事项2.1 电气化铁路扩能改造中更换接触网承导线的预案电气化铁路扩能改造中更换接触网承导线的预案主要包括两个方面:普速铁路和高速铁路。
(1)既有普速铁路线路接触网承导线改造预案。
接触网承力索、接触线更换施工流程简介
顺序
一、施工方案交底会
二、提报施工计划
三、提报施工日计划
四、现场勘察、撒料作业
五、制定工作票、各组派工单
六、参加施工预备会
七、天窗前施工登记、座台要令等准备工作
八、天窗时间内放线施工
九、作业结束,施工销记
十、天窗结束后安排观察列车通过情况
十一、天窗结束后参加施工总结会
十二、夜巡安排
十三、安排施工后专项巡视
十四、整理并安排处理施工中的缺陷
十五、施工完成情况
天窗时间内放线施工
(一)作业流程
(二)作业说明
1、驻站要令人员接收线路封锁命令并下达至工作领导人,联控轨道车出站;
2、驻站要令人员,向电调申请、接收停电作业命令,并下达至工作领导人;
3、工作领导人接到封锁命令后,向各个作业小组下达进入封锁区间进行准备作业命令(严禁上杆作业)。
接到停电作业命令后,向各个作业小组下达开工作业命令;
4、新承力索和接触线完成穿线并固定好后,作业车开始展放和架设新线索;其它各组同时将既有定位装置、吊弦拆除;中锚组将既有承力索中锚拆除、安装新中锚;
5、新线展放到位后进行落锚,对新承力索、接触线依次加张力紧线;
6、线索张力弛度到位后固定新承力索及承力索中锚;
7、固定好承力索中锚后,各组开始正接触线线面,将新承力索入槽,安装新吊弦、定位装置和新接触线中锚;新线依次与补偿连接;
8、进行数据测量、悬挂调整,进行电连接、跳线安装;
9、拆除既有承力索、接触线,回收旧料;
10、重新测量数据及调整悬挂装置;
11、统计调整后的测量数据,找现场配合人员及施工监理检查并签字确认;
12、检查线索设备无异常,人员机具全部撤离作业场地;施工单位、配合单位和工程监理共同确认设备到达开通条件后,准许工作领导人通知拆除地线,消除停电作业命令和封锁命令。
(三)注意事项及安装标准
1、既有线索张力卸载
利用两组大绳和滑轮、钢丝套子将既有线索的张力卸载;滑轮安装在支柱顶部,紧线器连接大绳和既有线索,再将大绳在支柱底部扪住。
此时可以进行更换补偿或者将补偿装置与新的线索连接。
张力卸载时要注意:严防滑脱,施工人员应该对紧线器状态进行检查。
2、倒锚作业方法
倒锚作业是拆除既有拉线及补偿并安装新补偿装置。
当既有线索张力卸载完成后进行倒锚作业,起锚人员及时拆除既有拉线及补偿装置,并安装新拉线及补偿装置。
倒锚时注意:拉线的更换需要新拉线紧上力之后再进行拆除既有拉线,先更换承力索的拉线再更换接触线的拉线。
最后注意新补偿装置的地线制作、滑轮间距、坠落b值以及滑轮、坠砣偏磨情况。
3、起锚时扪线
放线组穿好新承力索和接触线后,需要将新线索利用滑轮组扪在钢轨上,扪好线索后方可进行放线作业。
将新线索利用紧线器通过大绳扪在钢轨上或者直接用紧线器和钢丝套子将新线索扪在钢轨上,一般固定在转换柱和锚柱的跨中位置。
扪线时需要注意:严防线索滑脱,新线不能连轨。
4、线索展放
承导架设过程中作业车应匀速前进,保证张力均匀,车速不超过5公里/小时。
作业车操作人员应该熟悉作业流程,配合流畅。
在定位处停车将新承力索通过滑轮和S钩固定在平腕臂下方,将新接触线通过滑轮和S 钩挂在旧接触线下方,向落锚处进行放线;在跨中挂滑轮时注意不要让新接触线和承力索位置颠倒交叉。
放线途中发现挂接触线的滑轮掉落较多时,及时通知施工负责人进行加挂处理,严防接触线脱线落地。
5、落锚
人工通过滑轮组拉紧新承力索,起落锚处既有承力索张力逐渐减小,当起锚处承力索下锚坠砣有上升趋势时,观察承力索弛度,符合要求,完成新线张力加载。
制作新线下锚回头,连接新线终端锚固线夹与绝缘子。
新承力索张力加载完成后可以按上述操作进行新接触线张力加载,当起锚处接触线下锚坠砣有上升趋势时,观察跨中接触线弛度变化,在接触线高度满足运营的条件下,完成新线张力加载。
制作新线下锚回头,连接新线终端锚固线夹与绝缘子。
线索加张时注意:补偿装置的滑轮间距;制作终端回头要保证下锚处承力索和接触线的绝缘子对齐。
作业结束,施工销记,天窗结束后安排观察列车通过情况,天窗结束后参加施工总结会并安排夜巡。
整理并安排处理施工中的缺陷
将施工中及巡视时候发现的问题录入缺陷统计表;施工单位和配合单位各保存一份统计表,在施工预备会、总结会中要求施工单位整改缺陷;将整改过的缺陷及时记录并更新缺陷统计表。