手术室应急预案处理流程图
- 格式:docx
- 大小:55.92 KB
- 文档页数:22
手术室应急预案及流程目录表1.急诊手术绿色通道 (2)2.紧急抢救手术实施方案 (3)3.手术室一般停电应急流程 (4)4.手术室突然停电应急流程 (5)5.手术室停水的的应急预案 (6)6.手术室泛水的应急预案 (7)7.手术室发生火灾的应急预案 (8)8.手术室中心供氧突然停止的应预案 (14)9.手术室中心吸引突然停止的应急预案 (15)10.大批量伤员手术病人的应急预案 (16)11.术中呕吐物误吸的应急预案 (17)12.术中物品清点数目不全或物件残缺时的应急预案 (18)13.术中发生输液、输血反应应急预案 (19)14.患者术中大出血、低血容量性休克的应急预案 (20)15.手术患者心跳呼吸骤停的护理应急预案 (22)16.手术患者药物过敏性休克应急预案 (24)17.电灼伤患者的应急预案 (26)18.手术患者坠床的应急预案 (27)19.发生标本遗失的应急预案 (28)20.气管导管滑脱应急预案 (29)21.各类管道脱出的预防及应急预案 (30)一、急诊手术绿色通道白天常规留出一间手术间应对急诊。
当所有手术间满的情况下,原则上遵循急诊手术优先,手术科室择期手术让台的原则。
有生命威胁的手术遵循先结束的择期手术先让台的原则。
非急诊手术不能当急诊手术开展。
(一)手术间:常规安排一间急诊手术间以应对急手术。
(二)时间;1.急诊手术间空余的情况下,一般要求通知后30分钟内安排急诊手术,亚急诊手术情况除外。
2.急诊手术间没有空余的情况下,尽快协调安排其他手术间。
3.危及生命的急诊手术立即协调安排。
(三)安排原则1.急诊手术安排在急诊手术间进行。
2.二台或二台以上急诊的情况下,由手术和麻醉医生共同评估病人,危及生命的病人优先安排。
3.急诊手术间没有空余的情况下,急诊手术遵循手术病人所在科的手术科室让台。
病情危急的急诊手术,先结束的择期手术让台的原则。
4.产科的急手术;手术室的手术间已满,产妇的产程急不能等待的情况下,手术室人员备手术器械包到产房进行手术。
手术患者发生呼吸、心跳骤停的处理流程
手术患者药物引起过敏性休克的处理流程
手术室药物不良反应的处理流程
手术患者用药错误的处理流程
、
手术患者输液反应的处理流程
手术患者输血反应的处理流程
术中发生物品清点误差的处理流程
手术标本管理流程
手术患者手术中大出血时的处理流程
手术室中心负压吸引装置出现故障的处理流程
精品文档手术室中心吸氧装置出现故障的处理流程
精品文档术中仪器设备突发故障处理流程
、
术中医护人员发生针刺伤时的处理流程
批量伤员处理流程
手术患者发生坠床的处理流程
手术患者导管异常脱落的处理流程
手术中停电或突然停电的处理流程
泛水应急预案及处理流程
精品文档手术室火灾的处理流程
精品文档。
手术室的应急预案xx年xx月xx日•手术室常见紧急情况•应对措施•手术室紧急情况的预防•手术室紧急情况的急救流程目•手术室紧急情况的处理规范录01手术室常见紧急情况总结词紧急抢救、恢复呼吸详细描述立即进行CPR(心肺复苏术)和气管插管,给予高流量吸氧或机械通气,同时准备急救药品和设备呼吸骤停总结词快速止血、输血详细描述立即采用各种止血方法,如加压包扎、止血钳等,同时迅速输血,补充血容量,预防休克严重出血总结词纠正心律失常、稳定生命体征详细描述根据心律失常类型选择相应的药物治疗,同时给予吸氧、心电监护等措施,直至患者生命体征平稳心律失常总结词立即停药、抗过敏治疗详细描述立即停用过敏药物,给予抗过敏药物如地塞米松、肾上腺素等治疗,同时给予吸氧、心电监护等措施急性过敏反应02应对措施呼吸骤停的应对措施根据患者情况判断呼吸骤停的原因,如异物阻塞、麻醉并发症等。
判断原因保持呼吸道通畅给予氧气启动急救流程立即清理呼吸道,放置口咽通气道或鼻咽通气道。
给予高浓度氧气或纯氧吸入,提高患者血氧饱和度。
立即启动急救流程,进行心肺复苏和紧急气管插管。
严重出血的应对措施迅速判断出血部位,明确手术切口、血管损伤或其他部位出血。
判断出血部位在手术野放大镜或显微镜下,迅速止血,结扎血管。
控制出血根据出血量,迅速补充血容量,维持循环稳定。
补充血容量启动紧急输血流程,根据患者情况配血,尽快输注浓缩红细胞和血浆。
启动紧急输血流程迅速判断心律失常的类型,如室性期前收缩、室上性心动过速等。
判断心律失常类型根据心律失常类型选择相应的药物治疗,如利多卡因、胺碘酮等。
药物治疗对于药物无法控制的心律失常,可采用电复律,迅速纠正心律失常。
电复律在手术前和手术过程中采取预防措施,如给予电解质平衡、减少应激等。
预防措施心律失常的应对措施急性过敏反应的应对措施立即停止使用过敏原立即停止使用过敏原,并撤出手术室。
判断过敏原迅速判断过敏原,如某种药物、某种食物等。
手术室应对突发事件、批量伤员应急预案及处理流程一、前言手术室是医院内最重要的工作场所之一,面临突发事件和批量伤员时,需要建立应急预案和处理流程,以保障患者和医护人员的安全,有效应对各种灾难情况。
二、突发事件应急预案1. 火灾•手术室内应设置灭火器、消防水带等灭火器材,并进行定期检查和维护。
•出现火灾时,立即通知相关人员,确保手术室内所有患者和医护人员安全撤离。
•关闭手术室内所有设备,并在安全距离外进行扑救,同时通知消防部门和医院领导。
2. 电力故障•定期检查手术室电气设备及电缆线路,确保安全可靠。
•出现电力故障时,立即切换备用电源,保证手术室内设备正常运转,确保患者手术安全进行。
3. 气体泄漏•定期检查手术室内氧气、氧化亚氮等气体管道和接头,防止泄漏发生。
•出现气体泄漏时,立即关闭气源,通风并进行紧急排气处理,确保手术室内空气清洁。
三、批量伤员应急预案1. 外伤事故•当医院接收到批量外伤患者时,手术室应立即启动多学科会诊制度,组织骨科、神经外科等相关医护人员进行全面评估和救治。
•根据患者伤情,优先进行分级手术安排,确保优先救治危重伤员。
2. 突发传染病•当医院发生突发传染病疫情时,手术室应建立传染病隔离手术流程,配备相关防护物品,确保医护人员和其他患者不受感染。
•对于已感染的患者,应安排隔离治疗,并做好与其他患者的隔离措施。
四、应急处理流程1. 事件发生•一旦发生突发事件或接收批量伤员,手术室应立即启动应急预案,通知相关人员和部门领导,并组织急救小组进行现场处置。
2. 信息通报•及时向医院领导和其他科室通报处理情况,协调资源和支援。
3. 处理措施•根据事件情况,迅速制定应对措施,配合其他科室的救治工作,确保患者得到及时救治。
4. 事后总结•事件结束后,手术室应召开应急演练总结会议,对事件处置情况进行总结和评估,不断完善应急预案和处理流程。
五、结语手术室作为医院内最重要的治疗场所之一,应急预案和处理流程的建立对于保障患者和医护人员的安全至关重要。
一.建立手术室、麻醉科火灾现场应急指挥小组:总指挥为手术室护士长、麻醉科主任,成员包括麻醉医生、手术医生、护士、工勤人员等,将人员分为通信联络组、灭火行动组、引导疏散组、后勤保障组四个组。
二.手术室内消防设施:(一)干粉灭火器、二氧化碳灭火器:一提、二拉、三对准、四按压(二)消火栓:一报警、二连接、三开水、四灭火(三)手动报警装置;(五)消防通道; (四)烟雾探测器及喷淋装置 (六)消防广播三、任何时候在手术室发生火灾,应遵循R.A.C.E 原则1、救援 (Rescue):组织病人及时离开火灾现场;对于手术病人,应采用抬、背、抱、平车等方式转移。
关闭设备电源开关,搬离设备,按贵重设备先转运的方法按序搬运。
2、报警(Alarm):利用就近电话或者消防手动报警装置按钮,及时拨打“119”火警和单位电话“3119”(消防值班室),报明起火部门、详细地址、火势大小、燃烧物质、有无被困人员、报警人姓名及电话。
尽快通知临近科室或者部门关上门窗、熟悉灭火计划和随时准备接收病人;与此同时向保卫处、科室护士长和行政总值班汇报,并派人在路口接应或者引导消防车进入火场。
3、限制(Confine):关上门窗,防止火势蔓延,关闭氧气,空气净化总开关,住手使用吸入性麻醉气体。
4、灭火或者疏散(Evacuate):如果火势不大,用灭火器进行灭火;如果火势太猛,按疏散计划,及时让病人和其他人员撤离现场。
疏散方法:水平疏散:将病人转移到同一层面其他安全地方;垂直疏散:将病人安置在起火楼层的三个层次以下;向外疏散:将病人转移到病房楼外。
四、发生消防紧急状况时成员分工:(一)日间:人员分组:总指挥手术室护士长、麻醉科主任,保卫部门工作人员到达后,现场指挥权交由保卫部;公安、消防部门工作人员到达后,所有人员均服从公安、消防部门的指挥。
1、通信联络组:首先发现火源的工作人员,护士长,前台工作人员。
2、灭火行动组:当时听急诊手术的所有麻醉、护理人员、巡回护士,医生助手,麻醉助手。
安全操作流程手术患者安全流程一、手术患者入手术室交接流程二、急症手术患者接入手术室流程三、术后患者返回病区或ICU交接流程四、手术体位安置原则及流程体位安置由手术医师、麻醉医师、巡回护士共同完成。
安置体位前核对手术患者信息及手术体位;移动患者时动作协调一致,避免拖、拉、拽;注意保暖、保护患者隐私,避免不必要的暴露;妥善固定各种管路;根据患者手术时间、受压部位、皮肤情况采取防护措施;术中对患者的受压部位进行适当护理,缩短局部受压时间;手术结束后,巡回护士与复苏室人员或病房护士进行交接并检查皮肤情况。
水平仰卧适用胸、腹部、下肢等手术。
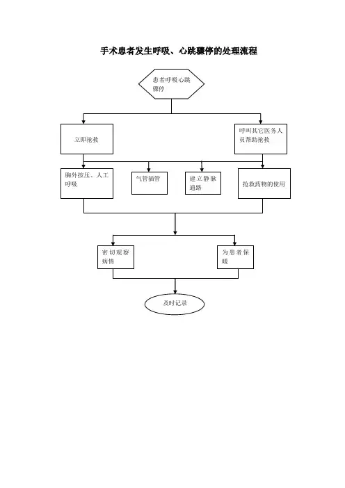
仰卧位安置流程:五、手术患者体温保护流程体温低于36℃六、术中输血流程医护人员工作流程一、洁净手术室日常管理流程二、外科手消毒流程四、建立无菌手术器械台操作流程五、医务人员职业暴露处理流程物品管理流程一、高值耗材物管理流程二、仪器设备管理流程手术室突发事件应急预案及流程一、手术患者发生呼吸心搏骤停的应急预案及流程(一)应急预案1、手术患者进入手术室,在手术开始前发生呼吸心搏骤停时,应立即行胸外心脏按压、人工呼吸、气管插管,并快速建立静脉通道,遵医嘱应用抢救药物。
2、同时呼叫其他医护人员协助抢救。
必要时准备开胸器械,行胸内心脏按压术,在抢救过程中应注意心、肺、脑复苏,必要时开放两条或以上静脉通道。
3.术中患者出现呼吸心搏骤停时,先行胸外心脏按压术,未行气管插管的患者,应立即行气管插管辅助呼吸,必要时再开放一条静脉通路。
4、及时执行医嘱、准备用药,口头医嘱必须复述一遍确认无误后方可执行,保留使用安瓿,待抢救完毕时及时补充医嘱,并签字。
5、参加抢救人员应注意相互密切配合、有条不紊,严格查对,及时准确的记录抢救过程。
6、抢救中密切观察病情,以便及时发现病情变化,尽快采取抢救措施。
7、急救药品要做到“四固定”,班班清点,完好率达100%,保证应急使用。
8、护理人员熟练掌握心肺复苏流程及各种急救仪器的使用方法和注意事项。
手术患者发生呼吸、心跳骤停的处理流程
手术患者药物引起过敏性休克的处理流程
手术室药物不良反应的处理流程
手术患者用药错误的处理流程
、
手术患者输液反应的处理流程
手术患者输血反应的处理流程
术中发生物品清点误差的处理流程
手术标本管理流程
手术患者手术中大出血时的处理流程
手术室中心负压吸引装置出现故障的处理流程
. 手术室中心吸氧装置出现故障的处理流程
.
术中仪器设备突发故障处理流程
、
术中医护人员发生针刺伤时的处理流程
批量伤员处理流程
手术患者发生坠床的处理流程
手术患者导管异常脱落的处理流程
手术中停电或突然停电的处理流程
泛水应急预案及处理流程
手术室火灾的处理流程。
手术室应急预案目录一、手术室防火培训及应急预案.............. 错误!未指定书签。
手术室应对火灾的应急流程图................ 错误!未指定书签。
二、手术室停电和突然停电的应急预案........ 错误!未指定书签。
三、批量伤员手术救治的应急预案............ 错误!未指定书签。
手术室应对突发事件批量伤员的应急流程图.... 错误!未指定书签。
四、手术病人休克应急预案.................. 错误!未指定书签。
五、手术患者发生呼吸心跳骤停的应急预案及程序错误!未指定书签。
手术病人呼吸、心搏骤停的应急流程图........ 错误!未指定书签。
六、手术室应对特殊感染手术的应急预案...... 错误!未指定书签。
特殊感染手术处理程序...................... 错误!未指定书签。
七、使用中设备故障应急流程................ 错误!未指定书签。
八、物品清点误差应急预案.................. 错误!未指定书签。
九、手术病人坠床、跌倒的应急预案.......... 错误!未指定书签。
手术患者坠床、跌倒应急流程................ 错误!未指定书签。
十、手术病人发生压疮的应急预案............ 错误!未指定书签。
十一、手术病人发生电灼伤、烫伤的应急预案.. 错误!未指定书签。
十二、标本丢失应急预案.................... 错误!未指定书签。
十三、误用未消毒的物品的应急预案.......... 错误!未指定书签。
十四、用错药物应急预案.................... 错误!未指定书签。
十五、发生输液反应时的应急预案及程序...... 错误!未指定书签。
十六、患者出现输血反应的应急预案及程序.... 错误!未指定书签。
十七、地震应急预案........................ 错误!未指定书签。
手术患者发生呼吸、心跳骤停的处理流程
手术患者药物引起过敏性休克的处理流程
手术室药物不良反应的处理流程
手术患者用药错误的处理流程
、
手术患者输液反应的处理流程
手术患者输血反应的处理流程
术中发生物品清点误差的处理流程
手术标本管理流程
手术患者手术中大出血时的处理流程
手术室中心负压吸引装置出现故障的处理流程
手术室中心吸氧装置出现故障的处理流程
术中仪器设备突发故障处理流程
、
术中医护人员发生针刺伤时的处理流程
批量伤员处理流程
手术患者发生坠床的处理流程
手术患者发生躁动的处理流程
高危手术患者压疮的处理流程
手术患者导管异常脱落的处理流程
手术中停电或突然停电的处理流程
泛水应急预案及处理流程
手术室火灾的处理流程。