水利工程招投标的管理流程图
- 格式:doc
- 大小:38.50 KB
- 文档页数:9
1、水利工程占用审批流程图2、河道范围开采地下资源审批流程图3、河道采砂许可流程图4、市管河道管理范围内建设项目审批流程图5、水资源费征收流程图6、扩大取水批准7、取水项目批准8、入河排污口设置审批流程图9、占用流域重点区域防洪规划保留区土地审核流程图10、防洪规划同意书审核流程图11、水利工程开工审批流程图12、农用桥梁及农水配套建筑物的设计施工等流程图13、擅自占用河道行政处罚流程图14、擅自凿井行政处罚流程图15、妨碍行洪的行政处罚流程图16、擅自围垦河道的行政处罚流程图17、破坏水利工程的政处罚流程图18、末经批准擅自占用河道行政处罚流程图19、破坏水利工程设施的行政处罚流程图20、末办采砂许可证行政处罚流程图21、末按照采砂许可证规定的行政处罚流程图22、采砂船离开指定地点的行政处罚流程图23、伪造采砂许可证的行政处罚流程图24、在饮用水保护区内设置排污口的行政处罚流程图25、未经批准擅自新建、改建、扩大排污口的行政处罚流程图26、未经批准擅自取水或者未依照批准的取水许可规定条件取水的行政处罚的流程图27、拒不缴纳、拖延缴纳或者拖欠水资源费的行政处罚流程图28、对在建筑物密集的地区开采浅层地下水用于水温空调的行政处罚流程图29、对混合、串通开采地下水的行政处罚流程图30、在地下水禁止开采区内开凿深井的行政处罚流程图31、对报废、闭置或者施工未成的深井、未采取封填措施行为的行政处罚流程图32、对未安装计量设施或者安装的取水计量设施不正常使用的或者擅自拆除更换取水计量设施行为的行政处罚流程图33、未经批准擅自扩大取水的行政处罚流程图34、未取得取水申请批准文件擅自建设取水工程或者设施的行政处罚流程图35、对取水申请人隐瞒有关情况或者提供虚假材料骗取取水申请批准文件或者取水许可证的行政处罚流程图36、对拒不执行审批机关作出的取水量限制决定或者未经批准擅自转让取水权的行政处罚流程图37、对不按照规定报送年度取水情况;拒不接受监督检查或弄虚作假的;退水水质达不到规定要求的行为之一的行政处罚流程图38、对伪造、涂改、冒用取水申请批准文件、取水许可证的行政处罚流程图39、擅自占用河道搞建设行政强制流程图40、强行拆除饮用水源保护区内设置的排污口的流程图41、强制封填报废、闭置或者施工未成的深井的流程图42、强制拆除或者封闭擅自建设的取水工程或者设施流程图43、河道采砂管理费行政征收流程图44、水士流失防治费行政征收流程图45、水士保持设施补偿费行政征收流程图46、河道堤防占用补偿费行政征收流程图47、水资源费征收流程图48、农业灌溉水源、灌排工程设施补偿费征收流程图49、自备水源污水处理费征收流程图50、水资源的统一管理和监督。
水利工程项目建设流程图水利工程项目建设流程图:一:项目立项1.1 确定项目背景及需求1.2 调查评估1.3 可行性研究报告编制1.4 项目立项批准二:前期准备2.1 组织编制项目计划2.2 确定项目组成员及职责2.3 确定项目预算和资金申请2.4 确定项目进度计划2.5 开展前期调研和勘测三:初步设计3.1 编制初步设计方案3.2 完善设计方案3.3 绘制初步设计图纸3.4 编制初步设计报告3.5 评审初步设计报告四:施工准备4.1 编制施工组织设计4.2 确定施工图纸4.3 确定施工计划4.4 确定施工材料及设备 4.5 开展施工前的准备工作五:施工实施5.1 施工开工5.2 施工过程管理5.3 施工质量控制5.4 施工安全保障5.5 施工进度控制六:验收与交付6.1 完成工程验收准备6.2 进行工程验收6.3 修正及整改6.4 完成工程交付手续 6.5 完成竣工档案整理七:运维与管理7.1 设施运行与维护7.2 监测与数据分析7.3 定期检修与更新7.4 工程管理与升级7.5 风险管理与应急预案本文档涉及附件:附件一:项目可行性研究报告附件二:初步设计图纸附件三:施工组织设计附件四:竣工档案法律名词及注释:1. 水利工程:指通过改造大自然的水文运动、综合利用水域资源、改善水文环境,满足人民生产、生活的水资源服务设施和水利设施,以及与之有关的防洪、农田水利、水电建设等工程。
2. 项目立项:指根据国家和地方相关规定,对水利工程项目进行初步论证,明确项目建设的必要性、可行性和重要性,并取得相关部门批准的过程。
3. 可行性研究报告:是指对水利工程项目进行综合评估和论证,包括项目建设的目标、需求、技术方案、经济效益等方面的分析和研究成果的报告。
4. 初步设计:是指根据项目可行性研究报告和相关技术要求,对水利工程项目进行初步设计,包括设计方案、设计图纸和初步设计报告的编制。
5. 施工准备:是指根据初步设计的要求,进行施工组织设计、施工图纸的制定、施工计划的确定以及施工所需材料和设备的准备等工作。
水利工程招投标管理流程图水利工程招投标管理流程图1. 项目前期准备阶段1.1 项目评估与策划1.2 投资估算与资金筹措1.3 编制招投标文件概况1.4 制定招标指南与招标范围1.5 准备相关资料与文件2. 招标公告发布2.1 制定招标公告2.2 定义投标人资格要求2.3 发布招标公告2.4 监督招标公告发布情况3. 投标文件准备3.1 招标文件的编制和修改3.2 招标文件的规范与统一3.3 投标书的准备与密封3.4 必备附件的准备与整理3.5 投标保证金的缴纳4. 投标文件评审4.1 组织评审专家4.2 对投标文件进行评审4.3 编写评审报告5. 投标人答疑与澄清5.1 开展投标人答疑活动5.2 回答投标人提问5.3 澄清文件与修改招标文件6. 投标人资格审查6.1 开启投标保证金6.2 进行投标人资格审查6.3 初步确定资格预审结果 6.4 公示资格预审结果6.5 处理投标人的异议申诉6.6 最终确定资格预审结果7. 投标报价评审7.1 开启投标保证金解封7.2 进行投标报价评审7.3 编写评审报告8. 中标候选人确定8.1 公示中标候选人名单8.2 处理投标人的异议申诉8.3 最终确定中标候选人名单9. 合同谈判与签订9.1 合同谈判准备9.2 进行合同谈判9.3 确定合同签订对象9.4 签订合同10. 合同履约监督10.1 履约监督准备10.2 监督合同履约进程10.3 处理履约违约与问题11. 项目验收与结算11.1 编制验收与结算程序11.2 进行项目验收11.3 编制项目结算报告11.4 进行结算款支付12. 项目总结与归档12.1 编制项目总结报告12.2 进行项目总结12.3 归档相关文件与资料本文档涉及附件:附件1:招标文件模板附件2:评审专家名单附件3:投标人资格预审结果公示通知附件4:中标候选人公示通知附件5:合同模板附件6:履约监督报告模板附件7:结算报告模板附件8:项目总结报告模板本文所涉及的法律名词及注释:- 招标公告:根据招标法规定,公开向社会发布投标项目的消息。
水利工程建设项目招标投标程序下面是赠送的合同范本,不需要的可以编辑删除!!!!!!教育机构劳动合同范本为大家整理提供,希望对大家有一定帮助。
一、培训学校聘请籍 (外文姓名) (中文姓名)先生/女士/小姐为语教师,双方本着友好合作精神,自愿签订本合同并保证认真履行合同中约定的各项义务。
二、合同期自年月日起年月日止。
三、受聘方的工作任务(另附件1 )四、受聘方的薪金按小时计,全部以人民币支付。
五、社会保险和福利:1.聘方向受聘方提供意外保险。
(另附2 )2.每年聘方向受聘期满的教师提供一张至的来回机票(金额不超过人民币元整)或教师凭机票报销元人民币。
六、聘方的义务:1.向受聘方介绍中国有关法律、法规和聘方有关工作制度以及有关外国专家的管理规定。
2.对受聘方提供必要的工作条件。
3.对受聘方的工作进行指导、检查和评估。
4.按时支付受聘方的报酬。
七、受聘方的义务:1.遵守中国的法律、法规,不干预中国的内部事务。
2.遵守聘方的工作制度和有关外国专家的管理规定,接受聘方的工作安排、业务指导、检查和评估。
未经聘方同意,不得兼任与聘方无关的其他劳务。
3.按期完成工作任务,保证工作质量。
4.遵守中国的宗教政策,不从事与专家身份不符的活动。
5.遵守中国人民的道德规范和风俗习惯。
八、合同的变更、解除和终止:1.双方应信守合同,未经双方一致同意,任何一方不得擅自更改、解除和终止合同。
2.经当事人双方协商同意后,可以变更、解除和终止合同。
在未达成一致意见前,仍应当严格履行合同。
3.聘放在下述条件下,有权以书面形式通知受聘方解除合同:a 、受聘方不履行合同或者履行合同义务不符合约定条件,经聘方指出后,仍不改正的。
b 、根据医生诊断,受聘放在病假连续30天不能恢复正常工作的。
4.受聘方在下述条件下,有权以书面形式通知聘方解除合同:a 、聘方未经合同约定提供受聘方必要的工作条件。
b 、聘方未按时支付受聘方报酬。
九、本合同自双方签字之日起生效,合同期满后即自行失效。
水利工程招投标管理流程图水利工程招投标管理流程图1.引言本文档旨在详细介绍水利工程招投标的管理流程,包括招标准备、招标文件编制、投标准备、投标报名、评标、中标及合同签订等环节。
2.招标准备2.1 确定招标需求2.2 组织招标工作组2.3 制定招标计划2.4 调研市场情况2.5 验证预算2.6 资格预审3.招标文件编制3.1 编写招标公告3.2 编写招标文件3.3 安排招标文件审查3.4 最终招标文件修订4.投标准备4.1 审查招标文件4.2 确定投标策略4.3 确定投标人员4.4 准备投标文件4.5 准备投标保证金4.6 进行投标文件评审5.投标报名5.1 根据招标文件要求提交报名材料5.2 缴纳投标保证金5.3 完成投标报名手续6.评标6.1 组织评标委员会6.2 进行投标文件评审6.3 执行投标文件评审结果6.4 确定中标人7.中标及合同签订7.1 通知中标人7.2 进行中标谈判7.3 确定合同内容7.4 完成合同签订手续附件:4.投标保证金缴纳证明5.合同范本法律名词及注释:1.招标:指根据规定的标准和程序,公开向各方面或特定人或机构发出请求,以使有意愿和能力的人或机构提交报价或投标的活动。
2.招标文件:指招标人为了进行招标活动,已经编制好的文件,包括招标公告、招标说明书、技术规范和合同条款等内容。
3.投标:指投标人向招标人提交报价或投标文件,并做出相关承诺。
4.中标:指评标委员会或招标人确定了最终获得合同的投标人。
5.合同签订:指中标人和招标人在确定中标后,根据双方达成的协议,签署正式合同文件。
水利项目招标备案及交易活动流程一、招标项目备案我省依法必须招标或限额下自愿进行招标的水利工程建设项目,招标人自行组织招标或者委托招标代理机构招标的,应在招标公告或资格预审公告或投标邀请公告(书)发出至少1日前,由招标人或招标代理机构(统称招标主体)持招标项目的有关资料(项目要件)等到有招标项目监督管辖权的部门(省管项目具体到贵州省水利水电建设管理总站,简称总站;市、州、地管项目到市、州、地水利局驻交易中心监督部门)进行招标备案。
1、交易中心窗口(总站业务一部窗口工作人员)对项目要件等进行形式检查(1)项目要件的齐备性检查;(2)招标主体资格的检查;(3)项目要件及招标主体资格文件扫描、项目建档;检查合格的,窗口出具“招标项目备案受理单”,并将项目要件等按项目监督管辖权送总站业务一部或市、州、地水利局驻交易中心的监督部门(为方便陈述,后面用总站代替)内审。
2、总站业务一部内审(1)项目要件的合法合规性、有效性检查:不合格的出具不合格意见书经窗口返招标主体,需补充完善的出具补充意见书经窗口告知招标主体补充,合格的进入(2);(2)签署“招标项目备案表”,更新扫描项目要件;(3)转交易中心业务一部进行招标项目进入水利有形市场的交易登记。
二、进场交易登记公开招标项目或邀请招标项目的招标备案手续完成后,招标主体应及时到交易中心业务一部办理招标项目进入水利有形市场的交易登记,进行项目招标活动安排。
交易中心业务一部对招标备案手续已完成的项目作进场交易登记,签署“招标项目交易活动登记表”。
三、发布招标(资格预审)公告交易中心业务二部对已进入有形市场交易登记的项目办理经总站业务二部或市、州、地水利局驻交易中心的监督部门(为方便陈述,后面用总站代替)检查通过的招标(资格预审)公告发布事宜。
招标(资格预审)公告须在贵州省水利厅和贵州省水利水电建设工程交易中心网以及相关媒体上同时发布。
(1)总站业务二部对已备案项目的招标(资格预审)公告进行合规性、完整性、标准性检查,不合格的出具不合格意见书经窗口返招标主体,合格的进入(2);(2)交易中心业务二部就已进场交易登记项目经总站业务二部检查合格的招标(资格预审)公告在贵州省水利厅和贵州省水利水电建设工程交易中心网站发布;(3)总站业务二部监督检查已备案招标项目在各网站或媒介上发布的招标(资格预审)公告内容是否完全一致。
维吾尔自治区水利工程建设项目招标评标工作细则(2014年6月17日新水厅〔2014〕39号)1 总则1.0.1为规水利工程建设项目招标评标工作,依据《中华人民国招标投标法》、《中华人民国招标投标法实施条例》、《维吾尔自治区水利工程建设项目招标投标管理规定》等有关规定制定本细则。
1.0.2本细则适用于自治区行政区域依法必须招标、由水行政主管部门监管的水利工程建设项目招标评标工作。
其他行政主管部门监管的水利工程建设项目可以参照执行。
1.0.3本细则是自治区水利工程建设项目招标投标管理制度体系中的程序性规定和工作准则,是招标投标活动当事人和水行政主管部门招标投标监督管理机构(以下简称监督管理机构)在招标投标活动中应当遵循的行为规。
2 招标投标制度体系2.0.1 自治区水利工程建设项目招标投标制度体系包括基本制度及与之配套的专项制度、工作细则及评标标准等,目录详见附件一《水利工程建设项目招标投标制度体系框图》。
招标投标活动当事人和监督管理机构在招标投标工作中应当严格遵守有关法规和自治区水利工程建设项目招标投标制度。
3 招标工作程序3.0.1 招标工作一般按照下列程序进行:1 办理项目基本信息和项目法人信息登记(待管理办法发布后实行);2 办理招标代理合同备案;3 编制资格预审文件(本款以下至第八款适用于资格预审方式);4 发布资格预审公告,并提交资格预审文件备案;5 发布资格预审文件;6 按照规定的日期接受投标人编制的资格预审申请文件;7 组建资格审查委员会,按照资格预审文件载明的标准和方法对投标人进行资格预审;8 向通过资格预审的投标人发出资格预审合格通知书;9 编制招标文件及招标控制价(若有);10 提交招标项目申请;11 发布招标公告或者发出投标邀请书;12 发布招标文件,同时提交招标文件备案;设有招标控制价的,在公布招标控制价的同时提交备案;13 组织投标人现场踏勘和召集投标预备会(若有);14 接受投标人对招标文件有关问题要求澄清的函件,对问题进行澄清,并书面通知所有投标人;15 组建评标委员会;16 组织开标、评标会;17 公示中标结果,确定中标人;18 向中标人发出中标通知书,并将未中标通知书发至其他投标人;19 向监督管理机构提交招标投标情况报告;20 签订合同,并提交合同文件备案。
新疆维吾尔自治区水利工程建设项目招标评标工作细则(2014年6月17日新水厅〔2014〕39号)1总则1.0.1为规范水利工程建设项目招标评标工作,依据《中华人民共和国招标投标法》、《中华人等有关在招标23123456按照规定的日期接受投标人编制的资格预审申请文件;7组建资格审查委员会,按照资格预审文件载明的标准和方法对投标人进行资格预审;8向通过资格预审的投标人发出资格预审合格通知书;9编制招标文件及招标控制价(若有);10提交招标项目申请;11发布招标公告或者发出投标邀请书;12发布招标文件,同时提交招标文件备案;设有招标控制价的,在公布招标控制价的同时提交备案;13组织投标人现场踏勘和召集投标预备会(若有);14接受投标人对招标文件有关问题要求澄清的函件,对问题进行澄清,并书面通知所有投标人;15组建评标委员会;16组织开标、评标会;17公示中标结果,确定中标人;1819204(水建管号),定编制。
512招标项目是否具备招标的基本条件;3招标代理合同是否已备案(适用于委托招标代理形式);4招标方案及评标委员会组建方案是否符合有关规定。
5.0.3招标项目申请资料齐全且符合招标条件时,监督管理机构应当在二日内完成审核。
审核意见应当明确交易场所、评标委员会组建方案、评标方法等事项,并由审核人及其部门负责人签名、加盖监督管理机构印章。
5.0.4州、市(地)水行政主管部门招标投标监督管理机构受理招标项目申请时,应当根据评标委员会组建方案,核实本地区评标专家分库中相关专业专家数量是否大于抽取数量的5倍以上。
如不满足要求时,应当及时报自治区水行政主管部门招标投标监督管理机构,另行指定交易场所。
6招标公告发布6.0.1招标公告(或者投标邀请书)内容格式应当与招标文件中招标公告(或者投标邀请书)一致。
6.0.2招标公告发布媒介应当按照《新疆维吾尔自治区水利工程建设项目招标投标管理规定》第二十五条执行。
日。
7日前),10 88.0.3评标委员会主任负责主持评标工作。
目录昆山市农村水利工程招投标程序一、立项报告(初步发包方案)1、工程立项申请.....................................................2、水利工程可行性报告编写提纲.......................................二、项目招标登记备案当年度计划内农水工程................................................当年度列入部门预算工程..............................................当年度计划外水利工程................................................三、发布招标公告1、昆山市水利工程招标公告(公开竞争性发包).........................2、昆山市水利工程招标公告(公开招标)...............................四、投标单位资格预审资格预审申请文件....................................................资格预审情况表......................................................五、发售招标文件、投标单位现场踏勘招标文件............................................................六、缴纳投标保证金七、编制标底及标底审核八、抽取评标委员专家,成立评标委员会九、开标、评标十、发布中标公示.十一、退还投标保证金十二、中标单位缴纳履约保证金、农民工工资保证金十三、中标单位缴纳规费及发放中标通知书十四、订立合同及备案昆山市农村水利工程招投标程序一、立项报告(初步发包方案)(昆山市市级资金需发改委立项文件;区、镇投资100万元以下的项目由区、镇人民政府提供建设项目审批表或工作任务书,100万以上工程必须经市发改委立项。
水利工程建设基本程序一、水利工程基本建设程序概念1998年1月7日水利部发布《水利工程建设程序管理暂行规定》(水建[1998]16号),进一步明确水利工程建设程序按《水利工程建设项目管理规定》(水建[1995]128号)执行。
水利工程建设程序一般分为:项目建议书可行性研究后评价初步设计竣工验收施工准备(包括招标设计)生产准备建设实施水利工程项目建设程序中,通常将项目建议书、可行性研究和初步设计作为一个大阶段,称为项目建设前期阶段或项目决策阶段;初步设计以后到投产运行期间的建设活动作为另一个大阶段,称为项目建设实施阶段;最后从投产运行后是生产阶段。
我国水利工程建设程序流程图投资估算规划及建设前设计概算施工准备工程招标设计建设实施阶段项目招标移民征地生产准备年度投资计划生产阶段水利部《转发国家发展改革委关于印发中央政府投资项目后评价管理办法(试行)的通知》(办规计[2008]348号)。
二、前期立项决策阶段工作一般要求1.项目建议书、可研、初设阶段勘测设计工作,要求项目应符合国民经济和社会发展长远规划、流域综合规划、区域综合规划、专业规划,应符合国家产业政策和国家有关投资建设方针。
2.三阶段工作应按照相应阶段的编制规程的深度要求编制。
3.勘察设计工作应由具有相应资格的设计单位承担,原则上要采取招投标的方式择优选择;大型: 设计资质为甲级的水利设计院中型: 设计资质为乙级及以上的水利设计院小型: 设计资质为丙级及以上的水利设计院4、设计报告按国家现行规定权限向主管部门申报审批。
设计报告批复前,须委托有资质的咨询评估和审查单位对设计报告进行审查。
目前审查单位有:国家发展改革委:2004年37家,2009年取消12家增加21家,目前有46家。
水电:中咨公司、水电总院、水规总院3家水利:中咨公司、水电总院、中水北方3家水利部:水规总院、流域机构(委托事业单位)地方水利厅:有关技术支撑单位经批准的设计文件,是项目建设实施的重要的基础性技术文件。
水利项目审批流程图第一篇:水利项目审批流程图《项目建议书》招标咨询机构发改委批复招标环评公司《项目环境影响报告》省环保厅批复招标水评公司《水资源论证报告》《水土保持论证报告》《防洪影响评价报告》省水利厅批复建设项目用地预审申请省国土厅批复节能登记表省发改委批复《可行性研究报告》《建设项目选址意见书》项目法人组建省建设厅批复初步设计项目文物保护省文物局调查招标、开标、中标招标咨询机构《治理工程社会稳定风险评估报告》省发改委审批质量监督手续招标地质环境公司《治理工程压覆矿产资源调查报告》省国土资源厅审批开工证明招标评估公司《地质灾害危险性评估报告》开工省国土资源厅审批第二篇:房地产项目审批流程图房商网决策操作系统项目规划院市拆迁办资金落实市规划局勘测院安置用房审批表验资报告初步设计《选址意见书》立项规划总详规划规划院地质勘察报告《固定资产投资许可证》土地局需拆迁土地腾迁拆迁办拆迁范围产权认证市房产局房屋评估评估公司注销产籍市房产局拆迁许可市拆迁办政府拍卖所得(费用已交完)土地开发权批复拆迁协议区拆迁办拆迁安置土地使用证三通一平规划局《用地规划许可证》地形勘察扩初设计联合会签规划审定书消防局防疫站建委民政局人防办《消防审批意见书》《卫生防疫意见书》项目注册《社区用房协议》《人防审批意见书》园林管理所自来水公司交通大队电业局平整建委收费办《建设工程规划许可证》施工图工程招标招标办施工图审查树木砍伐手续临时水临时占道手续临时电场地开工 2 开工 3 规划局设计院定线验线标底制作招标文件开工 1 综合管网设计规划局综合管网审图给、排水、热网、电讯、煤气许可证国家政策总体发展选址可研报告市场调查定位开工 1 工商局质量站合同鉴证施工队伍资质审查工程施工合同外埠施工单位备案劳保办定额站安全站《建设工程施工许可证》开工市建委开工 3 开工 2工程监理技术档案供电工程量室内外装修基础主体区内大配套煤气供暖环境设施区内道路景点绿化残土外运地名办区建委门牌号挂信报箱物价局定价住宅办施工开联栓网供水排水挂表送电卫生防疫施工竣工验收报户卫生许可证质检站规划局消人防防验收备案测绘院上图卫生防疫设计院街道办事处施工单位项目部房产局测绘大队销售面积审核房产局市场处预销售许可证产权登记发证中心产权出始备案登记预销售销售入住决策资源房地产研究中心出品第三篇:房地产开发项目审批流程图 中管网房地产频道作为国内最大、最专业、更新速度最快的专业房地产资料库,月更新房地产资料近千个。
新疆维吾尔自治区水利工程建设项目招标评标工作细则(2014年6月17日新水厅〔2014〕39号)1 总则1.0.1为规范水利工程建设项目招标评标工作,依据《中华人民共和国招标投标法》、《中华人民共和国招标投标法实施条例》、《新疆维吾尔自治区水利工程建设项目招标投标管理规定》等有关规定制定本细则。
1.0.2本细则适用于自治区行政区域内依法必须招标、由水行政主管部门监管的水利工程建设项目招标评标工作。
其他行政主管部门监管的水利工程建设项目可以参照执行。
1.0.3本细则是自治区水利工程建设项目招标投标管理制度体系中的程序性规定和工作准则,是招标投标活动当事人和水行政主管部门招标投标监督管理机构(以下简称监督管理机构)在招标投标活动中应当遵循的行为规范。
2 招标投标制度体系2.0.1 自治区水利工程建设项目招标投标制度体系包括基本制度及与之配套的专项制度、工作细则及评标标准等,目录详见附件一《新疆水利工程建设项目招标投标制度体系框图》。
招标投标活动当事人和监督管理机构在招标投标工作中应当严格遵守有关法规和自治区水利工程建设项目招标投标制度。
3 招标工作程序3.0.1 招标工作一般按照下列程序进行:1 办理项目基本信息和项目法人信息登记(待管理办法发布后实行);2 办理招标代理合同备案;3 编制资格预审文件(本款以下至第八款适用于资格预审方式);4 发布资格预审公告,并提交资格预审文件备案;5 发布资格预审文件;6 按照规定的日期接受投标人编制的资格预审申请文件;7 组建资格审查委员会,按照资格预审文件载明的标准和方法对投标人进行资格预审;8 向通过资格预审的投标人发出资格预审合格通知书;9 编制招标文件及招标控制价(若有);10 提交招标项目申请;11 发布招标公告或者发出投标邀请书;12 发布招标文件,同时提交招标文件备案;设有招标控制价的,在公布招标控制价的同时提交备案;13 组织投标人现场踏勘和召集投标预备会(若有);14 接受投标人对招标文件有关问题要求澄清的函件,对问题进行澄清,并书面通知所有投标人;15 组建评标委员会;16 组织开标、评标会;17 公示中标结果,确定中标人;18 向中标人发出中标通知书,并将未中标通知书发至其他投标人;19 向监督管理机构提交招标投标情况报告;20 签订合同,并提交合同文件备案。
新疆维吾尔自治区水利工程建设项目招标评标工作细则(2014年6月17日新水厅〔2014〕39号)1 总则为规范水利工程建设项目招标评标工作,依据《中华人民共和国招标投标法》、《中华人民共和国招标投标法实施条例》、《新疆维吾尔自治区水利工程建设项目招标投标管理规定》等有关规定制定本细则。
本细则适用于自治区行政区域内依法必须招标、由水行政主管部门监管的水利工程建设项目招标评标工作。
其他行政主管部门监管的水利工程建设项目可以参照执行。
本细则是自治区水利工程建设项目招标投标管理制度体系中的程序性规定和工作准则,是招标投标活动当事人和水行政主管部门招标投标监督管理机构(以下简称监督管理机构)在招标投标活动中应当遵循的行为规范。
2 招标投标制度体系自治区水利工程建设项目招标投标制度体系包括基本制度及与之配套的专项制度、工作细则及评标标准等,目录详见附件一《xx水利工程建设项目招标投标制度体系框图》。
招标投标活动当事人和监督管理机构在招标投标工作中应当严格遵守有关法规和自治区水利工程建设项目招标投标制度。
3 招标工作程序招标工作一般按照下列程序进行:1 办理项目基本信息和项目法人信息登记(待管理办法发布后实行);2 办理招标代理合同备案;3 编制资格预审文件(本款以下至第八款适用于资格预审方式);4 发布资格预审公告,并提交资格预审文件备案;5 发布资格预审文件;6 按照规定的日期接受投标人编制的资格预审申请文件;7 组建资格审查委员会,按照资格预审文件载明的标准和方法对投标人进行资格预审;8 向通过资格预审的投标人发出资格预审合格xx;9 编制招标文件及招标控制价(若有);10 提交招标项目申请;11 发布招标公告或者发出投标邀请书;12 发布招标文件,同时提交招标文件备案;设有招标控制价的,在公布招标控制价的同时提交备案;13 组织投标人现场踏勘和召集投标预备会(若有);14 接受投标人对招标文件有关问题要求澄清的函件,对问题进行澄清,并书面通知所有投标人;15 组建评标委员会;16 组织开标、评标会;17 公示中标结果,确定中标人;18 向中标人发出中标xx,并将未中标xx发至其他投标人;19 向监督管理机构提交招标投标情况报告;20 签订合同,并提交合同文件备案。
水利工程建设项目招标投标程序下面是赠送的合同范本,不需要的可以编辑删除教育机构劳动合同范本为大家整理提供,希望对大家有一定帮助。
一、_________ 培训学校聘请_________ 籍_________ (外文姓名)_________ (中文姓名)先生/女士/小姐为_________ 语教师,双方本着友好合作精神,自愿签订本合同并保证认真履行合同中约定的各项义务。
二、合同期自_________ 年_________ 月_________ 日起_________ 年_________ 月_________ 日止。
三、受聘方的工作任务(另附件1 )四、受聘方的薪金按小时计,全部以人民币支付。
五、社会保险和福利:1.聘方向受聘方提供意外保险。
(另附2 )2.每年聘方向受聘期满的教师提供一张_________ 至_________ 的来回机票(金额不超过人民币_________ 元整)或教师凭机票报销_________ 元人民币。
六、聘方的义务:1.向受聘方介绍中国有关法律、法规和聘方有关工作制度以及有关外国专家的管理规定。
2.对受聘方提供必要的工作条件。
3.对受聘方的工作进行指导、检查和评估。
4.按时支付受聘方的报酬。
七、受聘方的义务:1.遵守中国的法律、法规,不干预中国的内部事务。
2.遵守聘方的工作制度和有关外国专家的管理规定,接受聘方的工作安排、业务指导、检查和评估。
未经聘方同意,不得兼任与聘方无关的其他劳务。
3.按期完成工作任务,保证工作质量。
4.遵守中国的宗教政策,不从事与专家身份不符的活动。
5.遵守中国人民的道德规范和风俗习惯。
八、合同的变更、解除和终止:1.双方应信守合同,未经双方一致同意,任何一方不得擅自更改、解除和终止合同。
2.经当事人双方协商同意后,可以变更、解除和终止合同。
在未达成一致意见前,仍应当严格履行合同。
3.聘放在下述条件下,有权以书面形式通知受聘方解除合同:a 、受聘方不履行合同或者履行合同义务不符合约定条件,经聘方指出后,仍不改正的。
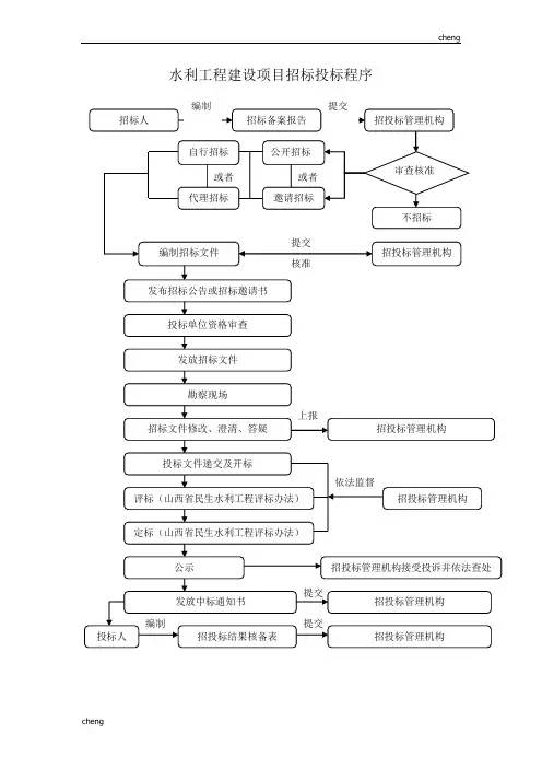
水利工程建设项目招标投标程序
下面是赠送的合同范本,不需要的可以编辑删除!!!!!!
教育机构劳动合同范本
为大家整理提供,希望对大家有一定帮助。
一、_________ 培训学校聘请_________ 籍_________ (外文姓名)_________ (中文姓名)先生/女士/小姐为_________ 语教师,双方本着友好合作精神,自愿签订本合同并保证认真履行合同中约定的各项义务。
二、合同期自_________ 年_________ 月_________ 日起_________ 年
_________ 月_________ 日止。
三、受聘方的工作任务(另附件1 )
四、受聘方的薪金按小时计,全部以人民币支付。
五、社会保险和福利:
1.聘方向受聘方提供意外保险。
(另附2 )
2.每年聘方向受聘期满的教师提供一张_________ 至_________ 的来回机票(金额不超过人民币_________ 元整)或教师凭机票报销_________ 元人民币。
六、聘方的义务:
1.向受聘方介绍中国有关法律、法规和聘方有关工作制度以及有关外国专家的管理规定。
2.对受聘方提供必要的工作条件。
3.对受聘方的工作进行指导、检查和评估。
4.按时支付受聘方的报酬。
七、受聘方的义务:
1.遵守中国的法律、法规,不干预中国的内部事务。
2.遵守聘方的工作制度和有关外国专家的管理规定,接受聘方的工作安排、业务指导、检查和评估。
未经聘方同意,不得兼任与聘方无关的其他劳务。
3.按期完成工作任务,保证工作质量。
4.遵守中国的宗教政策,不从事与专家身份不符的活动。
5.遵守中国人民的道德规范和风俗习惯。
八、合同的变更、解除和终止:
1.双方应信守合同,未经双方一致同意,任何一方不得擅自更改、解除和终止合同。
2.经当事人双方协商同意后,可以变更、解除和终止合同。
在未达成一致意见前,仍应当严格履行合同。
3.聘放在下述条件下,有权以书面形式通知受聘方解除合同:
a 、受聘方不履行合同或者履行合同义务不符合约定条件,经聘方指出后,仍不改正的。
b 、根据医生诊断,受聘放在病假连续30天不能恢复正常工作的。
4.受聘方在下述条件下,有权以书面形式通知聘方解除合同:
a 、聘方未经合同约定提供受聘方必要的工作条件。
b 、聘方未按时支付受聘方报酬。
九、本合同自双方签字之日起生效,合同期满后即自行失效。
当事人以方要求签订新合同,必须在本合同期满90天前向另一方提出,经双方协商同意后签订新合同。
受聘方合同期满后,在华逗留期间的一切费用自理。
十、仲裁:
当事人双方发生纠纷时,尽可能通过协商或者调解解决。
若协商、调解无效,可向国家外国专家局设立的外国文教专案局申请仲裁。
本合同于_________ 年_________ 月_________ 日在_________ 签订,一式两份,每份都用中文和_________ 文写成,双方各执一份,两种文本同时有效。
聘方(签章)_________
受聘方(签章)_________
签订时间:年月日
二手房屋买卖合同范本由应届毕业生合同范本
卖方:_______________(简称甲方)
身份证号码:_____________________
买方:_______________(简称乙方)
身份证号码:_____________________
根据《中华人民共和国经济合同法》、《中华人民共和国城市房地产管理法》及其他有关法律、法规之规定,甲、乙双方在平等、自愿、协商一致的基础上,就乙方向甲方购买房产签订本合同,以资共同信守执行。
第一条乙方同意购买甲方拥有的座落在______市_____区
________________________拥有的房产(别墅、写字楼、公寓、住宅、厂房、店面),建筑面积为_____平方米。
(详见土地房屋权证第_______________号)。
第二条上述房产的交易价格为:单价:人民币________元/平方米,总价:人民币___________元整(大写:____佰____拾____万____仟____佰____拾____元整)。
本合同签定之日,乙方向甲方支付人民币__________元整,作为购房定金。
第三条付款时间与办法:
1、甲乙双方同意以银行按揭方式付款,并约定在房地产交易中心缴交税费当日支付
首付款(含定金)人民币____拾____万____仟____佰____拾____元整给甲方,剩余房款人
民币____________元整申请银行按揭(如银行实际审批数额不足前述申请额度,乙方应在
缴交税费当日将差额一并支付给甲方),并于银行放款当日付给甲方。
2、甲乙双方同意以一次性付款方式付款,并约定在房地产交易中心缴交税费当日支
付首付款(含定金)人民币____拾____万____仟____佰____拾____元整给甲方,剩余房款
人民币____________元整于产权交割完毕当日付给甲方。
第四条甲方应于收到乙方全额房款之日起____天内将交易的房产全部交付给乙方使用,并应在交房当日将_________等费用结清。
第五条税费分担甲乙双方应遵守国家房地产政策、法规,并按规定缴纳办理房地产过户手续所需缴纳的税费。
经双方协商,交易税费由_______方承担,中介费及代办产权过户手续费由______方承担。
第六条违约责任甲、乙双方合同签定后,若乙方中途违约,应书面通知甲方,甲方应在____日内将乙方的已付款不记利息)返还给乙方,但购房定金归甲方所有。
若甲方中途违约,应书面通知乙方,并自违约之日起____日内应以乙方所付定金的双倍及已付款返还给乙方。
第七条本合同主体
1.甲方是____________共______人,委托代理人________即甲方代表人。
2.乙方是____________,代表人是____________。
第八条本合同如需办理公证,经国家公证机关____公证处公证。
第九条本合同一式份。
甲方产权人一份,甲方委托代理人一份,乙方一份,厦门市房地产交易中心一份、________公证处各一份。
第十条本合同发生争议的解决方式:在履约过程中发生的争议,双方可通过协商、诉讼方式解决。
第十一条本合同未尽事宜,甲乙双方可另行约定,其补充约定经双方签章与本合同同具法律效力。
第十二条双方约定的其他事项:
出卖方(甲方):_________________ 购买方(乙方):
__________________
身份证号码: __________________身份证号码:
___________________
地址:___________________地址:
____________________
邮编:___________________ 邮编:
____________________
电话:___________________电话:
____________________
代理人(甲方):_________________ 代理人(乙方):
_________________
身份证号码: ___________________身份证号码:
___________________
鉴证方:
鉴证机关:
地址:
邮编:
电话:
法人代表:
代表:
经办人:
日期:年月日
鉴证日期:_______年____月____日。