采购管理流程图
- 格式:doc
- 大小:40.50 KB
- 文档页数:11
采购管理规定
一、公司所有采购事项由行政办公室统一执行,管理,特殊情况需报分管领导批
准后可直接采购。
二、所有采购事项都应进行审批,由需求部门填写《采购申请表》,经公司领导
签字后,办公室统一执行采购。
三、工程、设备、生产原材料等重大采购事项应进行相应的市场调查和询价比较。
四、常用办公物品的采购应经过比价筛选后确定固定的合作商,签订长期的供货
协议。
五、临时性物品的采购应进行性价比询查,做到货比三家,以确保采购到质优价
廉的物品。
六、采购执行完毕后应及时履行入库手续,由保管员进行验收并登记.
七、采购人员应保存好询价记录以便日后进行查阅参考;
八、涉及售后的物品,应将产品说明书、保修单据等相关资料交有关部门保存。
九、因未履行公司采购管理规定给公司造成损失的,要追究相关责任人的责任,
并视损失程度要求责任人进行赔偿,未进行三家比价的按采购额5%予以处罚。
十、坚决杜绝在采购中收受回扣、损公肥私等违法行为,一经查实除要承担赔偿
外一律开除。
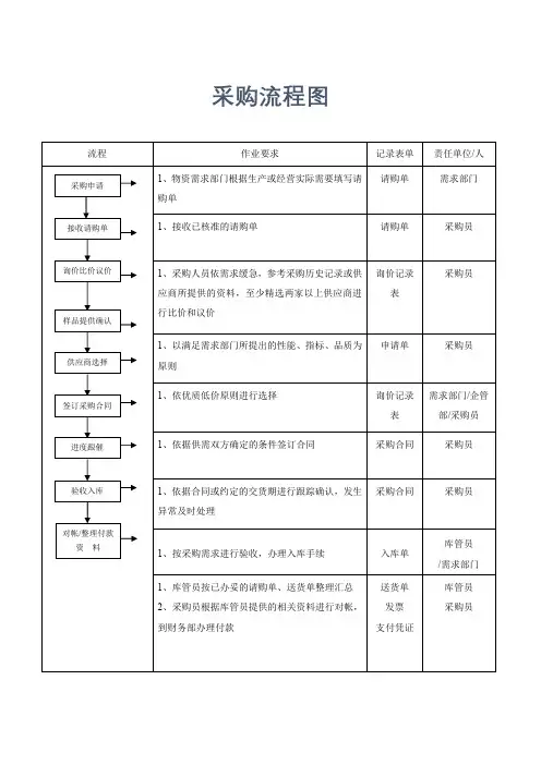
采购作业流程。
政府采购管理流程图
为深入落实“放管服”改革要求,规范政府采购的操作,提升采购质量,促进政府采购工作健康有序开展,江苏省财政厅依据《政府采购法》、《政府采购法实施条例》、《政府采购货物和服务投标投标管理办法》等法律法规和规范性文件制定了公开招标、竞争性谈判、单一来源、邀请招标、询价、竞争性磋商六种采购方式的政府采购流程规范图,直观清晰地列明了采购人、采购代理机构(集中采购机构)和供应商这三方应当完成的采购环节,有效指导采购当事人,便于他们在采购中进行参考和执行。
XXXXXX公司采购管理流程图说明1、接收采购申请:需求单位按《XXXXX通知》(XXX〔XXXX〕XXX号)填报《采购申请表》(见附表1)。
2、采购人员拟定采购方案:由XXXXX部组织采购人员拟定采购预案,包括采购依据、预算金额、招标内容、招标实施计划、潜在投标人资格条件、评审标准和方法。
3、采购方案审查会:采购金额低于10万元的采购项目,采购方案审查会需要参会人员填写《采购方案审查表》(见附表2)。
4、主管领导专题决策会:采购金额高于10万元的采购项目,主管领导组织相关部门人员召开专题决策会,XXXXX部形成专题会议纪要。
5、总经理办公会:采购金额高于50万元的采购项目,主管领导提报总经理,召开总经理办公会,综合部出具总经理办公会会议纪要。
公开招标采购流程图说明1、履行招标审批手续:按规定向总部申请招标号。
2、发布招标公告:采取一定方式,发布招标公告.3、接收投标人报名发售资格预审文件:编制资格预审文件明确投标单位资格等相关要求。
4、编制、评审、会签、发出招标文件:通过资格预审后、XXXXX部编制、评审、会签、发出招标文件,包括技术标书、商务标书,确定评标方案。
5、抽取评标专家组建评标委员会:《评委名单》(见附表5)纪委签字。
6、开标:填写《投标文件接收记录表》(见附表4),投标人填写《开标签到表》(见附表6)、《开标记录表》(见附表7)。
7、评标:评标委员会进行评标,形成评标报告,推荐中标候选人.8、公司主管领导专题会讨论评标结果:组织相关部门人员召开专题会讨论评标结果,XXXXX部形成专题会议纪要.9、总经理办公会议讨论定标方案:采购金额高于50万元的采购项目,主管领导提报总经理召开总经理办公会讨论定标方案,综合部出具总经理办公会会议纪要。
10、中标候选人公示履行中标审批手续:填制《中标审批表》(见附表8)。
11、发布中标通知书和评标结果通知书:《中标通知书》(见附表9)《评标结果通知书》(见附表9)。
采购管理制度及采购流程一、目的:规公司采购流程,提高采购工作效率,从而为生产的顺利进行提供保障,并最大化降低企业成本,为企业带来更大的资金支持。
二、适用围适用本公司围采购管理三、容(一)总则:为加强采购工作的管理,提高采购工作的效率,制定本制度。
所有的采购人员及相关人员均应以本制度为依据开展工作。
(二)基本流程:采购需求—寻找供应商—询价、比价、议价—采购洽谈—合同的签订—交货验收—质检—入库—计划对账—财务结算(三)采购流程图如下:寻找供应商审批流程询价比价议价采购洽淡签采购合同付款审批流程下采购订单交货验收计划对帐财务结算验收合格验收不合格入库退、换货采购需求四、制度细则(一)采购需求的提请1、定义:采购需指某部门根据生产经营需要确定一种或几种物品,并按照规定的格式填写,按照即定流程申请获得这些物品的过程。
2、采购需求流程如图:3、请购单的要素完整的请购单应包括以下要素:●请购的部门;●请购物品所属项目;●请购的用途;●请购的物品名;●请购的物品数量;●请购的物品规格;●请购物品的样品、图纸或技术资料等;●请购物品的需求时间;●请购如有特殊需要请备注;●请购单填写人;●请购的部门负责人;●请购单的审核人;●财务审核人;●公司总经理。
4、请购单及其提请规定●请购单应按照要素填写完整、清晰,由公司领导审核批准后报采购部门。
●请购部门在提交请购单时应要求采购部签字接收,请购部门备份。
●涉及的采购物品种类、数量过多时可以以附件清单的形式进行提交,同时清单的电子文档也需一并提交。
●遇公司生产、生活急需的物资,公司领导不在的情况,可以、或其他形式请示,征得同意后提报采购部门,签字确认手续后补。
●如果是单一来源采购或指定采购厂家及品牌的产品,申请部门必须作出书面说明。
●请购单使用公司规定的统一表单,请购部门有更改和补充的,应以书面形式由公司领导签字后报采购部。
5、公司物资申请采购的提请部门●公司生产经营所需的原材料、生产设备、辅件及其他物品由生产部门提请。
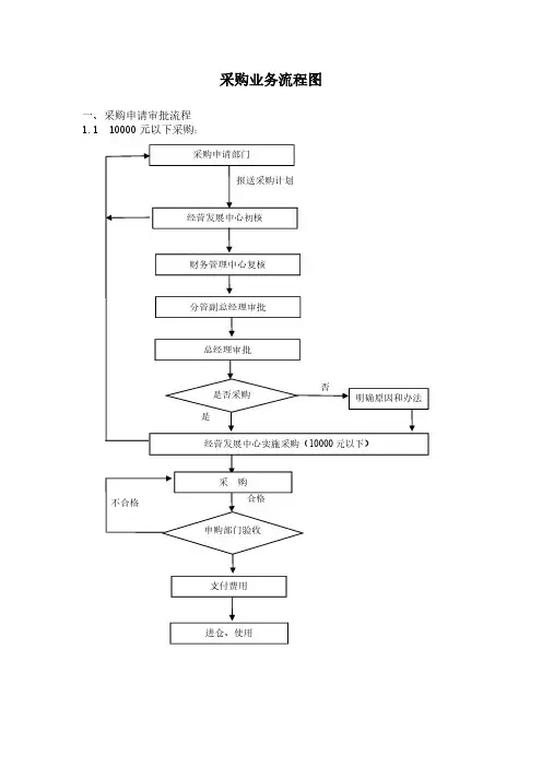
采购业务流程图
一、采购申请审批流程
1.110000元以下采购:报送采购计划
合格
采购申请部门
经营发展中心初核
支付费用
进仓、使用
申购部门验收
不合格财务管理中心复核
分管副总经理审批
经营发展中心实施采购(10000元以下)
采
购是否是否采购
明确原因和办法
总经理审批
1.210000元~30000元采购:报送采购计划
合格
采购申请部门
经营发展中心初核
支付费用
进仓、使用
申购部门验收
不合格财务管理中心复核
分管副总经理审批
经营发展中心组织不少于三个部门的工作人员进行议价签订合同,供应物资
是否是否采购
明确原因和办法
总经理审批
1.330000元以上采购:是报送采购计划
合格
采购申请部门
经营发展中心初核
支付费用
进仓、使用
申购部门验收
财务管理中心复核
分管副总经理审批
经营发展中心组织招投标,确定供货商签订合同,供应物资
否是否采购
明确原因和办法
总经理审批
回
复
二、紧急采购申请流程
三、服务中心应急小金额零星采购紧急采购申请
副总经理、总经理同意
经营发展中心指定采购实施部门
申购部门验收、使用
补办进仓手续
申购部门3日内补办采购申请手续
服务中心小金额零星采购(500元内)
补办进出仓手续
月报表反映
应急使用。
图形目录
图24.1 企业采购管理数据流程图 (2)
图24.2采购基础数据管理数据流程图(第二层数据流) (3)
图24.3采购计划管理数据流程图(第二层数据流) (3)
图24.4采购订单处理数据流程图(第二层数据流) (4)
图24.5采购收货管理数据流程图(第二层数据流) (4)
图24.6采购系统实体关系图 (5)
图24.7采购系统模块图 (6)
图24.1 企业采购管理数据流程图
图24.2 采购基础数据管理数据流程图(第二层数据流)
图24.3 采购计划管理数据流程图(第二层数据流)
图24.4 采购订单处理数据流程图(第二层数据流)
图24.5 采购收货管理数据流程图(第二层数据流)
图24.6 采购系统实体关系图
图24.7 采购系统模块图。
公司采购管理程序一、目的为了提高公司采购效率、明确岗位职责、有效降低采购成本,满足工公司对优质资源的需求,进一步规范物资采购流程,加强与各部门间的配合,特制订本制度。
二、范围适用于本公司所有采购的物料及耗材品三、定义3.1物料:指本公司所经营所需之直接与间接物料3.2采购人员:运营部执行采购业务人员3.3需求人员:各部门开具请购申请之人员四、采购作业流程4.1.请购的定义:请购是指某人或者某部门根据市场及门店需求确定一种或几种物料,并按照规定的格式填写物料申请给部门经理审核后提交运营部。
4.2采购作业是从接受物料需求一选择适当的厂商,并确定物料之名称,规格质理交货期等要求,和订单发出,确认及物料接收并按时请款之过程.4.3应在合格供应商中选择供应商,如需采购物品现有的供货商无法达成,就在网上或朋友介绍开发新的供应商,则由运营部对其供货商进行选择及评估流程对供应商进行选择,考核等作业。
如需采购的产品中有被客户批准或指定的供应商,则运营部在采购产品时,必须从客户批准和指定的供应商名单上采购有关产品,如运营部要从其他供货商处采购时,必须将此供货商提供给客户批准,并经客户批准被列与客户指定的供应商后,采购方可从该供应商处采购物料。
如客户有新批准的供应商名单或客户对原批准的供应商名单做修改和更改时,采购人员必须及时对此客户批准的供应商名单进行更新.4.4对直接购买的物料,由采购人员收到采购申请单时对请购的物料进行审核及供应商价格,数量及交期等的确认。
如果是重复性的采购,采购直接在系统里生产采购订单并打印,经运营部主管经理签核后传真给供应商,如果是新物料或新供应商,则进行供应商选择和评估及样品评估流程,进行记录。
然后才能执行采购流程传真给供应商。
采购须进行采购追踪及监控采购的物料,及时准确的到达公司入库,然后财务根据送货单,入库单进行对账。
如供应商无法按交期交货时,采购应征求相关单位是否调料,或采取紧急对应措施(自行提货)如周期较长的物料可先行订货,但要征求运营部门主管及经理的同意.4.5间接物料采购,由需求人员填写采购申请单,经部门经理批准并写申请单号后交采购人员进行采购作业。
采购人员对申请单进行审核以及交期确认。
如采购的产品之质量对提交给客户的产品质量基本上无任何影响的物料采购(如:文具,消耗品,劳保等)由需求部门根据其实际工作需要报经采购经理审批,由采购员直接进行采购作业。
4.6采购产品的质量要求应在采购单上说明,如所采购的产品质量无法描述清楚时,则需求部门或品质部应附上相关的采购产品的质量标准,要求。
且采购须与供应商确认采购物料之版次是否相符。
五、供应商选择及评估流程5.1新供应商的选择客户指定之供应商由客户依据其本身规定进行评估,须注明针对某客户,且不能因此而直接被推存为成其他客户的供应商。
5.2供应商的评估和考核根据运营部的预选供应商名单及供应商评估调查表,运营部负责组织技术部门和采购人员组成评估小组到预选供应商处进行供应商的评估,并将评估的结果记录与供应商评估调查中,评估小组根据质量体系和特定的质量保证要求和供应商调查表中的项目及内容对供应商提供的相关资料和样品以及供应商的生产现场和生产能力等进行评估。
5.3采购过程中产品质量监控依公司对采购产品之质量要求,检验员应对供应商所提供的采购产品之质量进行统计,并将统计的结果和状况记录于供应商绩效监控统计表中,对连续3批检验不合格并拒收和退货的供应商,由运营部通知供应商整改,并在供应商限期改善的时间内对其执行纠正和预防措施做效果确认。
5.5供应商定期、不定期评估、供应商定期评分为年度评估,运营部每年应对供应商的质量、交期、配合度或服务进行评估。
六、采购申请单及其提报规定(1)采购申请单应按照要求填写完整、清晰,由公司领导审核批准后报运营部门;(2)固定资产申购按照附表一(固定资产购置申请表)的格式进行填写提报;(3)其他材料设备及工程项目申购按照附表二(物资采购申请表.)的格式填写提报;(4)日常零星采购按照公司印制的按照附表三(物资采购审批单)的格式填写提报;(5)请购部门在提报采购申请单是应要求运营部签字接收人请购部门备份或邮件往来;(6)涉及的申请采购数量过多时可以附件清单的形式进行提交,为提高效率该清单的电子文档也需一并提交;(7)采购申请单的更改和补充应以书面形式由公司领导签字后报运营部。
4.公司物资采购申请单的提报部门(1)公司经营生产的物资、劳务、固定资产、工程及其他项目由生产部门提报;(2)公司生活及办公的物资、固定资产、服务或其他生活及办公项目由办公室提报;(3)公司各部门专用的物资由各部门自行提报。
二、运营部接收采购申请单作业流程1、请购的接收要点(1)运营部在接收采购申请单时应检查采购申请单的填写是否按照规定填写完整、清晰,检查采购申请单是否经过公司领导审批(2)接收采购申请单时应遵循无计划不采购,名称规格等不完整清晰不采购,图纸及技术资料不全不采购,库存已超储积压的物资不采购的原则;(3)通知仓库管理人员核查请购物资是否有库存;(4)对于不符合规定和撤销的请购物资应及时通知请购部门。
2、采购申请单的分发规定(1)对于采购申请单运营部应按照人员分工和岗位职责进行分工处理;(2)对于紧急请购项目应优先处理;(3)无法于请购部门需求日期办妥的应通知请购部门;(4)重要的项目采购前应征求公司相关领导的建议。
3、采购周期的规定(1)单次采购金额预算在1万元以下的零星采购项目或预算在1万元以下采购的物资及产品的采购周期不应超过5天;(2)单次采购金额预算在5万元以下的项目比价采购,采购周期不应超过15天;(3)单次采购金额预算在20万元以上的项目运营部自行招标采购,采购周期不应超过40天;(4)请购部门应按照以上(1)-(3)条中规定的时间提前提写采购申请单,运营部如未能按时完成采购任务时应向公司领导说明原因;(5)遇到紧急采购应汇报公司领导采取快速优先采购的策略;三、询价及其规定1.询价请应认真审阅采购申请单的品名、规格、数量、名称,了解图纸及其技术要求,遇到问题应及时的与请购部门沟通;2.属于相同类型或属性近似的产品应整理、归类集中打包采购;3.对于紧急请购项目应优先处理;4.所有采购项目上必须向生产厂家或服务商直接询价,原则能不通过其代理或各种中介机构询价就最好的;5.对于请购部门需求的物资或设备如有成本较低的替代品可以推荐采购替代品;6.遇到重要的物资、项目或预估单次采购金额大于10万的采购情况,询价前应先向公司相关领导汇报拟邀请报价或投标单位的基本情况,按照附表(拟报价/招标单位名单)的格式提报公司领导批准方可询价或发放订单;7.询价时对于相同规格和技术要求应对不同品牌进行询价;8.除固定资产外单次采购金额在5千以下项目可以自行采购;单次采购金额预算金额在5千元以上的所有项目都应要求至少三家上的供应商参与比价或招标采购,比价或招标项目应至少邀请三家以上单位参与;单次采购金额预算价格在1万元以上的项目应由运营部组织招标,公司相关领导参与监督;单次采购金额预算价格在5万元以上的项目由公司领导决定是否委托第三方机构代理招标;9.比价采购或招标采购所邀请的单位均应具备一定资质和实力,具有提供或完成我公司所需物资和项目的能力;10.比价采购或招标采购应按照附表(材料或设备询价表)的格式或拟定完整的招标文件格式进行询价;11.在询价时遇到特殊情况应书面报请公司领导批示。
三、比价、议价1.对厂商的供应能力,交货时间及产品或服务质量进行确认;2.对于合格供应商的价格水平进行市场分析,是否其他厂商的价格最低,所报价格的综合条件更加突出;3.收到供应单位第一次报价或进行开标后应向公司领导汇报情况,设定议价目标或理想中标价格;4.重要项目应通过一定的方法对于目标单位的实力,资质进行验证和审查,如通过进行实地考察了解供应商的各方面的实力等;5.参考目标或理想中标价格与以合作单位或以中标单位进行价格及条件的进一步谈判。
四、比价、议价结果汇总1.比价、议价汇总前应汇报公司相关领导,征得同意后方可汇总;2.比价、议价结果汇总应按照附表(比价/招标汇总表)的格式完整列出报价、工期、付款方式及其他价格条件、列出以选用单位及选用理由,按照一定顺序逐一审核;3.如比价、议价结果未通过公司领导审核应进行修改或重新处理。
五、合同的签订及其规定。
1.合同合同是当事人或当事双方之间设立、变更、终止民事关系的协议。
依法成立的合同,受法律保护。
广义合同指所有法律部门中确定权利、义务关系的协议。
目前我们的采购工作主要涉及五金产品买卖合同。
(1)合同正文应包含的要素1)合同名称、编号、签订时间、签订地点;2)采购物品/项目的名称/、规格、数量/清单、技术文件与确认图纸是合同不可分割的部分; 3)包装要求;4)合同总额应含税,含运达公司的总价,特殊情况应注明; 5)付款方式; 6)质量保证期;7)质量要求及规范; 8)违约责任和解决纠纷的办法; 9)双方的公司信息; 10)其他约定。
(2)合同签订及其规定1)如涉及到技术问题及公司机密的,注意保密责任; 2)以定合同条款时一定要将各种风险降低到最低; 3)为防止合同订单增加或增加无依据,打包采购时要求供货方提供分项报价清单;4)遇货物订购数量较多且价值较大或难清点的情况时务必请厂商派代表来场协助清点; 5)质保期一定要明确从什么时候开始并应尽量要求厂商延长产品质保期; 6)详细约定发票的提供时间及要求;7)针对不同的合同约定不同的付款方式,如设备类的合同一般应分按照预付款、验收款,调试服务款、质量保证金的顺序明确付款额度、付款时间和付款条件等 ;8)与初次合作的单位合作时,应少付预付款或不付预付款; 9)违约责任一定要详细、具体; 10)比价/招标汇总表巡签完毕后方可进行合同的签订工作;11)合同签定签应按照附表七(合同审查批准单)的格式对合同初稿进行巡签审查;12)合同巡签审查通过后应由公司领导签字,加盖公司合同章方可生效; 13)签订的所有合同应及时报送财务部门。
六、付款及合同执行1.付款规定(1)所有已签订合同付款时应参照公司《修造船公司材料采购付款及报销流程V1.修改版》及《修造船公司资金支出审批及报销签字权限及管理制》中的相关规定执行;(2)按照进度付款的采购项目必须确保质检合格方可付款;(3)按照贵司规定和合同约定达到付款条件的合同在付款时应填写附表八(资金支出审批单)或附表九(付款审批单),该审批单巡签完毕后提交财务部付款;(4)财务部门在接到付款审批单后应在3天内付款,以免影响合同的执行和供货周期,遇特殊情况限延期付款的应及时的通知运营部并汇报公司领导。
2.合同执行(1) 已签订合同由运营部项目负责人负责跟进,由运营部负责人进行监督,如出现问题,运营部应及时提出建议或补救措施,并及时通知请购部门及公司领导;(2)已签订的合同在执行期间,应及时掌握合作单位对于合同义务和责任的履行情况,跟踪并督促其保质保量,按时履约;(3)合同在履行期间应按照上方约定严格执行合同,遇未尽事宜应及时协商并签订补充合同;七、报验与入库1.报验(1)供应单位已经履行完毕的合同,运营部应及时的通知质检部门进行验收;(2)对于不同类型的合同的标的物的验收标准参照公司质检部门的相关规定执行;(3)达到质检和报验条件的合同标的物应在第一时间报请质检部门进行质检、验收;(4)质检部门在接到运营部报验通知后应及时报验,并出具报验结. . . .果证明书,对于质检不及时延误生产部门使用或不能入库的情况质检部门应负主要责任;(5)用于公司生活和办公的物资不在公司质检部质检范围之内。