工程施工审批流程图
- 格式:doc
- 大小:245.00 KB
- 文档页数:52
附件1
— 2 —
— 3 —
— 4—
— 5 —
— 6 —
— 7 —
— 8 —
— 9 —
— 10 —
附件2
天津市工程建设项目审批流程图
(财政投融资类-房屋建筑项目)
(审批时间73工作日)
(财政投融资类-城市基础设施项目)(审批时间73工作日)
(审批时间59工作日)
(审批时间66工作日)
(审批时间38工作日)
(审批时间38工作日)
天津市工程建设项目审批流程图(带方案出让用地的社会投资项目)(审批时间29工作日)
(普通公路项目)(审批时间65工作日)
(水利项目)
(审批时间82工作日)
(35-500kV电网工程建设项目<变电站、线路>)
(审批时间62工作日)
注:
1.地质灾害危险性评估、地震安全性评价等强制性评估和中介事项,建设单位可根据工程项目实际情况,在相应阶段自行办理。
2.项目策划生成阶段涉及非建设用地的,结合项目实际,持规划设计方案审查意见函、前期工作意见函,启动土地征转。
3.大型变配电工程(330kV及以上电网变电站工程)需办理建设工程消防设计审查及验收,其它电压等级电网项目可不办理建设工程消防设计审查、验收、备案及抽查。
4.结合电网线路工程实施特点,该类工程不办理土地、消防等手续;建设用地规划许可证、国有建设用地使用权批准、施工图
附件3
—41—。
建设工程施工许可证办理流程图1.申请人准备材料:-申请表-建设项目规划许可证-土地使用证-规划设计方案-施工组织设计-工程量清单-技术负责人资格证书-施工现场平面布置图-安全生产措施和应急预案2.提交申请:-将准备好的材料提交给施工许可证受理窗口。
3.受理申请:-施工许可证受理窗口对申请材料进行初步审查。
-如果材料齐全,受理窗口会给予受理并颁发受理通知书。
-如果材料不齐全,受理窗口会通知申请人补充完整。
4.审查核实:-受理窗口将申请材料交给相关部门进行审查。
-相关部门对申请材料进行核实和审查,并出具审查意见。
5.改正补正:-如果审查过程中发现问题或需要补充材料,受理窗口会通知申请人进行改正或补正。
6.审批决定:-审查核实完成后,相关部门将出具审查报告,并提交给上级主管部门进行审批决定。
-上级主管部门在审查报告的基础上进行核准或驳回决定。
7.许可证颁发:-如果审查报告获得核准,上级主管部门会颁发建设工程施工许可证。
-受理窗口通知申请人领取许可证,并进行收费。
8.许可证有效期:-建设工程施工许可证的有效期视具体项目而定,通常在1年至3年之间。
9.监督检查:-在施工过程中,相关部门会进行监督检查,确保施工按照许可证规定进行。
10.竣工验收:-施工完成后,申请人需要向相关部门申请竣工验收。
-相关部门进行竣工验收,并出具竣工验收报告。
11.许可证注销:-施工完成后,申请人需要向相关部门申请建设工程施工许可证注销。
12.档案归档:-相关部门将申请材料和审批文件进行档案归档。
以上是建设工程施工许可证办理流程的大致步骤,具体流程可能因地区和项目类型的不同而有所差异。
申请人在办理建设工程施工许可证时,要按照相关要求准备材料,如有问题及时改正补正,与相关部门保持良好的沟通合作,确保顺利取得许可证。
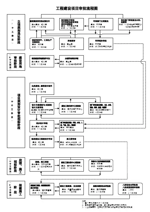
工程建设项目审批流程图工程建设项目审批流程操作说明工程建设项目审批流程分为立项规划选址、建设用地审批、项目建设招标(审批)、监理施工招标和报建施工五个阶段。
每个阶段,都由牵头部门先受理审批业务,并指引申办人到其他联办部门办理相关的审批手续。
办理结果最后由牵头部门集中答复申办人(立项规划选址阶段除外)。
申办人办理报建的具体操作步骤如下:第一阶段:立项规划选址阶段一、到规划局(牵头部门)窗口办理《建设项目选址意见书》的审批: (一)提交办理《建设项目选址意见书》所需材料,并领取签收《审批跟踪监督卡》(以下简称《监督卡》)。
(二)凭《监督卡》分别到发改局、环保局、消防局、国土局等联办部门窗口提交相关审批材料,并在《监督卡》上签名确认。
(三)将全部联办部门窗口已签收确认的《监督卡》送回规划局窗口。
(四)到规划局窗口领取和签收《建设项目选址意见书》以及《监督卡》等有关材料,办理承诺时限为7个工作日。
二、到发改局(牵头部门)窗口办理建设项目立项审批(项目不需要办理《建设项目选址意见书》的,由发改局牵头)。
(一)以登记备案方式立项的项目1.提交办理《企业投资项目登记备案》所需材料,并领取《监督卡》。
说明:1、整个审批流程为45个工作日。
2、圆角矩形是可选过程;虚线是指审批可跨阶段完成。
3、以上流程属市、区审批权限项目,如报省审批项目,无时间承诺。
2.到发改局窗口领取审批结果,并在《监督卡》上签名确认,办理承诺时限为5个工作日。
(二)以其他方式立项的项目1.提交办理《项目建议书》或《可行性研究报告》所需材料,并领取签收《监督卡》。
2.凭《监督卡》分别到环保、国土、规划等联办部门窗口提交相关审批资料,并在《监督卡》上签名确认。
3.将全部联办部门窗口已经签收确认的《监督卡》送回发改局窗口。
4.到发改窗口领取和签收立项意见,办理承诺时限为6个工作日。
第二阶段:建设用地审批阶段到规划局窗口(牵头部门)办理用地审批:(一)提交办理《建设用地规划许可证》的所需材料,并领取签收《监督卡》。
. 建设工程施工许可证办理流程图.半是夕阳余光,半是狰狞血雨。
是的,血,到处都是冷腥的鲜血。
整个皇宫之内,血流成河,白玉理石全被洗涮成黑红之色,到处是断壁残肢,尸横一片,到处是厮杀后的痕迹。
“为什么?”百里冰左手紧捂着胸口,瞪大着眼睛看着对面十米敌对方处,挥手点兵之人。
那是她的未婚夫,她倾尽一生所爱之人。
亦是绝杀她百里一族,将她迫入绝境之人。
她不懂,为何倾尽所有的爱,换来的是百里一族的灭顶之灾。
台下之人仍是一身儒雅白衣,清俊的脸上,就连平日里对她宠溺的笑容都没有变过。
冷逸辰就这样含笑相对,却不肯多说只字片语。
权利?利益?她虽是寒月帝国唯一的继承人,可是她早已与身为寒月帝国帝皇的外公达成协议,她与冷逸辰成婚后,冷逸辰为帝,她为后,她会做好他的贤内助,她从来不是他成功之路上的绊脚石,他为何要如此对她?冷逸辰仍是气定神闲的坐在不远处,手中的白羽扇仍旧轻摇着,完全不惧百里冰眼中的怒意,只是仿佛没有听到她的问话般,仍一派温和之笑,却坚定的吐出一个字,“杀!”百里冰怒上心头。
手中剑气如虹,眼看便要破势而出,却听到远处传来震天动地,撕心裂肺的愤然吼声,“冷逸辰,我百里一族与你不死不休!”“噗!”百里冰同一时刻,一口鲜血狂喷而出,心脏之处传来剧痛。
她突的单腿倒下。
是皇帝外公的声音。
百里冰痛苦的闭上眼睛。
果然,冷逸辰在派人围杀她的同时,也对她的皇帝外公与其他族人动手了,看来百里一族今日恐怕难逃灭族之祸了。
她看着惜日对她呵护倍至的爱人,指甲恨得深入掌心,却感觉不到半丝痛意。
血阳残光,打在百里冰的脸上,映红了她的眼,也血洗了她的心。
“冷逸辰,你借我生辰之名,将我百里一族全部聚此,竟是为了灭我全族。
你可知欺我百里者,杀无赦。
”明明落在下风,却仍是气度非凡,那轩昂之姿,百分不输男儿。
百里冰冷面肃目,冷冷怒视着冷逸辰。
天色瞬间黯然,黑云密布,邪风四起,所有天地剑气从四面八方汇集于百里冰身上,她的剑力更胜之前。
冷逸辰前密密麻麻的高手执剑相护,可他仍然感觉到了百里冰身上所散发的凛冽剑气。
附件
工程建设项目审批服务流程图
社会投资类工程建设项目审批服务流程图
(一般项目审批时间控制在35个工作日以内、政府技术审查时间控制在40个工作日以内)
社会投资类工程建设项目审批服务流程图
(不带方案出让用地的产业区块范围内工业项目审批时间控制在27个工作日以内、政府技术审查时间控制在15个工作日以内)
社会投资类工程建设项目审批服务流程图
(中小型建设项目审批时间控制在23个工作日以内、政府技术审查时间控制在15个工作日以内)
社会投资类工程建设项目审批服务流程图
(带方案出让用地的产业区块范围内工业项目审批时间控制在21个工作日以内、政府技术审查时间控制在15个工作日以内)。
工程施工备案流程图第一部分:工程施工备案前期准备1. 项目准备阶段在工程施工备案前期准备阶段,项目的申报方需要做好以下几个准备工作:(1)确定项目的整体规划和设计方案;(2)进行土地使用、拆迁补偿等手续的办理;(3)明确项目的投资计划和资金来源;(4)开展环境影响评价和安全评估等前期工作。
2. 专业设计阶段在项目准备阶段完成后,申报方需要委托专业设计单位对工程进行详细设计,并编制相关的设计文件。
设计文件需包括建筑设计、结构设计、给排水设计、电气设计等多个专业的设计内容。
设计文件的编制需要符合国家相关标准和规范的要求。
3. 施工图设计阶段设计文件编制完成后,需要对详细设计文件进行审核和审查。
审查过程中需要根据相关规范和法律法规的要求,对设计文件进行全面的审查和评定,确保设计文件符合相关标准和规范。
第二部分:工程施工备案申报流程4. 施工单位申报施工单位在准备施工备案前需要准备以下材料:(1)施工单位资质证书复印件;(2)施工单位法人营业执照复印件;(3)施工单位负责人身份证复印件;(4)工程施工备案表;(5)施工图纸;(6)安全评价报告复印件。
5. 监理单位申报监理单位在准备监理备案前需要准备以下材料:(1)监理单位资质证书复印件;(2)监理单位法人营业执照复印件;(3)监理单位负责人身份证复印件;(4)工程施工备案表;(5)监理合同复印件;(6)监理计划。
6. 监管部门审查和审核监管部门在收到施工单位和监理单位的备案申请材料后,需要对申请材料进行审核和审查。
审查的内容主要包括施工单位和监理单位的资质、施工图纸的合规性和安全评价报告的真实性等。
审查合格后,监管部门会对备案材料进行公示,接受社会公众的监督,确保备案真实可靠。
第三部分:工程施工备案审批流程7.备案审批经过监管部门的审核和审查合格后,监管部门将会对备案材料进行审批。
审批的内容包括项目的建设规划和设计文件的合规性、监理计划的可行性等。
审批通过后,监管部门会签发施工单位和监理单位的备案证书。
工程建设项目审批流程图工程建设项目审批流程操作说明工程建设项目审批流程分为立项规划选址、建设用地审批、项目建设招标审批、监理施工招标和报建施工五个阶段;每个阶段,都由牵头部门先受理审批业务,并指引申办人到其他联办部门办理相关的审批手续;办理结果最后由牵头部门集中答复申办人立项规划选址阶段除外;申办人办理报建的具体操作步骤如下:第一阶段:立项规划选址阶段一、到规划局牵头部门窗口办理建设项目选址意见书的审批:一提交办理建设项目选址意见书所需材料,并领取签收审批跟踪监督卡以下简称监督卡;二凭监督卡分别到发改局、环保局、消防局、国土局等联办部门窗口提交相关审批材料,并在监督卡上签名确认;三将全部联办部门窗口已签收确认的监督卡送回规划局窗口;四到规划局窗口领取和签收建设项目选址意见书以及监督卡等有关材料,办理承诺时限为7个工作日;二、到发改局牵头部门窗口办理建设项目立项审批项目不需要办理建设项目选址意见书的,由发改局牵头;一以登记备案方式立项的项目1.提交办理企业投资项目登记备案所需材料,并领取监督卡;2.到发改局窗口领取审批结果,并在监督卡上签名确认,办理承诺时限为5个工作日;二以其他方式立项的项目1.提交办理项目建议书或可行性研究报告所需材料,并领取签收监督卡;2.凭监督卡分别到环保、国土、规划等联办部门窗口提交相关审批资料,并在监督卡上签名确认;3.将全部联办部门窗口已经签收确认的监督卡送回发改局窗口;4.到发改窗口领取和签收立项意见,办理承诺时限为6个工作日;第二阶段:建设用地审批阶段到规划局窗口牵头部门办理用地审批:一提交办理建设用地规划许可证的所需材料,并领取签收监督卡;二到规划局窗口领取审批结果,在监督卡上签名确认,办理承诺时限为5个工作日;三凭监督卡到国土局窗口提交相关审批材料,并在监督卡上签名确认;四到国土局窗口领取审批结果,在监督卡上签名确认,办理承诺时限为16个工作日;第三阶段:项目规划设计审批招标阶段一、办理规划、建筑设计条件一到规划局窗口提交办理规划、建筑设计条件所需材料,并在监督卡上签名确认;二到规划局窗口领取审批结果,在监督卡上签名确认,办理承诺时限为6个工作日;二、办理设计方案招标一需要进行设计方案招标的项目:到发改局或经贸局牵头部门窗口办理设计方案招标审批:1.到发改局或经贸局牵头部门窗口办理招标核准意见;2.到发改局或经贸局窗口领取和签收招标核准意见以及监督卡等有关材料,办理承诺时限为3个工作日;3.凭监督卡到建设工程交易中心办理委托招标手续,并在监督卡上签名确认建设工程交易中心自受理委托之日起2个工作日内将招标信息上网公告;4.到建设工程交易中心领取中标通知书建设工程交易中心在中标结果公示完成后1个工作日内发出中标通知书;二不需要进行设计方案招标的项目:到规划局牵头部门窗口办理规划设计方案和审批:1.提交办理规划设计方案和审批的所需材料,并领取签收监督卡;2.凭监督卡分别到环保局、人防办等联办部门窗口提交相关审批材料,并在监督卡上签名确认;3.将全部联办部门窗口已经签收确认的监督卡送回规划局窗口;4.到规划局窗口领取审批结果,并在监督卡上签名确认,办理承诺时限为5个工作日;三、到规划局牵头部门窗口办理初步设计审批:一提交办理初步设计审批的所需材料,并领取签收监督卡;二凭监督卡分别到环保局、人防办、气象局等联办部门窗口提交相关审批材料,并在监督卡上签名确认;三将全部联办部门窗口已经签收确认的监督卡送回规划局窗口;四到规划局窗口领取审批结果,并在监督卡上签名确认,办理承诺时限为5个工作日;四、到规划局牵头部门窗口办理核发建设工程规划许可证的审批:一提交办理核发建设工程规划许可证的所需材料,并领取签收监督卡;二凭监督卡分别到气象局、人防办等联办部门窗口提交相关审批材料,并在监督卡上签名确认,气象局办理承诺时限为5个工作日,凭监督卡领取和签收办理结果;三到规划局窗口领取审批结果,并在监督卡上签名确认,办理承诺时限为3个工作日;第四阶段:监理、施工招标阶段到发改局或经贸局牵头部门窗口办理监理、施工招标的审批:一提交办理监理、施工招标审批的所需材料,并领取签收监督卡;二凭监督卡分别向财政局等联办部门窗口提交相关的审批材料,并在监督卡上签名确认;三将已经联办部门窗口签收确认的监督卡送回发改局或经贸局窗口;四到发改局或经贸局窗口领取和签收招标核准意见以及领取监督卡等有关材料,办理承诺时限为3个工作日;五凭监督卡到审图中心领取和签收办理结果,办理承诺时限为5个工作日;六凭监督卡到财政局窗口签收办理结果,办理承诺时限为8个工作日;七凭监督卡到建设工程交易中心办理委托招标手续建设工程交易中心自受理委托之日起2个工作日内将招标信息上网公告;八将监督卡送回发改局或经贸局窗口;九到建设工程交易中心领取中标通知书建设工程交易中心在中标结果公示后1个工作日内发出中标通知书;第五阶段:报建、施工阶段到建设局牵头部门窗口办理工程报建、施工的审批:一提交办理建设施工报建、核发建设项目施工许可证审批的所需材料,并领取签收监督卡;二凭监督卡分别到质监站、安监站、人防办等联办部门窗口提交相关材料,并在监督卡上签名确认;三将已经质监站、安监站、人防办等联办部门窗口签收确认的监督卡送回建设局窗口;四到建设局窗口领取审批结果,并在监督卡上签名确认,办理承诺时限为3个工作日;注意事项:一、以上文字说明提及的大部分部门都在行政服务中心内设有受理窗口,申办者只须将相关材料按要求提交到中心内各窗口即可办理;二、各审批部门窗口受理时须将审批过程中应提交的材料、应注意的事项和具体的办理程序一次性明确告知申办者;三、各阶段的审批时限从最后一个收到申办者交送材料的审批部门窗口签收次日开始计算;如申办者报送的材料不符合要求,需要修改或补交的,则审批时限从申办者修改或补交材料的次日开始重新计算;四、报建每一阶段都设有一张监督卡,审批部门窗口和申办人须按要求填写交接监督卡,作为监督各审批部门窗口工作时效和受理申办者投诉的依据;每一报建阶段结束后,监督卡交由该阶段的牵头部门窗口保存;。
工程建设项目审批服务流程图
社会投资类工程建设项目审批服务流程图
(一般项目审批时间控制在35个工作日以内、政府技术审查时间控制在40个工作日以内)
社会投资类工程建设项目审批服务流程图
(不带方案出让用地的产业区块范围内工业项目审批时间控制在27个工作日以内、政府技术审查时间控制在15个工作日以内)
社会投资类工程建设项目审批服务流程图
(中小型建设项目审批时间控制在23个工作日以内、政府技术审查时间控制在15个工作日以内)
社会投资类工程建设项目审批服务流程图
(带方案出让用地的产业区块范围内工业项目审批时间控制在21个工作日以内、政府技术审查时间控制在15个工作日以内)。
方案所有《方案》的标准文本格式、《审批表》格式等详见公司《工程技术(管理规定)[施工组织设计(专项施工方案)编制及技术交底的有关规定]》,不合格不齐全的当即退回。
方案包括但不限于:一、施工组织设计二、三体系管理方案:质量计划、职业健康安全管理规划、环境管理规划、应急预案三、创优方案:CI创优方案、创“市文明”方案、创“市标化”方案、安全保证计划四、专项方案:(1)、基坑支护与降水作业安全技术方案:是指开挖深度超过5m(含5m)的基坑(槽)并采用支护结构施工的工程;或基坑虽未超过5m,但地质条件和周围环境复杂、地下水位在坑底以上等工程。
(2)、土方开挖作业安全技术方案:是指开挖深度超过5m(含5m)的基坑、槽的土方开挖。
(3)、±0.000以下结构施工安全技术方案(4)、结构施工(临边、洞口、施工作业面防护等)安全技术方案(5)、施工临时用电安全技术方案(6)、垂直交叉作业安全技术方案(7)、高处作业安全技术方案(8)、起重吊装作业安全技术方案(9)、模板施工安全技术方案(含支撑系统)(10)、脚手架安全技术方案:1、落地式钢管脚手架;2、附着式升降脚手架,包括整体提升与分片式提升;3、悬挑式脚手架;4、吊篮;5、卸料平台。
(11)、大型设备安装安全技术方案(12)、临街防护;地下供电、供水、通风、管线及毗邻建筑物防护等安全技术措施(13)、装修工程安全技术方案(14)、拆除、爆破工程安全技术方案:采用人工、机械拆除或爆破拆除的工程。
(15)其他危险性较大的工程如:建筑幕墙的安装施工;预应力结构张拉施工;采用新技术、新工艺、新材料,可能影响建设工程质量安全,已经行政许可,尚无技术标准的施工。
方案审批流程图施工组织设计(方案)报审表工程名称:报审时间:年月日最新文件仅供参考已改成word文本。
方便更改如有侵权请联系网站删除。
讲明:0日内编制完成?施工组织设计?,并施工单位内审完毕。
2.报施工治理技术副组长预审。
3.预审不合格返回施工单位进行修改、补充编制,3日内完成,并施工单位内审完毕。
4.修改、补充编制完成后重新上报至施工治理技术副组长进行预审。
5.预审合格后,由技术副组长组织以下人员会议会审会签;参会人员:工程副组长、技术副组长、执行副组长、专业工程师、分厂厂长,施工单位技术负责人。
6.会议会审不合格返回施工单位依据会议会审要求进行修改补充编制,3日内完成,并施工单位内审完毕。
7.施工单位依据会议会审要求修改、补充编制完成后重新上报至施工治理技术副组长进行预审。
8.预审合格由技术副组长组织以下人员重新进行会议会审会签,参会人员:工程副组长、技术副组长、执行副组长、专业工程师、分厂厂长,施工单位相关技术负责人。
9.会议会审会签合格后由技术副组长报请施工治理工程组长审批。
10.?施工组织设计?定版后,施工单位依据建设单位或相关上级单位要求提交装订版存档。
11.审批完毕后建设单位与施工单位分不存档并依据?施工组织设计?部署施工。
讲明:1.施工单位施工材料进场1日前预备?进场材料清单?、?材料自检清单?、?材料合格证?或?质量证实书?原件〔合格证或质量证实书原件须有施工单位质量检验人员签字<章>〕2.材料进场当日施工单位报分厂,分厂治理人员组织相关专业工程师、施工单位治理人员进行现场检查及资料核查,现场检查及资料核查不合格,相关材料进行退场处理。
3.退场材料经材料厂家或供方更换合格后施工单位按照材料进场流程重新进行材料进场报验。
4.分厂治理人员组织相关专业工程师、施工单位治理人员检查合格后,3日内分厂治理人员组织相关专业工程师、见证取样员、施工单位取样员进行见证取样。
5.取样完毕后当日分厂治理人员、相关专业工程师、见证取样员、施工单位取样员签署托付单,随样品送试验室复检。
6.样品复检不合格,相关材料进行退场更换处理,退场更换后重新进行进场报验。
1.施工组织设计方案审批流程
说明:
1.施工单位自中标后10日内编制完成《施工组织设计》, 并施工单位内审完毕。
2.报施工管理技术副组长预审。
3.预审不合格返回施工单位进行修改、补充编制, 3日内完成, 并施工单位内审完毕。
4.修改、补充编制完成后重新上报至施工管理技术副组长进行预审。
5.预审合格后, 由技术副组长组织以下人员会议会审会签; 参会人员: 工程副组长、技术副组长、执行副组长、专业工程师、分厂厂长, 施工单位技术负责人。
6.会议会审不合格返回施工单位根据会议会审要求进行修改补充编制, 3日内完成, 并施工单位内审完毕。
7.施工单位根据会议会审要求修改、补充编制完成后重新上报至施工管理技术副组长进行预审。
8.预审合格由技术副组长组织以下人员重新进行会议会审会签, 参会人员: 工程副组长、技术副组长、执行副组长、专业工程师、分厂厂长, 施工单位相关技术负责人。
9. 会议会审会签合格后由技术副组长报请施工管理工程组长审批。
10.《施工组织设计》定版后, 施工单位根据建设单位或相关上级单位要求提交装订版存档。
11.审批完毕后建设单位与施工单位分别存档并根据《施工组织设计》部署施工。
2.工程材料报验流程
说明:
1.施工单位施工材料进场1日前准备《进场材料清单》、《材料自检清单》、《材料合格证》或《质量证明书》原件( 合格证或质量证明书原件须有施工单位质量检验人员签字<章>)
2.材料进场当日施工单位报分厂, 分厂管理人员组织相关专业工程师、施工单位管理人员进行现场检查及资料核查,
现场检查及资料核查不合格, 相关材料进行退场处理。
3.退场材料经材料厂家或供方更换合格后施工单位按照材料进场流程重新进行材料进场报验。
4.分厂管理人员组织相关专业工程师、施工单位管理人员检查合格后, 3日内分厂管理人员组织相关专业工程师、见证取样员、施工单位取样员进行见证取样。
5.取样完毕后当日分厂管理人员、相关专业工程师、见证取样员、施工单位取样员签署委托单, 随样品送试验室复检。
6.样品复检不合格, 相关材料进行退场更换处理, 退场更换后重新进行进场报验。
7.试验室出具复检报告后, 施工单位进行材料复检报验, 将《材料报验单》、《进场材料清单》、《材料自检清单》、《材料合格证》或《质量证明书》原件( 合格证或质量证明书原件须有施工单位质量检验人员签字<章>) 、《见证取样委托单》、《材料复试报告》一并报分厂管理人员审核。
8.分厂管理人员审核完毕及时报相关专业工程师进行审批, 审批合格后建设单位、施工单位资料分别存档, 现场材料准予工程使用。
9.施工单位应对试验室材料复检周期进行详细了解, 以便安排材料能够及时进场使用。
3.开工报告签审流程
说明:
1.施工单位自中标之日起15日内为施工准备期( 根据不同工程施工准备期或有不等) 。
2.施工单位现场施工准备完毕、人材机到位、各项开工资料报验审核完毕, 于施工准备期结束之日向分厂厂长提交《开工报告》并附《施工准备完毕说明》及相关《会审会签表》、《审批表》报请会审核查。
3.分厂厂长通知执行副组长、专业工程师会议会审会签开工报告, 会议会审会签不合格返回施工单位于3个工作日内查验整改补充完毕重新报请会审核查。
4.会议会审会签合格后报请技术副组长审核, 审核不合格返回施工单位于1个工作日内查验整改补充完毕重新报请审核。
5.技术副组长审核合格后报请工程副组长审核, 审核不合格返回施工单位于1个工作日内查验整改补充完毕重新报请审核。
6.工程副组长审核合格后报请施工管理工程组长审批, 不合格返回施工各单位于1个工作日内查验整改补充完毕重新报请审批, 审批合格后建设单位、施工单位资料分别存档, 工程开工。