伺服调试步骤(课程200910)
- 格式:ppt
- 大小:7.14 MB
- 文档页数:31
伺服电机的调试步骤伺服电机是一种能够根据反馈信号控制位置和速度的电动机。
调试伺服电机主要涉及到参数设置、回路调节以及系统性能测试等方面。
下面是关于伺服电机调试步骤的详细说明。
步骤一:安装布置1.确保伺服电机正确安装到目标设备上,并连接好电源和控制器。
2.检查电机和控制器的接口是否正确连接,并确认连接线松紧适宜。
步骤二:设置控制器参数1.根据伺服电机的技术参数和要求,进行控制器参数的设置,如编码器分辨率、调度频率等。
2.设置控制器的电流限制以及过压、过流等保护参数,以确保电机的安全运行。
步骤三:调节电流环1.首先,先将速度环和位置环的比例增益设置为0,即断开速度反馈和位置反馈,只进行电流环的调节。
2.根据电机的静态工作电流和最大运行电流,逐步增加电流环的比例增益,观察电机运行是否正常,避免产生振荡或过流等异常现象。
3.测量和检查电机的静态电流和冷启动电流,调整电流环的积分增益,尽量减小静态偏差,并提高电机的动态响应性能。
步骤四:调节速度环1.首先,将位置环的比例增益设置为0,仅保持电流环的闭环控制,在此基础上进行速度环的调节。
2.将速度环的比例增益设置为一个较小的初始值,然后逐步增大,以避免过冲和超调。
观察电机的速度响应是否稳定且迅速。
3.根据速度环的实测速度和设定速度,调整速度环的积分增益,以改善电机的速度跟踪和稳定性能。
步骤五:调节位置环1.将位置环的比例增益设置为一个适当的初始值,然后逐步增大。
观察电机的位置跟踪和稳定性能。
2.根据位置环的实测位置和设定位置,调整位置环的积分增益,以改善电机的位置跟踪和稳定性能。
3.根据电机的运行要求,调整位置环的微分增益,以提高系统的稳定性和动态性能。
步骤六:系统性能测试1.进行伺服电机的系统性能测试,如频率响应测试、阶跃响应测试、脉冲响应测试等。
2.根据测试结果,调整和优化伺服电机的各个环节参数,以提高系统的控制精度和动态性能。
步骤七:系统稳定性验证1.在不同工作负荷和工作条件下,对伺服电机进行稳定性验证,观察和记录其动态响应和稳定性能。
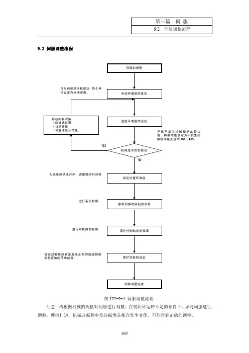
伺服调试步骤和注意点用途:介绍FANUC系统伺服调试的方法及步骤文件使用的限制以及注意事项等文件版本更新的纪录修订日期版本号文件名称修订内容修订人2009年11月 1.0 伺服调试步骤和注意点首次发布徐少华目录1、伺服调试概述 (2)1.1伺服优化的对象 (2)1.2伺服优化的方法 (2)2、手动一键设定one shot (3)2.1、one shot功能介绍 (3)2.2、参数设定支持画面的调用 (3)2.3手动加入滤波器的方法 (5)2.4伺服增益的自动调整 (5)2.5典型加工形状的测试 (7)3、伺服软件自动调整导航器 (8)3.1自动调整导航器介绍 (8)3.2导航器调整具体步骤: (9)4、servo guide手动调整 (14)4.1伺服三个环(电流环、速度环、位置环)调整 (14)4.1.1、电流环的调整:设定HRV控制模式 (14)4.1.2、速度环的调整:合理提高速度环增益(100%~600%) (16)4.1.3、位置环的调整:一步到位设定位置环增益为4000~8000 (27)4.2加减速时间常数的调整 (28)4.2.1加减速时间常数的分类 (28)4.2.2一般控制(不使用高速高精度功能)加减速时间常数的调整 (30)4.2.3高速高精度模式下时间常数的确认 (34)5、典型加工形状调整、检测 (38)5.1圆的调整 (38)5.1.1圆度的调整 (38)5.1.2圆大小调整 (39)5.1.3圆象限的调整 (39)5.2方的调整 (50)5.3、1/4圆弧的调整 (52)1、伺服调试概述1.1伺服优化的对象先来看一下FANUC系统的伺服控制原理框图,从上图,我们可以看出:系统从里至外分为“电流控制(电流环)”、“速度控制(速度环)”、“位置控制(位置环)”。
那么伺服调试的第一重要方面就是三个环在高响应、高刚性下的“和谐”工作,即为:合理提高伺服的增益,又必须保证伺服系统不出现振荡。
调试伺服电机的六大步骤及注意事项伺服电机(servo motor )是指在伺服系统中控制机械元件运转的发动机,是一种补助马达间接变速装置。
伺服电机可使控制速度,位置精度非常准确,可以将电压信号转化为转矩和转速以驱动控制对象。
伺服电机转子转速受输入信号控制,并能快速反应,在自动控制系统中,用作执行元件,且具有机电时间常数小、线性度高、始动电压等特性,可把所收到的电信号转换成电动机轴上的角位移或角速度输出。
今天与大家分享的就是伺服电机的调试方法和注意事项。
伺服电机的调试方法伺服电机的注意事项1、伺服电机油和水的保护A:伺服电机可以用在会受水或油滴侵袭的场所,但是它不是全防水或防油的。
因此,伺服电机不应当放置或使用在水中或油侵的环境中。
B:如果伺服电机连接到一个减速齿轮,使用伺服电机时应当加油封,以防止减速齿轮的油进入伺服电机。
C:伺服电机的电缆不要浸没在油或水中。
2、伺服电机电缆→减轻应力A:确保电缆不因外部弯曲力或自身重量而受到力矩或垂直负荷,尤其是在电缆出口处或连接处。
B:在伺服电机移动的情况下,应把电缆(就是随电机配置的那根)牢固地固定到一个静止的部分(相对电机),并且应当用一个装在电缆支座里的附加电缆来延长它,这样弯曲应力可以减到最小。
C:电缆的弯头半径做到尽可能大。
3、伺服电机允许的轴端负载A:确保在安装和运转时加到伺服电机轴上的径向和轴向负载控制在每种型号的规定值以内。
B:在安装一个刚性联轴器时要格外小心,特别是过度的弯曲负载可能导致轴端和轴承的损坏或磨损。
C:最好用柔性联轴器,以便使径向负载低于允许值,此物是专为高机械强度的伺服电机设计的。
D:关于允许轴负载,请参阅“允许的轴负荷表”(使用说明书)。
4、伺服电机安装注意A:在安装/拆卸耦合部件到伺服电机轴端时,不要用锤子直接敲打轴端。
(锤子直接敲打轴端,伺服电机轴另一端的编码器要被敲坏)B:竭力使轴端对齐到最佳状态(对不好可能导致振动或轴承损坏)。
FANUC伺服系统一般调整BEIJING-FANUC FANUC伺服系统一般调整BEIJING-FANUC停止中的振动抑制BEIJING-FANUC 停止中的振动抑制BEIJING-FANUC停止中的振动抑制停止中的振动抑制停止中的振动抑制停止中的振动抑制积压进给(爬行)的抑制BEIJING-FANUC 积压进给(爬行)的抑制BEIJING-FANUCSERVO GUIDE 测量图形过冲的抑制BEIJING-FANUC 过冲的抑制BEIJING-FANUC高速高精度伺服调整BEIJING-FANUC 高速高精度伺服调整BEIJING-FANUC高速高精度调整概述BEIJING-FANUC 高速高精度调整概述BEIJING-FANUC高速高精度调整概述BEIJING-FANUC 高速高精度调整概述BEIJING-FANUCHRV控制设定BEIJING-FANUC HRV控制设定BEIJING-FANUC滤波器调整BEIJING-FANUC 滤波器调整BEIJING-FANUC速度增益调整BEIJING-FANUC 速度增益调整BEIJING-FANUC位置增益调整BEIJING-FANUC 位置增益调整BEIJING-FANUC前馈调整BEIJING-FANUC 前馈调整BEIJING-FANUC前馈0%前馈100%前馈调整BEIJING-FANUC 前馈调整BEIJING-FANUC前馈调整BEIJING-FANUC 前馈调整BEIJING-FANUCY轴需加VFFY500大了前馈调整BEIJING-FANUC 前馈调整BEIJING-FANUCY:好结果圆弧半径减速BEIJING-FANUC 圆弧半径减速BEIJING-FANUC10μm/div 拐角钳制速度F2000/R5拐角减速BEIJING-FANUC 拐角减速BEIJING-FANUCA B C速度差减速功能速度差减速功能BEIJING-FANUC速度差减速功能小结小结小结小结小结•双位置反馈功能(选择功能)•只要半闭环不出现震动,全闭环就可以消除震动。
伺服调试一般流程伺服调试可是个挺有趣又有点小复杂的事儿呢。
一、准备工作。
在开始伺服调试之前呀,得先把一些东西准备好。
比如说,要先检查伺服电机和驱动器有没有明显的损坏。
就像你出门前得检查下自己衣服有没有破洞一样,这是很基本的啦。
还要看看连接线是不是接对了,要是接错了,那后面肯定会出问题的。
另外,要准备好调试的工具,像示波器这种,虽然它看起来有点高大上,但在调试过程中可太有用了。
二、参数设置。
接下来就是参数设置了。
这部分就像是给伺服系统定规矩一样。
要设置电机的型号参数,告诉系统你用的是啥样的电机,不然它怎么能好好工作呢?还有速度参数,你想让电机转多快呀?这得根据实际需求来。
要是太快了,可能就会失控,就像一个人跑太快会摔倒一样。
还有转矩参数也很重要,它关系到电机能出多大力气。
这就好比你让一个人搬东西,你得知道他最多能搬多重的东西,不然可就尴尬了。
三、初步运行测试。
设置好参数后,就可以进行初步运行测试了。
这个时候呀,就像看着自己刚学会走路的孩子一样,有点小紧张又有点小期待。
启动伺服系统,看看电机能不能正常转起来。
如果它转起来了,那可太让人高兴了,但是也不能掉以轻心。
要看看它转得稳不稳,有没有奇怪的声音。
要是有嗡嗡的声音,就好像它在跟你说“我有点不舒服”呢。
如果电机不转,那也别慌,可能是哪里出了小问题,再仔细检查检查参数或者连接线。
四、精细调整。
要是初步运行测试没啥大问题,那就进入精细调整阶段啦。
这时候就像给一个已经差不多的作品再做些精修一样。
要根据实际运行的情况,对之前设置的参数进行微调。
比如说,速度可能还可以再优化优化,让它运行得更平滑。
转矩也可能需要调整一下,让电机的表现更加完美。
这个过程就需要有点耐心啦,就像雕琢一件艺术品,不能急。
五、负载测试。
经过精细调整后,就可以进行负载测试了。
这就像是给伺服系统来个大考验。
给电机加上实际的负载,看看它在负重的情况下还能不能正常工作。
如果它能稳稳地承担起负载,那真的是太厉害了。
伺服控制器的调试与校准方法伺服控制器是一种用于控制伺服电机运动的设备,它通过对电机的电流、速度和位置进行精确控制,实现对机械系统的运动控制。
为了确保伺服控制器的正常工作,需要对其进行调试与校准。
本文将介绍伺服控制器调试与校准的方法。
首先,伺服控制器的调试是必要的。
调试的目的是确保伺服控制器的硬件和软件配置正确,各个参数设置合理。
下面是一些常见的调试步骤:1. 检查硬件连接:确保伺服控制器与伺服电机之间的电缆连接稳固,并检查电源供应是否正常。
2. 电机参数设置:根据实际情况,设置伺服控制器中的电机参数,如电机型号、额定电压、额定电流等。
3. 控制模式选择:选择合适的控制模式,常见的有位置控制、速度控制和力矩控制等。
4. 控制参数调节:根据实际需求,调节伺服控制器中的控制参数,如位置环PID参数、速度环PID参数等。
5. 反馈检测:使用示波器或其他仪器,检测伺服电机的转速、位置等反馈信号是否准确。
调试完成后,需要进行校准以提高伺服控制器的精度和稳定性。
下面是一些常见的校准方法:1. 零点校准:将伺服电机调至机械系统的零位位置,然后进行零点校准。
这样可以确保伺服电机在零位位置时输出为零。
2. 压力校准:对于力矩控制模式的伺服控制器,需要进行压力校准。
通过施加一定的外力,检查伺服电机输出的力矩是否与预期相符。
3. 速度校准:通过测量伺服电机的转速,根据设定值和反馈值之间的差异,调整速度环的参数,使得电机的输出速度与设定值一致。
4. 位置校准:对于位置控制模式的伺服控制器,需要进行位置校准。
将伺服电机移动到预定位置,然后将实际位置与预定位置进行比较,调整位置环的参数,使得电机的输出位置与预定位置精确匹配。
在进行校准时,需要注意以下几点:1. 校准过程中要确保机械系统处于稳定状态,避免外界干扰。
2. 校准时要注意安全,避免伺服电机超出工作范围导致机械系统受损或人身伤害。
3. 根据校准结果,适时调整伺服控制器的参数,以达到理想的控制效果。
伺服系统的调试方法伺服系统是现代自动化控制中常用的一种控制系统,广泛应用于机械、电子、航空航天等领域。
为了保证伺服系统的正常运行和优化性能,对其进行调试是非常重要的一环。
本文将介绍一些常用的伺服系统调试方法,帮助读者更好地掌握伺服系统的调试技巧。
一、伺服系统调试前的准备工作在开始伺服系统的调试之前,我们需要对一些基本参数进行设置和确认,以确保调试的顺利进行。
以下是一些常见的准备工作:1. 系统参数设置:包括电机类型、控制器类型、反馈装置类型等。
根据具体的伺服系统配置,选择相应的参数进行设置。
2. 控制器初始化:将控制器恢复至出厂默认设置,清除之前的调试参数,确保控制器处于初始状态。
3. 反馈装置检查:确认反馈装置(如编码器、传感器等)的连接是否正常,检查其工作状态是否正常。
4. 信号线连接确认:检查伺服驱动器与控制器之间的信号线连接是否正确,确保信号的传输畅通。
二、伺服系统调试步骤在进行伺服系统调试时,可以按照以下步骤进行,逐步验证和调整系统的各个参数。
1. 速度环调试:根据伺服系统的要求,设定一个目标速度,观察伺服驱动器是否能够根据设定值输出相应的转速,并调整速度环参数,使得实际输出速度与设定值相匹配。
2. 位置环调试:在速度环调试的基础上,设定一个目标位置,观察伺服系统是否能够准确地运动到目标位置,并调整位置环参数,使得实际位置与设定值误差最小。
3. 稳定性调试:在调试速度和位置环之后,观察伺服系统在不同负载和工作条件下的稳定性。
调整伺服系统的控制参数,提高系统的稳定性和响应速度。
4. 故障诊断:在进行伺服系统调试时,经常会遇到一些问题和故障。
通过系统日志、故障代码等方式,对伺服系统的工作状态进行诊断和排除故障。
5. 性能优化:如果需要进一步提高伺服系统的性能,可以调整一些高级参数,如加速度、减速度、滤波等,使得系统在高速、高精度等要求下能够更好地运行。
三、常见问题及解决方案在伺服系统调试过程中,可能会遇到一些常见的问题和挑战。
伺服系统的校准与调试方法随着科技的进步,伺服系统在工业控制领域扮演着越来越重要的角色。
伺服系统是一种通过控制电机的位置、速度和力来实现精确控制的系统。
在使用伺服系统之前,必须对其进行校准和调试,以确保系统的稳定性和准确性。
本文将介绍伺服系统的校准和调试方法。
一、校准方法1.位置校准位置校准是伺服系统中最常见的校准方法之一。
首先,需要将伺服电机连接到控制器并设置参数。
然后,可以通过以下步骤来进行位置校准:1)将控制器设置为位置校准模式;2)运行伺服电机,使其移动到目标位置;3)使用编码器或传感器来检测电机的实际位置;4)将实际位置与目标位置进行比较,如果存在偏差,则进行调整,直到两者一致。
2.速度校准速度校准是调节伺服系统速度响应的方法。
进行速度校准时,可以按照以下步骤进行操作:1)将控制器设置为速度校准模式;2)运行伺服电机,使其以目标速度旋转;3)使用编码器或传感器来检测电机的实际速度;4)将实际速度与目标速度进行比较,如果存在偏差,则进行调整,直到两者一致。
3.力校准力校准适用于需要控制伺服系统输出力的情况。
以下是力校准的基本步骤:1)将控制器设置为力校准模式;2)对伺服系统施加一个已知的力;3)使用传感器或测力仪来检测输出力的实际值;4)将实际力与目标力进行比较,如果存在偏差,则进行调整,直到两者一致。
二、调试方法1.参数调试参数调试是伺服系统调试中重要的一项任务。
通过调整伺服系统的参数,可以提高系统的性能和稳定性。
以下是参数调试的步骤:1)了解伺服系统的工作原理和参数意义;2)根据系统的要求,逐个调整参数,并观察系统的响应;3)根据观察结果,继续调整参数,直到满足系统性能和稳定性的要求。
2.反馈回路调试反馈回路是伺服系统中一个重要的部分,负责将电机的实际状态返回给控制器。
调试反馈回路可以提高系统的准确性和响应速度。
以下是反馈回路调试的步骤:1)检查反馈传感器的正确连接;2)根据系统的要求,调整反馈参数;3)测试反馈系统的响应,观察是否满足系统的要求;4)如果响应不满足要求,继续调整反馈参数,直到满足要求为止。
伺服调试一般流程Servo debugging is a crucial process in ensuring the proper functioning of servo systems. It involves a series of steps to identify and resolve any issues that may arise during the operation of the system. The general process of servo debugging can be complex and requires a good understanding of the system as well as technical expertise.伺服调试是确保伺服系统正常运行的关键过程。
它涉及一系列步骤,以识别和解决系统运行过程中可能出现的任何问题。
伺服调试的一般流程可能复杂,需要对系统有良好的理解以及技术专业知识。
The first step in the servo debugging process is to check the connections and wiring of the servo system. This involves inspecting all cables, connectors, and power sources to ensure that everything is properly connected and functioning. Any loose or faulty connections can cause issues with the servo system and need to be addressed before moving on to the next step.伺服调试过程的第一步是检查伺服系统的连接和布线。
伺服驱动器参数设置步骤1.硬件安装:首先,需要将伺服驱动器与伺服电机连接起来。
通常,伺服驱动器和伺服电机之间有多个插座,包括电源插座、信号输入输出插座等。
按照设备说明书,正确连接各个插座。
2.伺服驱动器上电:将伺服驱动器连接到电源,并打开电源开关。
此时,驱动器的电源指示灯应亮起。
3.参数初始化:按照伺服驱动器的说明书,找到参数初始化操作方法。
通常是在控制面板上找到“参数初始化”按钮,按下该按钮进行初始化操作。
4.控制模式设置:伺服驱动器有多种控制模式,如位置控制模式、速度控制模式以及扭矩控制模式等。
根据实际需求,选择合适的控制模式,并进行相应的参数设置。
5.电机参数设置:电机参数设置是伺服驱动器参数设置的关键步骤之一、各个参数的设置值会直接影响到电机运行的性能和运动的准确性。
常见的电机参数有电流限制、速度限制、加速度限制等。
根据实际需求和电机的参数,进行相应的设置。
6.反馈器件参数设置:伺服驱动器通常会连接反馈器件,如编码器、旋转变压器等。
这些反馈器件可以提供电机运行的准确位置和速度信息,从而实现更加精准的控制。
根据实际连接的反馈器件类型,进行相应的参数设置。
7.控制指令设置:伺服驱动器控制指令是通过外部设备或上位机发送的。
根据实际的控制需求,设置相应的控制指令,如启动指令、停止指令、加速指令等。
8.运动参数设置:伺服驱动器控制伺服电机的运动。
运动参数设置包括速度设定、加速度设定、位置设定等。
根据实际控制需求,设置相应的运动参数。
9.参数保存:设置完所有参数后,需要将参数保存到驱动器的存储器中,以便下次使用时可以直接加载已保存的参数。
通常,在参数设置完成后,按下“保存参数”按钮即可保存参数。
10.参数调试:参数设置完成后,需要进行参数调试来验证参数的正确性和合理性。
可以通过发送不同的控制指令,观察伺服电机的运动情况,并根据实际需要进行参数微调。
11.参数优化:根据实际应用需求和控制要求,进一步优化参数设置。
伺服电机的调试步骤1、初始化参数在接线之前,先初始化参数。
在控制卡上:选好控制方式;将PID参数清零;让控制卡上电时默认使能信号关闭;将此状态保存,确保控制卡再次上电时即为此状态。
在伺服电机上:设置控制方式;设置使能由外部控制;编码器信号输出的齿轮比;设置控制信号与电机转速的比例关系。
一般来说,建议使伺服工作中的最大设计转速对应9V的控制电压。
比如,松下是设置1V电压对应的转速,出厂值为500,如果你只准备让电机在1000转以下工作,那么,将这个参数设置为111。
2、接线将控制卡断电,连接控制卡与伺服之间的信号线。
以下的线是必须要接的:控制卡的模拟量输出线、使能信号线、伺服输出的编码器信号线。
复查接线没有错误后,电机和控制卡(以及PC)上电。
此时电机应该不动,而且可以用外力轻松转动,如果不是这样,检查使能信号的设置与接线。
用外力转动电机,检查控制卡是否可以正确检测到电机位置的变化,否则检查编码器信号的接线和设置3、试方向对于一个闭环控制系统,如果反馈信号的方向不正确,后果肯定是灾难性的。
通过控制卡打开伺服的使能信号。
这是伺服应该以一个较低的速度转动,这就是传说中的“零漂”。
一般控制卡上都会有抑制零漂的指令或参数。
使用这个指令或参数,看电机的转速和方向是否可以通过这个指令(参数)控制。
如果不能控制,检查模拟量接线及控制方式的参数设置。
确认给出正数,电机正转,编码器计数增加;给出负数,电机反转转,编码器计数减小。
如果电机带有负载,行程有限,不要采用这种方式。
测试不要给过大的电压,建议在1V以下。
如果方向不一致,可以修改控制卡或电机上的参数,使其一致。
4、抑制零漂在闭环控制过程中,零漂的存在会对控制效果有一定的影响,最好将其抑制住。
使用控制卡或伺服上抑制零飘的参数,仔细调整,使电机的转速趋近于零。
由于零漂本身也有一定的随机性,所以,不必要求电机转速绝对为零。
5、建立闭环控制再次通过控制卡将伺服使能信号放开,在控制卡上输入一个较小的比例增益,至于多大算较小,这只能凭感觉了,如果实在不放心,就输入控制卡能允许的最小值。
伺服系统简易调试说明⼀.确定驱动器型号⼆.伺服系统接线(驱动器→电机→油泵)1. 驱动器(1)功率7.5KW~15KW:(2)功率18.5KW~30KW:(3)功率37KW~75KW:因内置制动电阻,故⽆需外线连接。
其余端⼦与上述接法相同。
2. 电机3.油泵(压⼒传感器)三.驱动器主板接线注:22、23、24为CAN通讯端⼦,在有并泵情况下才需要使⽤。
详情请阅读完整说明书。
四.驱动器调试在检查接线⽆误后,可进⾏驱动器调试。
请按以下步骤操作:注:通过M/E键(选择参数类型),上下右键(选择具体参数),点DATA键查看现时数值,再点DATA键进⾏修改。
数值闪动代表正在选择修改该数值,可按右键选择修改位置。
修改后再点DATA键保存,此时数值静⽌不动。
如⽆法进⾏操作,可输⼊OP1=2637、OP8=0000进⾏解锁,再做操作。
调试前请先对油泵进⾏排⽓操作。
①待机状态:设置参数前需先断开使能,并按⼀下STOP键。
②初次化:先修改OP4=0进⾏复位。
然后再修改OP4=100。
③设置电机参数:根据电机铭牌参数,设置P4.01-P4.06参数。
④设置系统参数:P2.09(电机允许最⼤转速)、P2.10(系统允许最⼤压⼒值)。
⑤⾃学习:分别修改OP3=3、OP3=1、OP3=0进⾏⾃学习。
注:⾃学习通过后,会闪过Er---表⽰通过。
⑥判断转向:在⾃学习通过后,修改0P6=5。
按住上键,若连轴器转动⽅向与油泵标识箭头⽅向⼀致则为正转。
若为反转,则互换驱动器UVW三相其中两相的位置,再重新⾃学习即可。
⑦上述步骤完成后,可通过上位机给予指令测试动作。
伺服控制系统的参数调试方法伺服控制系统是一种常用的自动控制系统,广泛应用于工业生产和机械设备中。
参数调试是确保伺服控制系统正常运行的关键环节。
本文将介绍一种常用的伺服控制系统参数调试方法,帮助读者更好地理解和应用于实际工作中。
一、理论基础在进行伺服控制系统参数调试之前,我们首先需要了解一些基本的理论知识。
1. 伺服控制系统概述伺服控制系统是一种闭环控制系统,由伺服驱动器、伺服电机和反馈装置组成。
其工作原理是通过将反馈信号与设定值进行比较,计算并调整输出信号,使得反馈信号能够与设定值达到一致。
2. 参数调试的重要性伺服控制系统的参数调试是确保系统性能稳定的关键步骤。
合理调试参数可以使系统响应速度更快、稳定性更高,提高系统的性能和运行效率。
二、参数调试方法下面是一种常用的伺服控制系统参数调试方法,供参考。
1. 初始参数设定首先,我们需要根据系统要求和设备特性进行初始参数设定。
一般来说,涉及到的参数主要包括比例增益、积分时间、洛伦兹滤波器等。
2. 振荡法调试比例增益比例增益是伺服控制系统中最重要的参数之一。
可以通过振荡法来调试比例增益。
振荡法调试的步骤如下:(1) 将伺服系统设为位置控制模式,并将比例增益设为较小的值。
(2) 在设定值位置上施加一个跳变的阶跃信号,观察系统响应的振荡情况。
(3) 根据振荡的幅值和周期,逐步增大比例增益,直到出现稳定的系统响应。
3. 调试积分时间在一般情况下,比例增益和积分时间是密切相关的。
在调试比例增益的基础上,我们可以通过调试积分时间来进一步优化系统的性能。
调试积分时间的步骤如下:(1) 将伺服系统设为速度控制模式。
(2) 在设定值速度上施加一个跳变的阶跃信号,观察系统响应的过程。
(3) 根据系统的超调量和调整时间,逐步增大积分时间,直到系统的响应达到理想状态。
4. 调试其他参数除了比例增益和积分时间外,还可以根据实际需求调试其他参数,如洛伦兹滤波器的参数、闭环带宽等。
伺服驱动器参数设置步骤设置伺服驱动器的参数是确保伺服系统正常运行的重要步骤。
以下是一个常用的伺服驱动器参数设置步骤,包括检查硬件接线、调整控制器参数、配置运动参数、调试和测试等。
1.检查硬件接线首先,要确保所有电缆连接正确,包括驱动器与电源的连接、驱动器与控制器的连接、驱动器与伺服电机的连接等。
确保所有的接线牢固可靠,没有松动或短路等问题。
2.调整控制器参数接下来,需要根据厂家提供的手册或技术指导调整控制器的参数。
通常,这些参数包括控制模式、进给倍率、加速度、减速度、使能信号等。
根据具体应用需求,设置合适的参数值。
3.配置运动参数接下来,需要配置伺服驱动器的运动参数。
例如,可以设置驱动器的速度、位置和力矩控制参数。
根据应用的具体需求,可以进一步设置限位保护、过载保护、硬件插补等功能。
4.设置位置参数如果应用需要定位控制,需要设置位置参数。
首先,根据工作台的行程范围,设置好工作台的原点位置。
然后,根据具体需求,设置位置误差补偿、运动速度、加速度和减速度等参数。
5.调试和测试设置完参数后,需要进行调试和测试。
首先,可以使用示教盒或界面软件对驱动器进行手动控制,观察驱动器的运动状态和响应。
可以逐步测试正向运动、反向运动、加速度和减速度控制等功能是否正常。
6.优化参数根据实际应用需求,可能需要进一步优化参数。
例如,可以通过改变速度曲线、加速度曲线、PID参数等来优化系统的性能,提高控制精度和效率。
7.参数保存和备份经过测试和优化后,需要将参数保存在伺服驱动器中,并备份到其他存储介质,以备将来需要调整或更换伺服驱动器时使用。
总结:设置伺服驱动器的参数是确保伺服系统正常运行的重要步骤。
通过检查硬件接线、调整控制器参数、配置运动参数、调试和测试等,可以确保伺服驱动器以准确、高效和安全的方式工作。
不同的应用会有不同的参数设置需求,因此,根据具体应用需求,可能需要进一步优化参数,以达到更好的控制效果。
在设置完参数后,一定要将参数保存并备份,以备将来需要调整或更换伺服驱动器时使用。