【流程管理)人事资料建档流程
- 格式:doc
- 大小:1.08 MB
- 文档页数:12
资料共享。
4.2 员工人事档案管理
4.2.1 行政人事部负责管理(建立、接转、保存、整理)员工的人事档案。
4.2.2 行政人事部一般情况在员工试用期满,办理员工档案转入事宜。
4.2.3 员工合法终止/解除劳动合同时,由各相关部门负责人在" 终止/解除劳动关系手续清单" 上签字,确认无遗留问题;
4.2.4查阅员工人事档案应经行政人事部经理批准,并办理登记手续。
档案管理人员和查阅者不得私自增删、涂改、泄露档案材料内容。
4.3员工管理档案的管理
4.3.1 “员工管理档案”是公司为每个员工建立的内部管理档案。
包括该员工的有关招聘、录用、合同、考核、薪资、福利、奖惩、培训等材料。
建立此档案旨在方便内部管理;
4.3.2员工管理档案自员工到岗之日建立,每人一份,按进公司时间归类。
员工终止/ 解除劳动关系时,应归进员工人事档案的材料归入人事档案,员工管理档案封存;
4.3.3员工管理档案中保存应聘录用、劳动合同、薪酬福利(休假、医疗、工伤、教育培训等)、奖惩、考核、体检等所有材料的原件,行政人事部指派专人负责管理;
4.3.4员工管理档案中不应包含秘密内容,行政人事部员工、各部门负责人可根据工作需要查阅有关员工的管理档案。
任何人员不得私自更改管理档案内容;
4.3.5员工管理档案仅供公司内部使用。
人事档案管理流程人事档案管理是企业组织中非常重要且基础的管理工作之一。
它涉及到员工个人信息的收集、归档、保存和利用,对于企业的运营和管理有着重要的影响。
一个完善的人事档案管理流程能够有效保障员工个人信息的安全性和机密性,同时也能够提高管理的效率和规范性。
首先,人事档案管理流程的第一步是员工个人信息的收集。
在员工入职时,人力资源部门需要向员工索取相应的个人信息,其中包括但不限于身份证件、学历证书、工作经历、健康体检报告等。
这些信息将构成员工的档案,是企业对员工进行管理和评价的重要依据。
在收集员工个人信息时,要确保信息的真实性和完整性,避免信息录入不准确或缺失。
其次,人事档案管理流程的第二步是档案的归档和组织。
收集到员工个人信息后,人力资源部门需要对这些信息进行分类和整理,建立员工档案。
通常情况下,员工档案包括个人基本信息、入职申请表、合同和协议、绩效评价、培训记录、离职手续等。
这些信息需要以文件或电子形式进行保存,并按照一定的管理制度进行归档和组织,以便随时查阅和利用。
第三,人事档案管理流程的第三步是档案的保管和保密。
员工个人信息的保密是人事档案管理工作的核心内容之一。
企业必须建立起严格的档案保管制度和管理流程,确保员工个人信息不被泄露或滥用。
只有经过授权的人员才能查阅和修改员工档案,其他人员不得擅自使用档案信息。
同时,在档案的保存过程中,要时刻注意信息的备份和防灾措施,以防信息丢失或损坏。
最后,人事档案管理流程的第四步是档案的利用和管理。
员工档案并不是无用之物,它们对于企业的管理和运营有着重要的参考价值。
通过对员工档案的分析和利用,企业可以更好地了解员工的工作表现和发展需求,从而制定更合理的人才管理策略和培训计划。
同时,员工档案还可以作为企业应对法律纠纷和劳动争议的重要依据。
总之,一个完善的人事档案管理流程能够有效保障员工个人信息的安全性和机密性,提高管理的效率和规范性,为企业的发展和稳定奠定良好的基础。
一、目的为确保单位人事档案的机密性、完整性和准确性,提高人事档案管理水平,便于档案资料的使用和管理,特制定本制度及流程。
二、适用范围本制度适用于单位所有员工的档案管理,包括在职、离职、退休等人员的档案。
三、管理职责1. 人事部负责制定、实施和监督本制度及流程的执行。
2. 各部门负责人负责本部门员工的档案管理工作,确保档案资料的完整性和准确性。
3. 档案管理员负责档案的收集、整理、归档、借阅、销毁等工作。
四、管理内容及流程1. 档案收集(1)员工入职时,档案管理员收集员工的基本信息、学历、资格证书等相关资料。
(2)员工离职时,档案管理员收集员工离职证明、离职交接清单等相关资料。
2. 档案整理(1)按照档案类别对收集到的资料进行分类整理。
(2)对档案资料进行编号、登记,确保档案的有序管理。
3. 档案归档(1)按照档案类别将整理好的资料归档。
(2)定期对档案进行清点,确保档案的完整性。
4. 档案借阅(1)员工需查阅个人档案时,应填写《档案借阅申请表》,经部门负责人批准后,由档案管理员办理借阅手续。
(2)借阅档案时,需填写《档案借阅登记表》,并注明借阅目的、归还日期等。
5. 档案销毁(1)离职员工的档案,在办理完毕离职手续后,由档案管理员按照规定进行销毁。
(2)档案销毁前,需经部门负责人和人事部审核,确保无遗漏。
五、档案保密1. 档案资料属机密文件,严禁泄露给无关人员。
2. 档案管理员需加强保密意识,严格执行保密制度。
3. 借阅档案时,借阅人需遵守保密规定,不得将档案资料外传。
六、附则1. 本制度及流程由人事部负责解释和修订。
2. 本制度及流程自发布之日起执行。
3. 各部门和个人应严格按照本制度及流程执行,确保人事档案管理的规范化和科学化。
公司人事档案如何建立为确保人事档案的机密性,为人事决策提供信息和依据,公司人事部制定了人事档案相关管理规定。
以下是小编为你整理的公司人事档案如何建立,希望能帮到你。
第一章人事流程一、招聘标准l 公司对招聘员工本着精简原则,可聘可不聘者坚决不聘,无才无德者坚决不聘,有才无德者坚决不聘,真正做到任人唯贤,量才录用,按需录用。
2公司招聘员工的主要原则,乃视其对该职位是否合适而定,并以该职位的岗位责任书为考核的原则。
二、招聘计划l 各部门需添置人员,需由部门经理填写"招聘申请表"交至管理部,由管理部根据公司有关组织结构规定及人事管理制度制定相应的招聘计划,确定招聘的途径、费用、形式等后,报总经理审批。
三、招聘实施l 招聘计划经总经理批准后,由管理部安排实施。
(收集应聘人员资料、指定面试人员、安排面试时间、地点及确定面试结果)四、面试流程1应聘人员由管理部进行第一次面试,面试人员将从个人性格、个人能力、个人素质等各方面对应聘人员进行评定,在"面试评估表"上做好相应的记录并确定第一次面试结果。
2第一次面试结果分为:回绝、推荐给部门进行第二次面试、其他三项。
推荐给部门进行第二次面试的应聘人员将由部门经理对其进行第二次面试。
面试人员将从工作经验、工作态度、工作技能及专业知识等方面对应聘人员进行评定,面试评估表"上做好相应的记录并确定第二次面试结果。
3第二次面试结果分为:回绝、可以录用、其他三项。
经由总经理根据两次面试情况挑选出应聘人员进行第三次面试并最终确定录用人员。
4对于未被录用的应聘人员资料将由管理部负责录入公司人才信息库并归档。
五、录用、报到l 经总经理批准录用人员,由管理部统一通知其报到及需携带材料.。
2新员工应先至管理部报到,按照"员工到任流程表"办理有关手续。
六、转正l 试用期规定:试用过程是公司招聘人员的必要环节。
自高层管理人员到一般工作人员无一免之。
人事档案管理工作流程
一、履历材料
二、自传材料
三、鉴定、考核、考察材料
四、学历和评聘专业技术职务材料五、政治历史审查材料六、入党入团材料
七、奖励材料
八、处分材料
九、任免、工资、退休等材料
十、其他供参考材料
一、在职教职工
二、离休人员
三、退休人员
四、死亡人员
五、滞留档案人员
六、聘任、合同人员
接收档案
接收档案登记
审核、鉴别
应归档材料
整理
案卷分类编号
计算机所引、人工索引
入库排架
库内案卷分类
查、借阅档案
填写查(借)阅档
案审批表,相关部
门领导审批
办理查、借阅登记手续
接收材料
接收材料登记
不应归档材料鉴别
登记、退还个人、销毁
分类归档
去铁钉
修补纸张
分类编目
编页码
整理
填写(打印)卷内目录
装订
装入档案袋
档案转递
整理、密封档案
填写转递档案通知
填写转移登记表
办理档案转递手续
根据查阅者要求调出档案
档案名册销号。
人事档案管理流程一、概述人事档案管理是企业重要的人力资源管理内容之一,是对企业人力资源资产的一种管理手段,对企业人力资源管理具有重要的意义。
本文档将详细介绍人事档案管理流程的具体步骤。
二、人事档案管理流程1. 档案建档公司员工入职后,需要进行档案建档工作。
主要包括以下几个步骤:•相关资料收集:员工个人信息、证件、学历、工作经历、资格证书、奖惩情况等资料。
•档案制作:将收集到的资料制作成电子或纸质档案。
•档案归档:将档案归档至人事档案管理系统或人事档案柜,进行编号、分类、盖章等处理。
•档案保管:将档案放置到专门的档案室或库房进行保管。
2. 档案查询公司员工需要查询自己的档案时,可以向人事部门提出申请。
在申请档案查询之前,需要完成以下几个步骤:•填写档案借阅申请表:员工需要填写档案借阅申请表,并注明需要查询的档案资料。
•提交申请书:员工需要向人事部门提交填好的申请书,并进行申请书审核。
•借阅档案:在审核通过后,员工可以前往档案室或库房借阅档案,并按照相关规定进行浏览或复制。
3. 档案变更档案变更是指员工个人档案中出现的各类信息需要进行更新或变更的情况。
主要包括以下几个步骤:•信息更新:员工发生变动时,公司人事部门需要及时更新员工个人资料并进行档案修改。
•证件变更:员工需要进行证件变更时,公司人事部门需要进行相应的档案变更。
•出生证明、结婚证等档案证明:员工需要提供出生证明、结婚证等档案证明时,公司人事部门需要及时出具相关证明文件。
4. 档案销毁档案销毁是指员工离职或其他情况下,不需要再保留其个人档案时,进行的档案销毁处理。
主要包括以下几个步骤:•先行决策:在进行档案销毁之前,需要进行先行决策,确定档案销毁的可行性。
•备案存档:对已销毁的档案进行备案存档,并注明销毁时间、销毁原因等信息。
•原件销毁:按照企业相关规定进行档案销毁处理,并生成销毁证明。
三、总结人事档案管理流程是企业人力资源管理中不可或缺的重要内容之一。
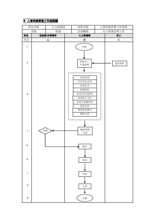
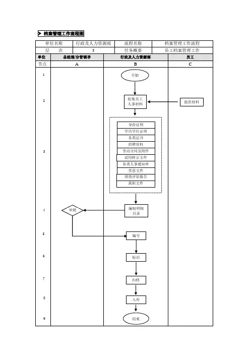
人事档案管理工作流程图福建利翔物业文化传播有限公司层次单位总经理 /分管领导节点A123审批45678行政及人力资源部流程名称档案管理工作流程3任务概要员工档案管理工作行政及人力资源部员工B C开始提供材料收集员工人事材料身份证明学历学位证明各类证书招聘资料劳动合同及附件试用转正文件各类人事通知单奖惩文件绩效评估报告离职文件编制明细目录编号标识归档入库9结束任务名称材料收集档案编号标识档案归档入库档案管理工作标准节点任务程序、重点及标准时限程序由行政及人力资源部建立公司员工的人事档案,档案材B2料包括:个人简历、培训经历、资格认证证书、考核奖每月 1次惩材料、录用材料、其他材料等C2员工应积极提供材料即时统一装订 1 个工作日重点材料收集标准真实、严密、完整程序B4编制档案内容明细目录,形成人事档案目录一览表 1 个工作日A4报上级审核 1 个工作日将档案编号,并做出标识 1 个工作日重点档案编号,并做出标识标准准确、合格、严密程序行政及人力资源部应定期或不定期收集员工资料每月 1次审核、分类、整理后查看是否符合要求即时B7按资料内容进行归档 1 个工作日B8在档案明细表上补填相应内容,将档案入库 1 个工作日重点档案归档入库标准准确、合格、严密档案管理制度相关资料1《个人简历》2、《相关材料》。
员工档案管理工作流程一、档案建立阶段1.员工入职2.档案编制根据收集到的员工信息,人力资源部门会为每个员工编制档案。
档案一般包括个人基本信息、教育背景、工作经历、任职资格等。
3.档案存储编制完成的员工档案需要存储在安全可靠的地方,可以选择电子档案或纸质档案。
一般来说,电子档案更易于管理和查询,减少了存储空间和管理工作的压力。
但同时也需要做好数据备份与安全保密工作。
二、档案维护阶段1.档案更新员工档案需要定期更新,包括员工职务变动、工资调整、获奖荣誉等情况。
人力资源部门需要及时收集相关信息,并更新到员工档案中。
2.档案存储与整理为了方便管理和保护档案的安全,人力资源部门需要对员工档案进行存储和整理。
电子档案的管理需要做好权限控制,确保只有授权人员才能查看和操作档案。
纸质档案的管理则需要建立完善的存储体系和索引系统。
3.档案查询与使用员工档案的查询主要是为了提供对员工信息的了解和参考,如员工背景调查、晋升评定等。
不同部门之间的沟通和协作也需要通过员工档案的查询来进行。
同时,人力资源部门也需要保护员工个人隐私,控制档案的使用权限。
三、档案归档阶段1.档案归档员工离职时,档案需要归档。
归档的目的是为了保留员工的工作履历和证明文件,以备将来的需要。
归档过程中,人力资源部门需要对档案进行备份和存储,并将归档信息记录在员工离职手续中。
2.档案销毁根据公司的规定和法律法规的要求,员工档案需要在一定时间后进行销毁处理。
销毁前,需要对档案进行清理和审查,确保无关信息和敏感信息的安全性。
四、档案保密与安全阶段1.保密意识培训人力资源部门需要对相关员工进行保密意识培训,加强对员工档案保密的重要性的宣传和教育,确保档案的安全性和保密性。
2.访问权限控制人力资源部门需要建立档案的访问权限控制机制,确保只有经过授权的人员才能查询和修改档案。
同时,还需要定期审查权限,及时撤销不需要访问档案的人员的权限。
3.数据备份与恢复对于电子档案,人力资源部门需要定期对数据进行备份,以防数据丢失或损坏。
建档建册流程建档建册是一项重要的工作,它有助于组织和管理信息,提高工作效率。
建档建册流程包括以下几个步骤:一、确定建档建册的目的和范围在进行建档建册之前,首先需要明确建档建册的目的和范围。
建档建册可以用于记录项目信息、员工档案、财务数据等各种信息。
确定了建档建册的目的和范围后,就可以进入下一步。
二、收集相关信息收集相关信息是建档建册的核心内容。
根据建档建册的目的和范围,收集所需的信息。
可以通过与相关人员交流、查阅文件和资料等方式来获取信息。
收集到的信息应当准确无误,避免歧义或误导的信息。
三、整理和分类信息在收集到相关信息后,需要对信息进行整理和分类。
根据不同的分类标准,将信息归类,建立相应的档案和册册。
可以使用文件夹、标签、数据库等方式进行整理和分类。
四、建立档案和册册在整理和分类信息的基础上,可以开始建立档案和册册。
根据不同的需求,选择合适的形式和工具进行建档建册。
可以使用电子档案、纸质档案等方式建立档案,可以使用电子表格、数据库等方式建立册册。
五、归档和备份建立档案和册册后,需要进行归档和备份工作。
归档是将档案和册册按照一定的顺序整理放置,以方便查找和管理。
备份是将档案和册册的副本保存在其他地方,以防止数据丢失或损坏。
六、定期更新和维护建档建册并不是一次性的工作,而是一个持续不断的过程。
定期更新和维护档案和册册,可以保证信息的准确性和完整性。
同时,也可以根据需求对档案和册册进行调整和优化。
建档建册流程的实施有助于提高工作效率和信息管理水平。
通过明确目的和范围、收集信息、整理分类、建立档案和册册、归档备份以及定期更新和维护等步骤,可以有效地组织和管理信息。
建档建册的流程需要根据实际情况进行调整和优化,以适应不同的需求和环境。
建档建册是一项细致而繁琐的工作,但它对于组织和管理信息至关重要。
只有建立了完善的档案和册册,才能更好地进行信息查询、分析和应用。
因此,建档建册流程的正确实施对于提高工作效率和信息管理水平具有重要意义。
建档的流程建档是指将重要的档案整理、保存、管理和利用的过程。
建档的目的是为了提高工作效率、保证数据安全、方便查找和使用档案,下面是一个常见的建档流程。
一、确定文件建档任务首先,确定需要建档的文件范围和种类。
在建档的初期,需要制定一个详细的计划,明确目标以及时间计划。
二、文件整理和分类文件整理是指对文件进行检查、整理和分类的过程。
首先,需要将文件按照一定的标准进行分类,如按照部门、时间、性质等进行分类。
然后,对每个分类下的文件进行整理,清除垃圾文件、重复文件和无关文件。
三、文件编号和标识文件编号是建档的重要环节,它可以方便文件的查找和归档。
在文件编号时,需要考虑到文件的特点和分类,一般可以根据不同的分类给予不同的编号规则。
同时,还要给文件加上标识,如标签、封面和封底等,以便于识别和归置。
四、制定建档规范和手册建档规范和手册是建档工作的依据和参考,它包括文件的分类依据、文件编号规则、建档流程和建档标准等内容。
建档规范和手册需要在建档的初期进行编制和制定,并定期进行修订和完善。
五、建立档案室和档案柜档案室是建档工作的重要场所,需要确保档案室的环境符合相关的要求,如温度、湿度和通风等。
同时,需要购置合适的档案柜和文件盒等设备,以便于存放和管理文件。
六、文件归档和存储文件归档是将整理好的文件放置到相应的位置的过程。
在归档时,需要参照文件的编号和标识,将文件放置到对应的档案柜或文件盒中,并记录相关的信息,如归档日期、归档人员和归档位置等。
七、建立档案目录和索引档案目录和索引是建档工作的重要工具,它可以方便用户查找和利用文件。
在建立档案目录和索引时,需要根据文件的分类和编号,建立相应的目录和索引表,并定期更新和维护。
八、建档备份和安全防护建档备份是防止文件丢失和损坏的重要手段。
在建档备份时,可以采用多种方式,如云存储、硬盘备份和纸质备份等,以确保文件的安全和完整。
九、建档监督和评估建档监督和评估是建档工作的重要环节,它可以有效地促使建档工作的落实和改进。
人事档案建档流程人事档案建档是企业日常人事管理工作的一个重要环节,它需要严格按照流程规范操作,以保障企业信息的安全性和准确性。
本文将介绍人事档案建档的流程。
一、前期准备工作1.确定建档人员:企业人事档案建档需要有专人负责,这个人可以是企业的人事专员或是管理员。
建档人员需要了解建档的相关知识,有一定的备案处理经验和规范意识。
2.确定建档资料:建档人员需要在制定建档流程前,先确定需要建档的人员资料,将需要留存的信息列出清单,包括个人基本信息、照片、学历证书、工作履历、劳动合同等。
3.确定档案存放位置:档案存放位置需要选择一个安全、干燥、通风、防火、防潮、防盗的地方,例如专门的人事部门或人事管理室。
同时要规范企业内部档案管理制度,制定档案归还、维护等各项规定。
二、建档流程1.收集资料:企业需要对新员工进行资料收集,包括个人基本信息、学历证书、籍贯、身份证明、离职手续、劳动合同等,资料收集完成后由建档人员进行核查和整理,放入工作台存储盒子内,统一编号。
2.建档:收集完毕的员工资料将根据企业规定进行建档,建档人员先核对资料的完整性和准确性,确认无误后将材料按照档案编号依次装订好,归档。
3.档案保管:建档完成后,建档人员需要在电子人事系统中输入相应信息,并将建档信息通过电子邮件或内部通知的方式通知有关人员,保管好归档的员工资料,按照规范进行定期维护和更新。
4.档案使用:企业人事档案建档的资料是为内部员工服务的,相关人员需要提前预约使用档案,准备好资料,按照公司规定填写申请表,由上级领导或人事管理人员批准后进行查阅,未经批准的人员不得查阅或取走档案。
5.档案更新:员工信息随时间的推移,会发生变动,例如调入其他部门、职位变动、升职等,建档人员需要及时更新档案,确保档案信息的准确性和及时性。
三、归还、销毁1.归还:员工离职时,企业需要进行资料归还,归还人员宜提前向离职员工进行沟通。
离职员工本人需前往人事部门进行归还,企业需要进行档案的核查、归还有关材料,带归档人员进行档案交接确认。
人事档案管理流程人事档案管理是企业人力资源管理中的重要环节,它关乎着员工的个人信息记录、企业对员工的了解与评估以及企业人力资源战略的实施等多方面内容。
一套完善且合理的人事档案管理流程能够确保档案信息的准确性、完整性和保密性,提高人力资源管理的效率。
一、档案建立当新员工入职时,人事档案管理流程的第一步便启动了。
首先要收集员工的基本信息,这包括员工的姓名、性别、出生日期、民族、身份证号码、家庭住址、联系方式等。
这些信息是最基础也是最关键的部分,如同大厦的基石,为后续的管理提供了必要的标识。
除了基本信息,还需要收集员工的学历证明材料,如毕业证书、学位证书的复印件。
学历是衡量员工知识水平的重要指标,在企业安排员工岗位、提供培训机会等方面有着重要的参考价值。
工作经历相关材料也不可或缺,如原单位的离职证明、工作成果介绍等。
这些材料能够让企业快速了解员工的工作能力和职业发展轨迹。
招聘过程中的相关材料,例如应聘登记表、面试评价表等也应归入人事档案。
这些材料反映了员工在应聘过程中的表现和企业对其的初步评估,对后续的员工评价和发展规划有着一定的参考意义。
在收集完所有必要的材料后,要为员工建立一个独立的人事档案,档案编号需要具有唯一性,方便日后的查询与管理。
二、档案整理建立档案之后便是档案整理工作。
人事档案的整理不是简单的材料堆砌,而是要按照一定的规则和逻辑进行分类排序。
通常可以按照材料的性质进行分类,例如将个人基本信息类材料放在一起,学历学位类材料归为一组,工作经历相关材料集中整理等。
在每一类材料内部,也要按照时间顺序或者重要程度进行排序。
例如学历材料可以按照从低学历到高学历的顺序排列,工作经历材料则按照工作时间先后顺序排列。
这样做的好处是方便查找和快速获取所需信息。
整理好的档案材料需要装入专门的档案袋或者档案盒中,并在外部标明员工的姓名、档案编号、部门等基本信息。
要建立档案目录,档案目录就像是档案的导航图。
目录中应详细列出档案内各类材料的名称、日期、页码等信息。
人事档案管理制度流程人事档案管理制度第一章总则第一条:为规范人事档案管理工作,提高档案管理水平,有效的保护和利用档案,使之科学化、规范化、制度化,在企业经营活动中充分发挥人事档案的作用,更好地为公司各项工作服务,特制定本管理制度。
1)收集、鉴别和整理档案材料;2)办理档案的查阅、借阅和转递手续;3)登记职务及工资变动情况;4)为有关部门提供档案信息情况及有关材料;5)做好人事档案的安全、保密、保护工作;6)办理人事档案有关的其他事宜。
第五条:人事档案管理人员工作要求和职责(一)坚持四项基本原则,贯彻党的路线、方针、政策,认真学习马列主义、毛泽东思想和邓小平理论,努力提高政治思想水平;(二)热爱本职工作,忠于职守,刻苦钻研业务,熟练掌握员工人事档案管理工作的专业知识,不断提高业务水平和工作能力;(三)严格执行保密守则,不向无关人员泄露员工人事档案内容;(四)贯彻执行国家及上级主管部门档案管理工作的方针、政策及有关条例,专业技术职务评定的考核、审批材料,毕业生登记表,选拔留学生审查登记表,创造发明、科研成果、著作及有重大影响的论文目录;培训内容、考试成绩以及“培训证书”复印件等材料;第五类政审材料:指入党入团、应征入伍等各类政审材料及更改民族、年龄、国籍、参加工作时间的组织审查意见,上级批复以及所依据的证明材料;第六类参加及退出中国共产党、共青团及民主党派的材料:入党入团志愿书、申请书、转正报告,取消预备党员及党员资格的材料,退团材料,中国共产党党员登记表,加入民主党派的有关材料;第七类奖励材料:包括科技、业务及政治等方面的奖励材料;第八类处分材料:处分决定、查证核实报告、上级批复及个人提供的有关材料,法院刑事审判工作中形成的判决书等材料;第九类录用、任免、聘用(含劳动合同书)、复员退伍、转业工资、保险福利第四章档案的整理第八条:整理员工人事档案,必须做到档案材料认真鉴别,分类准确,材料齐全,编排有序,目录清楚,装订整齐,达到每卷档案完整、真实、条理、精练、实用的要求。
泰州人才中心档案建档流程
泰州人才中心档案建档流程一般包括以下步骤:
1. 提交申请材料:申请人需准备个人材料,如身份证、学历证书、工作经历证明等,然后将申请材料提交给泰州人才中心。
2. 材料审核:人才中心会对申请人提交的材料进行审核,确认是否符合建档条件。
3. 填写相关表格:审核通过后,申请人需要填写相关的档案建档表格,包括个人基本信息、教育经历、工作经历等内容。
4. 提交照片:申请人需要提交一张近期的证件照。
5. 录入信息:人才中心工作人员将申请人的基本信息、教育经历、工作经历等录入系统,并生成档案编号。
6. 确认信息:申请人需与人才中心进行信息确认,确保录入信息准确无误。
7. 完成建档:确认信息后,人才中心将完成申请人的档案建档工作,并颁发人才引进档案证。
以上为一般流程,具体操作可能根据泰州人才中心的规定有所差异,建议申请人根据实际情况向人才中心咨询。
(流程管理)人事资料建档
流程
人事档案建档流程
迁记录注意事项:
1、 姓名、出生年月日、联络1、年龄分析表。
1、奖惩升迁公告后,即
电话、地址、血型。
2、性别分析表。
建档。
2、 紧急联络人(亲戚、朋友)
3、学历分析表。
2、离职壹年之上
者,档
的电话、地址。
4、员工籍贯分析表。
案自动废除。
3、按部门整理人事紧急联络表。
5、人均工资分析表。
3、人员调职须填写调职申
6、职阶(职务)分析表。
请单,批准后,再录入。
本人第壹、二项资料填写皆是属实,如发现有不实处,愿意接受公司任何处置,绝无异议特此声。
填表人:初填日期:年月日
人事异动申请书
人事令核定等级职务晋升发布如次:公告日:年月日。