行政强制措施流程图
- 格式:doc
- 大小:33.50 KB
- 文档页数:1
77 / 2
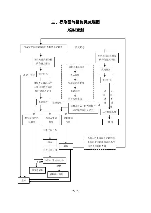
三、行政强制措施类流程图
.临时查封
情况紧急
通知当事人到场
决定不查封 当场告知
自检查之日起三个 听取陈述和申辩
工作日内制作送达
临时查封决定书 实施查封 决 决
定 定
制作现场笔录 查 不
查封过程 封 查
封
三个工作日内
当事人仍未消除火灾隐患的, 公安机关消防机构可以再次 依法予以临时查封 三个工作日内
不合格 合格
检查发现应当实施临时查封的火灾隐患 制作、送达决定书
实施查封 解除临时查封 口头报请公安消防机构负责人同意 立即解除临时集体研究 当事人申请解除 向公安机关消防机
构负责人报告
集体研究 实施查封 检查发现隐患已消除 建档
不同意解除 查封期限届满 检查
临时查封后小时内制作并送达临时查封决定书 解除
建档
78 / 2
.行政强制执行类流程图
执行期届满 情况紧急,当事人 不能消除或拆除的
当事人履行行政决定 实施代履行,通知当事人
仍 不
履 行
行 政
决 定
中止执行情形消失
不履行协议
中止执行满三年 达成协议
有终结执 可以委托第三人代履行 行的情形
当事人有《中华人民共和国消防法》第六十
条第一款第三、四、五、六项规定的消防安全违法行为,经责令改正拒不改正 制作、送达代履行决定书 听取陈述和申辩 催告 实施代履行 (催告三日后)
通知当事人到场 实施强制执行 制作现场笔录 或执行文书 结案建档
中止执行 按协议执行 终结执行。
新乡市公安局行政强制流程图[596](当场盘查、留置盘问有违法犯罪嫌疑的人员)(约束对严重危害公共安全或者他人人身安全的精神病人)(约束在醉酒状态中,对本人有危险或者者对他人的安全有威胁的醉酒的人到酒醒)(传唤、强制传唤违反治安管理的人)(解散、强行驱散集会、游行、示威,对未依照本规定申请或者者申请未获得许可的人员强行带离现场)(强行将在本人居住以外的城市发动、组织当地公民的集会、游行、示威的人员遣回原地)(解散、强行驱散集会、游行、示威,将未按照主管机关许可的目的、方式、标语、口号、起止时间、地点、路线进行的人员强行带离现场)(解散、强行驱散集会、游行、示威,将在进行中出现危害公共安全或者严重破坏社会秩序情况的人员强行带离现场)(对卖淫、嫖宿暗娼与介绍或者者容留卖淫、嫖宿暗娼的人员实行劳动教养)(对赌博或者者为赌博提供条件的人员实行劳动教养)(对制作、复制、出售、出租或者者传播淫书、淫画、淫秽录像或者者其他淫秽物品的人员实行劳动教养)(将非法入境的外国人遣送出境、驱逐出境)(将非法居留的外国人遣送出境、驱逐出境)(强制吸食、注射毒品成瘾的人员戒毒)(对强制戒除后又吸食、注射毒品的人员,实施劳动教养)(强制拆除或者者清除埋压、圈占消火栓或者者占用防火间距、堵塞消防通道的建筑物及其设施)(收缴、强制报废上道路行驶的拼装机动车)(收缴、强制报废上道路行驶的已达报废标准的机动车)(强制拆除、收缴非法安装的警报器、标志灯具)(扣留不按规定投保机动车第三者责任险的机动车)(拖移违反规定停放、临时停车且驾驶人不在现场或者驾驶人虽在现场拒绝立即驶离,妨碍其它车辆、行人通行的机动车)(扣留上道路行驶未放置检验合格标志的机动车)(扣留上道路行驶未放置保险标志的机动车)(扣留未随车携带行驶证、驾驶证的机动车)(扣留公路客运车辆载客超过额定乘员或者载货的机动车至违法状态消除)(扣留机动车载物超过核定载质量或者载客的机动车至违法状态消除)(扣留伪造、变造机动车登记证书的机动车)(扣留伪造、变造机动车号牌的机动车)(扣留伪造、变造机动车行驶证的机动车)(扣留伪造、变造机动车检验合格标志的机动车)(扣留伪造、变造机动车保险标志的机动车)(扣留使用伪造、变造的机动车登记证书的机动车)(扣留使用伪造、变造的机动车号牌的机动车)(扣留使用伪造、变造的机动车行驶证的机动车)(扣留使用伪造、变造的机动车检验合格标志的机动车)(扣留使用伪造、变造的机动车保险标志的机动车)(扣留使用伪造、变造的机动车驾驶证的机动车)(扣留伪造、变造机动车驾驶证的机动车)(扣留使用其他车辆的机动车登记证书的机动车)(扣留使用其他车辆的机动车号牌的机动车)(扣留使用其他车辆的机动车行驶证的机动车)(扣留使用其他车辆的机动车检验合格标志的机动车)(扣留使用其他车辆的机动车保险标志的机动车)(责令或者强制排除道路两侧及隔离带上妨碍安全视距的障碍)(拖移机动车驾驶人饮酒、服用国家管制的精神药品或者麻醉药品仍继续驾驶的机动车)(拖移机动车驾驶人患有妨碍安全驾驶机动车的疾病仍继续驾驶的机动车)(拖移机动车驾驶人过度疲劳仍继续驾驶的机动车)(扣留上道路行驶未悬挂机动车号牌的车辆)(扣留造成交通事故因收集证据或者检验、鉴定需要的车辆)(非机动车驾驶人拒绝同意罚款处罚的,扣留其非机动车)。
质量技术监督行政强制措施流程图质量技术监督行政强制措施流程说明1.质量技术监督部门在办理行政处罚案件中,可以依据法律、法规、规章的规定采取查封、扣押、封存等行政强制措施,采取行政强制措施,应当经质量技术监督部门负责人批准。
1.1经调查,不符合采取行政强制措施的,依法作出其他处理。
1.2经调查,需要采取行政强制措施的,由两名以上行政执法人员实施,出示执法身份证件,通知当事人到场。
当事人到场的,当场告知当事人采取行政强制措施的理由、依据以及当事人依法享有的权利、救济途径,听取当事人的陈述和申辩,制作现场笔录(由当事人和行政执法人员签名或者盖章,当事人拒绝的,在笔录中予以注明),制作并当场交付查封、扣押决定书和清单;当事人不到场的,邀请见证人到场,由见证人和行政执法人员在现场笔录上签名或者盖章。
2.行政机关采取查封、扣押措施后,应当及时查清事实,在法定的期限内作出处理决定。
查封、扣押的期限不得超过三十日;情况复杂的,经行政机关负责人批准,可以延长,但是延长期限不得超过三十日,法律、行政法规另有规定的除外,延长查封、扣押的决定应当及时书面告知当事人,并说明理由。
3.对违法事实清楚,依法应当没收的非法财物予以没收,法律、行政法规规定应当销毁的,依法销毁。
4.对于当事人没有违法行为,查封、扣押的场所、设施或者财物与违法行为无关,行政机关对违法行为已经作出处理决定,不再需要查封、扣押,查封、扣押期限已经届满以及其他不再需要采取查封、扣押措施的情形应当解除查封、扣押的,质量技术监督部门应当作出解除查封、扣押的决定。
解除查封、扣押应当立即退还财物,已将鲜活物品或者其他不易保管的财物拍卖或者变卖的,退还拍卖或者变卖所得款项。
变卖价格明显低于市场价格,给当事人造成损失的,应当给予补偿。
1漯河市交通运输局承办机构依法作出其他处理漯河市交通运输局审查批准行政强制措施(紧急情况需当场实施行政强制措施的,依法补办批准手续) 发现行政相对人有涉嫌违法行为,依法应当采取行政强制措施的情形当事人到场的,告知当事人采取行政强制措施的理由、依据以及当事人依法享有的权利和救济途径当事人不到场的,邀请见证人到场听取并审核当事人的陈述和申辩制作现场笔录,由当事人(或见证人)、执法人员签名或盖章确认,向当事人送达行政强制措施决定书经行政机关负责人审查,采取行政强制措施经行政机关负责人审查,不采取行政强制措施漯河市交通运输局承办机构通知当事人到场,两名以上执法人员出示执法证件限期内查清事实,作出处理决定;情况复杂的经行政机关负责人批准,可以延长,但是延长期限不得超过30日。
法律、行政法规另有规定的除外依法予以没收依法移送有关机关依法解除强制措施 漯河市交通运输局承办机构结案(立卷归档)漯河市交通运输局承办机构实施行政强制措施查封、扣押:交付查封、扣押清单;对物品需要进行检测、检验或者技术鉴定的,应当书面告知当事人起止时间,费用由行政机关负担2不履行执行协议的,恢复强制执行 市交通运输局依法作出行政决定后,当事人在行政机关决定的期限内不履行义务制作催告书,催告当事人履行义务实施加处罚款或者滞纳金,超过三十日 听取当事人陈述申辩,进行记录和复核作出行政强制执行决定,并送达当事人实施强制执行申请法院强制执行依法中止执行依法终结执行达成执行协议依法强制执行结案(立卷归档) 履行协议,执行完毕 中止执行情形消失的,恢复强制执行中止执行满三年未恢复执行的,不再执行 当事人履行义务3 三、行政强制类流程图(加处罚款)加处罚款到期不缴纳罚款的,每日按罚催告执行催告限期执行;并告知不执行将加处罚款的标准送达催告书作出加处罚款决定送达决定书监督当事人执行申请法院强制执进入申请法院强制执行程序请示加处罚款 分管领导审核负责人批准制作决定书。
行政强制事项流程图(行政强制措施——查封、扣押)执法中队认为应实施行政强制措施的。
报执法队领导审批。
情况紧急的当场实施行政强制措施。
24小时内,向执法队领导报告并补办审批手续。
执法队领导认为不应当实施行政强制措施的,立即解除。
同意实施。
执法中队制作并送达查封、扣押法律文书。
期限届满,尚未作出决定的。
发出解除查封、扣押决定法律文书,返还查封、扣押的财物。
查封、扣押期限内做出决定。
情况复杂,需要延长的。
不同意实施。
同意延长,制作并送达延长查封、扣押决定法律文书。
一般情况报执法队领导审批。
不同意延长。
不需延长的。
依法处理。
期限届满。
强制拆除流程图当事人在限期内未自行拆除的,制作《催告书》送达当事人。
当事人放弃陈述、申辩。
《催告书》送达十个工作日后,当事人仍不履行。
申请人民法院强制执行。
制作并送达强制排除决定书。
依法作出要求当事人限期自行拆除违法构筑物、设施妨碍的行政决定。
当事人陈述、申辩,行政机关听取当事人的意见,并进行复核。
此处的“限期”指《限期拆除决定书》上要求当事人履行义务的期限,如公告送达,还应包含公告期60天在内。
说明制作《限期拆除告知书》、《限期拆除决定书》送达当事人,并公告《限期拆除公告》,限期当事人自行排除违法构筑物、设施妨碍。
行政机关有强制执行权行政机关没有有强制执行权实施强制排除,制作现场笔录。
说明决定书应载明:1.当事人的姓名或名称、地址;2.强制执行的理由和依据;3.强制执行的方式和事件;4.申请行政复议或者提起行政诉讼的途径和期限;5.行政机关的名称、印章和日期。
申请人民法院强制执行流程图。