FM调频收音机详细测试方法
- 格式:doc
- 大小:33.00 KB
- 文档页数:2
FM 调频收音的测试方法1.FM频率范围( FM RANGE )要求:频偏:22.5KHZ DEV 调制频率:1KHZ方法:A扭转主机台钮转最低点.B调整RF频率.使收音机得到最强的信号(失真最小)此时的频率为低端C.将台钮至高端,同样的方法得到高端频率D,低端-高端为全频覆盖范围.2 最大灵敏度( MAX SENS )要求:频偏:22.5KHZ DEV,调制频率为:1KHZ,测试频率:90MHZ、98MHZ. 106MHZ。
定义:收音机在最大音量时,输出信号强度达到标准功率时输入信号的强度要求:调制度22.5KHZ,调制频率为1KHZ方法:A.同调(使测试机与RF信号发生器的频率基本一致频率)90MHZ、98MHZ、106KHZ.失真最小B.将音量(VR)最大,变调电平(ATT)值,使毫伏表指标回到(REF O/P)时的dB数就是最大灵敏度3.30DB限噪灵敏度(30DB S\N SENS)方法:同调90MHZ、98MHZ、106MHZ.要求:调制度22.5KHZ 调制频率:1KHZ方法:A. 同调(测试机与RF信号发生器的频率基本一致)频率90MHZ,98MHZ, 106MHZ B首先测出它们的最大灵敏度,增加DB数,将音量调到标准输出,关掉调制度(MOD)C衰减毫伏表VTVM下降的数值刚好为30dB,看指标能否回到标准输出如果没有回到标准输出:,减少电平DB数使它达到如果超过标准输出:增加电平DB数例如:标准输出为0.632V -4DB,电平数为21DB假如衰减30BD刚好在-4DB处,然后ATT值21DB. 21DB就是测试机的限噪灵敏度注意:测试FM的时候.高频信号发生器应连接至到收音机FM天线PCB板,输入端,断开天线拉杆天线,地线则需要接至收音机高频放大的地线,一般为PVC地线.4.中频频率/中频抑制( IF FREQUENCY/IF REJECTION)要求:调制度为22.5KHZ,调制频率为1KHZ。
FM(調頻)收音機的基本原理和各項指標的測試方法FM(調頻)收音機的基本原理和各項指標的測試方法一、FM(調頻)基本原理:調頻(FM)是用音頻信號去調製高頻載波的頻率,使高頻載波的頻率隨信號而有規律的變化,載波的幅度保持不變。
無線電廣播的過程是:首先利用話筒將聲音變成音頻電信號,經音頻放大器放大後送往調製器,對高頻載波信號進行調製,從調製器輸出的調副或調頻信號再經過高頻放大器放大後送到發射天線,將載有聲音“資訊”的無線電波發出。
二、優點:1.抗幹擾能力好2.頻帶寬,音質好3.頻道容量大,解決電臺擁擠問題三、FM 調頻收音( FM ,FREQUENCY MODULATION )的測試項目和方法:1.FM頻率範圍( FM RANGE )要求:頻偏:22.5KHZ DEV 調製頻率:1KHZ方法:A扭轉主機台鈕轉最低點.B調整RF頻率.使收音機得到最強的信號(失真最小)此時的頻率為低端C.將台鈕至高端,同樣的方法得到高端頻率D,低端-高端為全頻覆蓋範圍.2 最大靈敏度( MAX SENS )要求:頻偏:22.5KHZ DEV,調製頻率為:1KHZ,測試頻率:90MHZ、98MHZ. 106MHZ。
定義:收音機在最大音量時,輸出信號強度達到標準功率時輸入信號的強度要求:調製度22.5KHZ,調製頻率為1KHZ方法:A.同調(使測試機與RF信號發生器的頻率基本一致頻率)90MHZ、98MHZ、106KHZ.失真最小B.將音量(VR)最大,變調電平(ATT)值,使毫伏表指標回到(REF O/P)時的dB數就是最大靈敏度3.30DB限噪靈敏度(30DB S\N SENS)方法:同調90MHZ、98MHZ、106MHZ.要求:調製度22.5KHZ 調製頻率:1KHZ方法:A.同調(測試機與RF信號發生器的頻率基本一致)頻率90MHZ,98MHZ, 106MHZB首先測出它們的最大靈敏度,增加DB數,將音量調到標準輸出,關掉調製度(MOD)C衰減毫伏表VTVM下降的數值剛好為30dB,看指標能否回到標準輸出如果沒有回到標準輸出:,減少電平DB數使它達到如果超過標準輸出:增加電平DB數例如:標準輸出為0.632V -4DB,電平數為21DB假如衰減30BD剛好在-4DB處,然後ATT值21DB. 21DB就是測試機的限噪靈敏度注意:測試FM的時候.高頻信號發生器應連接至到收音機FM天線PCB板,輸入端,斷開天線拉杆天線,地線則需要接至收音機高頻放大的地線,一般為PVC地線.4.中頻頻率/中頻抑制( IF FREQUENCY/IF REJECTION)要求:調製度為22.5KHZ,調製頻率為1KHZ。
手机中FM调频性能测试方法简介手机已经成为人们非常重要的通讯工具,相应手机整合的功能也愈来愈多。
目前市面上的手机基本上都支持F M收音机功能,而FM收音机性能则主要是通过接收灵敏度、接收频带宽度、解调输出信噪比、解调输出失真度、接收解调输出幅度等指标来给予衡量,摩尔实验室(MORLAB)特撰此文就FM测试中的几个主要指标的测试方法做个简要介绍:一、测试布置图与使用仪器测试过程中所要用的仪器:1,FM信号发生器(HP 8648B)2,音频分析仪(R&S UPV)另外,在测试灵敏度的时候为了减小外界的干扰,使结果更准确,应尽可能在屏蔽室里测试其灵敏度。
二、测试基本设置信号源连接到手机FM收音机的射频输入端口,音频分析仪连接到手机的音频输出端口,注意屏蔽外界信号的干扰,调节手机音量至最大。
信号源频率设置为收音机的工作频率,这里为了方便说明我们选择了6个频点给予测试信号源FM调制,调制信号为1K Hz,频偏22.5KHz,滤波器设置高通22Hz,低通22KHz。
三、测试步骤1、接收灵敏度灵敏度相对于FM性能指标来说是很重要的一项,因此为了使测试更加准确,灵敏度的测试应尽量选择在屏蔽室里测试,以减小外界的干扰。
●选择音频分析仪THD+N/SINAD模式,测SINAD选项,然后调整信号发生器的输出电帄,当SINAD的值为26dB的时候,此时R F的输出幅度即是接收灵敏度。
●调整信号发生器发射频率与手机工作频率,再重复上一步,既可得到对应频点的灵敏度值,在调整频率的过程中一定要确保信号发生器的发射频率与手机工作频率保持一致。
灵敏度在什么范围内才算合格并没有统一的标准,而是相应的设计厂商根据自身的能力确定一个设计合格标准,比如<-102dBm或者<-105dBm等。
相对来说值越低灵敏度越高。
2、解调输出信噪比●选择音频分析仪THD+N/SINAD模式,测SINAD选项,然后调整信号发生器的输出电帄为-50dBm,此时通过音频分析仪读出来的SINAD值即为输出信噪比。
FM 指标测试方法一、中频频率1、把高频信号发生器频率设为90.1MHZ,频偏22.5KHZ,调制频率1KHZ输入电平100dBU2、把高频信号发生器频率旋转到10.7MH Z,被测机频率不变,然后旋转高频信号发生器发生频率微调到输出最大失真最小,此时高频信号发生器上的频率即为被测机中频频率(左右旋转,幅度不变,可调节VOL来看幅度)二、实用灵敏度1、将高频信号发生器频率设置于90/98/106MHZ,频偏22.5KHZ,调制频率1KHZ电平暂设为20dB2、被测机频率和高频信号发生器频率一致,调节音量至输出电压2V,毫伏表设置在3V档3、关高频信号发生器调制,毫伏表向左转3档,(每转一档为10dB)看指针是否在2V位置,如大于2V,加大输入电平,重新调整音量为2V,如低于2V,则降低电平dB数,重新调整音量为2V,如此多调较多次,准确为止4、调整后的电平即为90/98/106MHZ 频点的实用灵敏度三、最大灵敏度1、将高频信号发生器频率设置于90/98/106MHZ,频偏22.5KHZ,调制频率1KHZ,输入电平暂设为20dB2、被测机频率与高频信号发生器频率一致,VOL 为最大3、下调高频信号发生器电平至被测机输出刚好为2V不往下掉4、此时高频信号发生器电平为90/98/106MHZ 的最大灵敏度四、I.H.F (样机为3%的失真灵敏度)1、高频信号发生器频率设为98MHZ,频偏75KHZ,调制频率1KHZ,电平暂设为20dB,音量为2V2、失真仪打到10%档,调节电平至3%,此时高频信号发生器的dB 数为3%的失真灵敏度五、10% Output Power (失真输出功率)1、高频信号发生器频率设为98MHZ,频偏75KHZ,调制频率1KHZ,输出电平60dB2、被测机频率为98MHZ,调节音量使主机的失真度为10%3、此时输出电压的平方除以负载电阻阻值(P=V2/R)即为主机的失真度为10%(失真仪上的上下档位需打到30%和30V档,功率太小时可测0.1%的功率,VOL需开到最大)六、最大输出功率(Maximum Oufput )1、高频信号发生器频率设为98MHZ,频偏为75KHZ,调制频率为1KHZ,输出电平60dB2、被测机设为98MHZ,音量开到最大3、此时的电压输出的平方除以负载电阻阻值(P=V2/R )即为主机的最大输出功率七、过载失真1、将高频信号发生器的频率设为98MHZ,频偏75KHZ,调制频率为1KHZ,输出电平为60dB2、被测机频率设为98MHZ ,调整音量为2V3、看失真仪失真档的失真度即为过载失真八、总谐波失真(失真度)《THD@1mv 22.5KHZ Dev 》1、高频信号发生器频率为98MHZ,频偏为22.5KHZ,电平60dB2、被测机为98MHZ,音量为2V3、调失真仪上的按键来看,看不到幅度时可往下调,指针不为零就行(失真仪档位在3V 档)九、中频抑制比 (IF REJECTION )1、先测90.1MHZ 的30dB 实用灵敏度,音量输出2V ,为A2、然后把高频信号发生器频率改为10.7MHz, 调制频率与频偏不变3、增加输入电平使输出电平恢复至2V 位置,为B4、用B 减去A 得出的数据即为中频抑制比十、调幅抑制比( AM Suppression)1、高频信号发生器频率设为98MHz,频偏22.5KHZ,调制频率为1KHz,输出电平60dB2、被测机频率98MHz,音量输出为2V3、将高频信号发生器的频偏22.5KHz 改设为AM 调制30%,关掉FM ,将毫伏表的档位向左转动,一档为10dB,毫伏表的指针不能超过2V,把毫伏表上的dB数减去2再加上转动档位数即为被测机的调幅抑制比十、-3dB 极限灵敏度(-3dB Limiting Sensitivty1、高频信号发生器频率为98MHZ,频偏为22.5KHZ,音量为2V,输入电平60dB2、向下调高频信号发生器dB数使毫伏表的幅度相差3dB,读高频信号发生器dB数即为-3dB 极限灵敏度十二、信噪比( S/N Ratio@ 1mv)1、高频信号发生器频率为98MHZ ,频偏22.5KHZ, 电平60Db2、被测机频率为98MHZ,音量为2V3、关高发生器将毫伏表的档位向左转动,毫伏表指针不能超过2V,毫伏表指针所指的位置减去 2 再加上所转动档位数即为被测机的信噪比十三、自动锁台《停台》灵敏度《LOC OFF 》1、被测机处于待测状态,高频信号发生器频率设为90/98/106MHZ,频偏为22.5KHZ,调制频率为1KHZ,电平暂设为20dB2、微调高频信号发生器的输入电平直至刚好锁住90/98/106MHZ 台位,此时高频信号发生器上的输入电平即为主机的自动锁台灵敏度十四、远/近程作用(LO/DX Effect) 《LOC ON 》1 、同上1 ,选任意一频点停台灵敏度,为A2、打开主机LOC 功能,再提升电平使其停台,为B3、用B 减去A 得出的数据为LOC 作用十五、频率响应1、高频信号发生器频率设为98MHZ,频偏为22.5KHZ,输出电平为60dB,外接低频信号发生器输入1KHZ 0dB信号(EXT亮、LOW亮、调节低频信号发生器使LOW、HIGH 灭、PILOT 解码灯灭、MAIN 亮、其他不亮)2、被测机频率为98MHZ,音量为2V3、调节低频信号发生器输出电平使高频信号发生器的外接输入灯平衡,调整音量为2V4、先将低频信号发生器的频率衰减使毫伏表的指针下降-6dB,记录此时低频信号发生器上的低频频率,记录为A5、将低频信号发生器的频率提升使毫伏表的指针下降-6dB,记录此时低频信号发生器上的高频频率,记录为B6、主机的频率响应范围应是A至B段频率十六、通道平衡比1、任一频点,音量为2V,看左、右、前、后是否都平衡十七、邻近频道干扰比(选择性)1、将高频信号发生器频率设为98MHZ ,频偏为22.5KHZ ,调制频率1KHZ ,电平为98MHZ频点实用灵敏度,称之为A2、音量输出调整为2V,高频信号发生器频率加200KHZ,增加高频信号发生器电平使其输出升至2V,记录此时的电平称之为B,用B减A得出的数据即为挺择性3、音量输出调整为2V,高频信号发生器频率减200KHZ,增加高频信号发生器电平使其输出升至2V,记录此时的电平为C,用C减A得出的数据即为选择性十八、镜像抑制比1、先测好106.1MHZ 的最大灵敏度,为A2、然后在高频信号发生器加两个中频(106.1+10.7+10.7 ),样机频率不变,再增加输入电平至106.1MHZ 的最大灵敏度,称之为B3、用B减A得出的数据即为镜像抑制比解码部份:PILOT 、L、MODON 、FM 点需亮其它点不亮一、点灯灵敏度《Stereo Indicator Sensitivity ON Sens》1、高频信号发生器频率为98.5MHZ,电平暂设2dB,频偏为60%,调节音量为2V2、下降高频信号发生器的电平使主机的ST 灭,再往上调电平使其ST 刚好亮,此时高频信号发生器的电平即为主机的点灯灵敏度二、20dB 分离度灵敏度《SNC SEPERATION AT20DB》1、高频信号发生器频率为98.5MHZ,频偏为60%,调制频率为1KHZ,电平暂设为60dB,调节音量为2V2、毫伏表向左转两档,调节高频信号发生器的电平使两针合扰,此时高频信号发生器的电平即为20dB 分离度灵敏度三、3dB 分离度灵敏度1、高频信号发生器频率为98.5MHZ,频偏为60%,调制频率为1KHZ,电平暂设为60dB,调节音量为2V2、下降高频信号发生器的dB 数使两针幅度相差3dB3、此时高频信号发生器的电平即为3dB 分离度灵敏度四、立体声分离度(调制度美:100% 欧:60%)1、被测机处于待测状态,高频信号发生器频率设为98MHZ,调制频率1KHZ,电平输入60dB,频偏为60%2、被测机频率设为98MHZ ,此时应处于立体声状态,音量为2V3、点亮高频信号发生器的L 键4、将毫伏表的红指针档位向左转动,指针不能超过2V5、转动的档数加毫伏表上指针所指的位置减2即为被测机(L-R )的立体声分离度6、点亮R 键7、将毫伏表的黑指针档位向左转动,指针不能超过2V&转动的档数加毫伏表上指针所指的位置减2即为被测机(R-L )的立体声分离度五、立体声信噪比(调制度美:100% 欧:60%)1、被测机处于待测状态,高频信号发生器频率设为98MHZ ,调制频率1KHZ ,电平为60Db2、被测机频率设为98MHZ ,此时应处于立体声状态,音量为2V3、毫伏表为3V档,点亮SUB、关MODON ,频偏为7.5KHZ(%),将毫伏表的档位向左转动,指针不能超过2V4、用转动档数加毫伏表的数据-减2 即为主机的立体声信噪比。
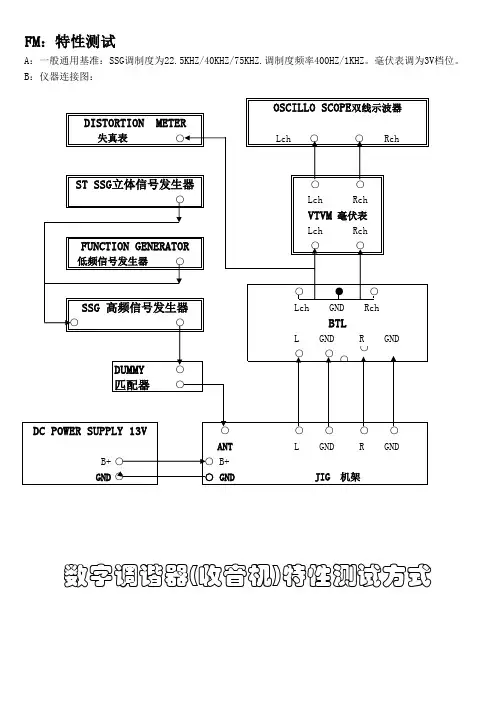
FM:特性测试A:一般通用基准:SSG调制度为22.5KHZ/40KHZ/75KHZ.调制度频率400HZ/1KHZ。
毫伏表调为3V档位。
B:仪器连接图:数字调谐器(收音机)特性测试方式C:特性测试方法:(FM BAND)1:Tuning voltage(VT电压)SET(机架)高.低端的VT电压,按SET的高低频率87.5MHZ/108MHZ,用万用表的直流电压档测量高频头VT PIN的电压,单位:V 。
2:Maximum Sensitivity.(最大灵敏度)SSG的调制为FM ON,调制度为22.5KHZ/75KHZ,调制频率400HZ/1KHZ,把音量调到最大,SSG与JIG频率一致,调节SSG的LEVEL dB数,使毫伏表输出为2V(毫伏表为3V档),此时的DB即为所须检测的有效值。
单位:dBu。
3:Usable Sensitivity(使用灵敏度)SSG与机架的频率相同(调到所须要的频率),调制度为22.5KHZ/75KHZ,调制频率400HZ/1KHZ,调节音量使毫伏表输出为0dB左右,将SSG的FM ON灯关掉,再退毫伏表三档,调节SSG的LEVEL dB数使毫伏表指针回到未关掉FM ON时的位置。
(可将FM ON重复切换几次),此时的dB数即为所须检测的有效值,单位:dBu。
4:50dB Quieting Sensitivity(50dB静噪灵敏度)毫伏表退五档,其它测试方法同上USABLE SENENIVITY一样,(50dB静噪灵敏度)单位:dBu。
5:Limit Sensitivity –3POINT(-3dB限制灵敏度)SSG与机架的频率相同(调到所须要的频率98MHZ),调制度为22.5KHZ/75KHZ,调制频率400HZ/1KHZ,LEVEL为60 dB,调节音量使毫伏表指针指到0 dB,直接将SSG的LEVEL dB减小使毫伏表指针退到-3dB位置,此时的dB数即为所须检测的有效值,单位:dBu。
FM测试项及原理FM 测试说明⼀、测试原理FM 测试主要⽤来测试⼿机电路中调频收⾳机这⼀部分的性能,包括射频和⾳频两部分。
测试时,由UPL(⾳频分析仪)或者UPV 产⽣⼀个⾳频信号,频率为1KHz,此⾳频信号输⼊到SML(信号发⽣器)上与SML 产⽣的射频信号(87.5MHz-108MHz)调制以后输⼊到⼿机的FM 接收电路中。
在⼿机内部,FM 信号经过滤波、放⼤、解调等电路,其中有⽤的⾳频部分被解调出来。
解调出来的⾳频信号被输⼊到UPL(或者UPV)⾥⾯做⾳频分析,这样,解调信号和原始信号做⼀个对⽐,⽤来测试⼿机的FM 电路性能。
⼆、测试仪器和装置1 ⾳频分析仪Audio Analyzer R&S UPL2 信号发⽣器Signal Generator R&S SML3 待测⼿机DUT 及battery4 IEC/IEEE 接⼝三、FM 测试项FM 测试包括传导测试和辐射测试。
传导测试:1.AM Supression该测试的⽬的是为了测试在RF 输⼊信号中AM 的抑制影响。
测试结果范围:40dB—70 dB2.Output Voltage Test测试⽬的主要是测试⾳频信号的输出电压测试结果范围:保证不失真就可以3. Sensitivity Test测试⽬的是测试FM 接收机所能接收到的最⼩信号的强度。
测试结果范围:-96dBm—-120dBm4.SNR Test测试⽬的是测试测试FM 接收机的信噪⽐测试结果范围:mono:>53dB;stereo:>49dB5.THD Test测试⽬的是为了测试⾳频输出信号的全谐波失真测试结果范围:mono:<0.9%;stereo:<1.5%6. In_Band_Blocking测试⽬的是为了测试带内阻塞响应测试结果范围:>40dB7.Image Frequency Rejection测试的⽬的是为了测试镜频抑制的能⼒。
FM参数测试方法:1、噪限灵敏度(使用灵敏度)静噪灵敏度(S/N为50dB)信噪比信号发生器:1KHz调制频率,±75KHz(AEC)频偏,其他机型22.5KHz频偏,载频分别为90.1MHz、98.1MHz、106.1MHz,输入电平66EMF dBu;EUT:频率分别调谐到90.1MHz、98.1MHz、106.1MHz,音量调到满格;音频分析仪:200Hz HPF、15KHz LPF,选择ACV档――REL dB,选择S/N档;此时将信号发生器FM-SIG关闭,待音频分析仪上显示的S/N值后,调节信号发生器的输出直至S/N的值为30dB,记录此时信号发生器的输出电平。
2、-3dB极限灵敏度定义:使标准输出下降3dB,高频信号的电平值即“限幅灵敏度”(考察弱信号时收音机的接收能力)。
音量-标准输出。
RF信号-60dB(1MV)、1KHZ、+22.5KHZ。
固定频点于中端测量频率点,接收机调整接收在中端测量频率点,使输出为标准状态(视此时为0dB)。
降低RF输出电平,使接收输出下降3dB,此时的RF电平即为限幅灵敏度。
3、频率响应(FREQUENCY RESPONE)-3dB频率响应(-3 dB FREQUENCY RESPONE)⑴在接收机的中端测量频率,标准测量条件下加上预加重进行测量,且高频信号发生器需外接音频信号源;⑵在1KHz调制频率时,调节音量控制器至输出达到标准参考输出功率0.5W作为参考0dB;⑶缓慢减小外部调制频率直到输出下降3dB,并记下此时的频率;⑷缓慢增大外部调制频率直到输出下降3dB,同样记下此时的频率;⑸则所记录的频率分别为被测试机-3dB点的频率范围的上下限。
4、失真及过载失真(DISTORTION/RF OVERLOAD DISTORTION)⑴在接收机的中端测量频率点测量;⑵信号发生器设置为调制1KHz、频偏75KHz;⑶调节音量控制器至输出达到标准参考输出功率0.5W(1.4V);⑷测量高频输入电平为1mV(60dBuV)时的音频失真;⑸提高高频输入电平到100mV(100dBuV),并重新调整音量电位器,使音频输出为标准输出功率0.5W;⑹测定此时的音频过载失真(10% THD+N)。
收音机指标测试方法及仪器一、仪器1:双踪示波器2:失真仪3:双针毫伏表4:电源5:高频信号发生器6:低频信号发生器二、测试方法FM指标测试1:最大灵敏度将高频信号发生器发射90MHz频率,调制度22.5 KHz,调制频率1KHz,被测机也调到90MHz的接收频率,电位器开到最大,调节高频信号发生器的输出电平,使毫伏表的指针指到标准输出,此时高频信号发生器的dB数即是最大灵敏度。
2:-30DB实用灵敏度将高频信号发生器发射90MHz频率,调制度22.5 KHz,调制频率1KHz,被测机也调到90MHz的接收频率,调节高频信号发生器的输出电平(假设20dB),此时调节被测机电位器使毫伏表的指针指到0dB,去调制,调节毫伏表的旋扭倒腿三挡,此时看毫伏表的指针是否指到0dB,若指针未到0dB,则降低高频信号发生器的输出dB数,若指针超过0dB,则提高高频信号发生器的输出dB数再重测,直到毫伏表的指针指到0dB,此时高频信号发生器的输出dB数为-30dB实用灵敏度。
3:-3DB极限灵敏度将高频信号发生器发射98MHz频率,调制度22.5 KHz,调制频率1KHz,调制电平60dB,被测机也调试到98MHZ的接收频率,调节被测机电位器使毫伏表的指针指到0dB,降低高频信号发生器的调制电平,使毫伏表的指针降低3dB,此时高频信号发生器的输出dB数为-3dB极限灵敏度。
4:IF中频频率将高频信号发生器发射90MHz频率,调制度22.5 KHz,调制频率1KHz,被测机也调到90MHz的接收频率。
电位器开到最大,此时将高频信号发生器发射10.7MHz的中频频率,调节高频信号发生器的输出电平,使毫伏表的指针指到标准输出。
再细调高频信号发生器的发射频率,使毫伏表的指针指到最高,此时高频信号发生器的发射频率即为IF中频频率。
5:中频抑制将高频信号发生器发射90MHz频率,调制度22.5 KHz,调制频率1KHz,被测机也调到90MHz的接收频率,电位器开到最大,调节高频信号发生器的输出电平,使毫伏表的指针指到标准输出,(即为最大灵敏度,读取其dB数)。
FM 测试说明一、测试原理FM 测试主要用来测试手机电路中调频收音机这一部分的性能,包括射频和音频两部分。
测试时,由UPL(音频分析仪)或者UPV 产生一个音频信号,频率为1KHz,此音频信号输入到SML(信号发生器)上与SML 产生的射频信号(87.5MHz-108MHz)调制以后输入到手机的FM 接收电路中。
在手机内部,FM 信号经过滤波、放大、解调等电路,其中有用的音频部分被解调出来。
解调出来的音频信号被输入到UPL(或者UPV)里面做音频分析,这样,解调信号和原始信号做一个对比,用来测试手机的FM 电路性能。
二、测试仪器和装置1 音频分析仪Audio Analyzer R&S UPL2 信号发生器Signal Generator R&S SML3 待测手机DUT 及battery4 IEC/IEEE 接口三、FM 测试项FM 测试包括传导测试和辐射测试。
传导测试:1.AM Supression该测试的目的是为了测试在RF 输入信号中AM 的抑制影响。
测试结果范围:40dB—70 dB2.Output Voltage Test测试目的主要是测试音频信号的输出电压测试结果范围:保证不失真就可以3. Sensitivity Test测试目的是测试FM 接收机所能接收到的最小信号的强度。
测试结果范围:-96dBm—-120dBm4.SNR Test测试目的是测试测试FM 接收机的信噪比测试结果范围:mono:>53dB;stereo:>49dB5.THD Test测试目的是为了测试音频输出信号的全谐波失真测试结果范围:mono:<0.9%;stereo:<1.5%6. In_Band_Blocking测试目的是为了测试带内阻塞响应测试结果范围:>40dB7.Image Frequency Rejection测试的目的是为了测试镜频抑制的能力。
测试结果范围:40dB—60dB8、Blocking out-band测试的目的是为了测试带外阻塞响应测试结果范围:>40dB9、Selectivity测试的目的是为了测试FM收音机领道选择的能力测试结果范围:lowside 200Hz:35dB—70 dB;highside 200Hz:20—70dB 10、Intermodulation测试的目的是为了测试接收机在存在与有用信号有特定关系时接收有用信号的能力测试结果范围:>40dB辐射测试1. radiated_sensitivity_with_Headset测试目的是为了测试FM 接收机在插耳机(天线)接收信号时的辐射灵敏度,该测试必须是在屏蔽的环境中进行的。
FM 参数测试方法:1、噪限灵敏度(使用灵敏度静噪灵敏度(S/N为 50dB 信噪比信号发生器 :1KHz 调制频率,±75KHz(AEC 频偏,其他机型 22.5KHz 频偏, 载频分别为 90.1MHz 、 98.1MHz 、 106.1MHz ,输入电平 66EMF dBu;EUT :频率分别调谐到 90.1MHz 、 98.1MHz 、 106.1MHz ,音量调到满格;音频分析仪 :200Hz HPF、 15KHz LPF,选择 ACV 档――REL dB,选择 S/N档; 此时将信号发生器 FM-SIG 关闭,待音频分析仪上显示的 S/N值后,调节信号发生器的输出直至 S/N的值为 30dB ,记录此时信号发生器的输出电平。
2、 -3dB 极限灵敏度定义:使标准输出下降 3dB ,高频信号的电平值即“限幅灵敏度” (考察弱信号时收音机的接收能力。
音量 -标准输出。
RF 信号 -60dB (1MV 、 1KHZ 、 +22.5KHZ。
固定频点于中端测量频率点, 接收机调整接收在中端测量频率点, 使输出为标准状态 (视此时为0dB 。
降低 RF 输出电平,使接收输出下降 3dB ,此时的 RF 电平即为限幅灵敏度。
3、频率响应 (FREQUENCY RESPONE-3dB 频率响应 (-3 dB FREQUENCY RESPONE⑴在接收机的中端测量频率,标准测量条件下加上预加重进行测量,且高频信号发生器需外接音频信号源;⑵在 1KHz 调制频率时,调节音量控制器至输出达到标准参考输出功率 0.5W 作为参考 0dB ;⑶缓慢减小外部调制频率直到输出下降 3dB ,并记下此时的频率;⑷缓慢增大外部调制频率直到输出下降 3dB ,同样记下此时的频率;⑸则所记录的频率分别为被测试机 -3dB 点的频率范围的上下限。
4、失真及过载失真 (DISTORTION/RF OVERLOAD DISTORTION⑴在接收机的中端测量频率点测量;⑵信号发生器设置为调制 1KHz 、频偏 75KHz ;⑶调节音量控制器至输出达到标准参考输出功率 0.5W(1.4V;⑷测量高频输入电平为 1mV(60dBuV时的音频失真;⑸提高高频输入电平到 100mV(100dBuV,并重新调整音量电位器,使音频输出为标准输出功率 0.5W ;⑹测定此时的音频过载失真(10% THD+N 。
收音机(FM/AM)的基本原理及相关重要指标定义、标准及具体测试方法第一节A M BAND (调幅式收音机)基本原理广播电台将声音信号加到高频电波上即“调制”,意思即用音频信号去调制高频电信号,使高频信号的幅度、频率或相位随音频信号的变化而变化。
“连载”音频信号的高频信号即“载波”。
所谓“调幅”是使高频载波的幅度随音频信号的变化而变化。
但载波的频率不变,经调幅后产生的信号为“调幅波”。
收音机调试位说明1.中频位(IF位)1、中频位有AM中频和FM中频,统称IF位,IF位主要是用来调较中频频率和增益的,按规定AM中频一般为450KHZ/455KHZ/465KHZ 、FM为10.7MHZ。
2、IF位需用仪器:AM中频信号仪、FM中频信号仪、高频示波器、信号衰减器。
3、按图接好仪器与机架接FF.MA.MF.RA.R信号仪上的信号点信号(M)经开关W1转换后,输入到高频示波器背后信号点输入端,为示波器提供频率标点;信号仪上的水平信号(S)经开关W2转换后,输入到高频示波器背后的水平输入端,为示波器提供较机水平线。
AM IF信号(ARF)经衰减器调节后从天线(AM COIL)次级输入;FM IF信号(FRF)经衰减器调节后接到机板的FM 19圈半输入(或者接到天线输入端)。
AM、FM的振荡用104电容短路接地,输出检波/鉴频信号经104 电容耦合接高频示波器INPUT端。
4、将样机放入机架上(样机调试方法后面介绍)调节衰减器、示波器,使AM/FM波形适中且信号不能过强,否则看不出低机,样机波形用标记贴于示波器上,方便较机员鉴别好坏机。
5、IF位波形AM中频要求455时,把455调FM中频要求10.7时,把10.7调到峰点即可,波形如下:到中点即可,波形如下:6、调较方法:将机板放入机架,功能制打到收音位置,波段制打到FM位置,信号仪转换开关打到FM位置,调节FM中频周,如蓝周、橙周等,使波形增益、频率达到样机以上要求,然后再将波段制/信号仪转换开关打到AM位置,调节AM中频周,如(黄周、白周等),使AM波形增益、频率达到样板机要求,波形不应失真。
收音机各项指标测试方法FM frequency modulation 调频广播MW medium wave 中波SW short wave 短波还有LW long wave 长波AM amplitude modulation 调幅在一般的收音机或收录音机上都有AM及FM波段,相信大家已经熟悉,这两个波段是用来供您收听国内广播的,若收音机上还有SW 波段时,那么除了国内短波电台之外,您还可以收听到世界各国的广播电台节目。
为了让您对收音机的使用有更进一步的认识,以下就什么是AM、FM、SW、LW作一简单的说明。
事实上AM及FM指的是无线电学上的二种不同调制方式。
AM:AmplitudeModulation称为调幅,而FM:FrequencyModulation称为调频。
只是一般中波广播(MW:MediumWave)采用了调幅(AM)的方式,在不知不觉中,MW及AM之间就划上了等号。
实际上MW只是诸多利用AM调制方式的一种广播,像在高频(3-30MHz)中的国际短波广播所使用的调制方式也是AM,甚至比调频广播更高频率的航空导航通讯(116-136MHz)也是采用AM的方式,只是我们日常所说的AM 波段指的就是中波广播(MW)。
那FM呢?它也同MW的命运相类似。
我们习惯上用FM来指一般的调频广播(76-108MHz,在我国为87.5-108MHz、日本为76-90MHz),事实上FM也是一种调制方式,即使在短波范围的27-30MHz之间,做为业余电台、太空、人造卫星通讯应用的波段,也有采用调频(FM)方式的。
而SW呢?其实可以说是对短波的一种简单称呼,正确的说法应该是高频(HF:HighFrequency)比较贴切。
而短波这名称是怎么来的呢?以波长而言,中波(MW)介于200-600米(公尺)之间,而HF的波长却是在10~100米(公尺)之间,与上述的波长相比较,HF的波长的确是短了些,因此就把HF称做短波(SW:ShortWave)。
收音机(FM/AM)的基本原理及相关重要指标定义、标准及具体测试方法第一节A M BAND (调幅式收音机)基本原理广播电台将声音信号加到高频电波上即“调制”,意思即用音频信号去调制高频电信号,使高频信号的幅度、频率或相位随音频信号的变化而变化。
“连载”音频信号的高频信号即“载波”。
所谓“调幅”是使高频载波的幅度随音频信号的变化而变化。
但载波的频率不变,经调幅后产生的信号为“调幅波”。
收音机调试位说明1.中频位(IF位)1、中频位有AM中频和FM中频,统称IF位,IF位主要是用来调较中频频率和增益的,按规定AM中频一般为450KHZ/455KHZ/465KHZ 、FM为10.7MHZ。
2、IF位需用仪器:AM中频信号仪、FM中频信号仪、高频示波器、信号衰减器。
3、按图接好仪器与机架接FF.MA.MF.RA.R信号仪上的信号点信号(M)经开关W1转换后,输入到高频示波器背后信号点输入端,为示波器提供频率标点;信号仪上的水平信号(S)经开关W2转换后,输入到高频示波器背后的水平输入端,为示波器提供较机水平线。
AM IF信号(ARF)经衰减器调节后从天线(AM COIL)次级输入;FM IF信号(FRF)经衰减器调节后接到机板的FM 19圈半输入(或者接到天线输入端)。
AM、FM的振荡用104电容短路接地,输出检波/鉴频信号经104 电容耦合接高频示波器INPUT端。
4、将样机放入机架上(样机调试方法后面介绍)调节衰减器、示波器,使AM/FM波形适中且信号不能过强,否则看不出低机,样机波形用标记贴于示波器上,方便较机员鉴别好坏机。
5、IF位波形AM中频要求455时,把455调FM中频要求10.7时,把10.7调到峰点即可,波形如下:到中点即可,波形如下:6、调较方法:将机板放入机架,功能制打到收音位置,波段制打到FM位置,信号仪转换开关打到FM位置,调节FM中频周,如蓝周、橙周等,使波形增益、频率达到样机以上要求,然后再将波段制/信号仪转换开关打到AM位置,调节AM中频周,如(黄周、白周等),使AM波形增益、频率达到样板机要求,波形不应失真。
AudioFM收音机电性能测试指导书目的:验证FM广播收音机产品的电声性能是否符合规格要求。
1.适用范围适用于调频广播接收机包括调谐器组合机中的调频收音部分进行电声性能的测量。
2.定义无3.职责无4.测试程序5.1 标准测试条件5.1.1 标准调制度标准调制度是指调制信号的峰值频偏与系统最大频偏的百分比。
标准调制度规定为30%。
5.1.1.1 标准立体声调制度100% 调制度对应于±75KHz频偏。
30%调制度对应于±22.5KHz频偏。
5.1.1.2 标准立体声调制度设整个立体声复合信号的调制度为100%(±75KHz频偏)其中:导频信号占10%(±7.5KHz频偏)主、副信号的合成信号占90%(±67.5KHz频偏)以此主、副信号的合成信号作为100%(±67.5KHz频偏) ,那么,30%的调制度则为±20.25KHz.对于不同的调制方式,其频偏的分配如下表所示。
5.1.2 标准测试频率测试频率规定为:88、98、108MHz。
标准测试频率规定为:98MHz。
客户有不同要求时按客户要求执行。
5.1.3 标准输入信号电平标准输入信号电平规定为71dBf(≈66dBuV/EMF)5.1.4 标准负载测量电性能时应该用阻值等于扬声器标称阻抗的纯电阻(误差为 2%)代替扬声器做负载测量声性能,且应按扬声器的标称阻抗计算相应的电压值。
5.1.5 标准输出功率接收机的输出用加到扬声器上的功率来表示或者用标准负载上所消耗的功率来表示。
根据接收机的类别一般可用5mM 10mM 50mM和500mM 作为标准输出功率,其中50mM为优选值。
对于更大功率输出的接收机,可用比标称有用功率低10dB的功率作为标准输出功率。
根据公司产品的特点,一般定义为1W,产品规格有定义的,以产品规格为准。
5.1.6 音效处理功能的设置1)均衡(BALANCE EQUALIEER),低音(BASS)和高音(TREBLE)旋钮置于中心位置;2)音调(回音/ECHO、变调/KEY/TONE等)控旋钮置于中心位置,软件调节的应处于不影响音频特性输出的位置;3)环绕(SURROUND)、升频/降频(UP SAMPLING /DOWN SAMPLING)等声场处理功能关闭。
收⾳机(FMAM)的基本原理及相关重要指标定义、标准及具体测试⽅法收⾳机(FM/AM)的基本原理及相关重要指标定义、标准及具体测试⽅法第⼀节A M BAND (调幅式收⾳机)基本原理⼴播电台将声⾳信号加到⾼频电波上即“调制”,意思即⽤⾳频信号去调制⾼频电信号,使⾼频信号的幅度、频率或相位随⾳频信号的变化⽽变化。
“连载”⾳频信号的⾼频信号即“载波”。
所谓“调幅”是使⾼频载波的幅度随⾳频信号的变化⽽变化。
但载波的频率不变,经调幅后产⽣的信号为“调幅波”。
收⾳机调试位说明1.中频位(IF位)1、中频位有AM中频和FM中频,统称IF位,IF位主要是⽤来调较中频频率和增益的,按规定AM中频⼀般为450KHZ/455KHZ/465KHZ 、FM为10.7MHZ。
2、IF位需⽤仪器:AM中频信号仪、FM中频信号仪、⾼频⽰波器、信号衰减器。
3、按图接好仪器与机架接FF.MA.MF.RA.R信号仪上的信号点信号(M)经开关W1转换后,输⼊到⾼频⽰波器背后信号点输⼊端,为⽰波器提供频率标点;信号仪上的⽔平信号(S)经开关W2转换后,输⼊到⾼频⽰波器背后的⽔平输⼊端,为⽰波器提供较机⽔平线。
AM IF信号(ARF)经衰减器调节后从天线(AM COIL)次级输⼊;FM IF信号(FRF)经衰减器调节后接到机板的FM 19圈半输⼊(或者接到天线输⼊端)。
AM、FM的振荡⽤104电容短路接地,输出检波/鉴频信号经104 电容耦合接⾼频⽰波器INPUT端。
4、将样机放⼊机架上(样机调试⽅法后⾯介绍)调节衰减器、⽰波器,使AM/FM波形适中且信号不能过强,否则看不出低机,样机波形⽤标记贴于⽰波器上,⽅便较机员鉴别好坏机。
5、IF位波形AM中频要求455时,把455调FM中频要求10.7时,把10.7调到峰点即可,波形如下:到中点即可,波形如下:6、调较⽅法:将机板放⼊机架,功能制打到收⾳位置,波段制打到FM位置,信号仪转换开关打到FM位置,调节FM中频周,如蓝周、橙周等,使波形增益、频率达到样机以上要求,然后再将波段制/信号仪转换开关打到AM位置,调节AM中频周,如(黄周、⽩周等),使AM波形增益、频率达到样板机要求,波形不应失真。
FM 测试方法
FM(调频)收音机的基本原理和各项指标的测试方法
一、FM(调频)基本原理:
调频(FM)是用音频信号去调制高频载波的频率,使高频载波的频率随信号而有规律的变化,载波的幅度保持不变。
无线电广播的过程是:首先利用话筒将声音变成音频电信号,经音频放大器放大后送往调制器,对高频载波信号进行调制,从调制器输出的调副或调频信号再经过高频放大器放大后送到发射天线,将载有声音“信息”的无线电波发出。
二、优点:
1.抗干扰能力好
2.频带宽,音质好
3.频道容量大,解决电台拥挤问题
三、FM 调频收音(FM ,FREQUENCY MODULA TION )的测试项目和方法:
1.FM频率范围( FM RANGE )
要求:
频偏:22.5KHZ DEV 调制频率:1KHZ
方法:
A扭转主机台钮转最低点. B调整RF频率.使收音机得到最强的信号(失真最小)此时的频率为低端 C.将台钮至高端,同样的方法得到高端频率D,低端-高端为全频覆盖范围
.2 最大灵敏度( MAX SENS )
要求:
频偏:22.5KHZ DEV,调制频率为:1KHZ,测试频率:90MHZ、98MHZ. 106MHZ。
定义:收音机在最大音量时,输出信号强度达到标准功率时输入信号的强度
要求:
调制度22.5KHZ,调制频率为1KHZ
方法:
A.同调(使测试机与RF信号发生器的频率基本一致频率)90MHZ、98MHZ、106KHZ.失真最小
B.将音量(VR)最大,变调电平(A TT)值,使毫伏表指标回到(REF O/P)时的dB数就是最大灵敏度
3.30DB限噪灵敏度(30DB S\N SENS)
方法:
同调90MHZ、98MHZ、106MHZ.
要求:调制度22.5KHZ 调制频率:1KHZ
方法:
A. 同调(测试机与RF信号发生器的频率基本一致)频率90MHZ,98MHZ, 106MHZ
B首先测出它们的最大灵敏度,增加DB数,将音量调到标准输出,关掉调制度(MOD)
C衰减毫伏表VTVM下降的数值刚好为30dB,看指标能否回到标准输出
如果没有回到标准输出:,减少电平DB数使它达到
如果超过标准输出:增加电平DB数
例如:标准输出为0.632V -4DB,电平数为21DB假如衰减30BD刚好在-4DB处,然后ATT值21DB. 21DB就是测试机的限噪灵敏度
注意:测试FM的时候.高频信号发生器应连接至到收音机FM天线PCB板,输入端,断开天线拉杆天线,地线则需要接至收音机高频放大的地线,一般为PVC地线.
4.中频频率/中频抑制( IF FREQUENCY/IF REJECTION)
要求:
调制度为22.5KHZ,调制频率为1KHZ。
方法一:
A.同调(测试机与RF信号发生器的频率基本一致)90MHZ,
B.将音量(VR)最大,测90HZ的最大灵敏度/或测出限噪灵敏度
C.变调频率为90MHZ-10.7MHZ,再微调+-10.7使毫伏表输出最大,就得出中频
(日本的中频:-10.7MHZ,其它是+10.7MHZ)
D.在最大灵敏度或限噪灵敏度的基础上增加DB数,使毫伏表回到标准输出, 前后电平(A TT)值的差数即为中频抑制比
方法二
要求:调制度为22.5KHZ,调制频率为1KHZ,测试频率为106MHZ
A.同调(测试机与RF信号发生器的频率基本一致)106MHZ,测试其MAX SENS为A
B.将频率106MHZ变调106M+2IF(+10.7/-10.7MHZ)。
C.再微调106MHZ+2IF的频率使它达到最大输出,增加电平达到标准输出为B
D. B-A得出中频抑制
A. 用106+2IF(+10.7\-10.7MHZ)减去同调之后的106MHZ得出2IF÷2得出中频
公式:【106HZ+2IF-106KHZ(同调后)】÷2=中频
5.镜像抑制( IMAGE REJECTION )
定义:收音机各频点对两倍中频抑制度
要求:
调制度为22.5KHZ,调制频率为1KHZ,测试频率为106MHZ。
方法:
A.同调(测试机与RF信号发生器的频率基本一致)106MHZ,测试其MAX SENS或30DB限躁灵敏度,为A
B.将频率106MHZ变调106MHZ+2IF(+-10.7MHZ)在最大灵敏度或30DB限噪灵敏度的基础上增加DB数,使它达到标准输出。
C.再微调频率使它达到最大输出,调电平达到标准输出,数值为B,
D.B-A即为镜像抑制比(像频干扰抑制。
)
6.自动频率控制(AFC HOLD RANGE)
定义:自动频率控制范围
要求:调制度为22.5KHz,调制频率为1KHZ,测试频率为98MHZ A TT:60DB
方法:
A. 同调(测试机与RF信号发生器的频率基本一致)98MHZ
B. 然后在98MHZ的上下微调,使VTVM输出分别下降3dB时.
C. 两个频率之差,就是自动频率控制
7.-3dB限制灵敏度( -3dB LIMIT SENS )
定义:使标准输出下降3B,高频信号的电平值即”限幅灵敏度”(考察弱信号时的收音机的接受能力)
要求:频偏22.5KHZ,调制频率1KHZ,测试频率98MHZ.
方法:
A. 同调(测试机与RF信号发生器的频率基本一致)98MHZ,电平(A TT)值为60d
B.
B. 调整音量(VR)使毫伏表(VTVM)输出为额定标准输出(REF O/P),
C. 减电平(A TT)值使VTVM降低3dB时的数值.就是-3B限制灵敏度.
8 信噪比( S/N RA TION )
要求:
频偏22.5KHZ,调制频率1KHZ,测试频率98MHZ,A TT值为1MV(60DB)。
方法
A.同调(测试机与RF号发生器的频率基本一致)98MHZ,输出为标准输.
B.关掉调制度(MOD OFF),衰减毫伏表(VTVM)看下降dB数即为S/N.
例如:
1.衰减毫伏表40DB 指针在-8DB处,而标准输出在0.632V -4DB,差4DB没到标准输出,就加在40DB上.40+4=44DB是信噪比。
2.衰减50DB,已经超过标准输出0.632V -4DB,指针在-1DB处那么50-3=47DB,47DB是信噪比。
注意:一般FM的信噪比大于40DB。