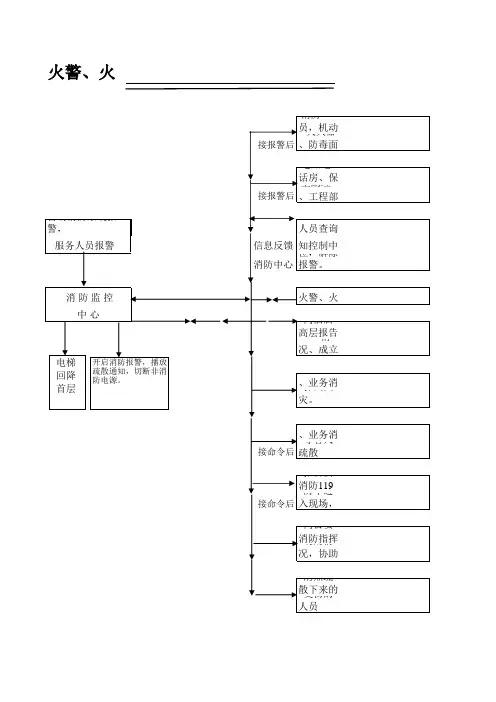
火灾报警控制器操作流程图
- 格式:doc
- 大小:41.50 KB
- 文档页数:2
密码:456123,按“确定”
按“确定”
按“确定”
按“确定”
密码:111111,按“确定” 注:主机正常,处于自动状态。
火灾报警控制器操作流程图
按“确定”
密码:111111
按“确定”
按“确定”
按“确定”
密码:111111
设备损坏
脱落
误报
真实
密码:111111,按“确定” 警情解除 密码:111111
密码:111111
密码:111111
火 警
故 障
查看火警发生的具体位置
按主机按键 “消音”
通知巡逻人员现场查看是否着火
电话上报119, 并按规定处理 主机按设定程序自动运行,广播通知现场人员疏散
电话上报119, 并按规定处理
电话上报119, 并按规定处理 按主机按键 “主菜单” 选择“操作” 选择“选择地址屏蔽”
输入“XX 机XXX 路XXX 号”
按主机按键“复位”
主机复位
查看火警发生的具体位置
按主机按键 “消音”
通知巡逻人员现场查看,设备是否脱落
将脱落设备安装
回原位
主机自动回复正
按主机按键 “主菜单”
选择“操作”
选择“选择地址屏蔽”
输入“XX 机XXX 路XXX 号”
按主机按键“复位”
主机复位
电话联系厂家:
26781455。
消防中控室操作流程图
一、消防中控室组成:
消防控制室应有火灾报警空气制或火灾报警控制器(联动型)消防联动控制器、消防控制室图形显示装置、火灾应急广播、消防通讯电话等全部或部分设备组合构成;消防控制室应设有可直接报警的外线电话。
二、火灾报警的处置方法:
系
统 报
警 设 备 发 出 火 警 报 警
三、火灾报警控制器基本操作 (一)开机
开机先开主电源,再开备用电源。
(二)自检
按下“自检”键对控制器声光显示和手动盘 多线制控制器自检。
(三)消音
按下“消音”键或“警报消音”键,消除控制器本机的声音或消除控制器所直接连接的报警器声音。
(四)复位
按下“复位”键清除当前所有火警、故障和反馈的显示。
(五)信息记录查询
按下“记录检查”对系统运行记录进行查询操作。
(六)启动方式的设置
按下“启动控制”键通过上下键选择相应的控制方式按下“确认”键存储,系统即工作在所选的状态下。
(七)关机
关机先关备用电源,再关主电源。
四、消防中控室火灾处理流程
1.当火灾报警控制器发出火灾报警,按下“消音”键消
除控制器报警,值班人员持通讯工具和灭火器迅速到现场确认。
2.确认误报,按下“复位”键,清除火灾报警,再按“记
录检查”键对报警记录进行查询并记录下来。
3.确认为火灾按下“启动控制”键通过上下键将联动方
式设置成“手动方式;允许;自动方式;全部自动”,拨打“119”报警,通知公司领导,并通过消防广播疏散人员,监视火灾情况下设备的运行状况。
i火灾自动报警及联动系统操作流程图
注:1、认真作好每日消防监控记录,包括一般性操作,出现在的问题即处理措施等;
2、广播系统应处于通电状态,以便不时之需;
3、监控室内严禁任何非值班人员随意进入;
4、若停电超过8小时,应关闭所有主机及备电开关。
火灾自动报警及气体自动操作流程图
注:1、认真作好每日消防监控记录,包括一般性操作,出现在的问题即处理措施等;
2、广播系统应处于通电状态,以便不时之需;
3、监控室内严禁任何非值班人员随意进入;
4、若停电超过8小时,应关闭所有主机及备电开关。