工程施工进度保证体系框图
- 格式:docx
- 大小:57.43 KB
- 文档页数:2
图16.2-2 工期保证体系框图
项目经理负责制
施
工
技
术
部
做好施工调查,编制实施性施工组织设计,作好
详细施工计划(进度、材料计划等)
及时进行施工技术交底,并检查安全施工内容
做好隐蔽工程检查工作,保证现场材料供应
在日常工作中注意收集竣工资料,后期按有关规
定和业主要求做好竣工文件
做好材料供应工作,保证现场材料供应
注意材料储备
严把采购关,保证所购材料的合格
按有关规定和制度进行日常工作
按时合理地上报用款计划
工
程
保
障
部
计
划
财
务
部
项
目
副
经
理
认真组织施工,按施工组织设计实施生产,协调
各部门工作
加强工地管理,抓住关键环节不放松,完成或超
额完成施工计划
认真做好施工人员、机械设备、材料等管理工作,
并反映施工中出现的问题
制
定
调
动
人
员
积
极
性
的
办
法
,
领
导
,
检
查
,
督
促
业
务
人
员
的
工
作
,
定
期
组
织
进
行
工
期
的
成
本
分
析。
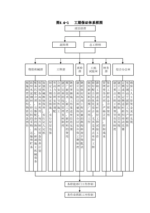
进度控制保证措施1. 进度控制保证措施 (2)1.1. 工期保证体系 (2)1.2. 本工程总工期和关键节点工期控制措施 (2)1.3. 关键节点工期延误的回补措施 (5)1.4. 雨季施工保证措施 (6)1.5. 台风季施工保证措施 (9)1 / 151.进度控制保证措施1.1.工期保证体系以技术保证和资源保证为基础,综合发挥组织保证、经济保证及制度保证的施工进度控制办法,确保实现工期目标。
图 1.1-1工期保证体系框图1.2.本工程总工期和关键节点工期控制措施为了确保本项目按期完成招标的全部内容,主要从项目实施、管理、资源等几个方面制定了工期保证措施,确保工期目标的实现。
(1)工期实施措施为了保证总体进度计划的实现,施工中还要编制每月、每周和每日作业计划,实行大节点、细控制。
层层目标分解,建立动态计划模式,主动控制与被动控制相结合,及时纠正偏差,以日作业计划保证周作业计划,2 / 15以周计划保证月计划,月计划保证工期。
确保工期准点到达。
(2)工期保证管理措施为了保证工程在计划工期内完成,需要在施工组织与技术管理、材料、设备上采取相应的措施,才能确保施工进度的实现。
①指挥体系,坚强有力建立强有力的现场项目管理部,选择一批业务素质好、技术水平高的管理人员充实到中间管理层,整个指挥体系从上到下、精明强干、职责分明、政令畅通。
既保证项目经理的领导权威性,又注意发挥职能部门的主观能动性,齐心协力作好本工程施工每一阶段的工作。
②管理制度,严格规范为了打好每一仗,必须使整个工程管理工作制度化、规范化,做到有章可循,有法可依,保证整个集体强大的战斗力。
现场制定严格的岗位责任制度、质量和安全保证制度以及作息时间制度、分配制度、综合治理制度等等。
③施工准备,严密充分充分做好生产准备和技术准备工作。
生产准备包括备足工程的模板、支撑、脚手架等周转材料,劳动力及设备要按工期要求打紧打足,满足施工工艺的要求;提前做好各种材料、构件、成品、半成品的加工定货,根据生产安排提出计划,明确进场时间。
裕达工程实业有限公司中山东润华庭项目部安全生产组织机构、保证体系框架图编制:中山东润项目部2006 年5 月1 日工程施工安全保证体系及保证措施1-1 工程施工安全体系1、安全管理目标在整个施工期,杜绝各类重大事故;努力减少一般性事故。
具体指标如下:(1)工伤事故:伤亡事故率<4‰,其中重伤率<1‰,死亡率=0‰,实现零目标;(2)火灾事故:直接经济损失率<5000元/ 人·年。
2、安全方针坚持“安全第一,预防为主”的方针。
安全生产组织机构图12 安全生产奖惩制4安全生产保证体系工作保证1. 经理部各类人员各职能 部门的安全生产责任制 ;2. 认真贯彻“安全第一,预防为主”的方针和“管生产必须管安全”的原则 ;3. 对职工进行经常性的安 全教育 ; 4. 坚持安全检查制度 ; 5. 对生产过程中出现的安 全问题按“三不放过”原 则处理 ; 6. 执行安全生产 “五同时”。
1. 安全技术交底后是否从 明白,心中有数; 2. 施工生产过程中各种不 安全因素是否得到控制; 3. 施工机械是否坚持挂牌; 4. 安全操作规程和安全技 术措施是否认真执行; 5. 现场有无违章指挥, 违章 作业; 6. 安全隐患是否限期整改。
3. 周一安全活动制4. 安全设计制5. 安全技术交底制6. 临时设施检查制7. 安全教育制8. 交接班制9. 安全操作挂牌制组织保证进度保证安全生产领导小组 落实责任 制 开工前检查 施工过程检查 收尾工程检查 国家安全法律,法规1. 施工组织是否有安全或 技术措施 ; 2. 施工机械机具是否符合 技术安全规定 ; 3. 安全防护措施是否符合 要求 ; 4. 施工人员是否经过安全 培训 ;5. 施工方案是否经过交底 6. 各级各类人员施工安全 责任制是否落实 ;7. 是否制定安全预防措施 8. 对不安全的因素是否有 控制措施。
我 单 位 十 项 安 全 制 度 1. 安全生产责任制机构职能说明:在工程施工中,我单位将成立工地安全生产领导小组,作为本项目工程安全生产管理机构、安全生产领导小组由项目经理担任组长,亲自主持安全生产领导小组的工作,并安排一名项目副经理担任安全生产领导小组常务副组长,负责日常的安全施工生产。
施工组织机构框图安全目标和安全保证体系及措施本工程项目施工将严格遵守《中华人民共和国安全生产法》、《建设工程安全生产管理条例》、《公路工程施工安全技术规程》等工程建设安全生产有关规定以及《江罗高速安全管理办法》,规范管理,强基达标,创建安全标准化工地。
1.安全目标坚持“安全第一,预防为主”的方针,以“安全为了生产、生产必须安全”为指导,落实“管生产必须管安全、项目经理是安全第一负责人”的原则,严格按照安全技术操作规程和安全规则组织施工。
做好安全生产,创造良好的施工生产环境。
针对各分部分项工程分别制定详细安全措施。
安全管理各项指标确保达到上级“安全标准工地”标准。
安全目标如下:重伤率控制在0.5‰以内,轻伤率控制在5‰以内;杜绝责任职工死亡事故;杜绝重大火灾、爆炸事故、机械设备、中毒事故;2.安全施工原则2.1.安全施工原则坚持“安全第一,预防为主,综合治理”的方针,坚持“以人为本”和“管生产必须管安全”、“只要有人在的地方就有人管安全”的理念,加强安全生产宣传教育,建立健全各项安全生产管理制度,配备专职及兼职安全检查人员,有组织、有计划地开展安全生产活动。
遵章守法,提高职工的安全素质,改善职工的工作条件,给家庭、社会创造更多的安宁、和谐。
2.2.施工安全管理重点临建及施工期间,各种机械设备多,设备的安全使用是安全工作的重点,施工用电是安全管理的另一项重点内容。
安全管理工作要紧紧围绕上述内容狠抓落实,同时不能放松和忽视其它事故易发点的监控,确保安全目标的实现。
3.安全保证体系及组织机构3.1.安全保证体系按照GB/T28000-2001职业健康安全管理体系标准的要求建立本项目安全生产保证体系。
贯彻落实国家,交通部及地方相关安全生产和劳动保护法律、法规,接受安全监督部门及业主的监督检查。
逐级签订安全目标管理责任书,使各级人员明确自己的岗位安全职责,达到全员参加,全面管理的目的。
落实安全生产责任制和“一岗双责”制,从项目经理到生产工人的安全管理系统,必须做到纵向到底,一环不漏;各职能部门和人员的安全生产责任制横向到边,人人有责。
工程质量保证体系框图
质
量
保
证
文
件
安全生产保证体系框图
安
全
监
督
检
查事故处理逐级上报
工期保证体系框图
组建强有力的领导班子选择专业化施工队伍
项目经理部
-财-
-物-
机-
一
组
织
管
理
-
度
合理安排、加强QC小组活动
搞好外部关系、加强协作
信
息
跟
踪
反
馈
环境保护体系框图
提高全员环保意识
钻孔灌注桩施工工艺框图
桩式墩台施工工艺框图
墩(台)盖梁工艺流程图
桥板预制工艺框图
桥板安装施工工艺框图
浆砌片石工艺流程图
Word范文。
工期保证体系框图工期目标是工程建设的一个主要指标,为保证全线及早建成通车,发挥社会效益,项目经理部将采取一切措施确保这一目标的实现。
(1)组织保障:做到领导班子到位、管理人员到位、管理制度到位、现场服务到位、奖惩措施到位。
(2)技术保障:配备足够的技术人员,组成技术攻关组,在每个工序开工前编制详细的施工方案和操作细则,专门研究和解决施工中出现的技术问题。
运用网络技术优化施工设计,积极推广应用新技术、新材料、新工艺,提高劳动生产率。
(3)计划保障:编制切实可行的施工进度计划,并在施工管理的全过程中严格遵照执行,抓好关键项目和关键工序施工进度,根据施工实际进展,及时调整施工计划,确保各项工作始终控制在按计划、有秩序的轨道上。
(4)人员、设备保障:投入充足的人员、施工机械设备、车辆,所有设备车辆按一般负荷所需数量的110%配备,保证在使用高峰时不会因为某分设备损坏而造成停工。
(5)施工调度保障:合理调配劳动力,根据各工序的需要随时抽调设备与人员,做到停人不停机,提高机械利用率。
(6)资金保障:加强资金调度,保障工程的周转资金,确保工程材料有一定的储备量,供需时使用。
(7)后勤保障:抓好职工生活、医疗、卫生、防病工作,保证职工有充分的精力和体力。
生产、生活物资供应及时,解决职工的后顾之忧。
(8)协调保障:尊重和服从业主、监理工程师的监督、指导,将各项工作做好,同时加强和当地村民和乡村级政府的联系,尽可能避免因为地方矛盾出现的停工。
第四章、工程质量管理体及保证措施一、质量管理体系见下页图:1、质检体系:项目部设有质检部,配备有专职质职员,各施工队和作业班设兼职质检员。
项目部实行分级管理制度,质检工程师配备与其职责相匹配的质检仪器、设备、工具和书籍,为其提供充分的装备。
2、试验体系:项目部设中心试验室,为试验室配备与其相适应的仪器、设备保证工程试验资料的真实准确性,以充分反映结构实体内部质量状况。
3、检测体系:项目部设工程部测量队,配备全站仪、水准仪等,以满足本工程所需,测量组负责本合同段控制测量和施工放样工作。
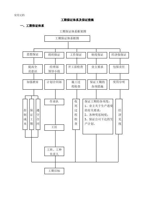
工期保证体系及保证措施一、工期保证体系工期保证体系框架图工期保证体系框图思想保证组织保证工作保证制度保证经济保保证提高全员意识经理部领导小组开工前检查业主要求包保责任加强教育计划合同部施工过程检查保证工期的各项措施奖罚分明控制成本保证工期遵守合同作业队工区工班、工种负责人收尾过程检查保证工期的各项度:1、业主关于生产进度的有关要求;2、各种奖惩制度;3、保证公司下达的生产计划。
经济兑现工期目标二、工期保证措施工期保证措施框图我公司制定有具体而严格的《项目施工管理实施细则》,工程进度计划的实施是对项目部考核的一项重要内容,并有严格的进度计划目标保证调整措施和奖励政策。
工程施工前,项目经理须与公司签订“责任书”,项目部各级主要管理负责人,也要按其职责划分,层层签订“责任书”,明确项目部各级人员的职责。
加强管理考核,充分调动全体干部、职工的积极性,从组织和管理制度上来确保工程进度按计划实施完成。
1、工期管理措施(1)每月制定月进度计划,月进度计划中包含工序计划、周计划、日计划;坚持施工班组抓工序计划目标,各工区抓日计划目标,项目部抓周计划目标。
(2)坚持会议协调制度。
坚持每日现场例会、每周生产调度会、每旬生产检查会、每月计划会。
(3)加强现场调度在生产指挥中施工组织、协调、检查、反馈及快速反应的作用。
(4)对各节点进度实行目标考核,建立进度目标奖励基金,对进度目标的实现情况进行奖惩。
(5)积极参加业主、监理组织的各种协调会,积极配合业主和监理。
协调与各参建单位及有关社会主管部门的关系,创造一个良好的施工环境,以确保工程进展。
(6)在工程地质条件、自然灾害等重大原因造成原目标工程不可能实现或施工方案的重大改变,导致较多的作业增减,施工关系改变时,现行工程与目标工程已不能做出比较,需将目标工程进行维护和更新。
在建设各方协调一致认可后,按更新后的目标工程进行实施。
(7)坚持项目部领导和技术人员现场24小时值班制度,及时协调、处理、解决施工中出现的问题。