土地登记发证流程图
- 格式:doc
- 大小:31.00 KB
- 文档页数:2
土地证办理流程及费用(土地证办理流程图)土地证如何办理1、土地证办理流程:要知道房屋转让连同土地使用权一同转移,需提交房屋买卖协议、房照、原土地使用证。
房屋连同土地使用权继承,赠与需提交房照、原土地使用证、公证书或使用权人亲笔签名协议与街道证明。
2、办理土地证有什么步骤土地使用者应按照以程序办理: (一)土地登记申请。
申请人持上述材料到土地登记机关填写《土地登记申请书》; (二)地籍调查。
包括权属调查和地籍测量两部分。
土地证到底如何办理?过户土地证费用多少?首先到土地局绘图,转受双方带齐以上证件签定协议,填写协议书,在所有证件的复印件上签字按手印;带着各项材料到土管部门受理窗口申请办理;因办房权证已经缴纳契税等费用,只需缴纳登记费(工本费)70元即可。
一般情况下,办理土地证过户需要花费几百元。
如果是国有出让性质土地证,是可以办理过户的,过户只有几百手续费。
国有土地使用证过户的步骤首先要与卖方达成一致协议,并签订协议书。
其次是双方到国土管理部门提出变更(过户)申请。
办理土地证有什么步骤土地使用者应按照以程序办理: (一)土地登记申请。
申请人持上述材料到土地登记机关填写《土地登记申请书》; (二)地籍调查。
包括权属调查和地籍测量两部分。
土地证是土地所有者最重要的证明,有了土地证拥有者享有土地所有权或者使用权,土地证办理流程:房屋转让连同土地使用权转移,需提交房屋买卖协议、房照、原土地使用证。
工业用地拿地流程和费用审批内容包括费用表及转让审批表。
费用表须经所长签字后,经办人携完整转让档案与转让审批表等报中心及局领导审查批准。
登记编号审批后,也可在审批前到产权科对补签出让合同及审批表编号。
申请者先到本局服务大厅领取相关表格后到信息中心出建设用地红线图;备齐材料后再到国土资源局服务大厅递交申请。
所需材料:申请报告(原件及A4纸)。
建设用地规划许可证(原件及A4纸复印件各一份)。
购买工业用地一般的有两个途径:政府和个人渠道。
土地确权登记发证流程图一、土地权利申请人三、权属审核四、注册、注销登记五、颁发证书1土地估价备案流程图土地变更调查工作流程图↓↓2↓3用地审批工作流程图↓↓↓↓↓↓↓↓↓4国有土地使用权转让工作流程图↓↓↓↓5集体土地使用权变更工作流程图↓↓↓6办理普通建筑用石材(砂、石)采矿登记工作流程图↓↓↓↓↓↓↓↓7受理探矿权申请工作流程图↓↓↓↓8违法案件查处工作流程图↓↓↓↓↓↓↓↓↓↓↓↓↓9收购储备存量建设用地招标拍卖工作流程图↓↓↓↓↓↓↓10收购储备新增建设用地招标拍卖工作流程图↓↓↓↓↓↓↓↓↓11收购储备新增建设用地招标拍卖工作流程↓↓↓↓↓↓↓↓↓12土地开发整理项目工作流程图↓↓↓↓↓↓13土地利用总体规划及相关工作流程图↓↓↓14零星开发项目工作流程图↓↓↓地租征收工作流程图↓↓↓↓1516。
土地使用权初始登记发证审核运行流程图
30
土地使用权变更登记发证审核运行流程图
15
土地使用权抵押登记核准运行流程图
划拨土地使用权补办出让审核流程图
建设项目用地预审流程图
建设用地供应审核流程图
临时用地审批流程图
采矿权审批流程图
永久性测量标志拆迁审批流程图
备注:承诺时间不包含听证、招标、拍卖、检验、检测、检疫、鉴定和专家评审、现场勘查、补件、上报(转报)所需要的时间。
利用属于国家秘密基础测绘成果审批
流程图
备注:承诺时间不包含听证、招标、拍卖、检验、检测、检疫、鉴定和专家评审、现场勘查、补件、上报(转报)所需要的时间。
其他权利类流程图
行政监督检查类流程图
行政征收类流程图
窗口(财务室)开具相关征收事项缴款通知书缴款人从开具缴款通知书日起指定工作日内通过银行系统将费用全额就地缴入指定财政账户,并将非税收入缴款单据第一联原件和第四联复印件提供给大厅审核。
⼟地使⽤权登记发证流程有哪些⼟地使⽤权登记发证流程
⼀、事项名称:⼟地使⽤权登记发证
⼆、办事依据:
《中华⼈民共和国⼟地管理法》
《民法典》
《中华⼈民共和国房地产管理法》
《中华⼈民共和国⼟地管理法实施条例》
《民法典》
《中华⼈民共和国城镇国有⼟地使⽤权出让和转让暂⾏条例》
《不动产登记暂⾏条例》(中华⼈民共和国国务院令第656号)
《⼟地登记办法》(国⼟资源部令第40号)
三、办理对象:公民、法⼈、企业
四、申请条件:依法取得国有或集体建设⽤地使⽤权的公民、法⼈、企业
五、提交资料:
1、⼟地登记申请书;
2、申请⼈⾝份证明材料;
3、⼟地权属来源证明;
4、地籍调查表、宗地图及宗地界址坐标;
5、地上附着物权属证明;
6、法律法规规定的完税或者减免税凭证;
7、《⼟地登记办法》(国⼟资源部令第40号)规定的其他证明材料。
申请⼈申请⼟地登记,应当如实向县国⼟资源局提交有关材料和反映真实情况,并对申请材料实质内容的真实性负责。
六、办理程序:
1、申请⼈备齐资料到县国⼟资源局政务⼤厅总窗⼝申请办理⼟地使⽤权登记;
2、由⼤厅总窗⼝初审申请⼈资料合格的,进⼊电⼦政务系统流程按程序办理;
3、在规定时间办理完毕的业务,由⼤厅窗⼝制证、盖章后发放相关证书。
七、办理时限:法定时限为20个⼯作⽇。
⼋、收费标准和依据:湘发改价费(2014)958号。
土地随房产抵押登记工作流程图(1个工作日)备注:由过去6个环节,减少到现在的2个环节;时间由7个工作日,减少到1个工作日。
土地抵押登记工作流程图(5个工作日)备注:由过去6个环节,减少到现在的3个环节;时间由7个工作日,减少到5个工作日。
国有土地使用权(个人共用宗地)土地登记发证工作流程图(10个工作日)备注:由过去5个环节,减少到现在的3个环节;时间由20个工作日,减少到10个工作日。
时间由20个工作日,减少到10个工作日。
国有土地使用权(单位共用宗地)土地登记发证工作流程图(10个工作日)备注:由过去个7环节,减少到现在的3个环节;时间由25个工作日,减少到10个工作日。
国有土地使用权(独立宗地)土地登记工作流程图(10个工作日)备注:由过去7个环节,减少到现在的3个环节;时间由25个工作日,减少到10个工作日。
房改房、经济适用房划拨土地使用权补办出让手续工作流程图(1个工作日)备注:由过去4个环节,减少到现在的2个环节;时间由20个工作日,减少到1个工作日。
原有住房划拨土地使用权补办出让手续工作流程图(10个工作日)备注:由过去6个环节,减少到现在的3个环节;时间由20个工作日,减少到10个工作日。
商业用房划拨土地使用权补办出让手续工作流程图(10个工作日)备注:由过去8个环节,减少到现在的3个环节;时间由20个工作日,减少到10个工作日。
国家秘密基础测绘成果使用审批工作流程图(1个工作日)备注:由过去2个环节,减少到现在的1个环节;时间由5个工作日,减少到1个工作日。
图。
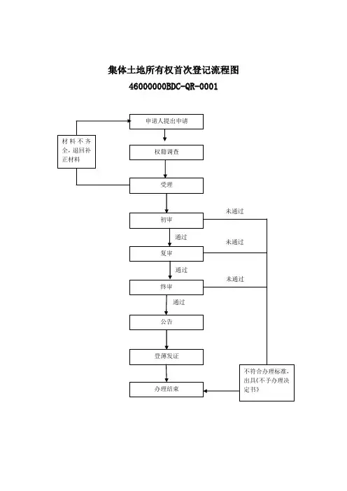
集体土地所有权首次登记流程图46000000BDC-QR-0001集体土地所有权变更登记流程图46000000BDC-QR-0002集体土地所有权转移登记流程图46000000BDC-QR-0003集体土地所有权注销登记流程图46000000BDC-QR-0004国有建设用地使用权及房屋所有权首次登记流程图46000000BDC-QR-0005国有建设用地使用权及房屋所有权变更登记流程图46000000BDC-QR-0006国有建设用地使用权及房屋所有权转移登记流程图46000000BDC-QR-0007国有建设用地使用权及房屋所有权注销登记流程图46000000BDC-QR-0008宅基地使用权及房屋所有权首次登记流程图46000000BDC-QR-0009宅基地使用权及房屋所有权变更登记流程图46000000BDC-QR-0010宅基地使用权及房屋所有权转移登记流程图46000000BDC-QR-0011宅基地使用权及房屋所有权注销登记流程图46000000BDC-QR-0012集体建设用地使用权及建筑物、构筑物所有权首次登记流程图46000000BDC-QR-0013集体建设用地使用权及建筑物、构筑物所有权变更登记流程图46000000BDC-QR-0014集体建设用地使用权及建筑物、构筑物所有权转移登记流程图46000000BDC-QR-0015集体建设用地使用权及建筑物、构筑物所有权注销登记流程图46000000BDC-QR-0016土地承包经营权首次登记流程图46000000BDC-QR-0017土地承包经营权变更登记流程图46000000BDC-QR-0018土地承包经营权转移登记流程图46000000BDC-QR-0019土地承包经营权注销登记流程图46000000BDC-QR-0020海域使用权及海上建筑物、构筑物所有权首次登记流程图46000000BDC-QR-0021海域使用权变更登记流程图46000000BDC-QR-0022海域使用权转移登记流程图46000000BDC-QR-0023海域使用权所有权注销登记流程图46000000BDC-QR-0024地役权首次登记流程图46000000BDC-QR-0025地役权变更登记流程图46000000BDC-QR-0026地役权转移登记流程图46000000BDC-QR-0027地役权注销登记流程图46000000BDC-QR-0028抵押权首次登记流程图46000000BDC-QR-0029抵押权变更登记流程图46000000BDC-QR-0030抵押权转移登记流程图46000000BDC-QR-0031抵押权注销登记流程图46000000BDC-QR-0032最高额抵押权首次登记流程图46000000BDC-QR-0033申请最高额抵押权变更登记流程图46000000BDC-QR-0034最高额抵押权确定登记流程图46000000BDC-QR-0035最高额抵押权转移登记流程图46000000BDC-QR-0036建设用地使用权及在建建筑物抵押权首次登记流程图46000000BDC-QR-0037建设用地使用权及在建建筑物抵押权变更、转移、注销登记流程图46000000BDC-QR-0038不动产登记簿记载的事项有错误的更正登记流程图46000000BDC-QR-0039不动产登记簿记载的事项错误,权利人不同意更正的异议登记流程图46000000BDC-QR-0040不动产预告登记流程图46000000BDC-QR-0041预告登记的注销流程图46000000BDC-QR-0042查封登记流程图46000000BDC-QR-0043查封登记的注销流程图46000000BDC-QR-0044。
土地使用权初始登记流程图土地使用权初始登记流程图申请人到窗口申请窗口受理,审查资料,对符合要求的进行登记,并出具收件单行政许可科审查,对报件内容符合要求的,经办人填写土地登记表行政许可科负责人审核对有异议的登记申请,提交局会审会会审会审会通过的,直接发证通知申请人领证报件内容不符合要求的,一次性告知应补充的资料报件内容不符合要求的,一次性告知应补充的资料对无异议的登记,直接发证土地使用权变更登记流程图申请人到窗口申请窗口受理,审查资料对符合要求的,受理报件资料对独立宗的,开具委托测绘通知单根据内容不符合要求的,一次性告知应补充的资料属房改房上市交易的,到评估所评估属划拨地需补办出让手续的,出具规划意见征询函到市住建局窗口。
属出让土地的,出具委托测绘通知单混合宗并且是出让土地的直接办理符合规划条件的,出具委托评估通知单测绘图纸出来后,出具委托评估通知单混合宗并且是划拨拨土地的,出具委托评估通知单拿到评估报告后,报局会审会,报分管局长审批报市人民政府审批通知申请人领证农村村民宅基地初始登记流程图申请人申请国土分局(所)初审,形成报件资料行政服务中心窗口受理,审查报件资料是否齐全、合法行政许可科初审有异议报中上报局会审会讨论由国土分局(所)通知申请人领证不符合要求,退回并一次性告知补充内容土地使用权抵押登记流程图申请人向窗口提出申请行政服务中心窗口受理,审查资料是否齐全符合条件的,立即办理申请人窗口领土地他项权利证书不符合要求,退回并一次性告知补充内容行政许可科初审建设项目用地预审流程图报件内容不符合要求的,一次性告知其应补充内容。
申请人提出用地预审申请,并提交有关材料。
行政服务中心窗口审查其要件,对符合形式要求的进行登记,并出具受件回执内业审查,外业踏勘,对报件内容符合要求的,拟文。
土地利用科审查分管领导审核,签字。
不予许可的,告知申请人,说明原因。
对需要转报上级批准的预审项目,出具预审意见书(初审),按规定20个工作日转报上级属于市国资源局审批权限,主办科室出具预审意见书。
农村土地确权登记颁证工作流程图
1.收集资料
收集二轮承包台账、户籍、行政区代码以及行政界线、1:2000数字正射影像数据、基础测绘成果、基本农田范围线、地力登记划分成果、国有用地红线、林权界线等资料。
2.摸底调查
组织人员进村入户开展摸底调查,发放并填写发包方调查表、承包方调查表等,收集核实二轮承包农户户籍、二轮承包台账等信息,并逐户签字认可。
3.制作底图
以集体经济组织为单位,以1:2000数字正射影像图作为调查地块、获取电子图斑的基础数据,并添加标注。
以图形纹理的形势勾绘农户承包地的权属边界,制作打印工作地图。
4.外业调查
由镇、村工作人员共同组成农户承包地指界小组,与承包户主或代理人现场共同指界确认承包户所属地块,并由调绘人员标注上图,填写承包地块调查表。
5.内业处理
对外业调查数据及图件进行检查后,按照相关规范要求,制作地块分布图(确认图)、农户承包地块空间方位示
意图等图件资料以及公示结果归户表、登记簿、合同等资料。
6.张榜公示
集体经济组在地块分布图(公示图)、公示表上加盖公章,在村务公开栏公示。
在公示期间,发包方和承包方提出异议的,镇、村工作人员与调查人员应及时核实、修正,并再次进行公示。
7.签印确认
公示无异议的,由发包方、承包方(代表)在农村土地承包经营权公示结果归户表和地块分布图(确认图)上签字盖章或者按手印确认。
8.审核颁证
村集体经济组织将本组的确权成果资料连同《土地承包合同》,上报镇政府初审,初审通过后提交县级审核。
审核通过后,向农户颁发加盖县级政府印章的农村土地承包经营权证书。
土地使用权初始登记发证审核运行流程图
30
土地使用权变更登记发证审核运行流程图
15
土地使用权抵押登记核准运行流程图
划拨土地使用权补办出让审核流程图
建设项目用地预审流程图
建设用地供应审核流程图
临时用地审批流程图
采矿权审批流程图
永久性测量标志拆迁审批流程图
备注:承诺时间不包含听证、招标、拍卖、检验、检测、检疫、鉴定和专家评审、现场勘查、补件、上报(转报)所需要的时间。
利用属于国家秘密基础测绘成果审批
流程图
备注:承诺时间不包含听证、招标、拍卖、检验、检测、检疫、鉴定和专家评审、现场勘查、补件、上报(转报)所需要的时间。
其他权利类流程图
行政监督检查类流程图
行政征收类流程图
窗口(财务室)开具相关征收事项缴款通知书缴款人从开具缴款通知书日起指定工作日内通过银行系统将费用全额就地缴入指定财政账户,并将非税收入缴款单据第一联原件和第四联复印件提供给大厅审核。
土地登记的一般流程下载温馨提示:该文档是我店铺精心编制而成,希望大家下载以后,能够帮助大家解决实际的问题。
文档下载后可定制随意修改,请根据实际需要进行相应的调整和使用,谢谢!并且,本店铺为大家提供各种各样类型的实用资料,如教育随笔、日记赏析、句子摘抄、古诗大全、经典美文、话题作文、工作总结、词语解析、文案摘录、其他资料等等,如想了解不同资料格式和写法,敬请关注!Download tips: This document is carefully compiled by theeditor. I hope that after you download them,they can help yousolve practical problems. The document can be customized andmodified after downloading,please adjust and use it according toactual needs, thank you!In addition, our shop provides you with various types ofpractical materials,such as educational essays, diaryappreciation,sentence excerpts,ancient poems,classic articles,topic composition,work summary,word parsing,copy excerpts,other materials and so on,want to know different data formats andwriting methods,please pay土地登记的一般流程表格序号步骤名称具体内容所需材料办理部门预计时间备注1 提交申请向当地土地管理局提交土地登记申请土地登记申请表、申请人身份证件、土地权属证明等当地土地管理局1-3个工作日确认材料齐全2 受理审查土地管理局对申请材料进行审查无当地土地管理局1-3个工作日确保材料真实有效3 现场勘查土地管理局对申请地块进行实地勘查无当地土地管理局1-3个工作日配合做好现场勘查4 公告公示对通过审查的申请进行公告公示无当地土地管理局1-3个工作日公示期间无异议5 登记造册根据审查和公示结果制作土地登记簿无当地土地管理局1-3个工作日核对登记内容6 颁发证书完成注册后颁发土地权利证书无当地土地管理局1-3个工作日妥善保管证书请注意,上述流程和时间仅供参考,具体办理流程和时间可能会因地区政策和实际情况而有所不同。
农村房地一体确权登记工作发证流程图
宜丰县农村房地一体调查数据
乡(镇)、村+登记经办人员
无权属资料
已有权属资料,如土地证、房产证、建设用地审批表、村镇建设用地规划许可等审批材料
一户一宅
一户多宅
一户一宅之外的宅基地
非本农民集体成员
因继承取得
符合分户政策规定
不符合继承、分户政策等
不予登记
因继承取得
公告15个工作日无异议后确权登记
一户一宅
本人申请→村民小组集体
确认→村委会确认→乡镇
人民政府确认
因扶贫搬迁、地质灾害防治、新农村建设、移民安置等,已取得审批手续且权属无争议
1999年1月1日之前合法取得的
宅基地
不属于前三类
公告7天无异议后确权登记
不予登记
所有符合政策可以确权登记的农房,土地、房屋确权面积按以下标准执行: 1982年前建成的宅基地,在不扩建的基础上可以按现有实际使用面积确权登记; 1987年后建成的宅基地有审批手续的按批准面积确权登记,无审批手续的土地面积按在120平方米以内,建筑面积不得突破350平方米进行确权登记。
不予登记
本人申请→村民小组集体确认→村小组确认→乡镇人民政府确认
公告7天无异议后确权登记
本人申请→村民小组集体确认→村委会确认→乡镇人民政府确认。
土地登记发证流程图
土地登记发证流程说明
一、权力行使条件
1、土地登记申请书2申请人身份证明材料3、土地权属来源证明4、地籍调查表、宗地图及宗地界址坐标5、地上附着物权属证明6、法律法规规定的完税或者减免税凭证;7、其他证明材料。
二、承办具体岗位
地籍科。
三、运行程序及每个环节的办理时限
1、国土资源局各区分局接到用地申请,对资料进行初步审核,不全一次告知,资料齐全的,分局审核组件上报市地籍科(时限3个工作日)。
2、地籍科收到分局报件后,承办人初审后,报科长审核,符合审批条件的报主管副局长。
(时限5个工作日)
3、主管局长签署批准意见。
(时限2个工作日)
4、报局长审批(时限2个工作日)
5、录入档案、打印土地使用证,加盖人民政府审批章(时限2个工作日)
6、发放土地使用证。
(时限1个工作日)
四、总的办理时限
15个工作日。
五、监督制约机制
执行《鸡西市国土资源局执行规范权力运行制度监督检查办法(试行)》和《鸡西市国土资源局关于违反规范权力运行制度责任追究办法(试行)》。
六、投诉举报途径和方式
对不按法定时限审批的当事人可以向鸡西市国土资源局纪检监察室投诉及举报,投诉举报形式可以采取当面和书面及电话举报,举报电话:2621862 2621865。