合同管理制度及流程图
- 格式:doc
- 大小:61.50 KB
- 文档页数:13
采购合同管理制度及流程图一、引言采购合同管理制度是为了规范和管理采购合同的签订和执行流程,确保采购活动的合法性、透明度和效率性。
本文档旨在详细描述采购合同管理制度及相关流程,并通过流程图展示各个环节的具体步骤。
二、采购合同管理制度2.1 采购合同管理目的本制度旨在建立和完善采购合同管理制度,确保采购活动的公平、公正和合法性,保护公司利益,降低采购风险。
2.2 采购合同管理范围采购合同管理范围包括但不限于以下内容:•评估和选择供应商;•签订采购合同;•合同履行和管理;•合同付款和结算;•合同变更和解除。
2.3 采购合同管理职责2.3.1 采购部门•负责采购需求确认和评估;•搜集、筛选供应商,并与供应商洽谈和签订合同;•确保合同履行和采购进度;•监督合同付款和结算;•负责合同的变更和解除。
2.3.2 法务部门•负责审核和起草采购合同;•提供法律意见和风险评估;•监督合同履行过程中的合规性。
2.3.3 财务部门•负责合同付款和结算;•提供财务分析和报告。
2.4 采购合同管理流程本制度规定了以下采购合同管理流程,具体流程如下:2.4.1 采购需求确认和评估1.采购部门接收采购需求,并进行需求确认和评估;2.确定采购规模、时间、预算等关键要素;3.编制采购计划。
2.4.2 供应商评估和选择1.采购部门开展供应商搜集和筛选工作;2.对潜在供应商进行详细评估,包括供应能力、信誉度、价格等方面;3.与供应商进行洽谈,确定合同条款;4.选择供应商并签订采购合同。
2.4.3 合同履行和管理1.供应商按合同约定执行交付和服务;2.采购部门进行合同履行监督和管理;3.确保供应商按时交付和提供相关服务。
2.4.4 合同付款和结算1.供应商提供货物或服务后,采购部门完成验收;2.财务部门进行合同付款和结算;3.监督付款过程的合规性。
2.4.5 合同变更和解除1.如需变更合同内容,采购部门与供应商进行协商;2.经法务部门审核后,进行合同变更;3.如无法协商一致,可解除合同。
开始
筛选调查对象
要求意向对象填表
收集相关资料
供应商调查表
部门负责人
审核
不通过
复核资料、调查供应商调查表合同管理员审核
是否属于一般合同
是
确定拟签绝不对象、通知对方准备
谈判部门负责人审核
供应商调查表
审核通过
是否属于
重要合同
通过
审核通过
结束
开始确定谈判小组成员
部门负责人审核名单
审核通过
是否为重大合同
通过不通过
审批小组名单
参加谈判小组参加谈判小组
组织谈判
参与谈判
参与谈判
整理谈判记录
结束
签字确认谈判记录签字确认谈判记录
开始
起草合同
合同审批表
不通过
部门负责
人审核
通过
审核审核审核
根据反馈意
见修改合同
审核审批
是否为重
审批
大合同结束
开始
办理合同签署手续
是否为
重大合同
是否为
重要合同
由单位负责人授权部门负责人签署合
同
否
递交合同相关资料合同审批表原件
单位负责人授
权签署合同
签署合同
登记
合同审批表、合同原
件、合同管理台账
申请加盖合同印章加盖合同印章所在合同审批表中确认
结束。
工程合同管理工作程序(一)合同报审:1.接到本组初审并经部门负责人签字的合同预定简报,分项目登记汇总后于每天上午复印7份,分别上报总经理、总工程师、分管副总、办公室、工艺技术部、审计部和财务部,完成时间为一天。
2.三天内如有批复应及时取回,反馈给部门负责人。
3.接到经办主管签字确认的合同后,进行登记并提交本组进行合同初审,检查合同及附件是否符合规定要求;并查清客户档案包括:企业法人营业执照、生产许可证,质量认证证书、产况介绍、业绩表,法人授权委托书及业务员的简历、备忘录(备忘录上至少要有写备忘录的人员签字)、比价表、核价单等资料是否齐全。
如有修改意见,书面反馈给经办人。
如初审合格,将合同提交部长签字,完成时间为半天。
4.将合同分项目登记,并报至工艺技术部审批,完成时间为半天。
5.报分管副总审批,当天送到,第二天取回。
6.报法律部审核,半天完成。
报审计部签收后,一天半取回。
(即在审计部只允许存放时间为有效工作时间12小时)。
7.审计结束后取回盖有我公司合同章的合同交至合同经办人3-6份(包括对方单位份数),项目组负责人复印件一份。
余下所有资料包括审计部意见交本部门综合组档案员存档。
8.合同报审操作时间为三个工作日,领导出差等特殊情况要及时汇报,合同送至各审批单位要注明送达时间经常催促,有异议或疑问要及时反馈至合同签订人。
(二)决算报审:1.接经部门预算主管审批后的工程决算进行分项目登记。
2.报部门负责人签字,报分管副总审批。
3.送审计部签收。
4.零星工程(10万元以下投资)或技改的决算送审计部二周后取回,大工程(10万元以上投资)五周内取回。
5.审计结束取回后,交计划、会计人员各一份,原件交综合组档案员存档。
工程部合同签订流程图↓↓↓↓↓↓↓↓↓↓↓↓↓↓↓↓。
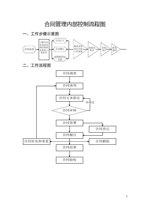
合同管理制度(完整版)-合同制度管理合同管理制度(完整版)-合同制度管理第一部分:引言1. 引言目的旨在规范和管理公司合同的签订、履行和管理流程,保障合同的合法性、权益的保护和风险的控制。
2. 引言适用范围适用于公司内所有与合同相关的部门和人员。
第二部分:合同管理1. 合同定义合同是指双方或多方当事人通过协商一致,设立、变更、终止民事关系的法律文件。
2. 合同管理的原则合同管理应遵循以下原则:- 合法合规原则:合同必须符合相关法律法规的规定,并保证合同签订的公平、公正和公平;- 风险控制原则:合同管理应注重风险评估和控制,确保公司权益不受损害;- 知识产权保护原则:合同管理应注重对知识产权的保护和管理,防止知识产权的侵权和滥用;- 信用约束原则:合同管理应建立信用约束机制,对不履行合同义务的当事人采取相应的惩罚措施。
3. 合同管理流程合同管理流程包括合同的起草、审核、签订、履行和存档等环节,具体流程如下:- 合同起草:由相关部门或人员根据实际业务需求起草合同;- 合同审核:由法务部门对合同进行法律审核,确保合同的合法性和合规性;- 合同签订:合同经审核后,由相关当事人进行签署;- 合同履行:双方按照合同约定履行合同义务;- 合同存档:合同签订后应及时存档,便于管理和查询。
第三部分:合同管理的具体要求1. 合同起草要求- 合同起草应明确约定合同的基本信息,包括合同名称、签约双方、合同的有效期限、合同的目的和内容、合同的费用和付款方式等;- 合同起草应遵循合同法律法规和公司内部规章制度的相关要求;- 合同起草应避免模糊和不明确的条款,确保合同的可执行性和可操作性。
2. 合同审核要求- 合同审核应由具备法律知识和专业背景的法务人员进行;- 合同审核应对合同的合法性、合规性、风险性进行评估和审查;- 合同审核应及时反馈审核结果,并提出修改意见和建议。
3. 合同签订要求- 合同签订应由具有签约权限的人员进行;- 合同签订应确保签订的合同与经过审核的合同一致,避免盖章或签字错误;- 合同签订时应加强对合同条款的解释和告知,以确保双方对合同内容的理解一致。
部门合同管理制度及流程一、为加强部门内合同管理,规范合同的签订、履行和终止,提高合同管理的效率和科学性,特制定以下《部门合同管理制度》。
二、合同的种类和签订1. 合同的种类:本制度涉及的合同,包括但不限于员工劳动合同、采购合同、销售合同、租赁合同、技术合同、服务合同等。
2. 合同签订的程序:(1)需求方提出需求,根据需求确定合同类别。
(2)法务部门负责审核合同模板的合法性和合同内容的合规性。
(3)合同内容和条款经过双方商议,并由领导签字确认。
(4)交付合同文本副本,并按照合同条款的规定执行。
三、合同的履行和管理1. 合同的履行:各部门在签订合同后,应严格履行合同中规定的内容,不得擅自变更或解除合同。
2. 合同的管理:(1)存档管理:法务部门应对签订的合同文本进行归档管理,确保合同文本的完整性和可查性。
(2)合同履行情况的监控:相关部门应对合同的履行情况进行监控和反馈,确保合同的规范履行。
(3)变更和解除合同:若需变更或解除合同,需由责任部门提出申请,并经法务部门审核同意后方可进行。
四、合同的终止和结算1. 合同的终止:(1)合同到期:合同到期时,应及时对合同履行情况进行总结和评估,由相关部门提出是否续签合同的建议。
(2)合同提前终止:当出现了合同违约或需要提前终止合同时,应由责任部门提出申请,并经法务部门审核同意后方可进行。
2. 合同的结算:合同终止时,各部门应对合同履行情况进行结算,包括尚未履行的义务和已履行的权利。
五、管理流程图(见附件一:合同管理流程图)六、部门合同管理的注意事项1. 各部门在合同管理的过程中应遵循法律法规和公司的相关规定,确保合同的合法性和规范性。
2. 合同的履行和管理过程中,应注意相关信息的保密性和安全性,防范合同纠纷和风险。
3. 合同管理的各个环节应严格按照本制度的规定进行操作,确保合同的科学性和有效性。
七、合同管理的后续完善本制度实施后,应及时总结工作经验,进一步完善合同管理的相关规定和流程,提高合同管理的科学性和效率。
学校合同管理制度和流程图学校合同管理制度和流程图引言:学校合同管理制度和流程图是指为规范学校与各类合作伙伴之间的合作关系,确保合同执行的顺利进行,促进学校与合作伙伴之间的合作发展而制定的一项重要制度。
本文将围绕学校合同管理的必要性、制度的构建以及流程图的制作进行详细讲解。
一、学校合同管理的必要性学校与各类合作伙伴之间的合作关系日益复杂多样,合作的方式和合作的内容也越来越多样化,这就给学校的合同管理工作带来了新的挑战。
因此,建立一套合理高效的学校合同管理制度,对学校的合同管理工作至关重要。
1. 保障学校的合法权益学校与合作伙伴之间的合作往往涉及到大量的资源投入和权益交换。
建立合同管理制度可以确保学校在与合作伙伴的合作过程中,能够充分保护自身的合法权益,避免合作产生不必要的纠纷和损失。
2. 提高合同执行效率合同的执行效率直接关系到学校与合作伙伴之间的合作成果。
通过建立合同管理制度,可以明确合同的各项指标和要求,规范合同的执行流程,提高合同的执行效率,确保合同按时按量完成。
3. 增强合同的监督和控制能力合同的监督和控制是保障合同执行的重要环节。
建立合同管理制度可以明确合同的监督和控制措施,加强学校对合同的监督和控制,有效遏制合同风险,提高学校合同管理的水平。
二、学校合同管理制度的构建学校合同管理制度的构建是一个系统工程,需要从规章制度、人员配置、信息化建设等多个方面着手。
1. 规章制度学校应制定一系列关于合同管理的规章制度,明确合同管理的原则、流程、责任和权益等,确保制度的公平公正,并对违反规定的行为进行相应的处罚。
2.配置专业人员合同管理需要专业的人员进行管理和协调。
学校应当配置专业的合同管理团队,负责合同的起草、谈判、签订、执行、评审等各个环节,确保合同的顺利进行。
3.信息化建设学校应加强对合同管理的信息化建设,建立合同管理的数据库,实现对合同信息的集中存储和管理。
通过信息化建设,可以提高合同管理的效率和准确性,减少人工操作的繁琐和错误。
企业合同管理制度及流程第一章总则第一条为了规范企业的合同管理,防范合同风险,提高合同履约能力,根据《合同法》、《公司法》等法律法规,制定本制度。
第二条本制度适用于企业与外部单位、个人签订的各类合同,包括但不限于销售合同、采购合同、租赁合同、服务合同等。
第三条合同管理应当遵循合法、合规、公平、诚信的原则,确保合同的真实性、合法性和有效性。
第四条合同管理部门负责合同的归口管理,对合同的签订、履行、变更、解除、终止等活动进行监督和管理。
第二章合同的签订第五条合同签订前,应当进行充分的调查和评估,了解对方的资信状况、履约能力等情况,必要时可以要求对方提供担保。
第六条合同应当采用书面形式,明确约定各方的权利和义务,合同内容应当具体、明确、完整。
第七条合同应当由法定代表人或者授权代表签字或者盖章,并注明签订日期。
第八条合同签订后,应当及时进行合同登记,并将合同副本归档保存。
第三章合同的履行第九条合同生效后,各方应当严格按照合同的约定履行各自的义务。
第十条合同履行过程中,如发生争议或者纠纷,应当及时协商解决,协商不成的,可以通过诉讼或者仲裁等方式解决。
第十一条合同履行过程中,如需变更或者解除合同,应当经各方协商一致,并签订书面协议。
第四章合同的监督和检查第十二条合同管理部门应当定期对合同的履行情况进行监督和检查,发现问题及时处理。
第十三条合同履行完毕后,应当及时进行合同结算,并对合同履行情况进行总结和评价。
第五章法律责任第十四条企业违反合同管理制度及流程,造成经济损失的,应当依法承担相应的法律责任。
第十五条合同管理部门未履行合同管理职责,造成企业损失的,应当依法追究相关责任人的责任。
第六章附则第十六条本制度的解释权归企业所有。
第十七条本制度自发布之日起施行。
附件:合同管理流程图========本合同更广泛的场景,特设场景及条款========特殊应用场合及增加条款:1.国际贸易合同:增加条款:关税和进出口税的承担、支付货币及汇率风险、国际贸易惯例适用、争议解决地点及法律适用。
国有企业合同管理制度第一章总则第一条为了加强国有企业合同管理,规范企业合同行为,保障企业合法权益,根据《合同法》、《公司法》等法律法规,制定本制度。
第三条企业应当建立健全合同管理制度,明确合同管理职责,规范合同管理流程,确保合同的真实性、合法性和有效性。
第二章合同管理组织机构第四条企业应当设立合同管理组织机构,负责企业合同的统一管理和监督。
(一)制定和修订企业合同管理制度;(二)组织合同谈判、审查和签订;(三)监督合同履行;(四)处理合同纠纷;(五)合同资料的归档和保管;(六)其他合同管理相关工作。
第三章合同管理流程第六条合同谈判(一)企业应当根据业务需要,指定专人负责合同谈判;(二)合同谈判人员应当具备相关业务知识和谈判能力;(三)合同谈判过程中,应当充分了解对方当事人的资信情况、履约能力等;(四)合同谈判结果应当报合同管理组织机构审批。
第七条合同审查(一)企业应当设立合同审查部门,负责合同合法性、合规性审查;(二)合同审查部门应当对合同条款进行逐条审查,确保合同内容符合法律法规和企业利益;(三)合同审查部门应当对合同风险进行评估,并提出防范措施;(四)合同审查结果应当报合同管理组织机构审批。
第八条合同签订(一)企业应当指定专人负责合同签订;(二)合同签订前,应当对合同文本进行法律审核;(三)合同签订时,应当核实对方当事人的联系明和授权委托书;(四)合同签订后,应当及时将合同正本交合同管理组织机构归档。
第九条合同履行(一)企业应当指定专人负责合同履行;(二)合同履行过程中,应当严格按照合同约定履行义务;(三)合同履行过程中,如发生变更、解除等情况,应当及时报合同管理组织机构审批;(四)合同履行完毕后,应当及时办理合同结算手续。
第十条合同纠纷处理(一)企业应当建立健全合同纠纷处理机制;(二)合同纠纷发生后,应当及时采取有效措施,防止损失扩大;(三)合同纠纷处理结果应当报合同管理组织机构审批。
第四章合同资料管理第十一条企业应当建立健全合同资料管理制度,确保合同资料的真实性、完整性和安全性。
合同授权审批制度第1章总则一、为明确企业合同审批权限,规范企业合同订立行为,加强对合同使用的监督,防范和降低因合同的签订给企业带来的风险,特制定本制度。
二、规范企业合同的拟定、审批及签章工作,以符合《中华人民共和国公司法》和《中华人民共和国合同法》等法律法规及规范性文件有关规定,确保合同的顺利履行,维护企业的合法权益。
第2章适用范围一、本制度所称合同指企业与自然人、法人及其他组织设立、变更、终止民事权利义务的合同或协议.二、本制度适用于企业所有的书面合同审批,包括冠以合同、合约、协议、契约、意向书等名称的规范性文件的审批.三、本制度中所称部门指代表企业洽谈、签订合同的各业务、职能部门。
四、本制度中所称业务经办人是合同谈判、签订及履行的第一责任人,并有责任保证合同最终文本与经各级审批后的合同文本在条款内容上的一致性。
第3章授权审批职责一、合同分类1.一般性合同:合同标的在xx元资金支出或xx元资金收入以下的合同。
2.重大合同:合同标的超出xx元资金支出或xx元资金收入的合同。
二、企业对外签订合同均由总经理代表企业行使职权。
三、总经理职责。
1.审批企业所有格式合同和各部门的合同文本。
2.负责企业对外重大合同的签章,并审核超出各部门负责人审核权限的合同。
3.授权业务经办人员代表企业签订合同.四、法律顾问职责1.草拟企业主营业务格式合同或企业重大、特殊合同。
2.监督、指导各部门起草及修订合同文本.第4章授权审批流程一、原则上,在业务谈判、双方达成一致意见后,各部门应尽可能使用企业制定的格式合同或部门合同文本。
二、法律顾问草拟的格式合同应经法务部经理、总经理审核批准后形成正式书面,变更程序亦同.三、各部门草拟的合同文本应经法律顾问审查、法务部经理审核、总经理审批,然后形成正式书面,变更程序亦同.四、业务经办人员与合同对方拟定的一般性合同,须经所属部门负责人初审、法律顾问审查后正式订立合同,变更程序亦同。
五、业务经办人员与合同对方拟定的重大合同,须经所属部门负责人初审、法律顾问审查、总经理审批后方能订立正式合同,变更程序亦同。
合同管理工作职责及流程合同管理工作分日常工作及专项工作二部分。
日常工作包括合同的审核、建档、流转、登记;专项工作包括周报、月工作总结、未返回正本合同报表、无价合同交接。
一、合同审核、建档、流转、登记1、审核收到项目部递交的合同后,合同管理人员要先进行初审,然后转交法务进行审核,法务审核通过的合同才能上报流转。
初审内容包括:●审核合同文本及合同审批表中合同编号、合同日期、合同金额是否相符●审核合同审批表是否填写完整,“经办人”、“部门经理”栏签字是否齐全●审核采购合同我司报价单与客户签字确认的报价单的价格是否相符●审核合同附件是否齐全●对于国际项目三部报审的采购合同,需审核采购金额在概算内还是概算外,然后在合同审批表上加盖概算内或概算外章2、建档审核通过的合同要先由合同管理人员留存、建档,然后再上报流转。
●留存合同审批表、整套合同一份,装文件袋并按合同统计表自然序号设定档案编号,贴标签●建档分部门,按照档案编号(贴号签上编号)顺序依次排列文件袋3、合同流转报审的合同包括审批表原件、合同文本(国际项目三部6份、其它部门4份),流转分计划经营部内部流转及部门外流转二部分。
合同流转流程图见附件。
(1)部门外合同流转流程:●经法务审核通过的合同转交财务部相关合同管理人员,由其上报公司上级审批,并在“合同流转交接单”的“财务接受人/日期”栏签收●合同报送财务后,要及时与财务部合同管理人员沟通了解合同审批进度,紧急合同一定要跟踪催办;需要空运的销售合同原则上要在24小时内审批下来●将财务返回的我司已审批盖章的合同文本返回给项目部经办人,并要求经办人在“合同流转交接单”的“经办人审批确认/日期”栏签收●将项目部经办人返回的合同正本(项目三部四份,其它部门二份)取一份递交财务存档并由其在“合同流转交接单”的“财务接受人/日期”栏签收,余下正本留存档案。
特殊情况只有一份合同正本的,正本递交财务,计划经营部存档副本,但要在副本注明正本仅一份在财务。
合同管理制度及流程本合同目录一览1. 合同管理制度1.1 管理制度的目的和原则1.2 管理制度的适用范围1.3 管理制度的生效和修订2. 合同签订流程2.1 合同起草2.2 合同审批2.3 合同签订3. 合同履行流程3.1 合同执行3.2 合同监督3.3 合同变更和解除4. 合同终止流程4.1 合同到期终止4.2 合同提前终止4.3 合同终止后的相关事宜5. 合同违约处理流程5.1 违约行为的认定5.2 违约责任承担5.3 违约处理的程序和方式6. 合同纠纷解决流程6.1 纠纷解决的途径6.2 调解和仲裁6.3 诉讼程序7. 合同归档和保管流程7.1 合同归档的要求和标准7.2 合同保管的责任和期限8. 合同信息保密流程8.1 保密信息的范围和定义8.2 保密责任的承担8.3 保密信息的泄露处理9. 合同风险管理流程9.1 风险识别和评估9.2 风险控制和应对措施9.3 风险管理的监督和改进10. 合同培训和宣传流程10.1 培训对象和内容10.2 宣传的方式和渠道10.3 培训和宣传的评估和改进11. 合同监督检查流程11.1 监督检查的方式和频率11.2 监督检查的结果处理11.3 监督检查的记录和报告12. 合同绩效评估流程12.1 绩效评估的目标和指标12.2 绩效评估的程序和方法12.3 绩效评估的结果应用13. 合同信息化管理流程13.1 信息化管理系统的选择和实施13.2 信息化管理系统的使用和维护13.3 信息化管理系统的安全防护14. 合同管理的持续改进流程14.1 改进的目标和原则14.2 改进的措施和计划14.3 改进的监督和评估第一部分:合同如下:第一条管理制度的目的和原则1.1 本制度的目的是为了规范公司的合同管理行为,确保合同的合法性、合规性,有效控制合同风险,维护公司的合法权益。
1.2 本制度遵循合法、公平、公正、诚实信用的原则,以建立健全的合同管理体系,提高合同管理的效率和效果。
合同管理制度(完整版)-合同制度管理合同管理制度1. 目的与适用范围本合同管理制度的目的是规范和促进合同管理的流程和控制,确保合同的合法性、有效性及风险控制,并适用于公司内所有合同的签订、执行和管理。
2. 定义与解释2.1 合同:指公司与其他个人、企事业单位或组织之间为明确权利义务关系而订立的书面文件。
2.2 合同管理部门:指负责公司合同管理的专门部门或人员。
2.3 合同审批人:指负责对合同进行审批的相关部门或人员。
2.4 合同额度:指合同涉及的金额或价值。
2.5 合同风险评估:指对合同可能存在的法律、商业风险进行评估并采取措施进行风险防范的过程。
3. 合同管理流程3.1 合同签订流程3.1.1 合同申请:合同申请人根据合同管理制度要求,向合同管理部门提出合同申请。
3.1.2 合同评审:合同管理部门对合同申请进行评审,包括审查合同内容、合同相应法律法规合规性等。
3.1.3 合同审批:合同审批人对合同进行审批,包括合同签订权限的确认。
3.1.4 合同签订:经合同审批人批准后,由合同申请人与对方签订合同,并保留合同原件归档。
3.1.5 合同备案:合同管理部门对签订的合同进行备案,并进行相关合同信息登记工作。
3.2 合同执行与管理流程3.2.1 合同执行:合同申请人负责合同的具体执行事项,并确保履行合同义务。
3.2.2 合同变更:如有需要变更合同内容,合同申请人在经过合同管理部门和合同审批人的批准后,进行相应的合同变更工作。
3.2.3 合同履约监控:合同管理部门对合同的履约情况进行监控,并对可能发生的违约情况进行预警和处理。
3.2.4 合同归档与维护:合同管理部门负责对合同原件进行归档和存档,定期对合同进行维护和更新。
4. 合同管理责任与义务4.1 合同申请人:负责向合同管理部门提出合同申请,确保合同的合法性和有效性。
4.2 合同管理部门:负责合同的管理工作,包括合同的审批、备案、归档等。
4.3 合同审批人:负责对合同进行审批,并确保合同签订的合规性和合法性。
合同授权审批制度
第1章总则
一、为明确企业合同审批权限,规范企业合同订立行为,加强对合同使用的监督,防范和降低因合同的签订给企业带来的风险,特制定本制度。
二、规范企业合同的拟定、审批及签章工作,以符合《中华人民共和国公司法》和《中华人民共和国合同法》等法律法规及规范性文件有关规定,确保合同的顺利履行,维护企业的合法权益。
第2章适用范围
一、本制度所称合同指企业与自然人、法人及其他组织设立、变更、终止民事权利义务的合同或协议。
二、本制度适用于企业所有的书面合同审批,包括冠以合同、合约、协议、契约、意向书等名称的规范性文件的审批。
三、本制度中所称部门指代表企业洽谈、签订合同的各业务、职能部门。
四、本制度中所称业务经办人是合同谈判、签订及履行的第一责任人,并有责任保证合同最终文本与经各级审批后的合同文本在条款内容上的一致性。
第3章授权审批职责
一、合同分类
1.一般性合同:合同标的在xx元资金支出或xx元资金收入以下的合同。
2.重大合同:合同标的超出xx元资金支出或xx元资金收入的合同。
二、企业对外签订合同均由总经理代表企业行使职权。
三、总经理职责。
1.审批企业所有格式合同和各部门的合同文本。
2.负责企业对外重大合同的签章,并审核超出各部门负责人审核权限的合同。
3.授权业务经办人员代表企业签订合同。
四、法律顾问职责
1.草拟企业主营业务格式合同或企业重大、特殊合同。
2.监督、指导各部门起草及修订合同文本。
第4章授权审批流程
一、原则上,在业务谈判、双方达成一致意见后,各部门应尽可能使用企业制定的格式合同或部门合同文本。
二、法律顾问草拟的格式合同应经法务部经理、总经理审核批准后形成正式书面,变更程序亦同。
三、各部门草拟的合同文本应经法律顾问审查、法务部经理审核、总经理审批,然后形成正式书面,变更程序亦同。
四、业务经办人员与合同对方拟定的一般性合同,须经所属部门负责人初审、法律顾问审查后正式订立合同,变更程序亦同。
五、业务经办人员与合同对方拟定的重大合同,须经所属部门负责人初审、法律顾问审查、总经理审批后方能订立正式合同,变更程序亦同。
第5章附则
一、本制度报总经理办公室审议批准后生效。
二、本制度自2014年××月××日实施。
合同会审制度第1章总则
一、为防范和控制合同可能的风险,加强对合同制定的监督,规范企业合同制定行为,制定本制度。
二、本制度适用于企业各类格式合同、部门合同文本的制定,以及对业务经办人员与合同对方拟定的合同的会审。
三、本制度所称会审,指合同在拟稿以后、正式生效之前,由合同关键条款涉及的其他专业部门(如技术、财务、销售等相关部门)会同企业法务部对合同文本进行审核。
第2章合同的会审内容及要点
一、合同拟定
1.法律顾问会同各部门起草企业格式合同、各部门拟定本部门合同文本以及业务经办人与合同对方拟定合同的,分别由法律顾问、各部门负责人及业务经办人负责合同在会审过程中的传递。
2.合同拟定者须按企业规定在“合同会审单”上填写合同会审部门及人员名称。
3.合同拟定者负责合同连同“合同会审单”在整个会审过程的传递,直到合同盖上合同专用章后结束。
二、合同会审主体及内容
1.法务顾问主要负责对合同对方当事人身份和资格的审查及合同争议解决方式的审核。
2.财务部主要负责合同对方资信情况、价款支付等的审查。
3.法务顾问和财务部负责违约责任条款的审查,包括违约金的赔偿及经济
损失的计算等。
三、合同会审要点
1.合法性。
包括合同的主体、内容和形式是否合法;合同订立程序是否符合规定,会审意见是否齐备;资金的来源、使用及结算方式是否合法,资产动用的审批手续是否齐备等。
2.经济性。
主要指合同内容是否符合企业的经济利益。
3.可行性。
包括签约方是否具有资信及履约能力,是否具备签约资格;担保方式是否可靠;担保资产权属是否明确等。
4.严密性。
包括合同条款及有关附件是否完整齐备;文字表述是否准确;附加条件是否适当合法;合同约定的权利义务是否明确;数量、价款、金额等标示是否准确。
第3章合同会审管理规定
一、参与合同会审的部门应根据会审职责安排人员按时参加会审工作。
二、会审人员应对合同中相关内容认真仔细审查,发现疑问之处,应及时与合同拟定部门进行沟通。
三、会审中发现合同中确有不妥之处的,应责成合同拟定部门修改或重拟,直至确认无误。
四、各会审部门对合同的会审工作时间累计不得超过5个工作日。
五、会审通过的合同报总经理审批后,应统一进行分类连续编号,并由合同档案管理人员专人保管。
本制度经总经理批准后自××××年××月××日实施。
合同专用章管理制度
第1章总则
一、为加强对企业合同的专用章管理,规范企业合同专用章的使用及保管,制定本制度。
二、本制度适用于企业合同专用章的使用、保管等。
第2章合同专用章的使用
一、合同专用章由人事行政部指定专人保管。
二、企业因业务发展需要对外签订合同由企业总经理或其授权的人签章,同时加盖合同专用章。
三、合同专用章仅限用于有关合同的签订,未经总经理或法务顾问核准,不得在其他文件上使用。
四、业务经办人代表企业与合同对方签订合同的,需填写“合同专用章用印审批单”,经总经理审查同意后方可用印,并做好用印登记。
五、印章管理人员对用印范围和用印手续严格审查,并对用印情况进行登记,不应为以下合同提供合同专用章。
1.未经编号的合同。
2.缺少审核及报签文件的合同。
3.属于代签但缺少授权委托书的合同。
六、原则上,合同专用章不得携带外出使用。
确因工作需要,必须带合同专用章到异地使用的,应经总经理批准,并到印章管理员处办理借用手续。
第3章合同专用章的保管
一、合同用印后,印章管理人员应及时收回合同专用章。
二、未经领导批准,不得将合同专用章交给他人保管。
印章管理人员因故临时请假,应经总经理批准后指定临时保管人员,并做好交接记录。
三、合同专用章存放在配锁的办公抽屉里,节假日放在安全处。
四、合同专用章内容需要变更时,应停止使用并交综合管理部予以封存或销毁。
五、合同专用章散失、损毁、被盗时,印章管理人员应及时报告领导予以处理,同时,登报挂失作废。
六、对于违反本规定,给企业造成损失的,应当依法追究其法律责任。
本制度自××××年××月××日起实施。
合同的归档、借阅管理
第1章合同的归档
一、所有签署和盖章后的合同原件由谈判部门在第一时间交由人事行政部存
档,并办理交接登记手续。
原部门可备份一份复印件。
二、所有合同按签署部门、合同类型、签署时间进行编号分类归档。
第2章合同的借阅
一、人事行政部合同管理人员根据借阅权限进行合同借阅管理,并作好借阅登记。
二、合同借阅时间原则上须在借阅当日内归还,人事行政部合同管理人员进行合同借阅归还确认登记。
第3章合同管理职责界定
一、公司合同由人事行政部统一管理;
二、人事行政部负责归档合同文本及日常合同的借阅服务;
三、人事行政部负责合同归档情况的检查。
1、合同签订流程图
2、合同的解除与变更流程图。