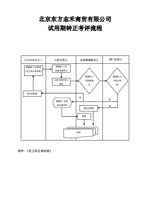
试用期管理流程图(一张表解决试用期所以事项)
- 格式:doc
- 大小:287.20 KB
- 文档页数:2
新员工入职工作程序和流程图一、目的对新员工的入职程序进行规范,确保入职有序进行,提高工作效率。
二、新员工入职工作程序1、办理入职手续:⑴被录用人员按通知规定的时间和要求前来公司办理入职手续,否则按放弃处理。
⑵新入职人员应向公司行政部(审原件)复印件备存,需提交以下资料:➢身份证复印件1张;➢最高学历证和学位证复印件各1张;➢技术职称证或技工上岗证(特种作业证)复印件1张;➢个人一寸免冠照片3张;➢其他必要证件复印件。
➢健康证,或近三个月的体检单。
2、参加晨会:晨会执行官介绍新员工,新员工做自我介绍。
3、行政部带领新员工参观公司办公区,到各部门拜码头,介绍公司工作环境、生活环境。
管理人员须安排座位、办公电话等。
4、行政部对新员工进行入职培训,为期半天,培训内容详见《新员工入职须知》。
5、入职第一天新员工须在行政部领取办公用品(本子和笔);须在人力资源专员处领取工牌,在前台录入指纹,自办中国银行卡(卡号交财务部)。
6、试工期过后,公司统一与员工签订劳动合同。
7、建立新员工个人档案:入职提交资料、劳动合同。
8、人力资源专员制作《员工流动统计表》,记录新员工入职情况。
注意事项:①新员工办理入职手续时,若资料不全,应限期补办(试工期内),否则暂停薪资发放。
②员工向公司提交的个人信息资料由公司统一管理,离职后集中销毁,不予清退。
③新员工入职前5天为试工期,新员工上班不满5天提出辞职或公司辞退,公司不予计算工资。
三、新员工入职工作流程图新员工入职培训流程行政人事部2012年3月目录一、新员工培训目的二、新员工培训程序三、新员工培训时间和内容四、新员工培训资料五、新员工培训所需填写表格一、新员工培训目的1、让新员工了解公司历史、政策、企业文化,使其更快适应公司;2、为新员工提供正确的、相关的公司和工作岗位信息,鼓励新员工的士气;3、为新员工培训岗位的相关通用知识,使新员工的能力、知识和技能得到提升,快速适应岗位的需要;4、让新员工了解公司所能提供给他的相关工作环境和公司对他的期望;5、让新员工感受到公司对他的欢迎,消除紧张并体会到归属感;6、培训新员工解决问题的能力和提供寻求帮助的方法;7、本流程主要适用于公司普通员工和一般管理人员。
转正流程图
新员工部门分管领导人事主管
员工直属领导阶段监督月度考评结果发送“欢迎
信”、”新员工入
职指导“、”开普
医疗企业文化手册
“、”试用期考核
表”
每月进行考核每月直属领导及时与员工制定月度目
标跟进月度考核进度
每月汇总考评结果
试用期考核结束前
10天发送提醒,尽
快完成考评
完善考核表
完成考核确认考评结果试用期结束前5个工作日向人
事提交经部门主管领导确认
的考核结果提出转正申请
填写转正申请表
给出转正建议薪资签批手续
发送正式转正通知
合格考核表中确认不合格
办理离职手续
审批薪资不同意
同意。
新员工入职到转正流程流程图:3.新员工入职发《聘用通知书》电话确认 2. 制定培训计划5.新员工试用期管理4. 签订劳动合同试用期签订劳动合同,转正后自动生效,未过试用期劳动合同自动作废。
每月由人力资源部负责对新员工进行跟踪考核。
《员工试用期月度考核表》 行为规范培训—人力资源部 公司制度培训—人力资源部 专业技术培训—相应的部门 8.新员工办理转正手续1. 发聘用通知书新员工提交入职资料,人力资源部审核;体检;岗前培训 总经理审核 否 《员工转正审批表》 《员工转正通知书》 进行员工转正面谈 转正后劳动合同自动生效是6.新员工提交转正申请试用期满前5天新员工向人力资源部提交《员工转正申请表》。
9.确定为正式员工7. 试用期考核《员工试用期考核表》步骤说明:1.发聘用通知书1.1 邮件发送《聘用通知书》人力资源部上午9:00以邮件的形式向新员工发《聘用通知书》(详见附表1 聘用通知书)。
1.2 电话确认人力资源部下午13:00以电话形式联系新员工,电话确认其是否收到《聘用通知书》。
若收到《聘用通知书》,确认其是否来公司入职;若没收到,分析原因进行解决。
例如:未收到邮件,人力资源部再次发送;未查收邮件,请他尽快查收,查收后回复。
电话确认后,将能来公司入职的新员工情况汇总,上报给总经理。
2.制定培训计划人力资源部根据新员工的职位、人数情况制定岗前培训计划。
岗前培训计划需经总经理审核,审核通过后执行,未通过进行修改再审核。
2.1 培训目的通过岗前培训,使新员工了解企业情况,端正工作态度,明确各自岗位职责,增强遵守各项规章制度的自觉性和工作责任心,从而使新员工能够较快的融入公司的工作环境及进入工作状态。
2.2 培训对象新入职员工2.3 培训内容首先,向新员工介绍公司的情况,包括公司简介、企业文化、企业形象、企业宗旨等;之后,进入培训主要内容。
如下:2.3.1 行为规范培训由人力资源部负责,培训主要内容是公司行为规范的相关事宜。
新员工试用期管理流程图文件编号:SM-TB-HR-ZP-05 版本:A/0 页数:1页江西桑美医药有限公司颁布日期:2017.03.01序号流程图要求与说明时限责任部门/人相关表单/文件1 1.介绍部门组织架构、岗位人员、工作职责、权限;公司文化制度2.工作沟通渠道/方式,部门内部详细分工入职后第1天用人部门主管/人力资源部专员工作说明书、工作流程图、工作规范、制度2 1.确定考核内容、要求、标准;2.新员工了解、领会;3.熟悉产品知识、业务流程;入职后第2天用人部门主管试用期考核表3 1.部门主管指定新员工导师;2.部门与导师/新员工签订督导协议;3.拟定试用期培训/工作计划入职后第2天导师/新员工督导协议书4 1.拟定试用期培训/工作计划;2.计划要循序渐进、目标明确;3.与新员工沟通、认同入职后第2天导师/新员工培训/工作计划5 1.导师每天了解掌握新员工工作/学习进度情况;试用期内新员工/导师培训/工作计划6 1.发现问题及时沟通,纠正;2.作好工作指导、教与练、帮助/辅导;3.每天下班前对当天工作小结每天/及时;下班前导师/新员工日报小结会7 1.导师记录每天新员工关键行为/事件;2.及时纠正新员工出错每天导师关键行为/事件记录表8 1.按面谈内容与新员工1对1沟通;2.了解/解决问题,提出下阶段计划/目标;3.记录面谈内容每周1次人资部/专员用人部门/导师面谈记录表9 1.新员工填写《试用期考核/评估表》;2.提交本部门主管试用期届满前7天人资部用人部门试用期考核/评估表10 1.用人部门主管按考核内容、要求、标准组织考核;2.考核方法:笔试、实操、面谈试用期满前6天用人部门试用期考核/评估表关键行为/事件记录表11 1.根据考核实施情况进行综合评议;2.征询导师、同事意见;3.主管填写《试用期考核/评估表》试用期满前4天用人部门主管试用期考核/评估表12 1.人资部对考核结果进行审核;2.结合规章制度、考勤、劳动纪律遵守、工作态度情况;3.给出审核意见试用期满前3天人力资源部试用期考核/评估表13 1.人资部将《试用期考核/评估表》上报总经理;2.总经理签批意见试用期满前2天总经理或,授权副总试用期考核/评估表14 1.人资部与新员工1对1面谈;2.告知考核结果,听取新员工意见试用期满前1天人资部新员工面谈记录表15考核合格:1.办理转正手续;2.调薪申请与审批试用期届满当日人资部/用人部门;新员工调薪申请/审批表考核不合格:1.终止劳动关系;2.办理解除劳动关系手续;3.工作交接试用期届满当日人资部/用人部门;新员工离职表/工作交接表拟定:人力资源部审核:总经理管控:人力资源部介绍岗位工作职责、内容、流程、规程规范、制度说明试用期考核内容、要求、标准指导新员工工作/学习制定试用期培训/工作计划执行工作/学习计划问题反馈沟通记录关键行为事件新员工阶段性面谈新员工考核申请考核实施考核评议考核结果审核考核结果审批考核结果告知/面谈转正或终止试用。
招聘及试用期管理制度1.0 目的建立公平、公正、公开的人员招聘管理制度,规范招聘程序;完善人力资源管理,防止内部腐败问题,确保企业人才战略的落实,为人力资源的储备和持续开发提供动力。
2.0 范围适用于本公司3.0 参考资料:无。
4.0 定义4.1 人力资源:人力资源是存在于人的体能、知识、技能、能力、个性行为特征与倾向等载体中的经济资源。
4.2 人力资源计划:是指使企业稳定的拥有一定质量的和必要数量的人力,以实现包括个人利益在内的该组织目标而拟订的一套措施,从而求得人员需求量和人员拥有量之间在企业未来发展过程中的相互匹配。
4.3 招聘:是指按照企业经营战略规划的要求把优秀、合适的人招聘进企业,把合适的人放在合适的岗位。
4.4 面试:指公司对应聘者进行的面对面的沟通和挑选测试。
4.5 复试:部门主管对通过初次面试的应聘者进行面谈和挑选测试。
4.6 录用:录取任用。
4.7 试用员工:指被公司暂时录用,试用期接受考核的职员工;试用期经过考核合格可转为正式员工。
4.8 正式员工:指已通过试用考核,被本公司正式录用的职员工,正式员工是本公司人力资源的主体,按公司规定,享受本公司正式员工的一切福利待遇。
4.9 转正:指员工经公司录用,通过试用和考核转为公司的正式员工。
5.0职责5.1 各部门课长:负责本部门的人力资源计划提出、人力资源需求申请及本部门人员聘用的复试。
5.2 各部门经理:负责本部门的人力资源计划、人力需求申请及人员聘用的审核。
5.3 综合部:主导和监督公司的人力资源计划、人员招聘工作的实施,负责人员招聘配置一系列工作的安排。
5.4 综合部经理:负责的公司人力资源计划、人力资源需求申请、人力资源招聘配置的复核。
5.5 总经理(或授权代表):督导人员招聘工作,负责考核和审批课长级(含课长)以上人员的录用。
6.0招聘渠道本公司本着公平、公正、公开的原则从社会上的求职人员中择优录取,根据招聘方式的不同,本公司的招聘渠道有以下几种:6.2.1 通过人才市场现场招聘;6.2.2 通过人才网站进行招聘;6.2.3 通过与学校建立人才培训和输送基地来引进人力资源;6.2.4 通过媒体(主要是平面媒体)广告发布信息进行招聘;6.2.5 直接在公司门口张贴招聘广告来进行招聘;6.2.6 通过本公司员工直接引荐;6.2.7 其它正当招聘渠道。
员工试用与转正管理流程编制日期审核日期批准日期修订记录3、工作程序3.1新员工办理入职手续、接受入职培训3.1.1工作程序:1)新员工办理完入职手续后,进入试用期。
2)新员工参加由行政人力中心/综合行政部组织的对新员工进行公司发展史、公司组织架构、企业文化、理念、公司战略规划、各项人事行政制度等的介绍。
使新员工感受企业文化、了解公司情况,更快融入企业。
3)行政人力中心/综合行政部与用人部门共同确定新员工引导人(一般由新员工直接上级担任,也可指定有丰富工作经验、品行兼优的骨干员工担任);4)引导人对新员工进行工作环境、制度流程、工作规范等方面的培训;5)部门经理每周与新员工面谈,根据实际情况对新员工的个人职业发展规划进行适当调整,总结成绩与不足及时调整改进,并发现新员工工作、生活上的困难,及时给予帮助。
3.2新员工试用期评价3.2.1工作程序:1)新员工试用期内,行政人力中心/综合行政部不定期(至少每月1次)同中心总经/部门经理或引导人以及新员工本人进行面谈,了解新员工的工作、生活状况,在此期间,如发现员工严重不符合招聘岗位需求,应上报并予以劝退;2)新员工在转正前10日就试用期的工作表现和工作业绩形成试用期工作总结,报中心(部门)经理审核后交行政人力中心/综合行政部。
由中心总经理/部门经理针对新员工试用期间对公司制度、流程、专业技能、岗位工作标准、职责、岗位素质等方面的掌握程度做出书面评价,并报主管领导审核后交行政人力中心/综合行政部;行政人力中心/综合行政部对新员工进行公司流程、制度考核对应表单:《新员工试用期工作评价及转正定级审批表》3)行政人力中心/综合行政部会同新员工所在中心总经理/部门经理,根据面谈情况、公司流程制度考核情况、新员工转正总结、新员工试用期工作评价表、试用期间考勤等形成新员工转正及定级意见,提出新员工工作中存在的问题和不足及改进方向,填写《新员工试用期工作评价及转正定级审批表》,给出是否录用的建议,报上报领导逐级审批,审批权限如下表所示:●代表审批,空代表不审批,审批顺序从左到右依次进行4)按领导批示意见,及时通知新员工办理转正手续(或办理终止试用手续)。
新员工入职工作程序及流程图一、目的对新员工的入职程序进行规范,确保入职有序进行,提高工作效率。
二、新员工入职工作程序1、办理入职手续:⑴被录用人员按通知规定的时间及要求前来公司办理入职手续,否则按放弃处理。
⑵新入职人员应向公司行政部(审原件)复印件备存,需提交以下资料:➢身份证复印件1张;➢最高学历证及学位证复印件各1张;➢技术职称证或技工上岗证(特种作业证)复印件1张;➢个人一寸免冠照片3张;➢其他必要证件复印件。
➢健康证,或近三个月的体检单。
2、参加早会:早会介绍新员工,新员工做自我介绍。
3、行政部带领新员工参观公司办公区,介绍公司工作环境、生活环境。
管理人员须安排座位、办公电话等。
4、行政部对新员工进行入职培训,为期半天,培训内容详见《新员工入职须知》。
5、入职第一天新员工须在行政部领取办公用品(本子和笔);须在人力资源专员处领取工牌,在前台录入指纹,按要求自办银行卡(卡号交财务部)。
6、试工期过后,公司统一与员工签订劳动合同。
7、建立新员工个人档案:入职提交资料、劳动合同。
注意事项:①新员工办理入职手续时,若资料不全,应限期补办(试工期内),否则暂停薪资发放。
②员工向公司提交的个人信息资料由公司统一管理,离职后集中销毁,不予清退。
③新员工入职前一周为试工期,新员工上班不满一周提出辞职或公司辞退,公司不予计算工资。
三、新员工入职工作流程图新员工入职培训流程行政人事部2014年7月目录一、新员工培训目的二、新员工培训程序三、新员工培训时间及内容四、新员工培训资料五、新员工培训所需填写表格一、新员工培训目的1、让新员工了解公司历史、政策、企业文化,使其更快适应公司;2、为新员工提供正确的、相关的公司及工作岗位信息,鼓励新员工的士气;3、为新员工培训岗位的相关通用知识,使新员工的能力、知识和技能得到提升,快速适应岗位的需要;4、让新员工了解公司所能提供给他的相关工作环境及公司对他的期望;5、让新员工感受到公司对他的欢迎,消除紧张并体会到归属感;6、培训新员工解决问题的能力及提供寻求帮助的方法;7、本流程主要适用于公司普通员工及一般管理人员。
试用转正流程图
每月1日,人力资源部提供转正名单给相关人员及其经理
2日前,被考核人根据《员工转正考核表》自评,并写评语
4日前,被考核人将《员工转正考核表》交直接经理,由直接经理考核并写评语。
直接经理在考评时要与该员工进行面谈,其考核意见应得到员工的认可,未经认可的意见由部门经理协调
7日前,部门经理根据员工及其直接经理的意见,确定考核结果,填写《人事变动表》,并报人力资源部批准
20日前,人力资源部根据部门经理及公司领导意见,给被考核人出具《转正通知单》,重要的职位变化同时在全公司范围内通告考核不合格,延长试用期或终止试用。
新员工入职程序及流程图TYYGROUP system office room 【TYYUA16H-TYY-TYYYUA8Q8-新员工入职工作程序及流程图一、目的对新员工的入职程序进行规范,确保入职有序进行,提高工作效率。
二、新员工入职工作程序1、办理入职手续:⑴被录用人员按通知规定的时间及要求前来公司办理入职手续,否则按放弃处理。
⑵新入职人员应向公司行政部(审原件)复印件备存,需提交以下资料:身份证复印件1张;最高学历证及学位证复印件各1张;技术职称证或技工上岗证(特种作业证)复印件1张;个人一寸免冠照片3张;其他必要证件复印件。
健康证,或近三个月的体检单。
2、参加早会:早会介绍新员工,新员工做自我介绍。
3、行政部带领新员工参观公司办公区,介绍公司工作环境、生活环境。
管理人员须安排座位、办公电话等。
4、行政部对新员工进行入职培训,为期半天,培训内容详见《新员工入职须知》。
5、入职第一天新员工须在行政部领取办公用品(本子和笔);须在人力资源专员处领取工牌,在前台录入指纹,按要求自办银行卡(卡号交财务部)。
6、试工期过后,公司统一与员工签订劳动合同。
7、建立新员工个人档案:入职提交资料、劳动合同。
注意事项:①新员工办理入职手续时,若资料不全,应限期补办(试工期内),否则暂停薪资发放。
②员工向公司提交的个人信息资料由公司统一管理,离职后集中销毁,不予清退。
③新员工入职前一周为试工期,新员工上班不满一周提出辞职或公司辞退,公司不予计算工资。
三、新员工入职工作流程图一、二、三、四、五、新员工培训所需填写表格一、新员工培训目的1、让新员工了解公司历史、政策、企业文化,使其更快适应公司;2、为新员工提供正确的、相关的公司及工作岗位信息,鼓励新员工的士气;3、为新员工培训岗位的相关通用知识,使新员工的能力、知识和技能得到提升,快速适应岗位的需要;4、让新员工了解公司所能提供给他的相关工作环境及公司对他的期望;5、让新员工感受到公司对他的欢迎,消除紧张并体会到归属感;6、培训新员工解决问题的能力及提供寻求帮助的方法;7、本流程主要适用于公司普通员工及一般管理人员。
员工部门
参加转正考核评估提前通知员工参加试用期
转正考核评估
对员工进行专业技能考核
及业绩评估
合格不合格
领取《员工转正通
知书》部门通知员工领取《员工转正通知书》
转正通知书回执签字后送至部门部门须于2日内将员工签字
后的《转正通知书回执》
送交人力资源部
发放《员工转正
通知书》
制作:人力资源部/2011/09
解除合同
办理离职
合格不合格员工试用期转正工作流程图[暂行]
调岗/延期转正
每月20日汇总当月试用期满人员名单,通知部门
人力资源部对员工进行笔试考核,并会同部门对员工
进行实操考核及工作表现评估
人力资源部。
管理制度大连金采办贸易公司页数:共9页编制:招聘管理及试用期、转正管理制度版次/修改:19A/0批准:编制日期:2019-1-1批准日期:实施日期:1、目的建立公平、公正、公开的人员招聘管理制度,规范招聘程序;完善人力资源管理,防止内部腐败问题,确保企业人才战略的落实,为人力资源的储备和持续开发提供动力。
2、范围适用于本公司3、参考资料:无。
4、定义4.1 人力资源:人力资源是存在于人的体能、知识、技能、能力、个性行为特征与倾向等载体中的经济资源。
4.2 人力资源计划:是指使企业稳定的拥有一定质量的和必要数量的人力,以实现包括个人利益在内的该组织目标而拟订的一套措施,从而求得人员需求量和人员拥有量之间在企业未来发展过程中的相互匹配。
4.3 招聘:是指按照企业经营战略规划的要求把优秀、合适的人招聘进企业,把合适的人放在合适的岗位。
4.4 面试:指公司对应聘者进行的面对面的沟通和挑选测试。
4.5 复试:部门主管对通过初次面试的应聘者进行面谈和挑选测试。
4.6 录用:录取任用。
4.7 试用员工:指被公司暂时录用,试用期接受考核的员工;试用期经过考核合格可转为正式员工。
4.8 正式员工:指已通过试用考核,被本公司正式录用的员工,正式员工是本公司人力资源的主体,按公司规定,享受本公司正式员工的一切福利待遇。
4.9 转正:指员工经公司录用,通过试用和考核转为公司的正式员工。
5、职责5.1 各部门经理:负责本部门的人力资源计划、人力需求申请及人员聘用的审核。
5.2 人力资源部:主导和监督公司的人力资源计划、人员招聘工作的实施,负责人员招聘配置一系列工作的安排。
5.53 总经理(或授权代表):督导人员招聘工作,负责考核和审批人员的录用。
6、招聘渠道本公司本着公平、公正、公开的原则从社会上的求职人员中择优录取,根据招聘方式的不同,本公司的招聘渠道有以下几种:6.2.1 通过人才市场现场招聘;6.2.2 通过人才网站进行招聘;6.2.3 通过与学校建立人才培训和输送基地来引进人力资源;6.2.4 通过媒体(主要是平面媒体)广告发布信息进行招聘;6.2.5 直接在公司门口张贴招聘广告来进行招聘;6.2.6 通过本公司员工直接引荐;6.2.7 其它正当招聘渠道。
新员工试用期管理流程图文件编号:SM-TB-HR-ZP-05 版本:A/0 页数:1页
江西桑美医药有限公司颁布日期:2017.03.01
序
号
流程图要求与说明时限责任部门/人相关表单/文件
1 1.介绍部门组织架构、岗位人员、工作职
责、权限;公司文化制度
2.工作沟通渠道/方式,部门内部详细分工
入职后第
1天
用人部门主管/
人力资源部专
员
工作说明书、工作流
程图、工作规范、制
度
2 1.确定考核内容、要求、标准;
2.新员工了解、领会;
3.熟悉产品知识、业务流程;
入职后第
2天用人部门主管试用期考核表
3 1.部门主管指定新员工导师;
2.部门与导师/新员工签订督导协议;
3.拟定试用期培训/工作计划
入职后第
2天导师/新员工督导协议书
4 1.拟定试用期培训/工作计划;
2.计划要循序渐进、目标明确;
3.与新员工沟通、认同
入职后第
2天导师/新员工培训/工作计划
5 1.导师每天了解掌握新员工工作/学习进
度情况;
试用期内新员工/导师培训/工作计划
6 1.发现问题及时沟通,纠正;
2.作好工作指导、教与练、帮助/辅导;
3.每天下班前对当天工作小结
每天/及
时;
下班前
导师/新员工
日报
小结会
7 1.导师记录每天新员工关键行为/事件;
2.及时纠正新员工出错
每天
导师
关键行为/事件记录
表
8 1.按面谈内容与新员工1对1沟通;
2.了解/解决问题,提出下阶段计划/目标;
3.记录面谈内容
每周1次
人资部/专员
用人部门/导师
面谈记录表
9 1.新员工填写《试用期考核/评估表》;
2.提交本部门主管
试用期届
满前7天
人资部
用人部门
试用期考核/评估表
10 1.用人部门主管按考核内容、要求、标准
组织考核;
2.考核方法:笔试、实操、面谈
试用期满
前6天
用人部门
试用期考核/评估表
关键行为/事件记录
表
11 1.根据考核实施情况进行综合评议;
2.征询导师、同事意见;
3.主管填写《试用期考核/评估表》
试用期满
前4天
用人部门主管试用期考核/评估表
12 1.人资部对考核结果进行审核;
2.结合规章制度、考勤、劳动纪律遵守、
工作态度情况;3.给出审核意见
试用期满
前3天
人力资源部试用期考核/评估表
13 1.人资部将《试用期考核/评估表》上报
总经理;2.总经理签批意见
试用期满
前2天
总经理
或,授权副总
试用期考核/评估表
14
1.人资部与新员工1对1面谈;
2.告知考核结果,听取新员工意见
试用期满
前1天
人资部
新员工
面谈记录表介绍岗位工作职责、内容、
流程、规程规范、制度
说明试用期考核内容、要
求、标准
指导新员工工作/学习
制定试用期培训/工作计划
执行工作/学习计划
问题反馈沟通
记录关键行为事件
新员工阶段性面谈
新员工考核申请
考核实施
考核评议
考核结果审核
考核结果审批
考核结果告知/面谈。