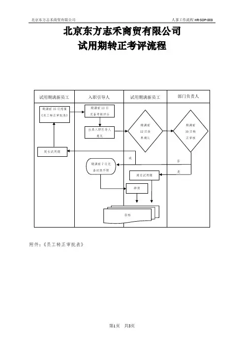
试用期考核、转正流程图
- 格式:doc
- 大小:19.50 KB
- 文档页数:2
员工转正标准及流程规定一、总则1、目的为了公司员工转正工作标准和流程,保证员工转正与其绩效贡献的匹配,确保员工转正程序的透明性和公平公正性。
根据公司实际情况,特制定本规定。
2、适用范围适用于公司所有新入职员工。
所有新入职员工试用期为3个月,员工转正考核通过,具备转正资格,将予以转正。
3、定位要求(1)转正是对员工集中系统进行工作评估的过程,对员工工作绩效、工作态度、企业文化认同等进行充分评估,同时也是公司人员优化的重要组成部分。
(2)转正是对员工的肯定和认可,通过转正程序的良好实施,提升员工认同感,促进员工深入地进行自我评估和改进。
二、转正基本条件(1)员工入职所应提交的个人资料已全部提交。
(2)员工已参加公司规定的所有新员工培训课程,并通过培训考核。
(3)员工试用期间未收到公司警告及以上处分。
(4)员工通过公司及部门转正考核,经认定符合转正要求,胜任岗位工作。
(5)按要求完成转正工作总结,并履行完成转正审批流程。
三、试用期阶段及要求1、岗前培训阶段(1)时间阶段:入职三天至七天,根据岗位性质差别确定。
(2)基本要求:按时参加公司安排全部培训课程,并按照要求完成培训记录、培训作业,遵守培训纪律。
无无故早退及缺勤情况。
(3)完成标准:通过公司培训考核,员工培训考核结果报人力资源部存档,培训作业完成及考勤情况由培训讲师及人力资源部共同确认。
2、试用过程阶段(1)时间阶段:培训期结束至试用期满。
(2)基本要求:按部门要求每月提交个人月度工作总结及计划;工作计划完成度高,通过每月绩效考核,经部门负责人及人力资源部确认合格。
(3)完成标准:个人月度工作总结及计划报部门负责人并确认,月度绩效考核结果(月度绩效考核表)报人力资源存档。
3、转正评估阶段(1)时间阶段:试用期满前一周至试用期满(2)基本要求:人力资源部与用人部门、试用员工进行沟通,充分沟通员工试用期工作表现情况,人力资源部形成面谈记录。
人力资源部与用人部门共同对试用员工进行转正考核,人力资源部侧重员工培训达成、制度遵守、团队融入等方面考核,用人部门侧重工作绩效、工作态度、团队协作等方面考核。
资料内容仅供参考,如有不当或者侵权,请联系本人改正或者删除。
2
相关单位 用人部门 试用开始
试用与转正流程图
表格及附件 与所在单位负责人见面:介绍情
况、 交授工作、 根据入职引导 流
程帮助新员工开展工作
试用人员辞职或 所在单位终止试用
yes ------------
—I 停止
屮入
职
引导
人在
职训
练 no
no 服务满一个月内鉴
定《劳动合同》
事假超过3天(含), *转正后不予上调薪 金------- 广事假超过7天(含), 作自动离职处理
1面谈表 转正审批表
试用期间请假 no yes no
停止试§
所在单位考核 试用期不合格
完成转正审核
试用期结束刖一周 转正后不予
上调新金 参加入职培
训
入职考
是否合格
yes。
转正流程图
新员工部门分管领导人事主管
员工直属领导阶段监督月度考评结果发送“欢迎
信”、”新员工入
职指导“、”开普
医疗企业文化手册
“、”试用期考核
表”
每月进行考核每月直属领导及时与员工制定月度目
标跟进月度考核进度
每月汇总考评结果
试用期考核结束前
10天发送提醒,尽
快完成考评
完善考核表
完成考核确认考评结果试用期结束前5个工作日向人
事提交经部门主管领导确认
的考核结果提出转正申请
填写转正申请表
给出转正建议薪资签批手续
发送正式转正通知
合格考核表中确认不合格
办理离职手续
审批薪资不同意
同意。
新员工转正流程图
新职员转正流程图→
新职员转正流程说明
1、新职员在试用期满, 向主管引导提出转正申请;
2、主管引导应与该职员面谈,两边对转正事宜杀青一致看法;
3、新职员填写《转正申请表》, 对本身在试用期内的工作做出版面总结;
4、新职员的分担引导在《转正申请表》上填写评判考观看法,评判内容应包含该职员在试用期内的工作立场、技能、合营性、可塑性等方面,并将考察成果填写清晰。
然后将此表提交人力资本部审核;
5、人力资本部对该表审核,并填适看法,然后交公司总经理审批;公司总经理赞成后,该表由人力资本部处理并储存。
新员工转正流程图新员工转正流程说明1、新员工在试用期满后填写《转正申请表》, 对自己在试用期内的工作做出书面总结,并向主管领导提出转正申请;2、主管领导应与该员工面谈,双方对转正事宜达成一致意见,并在《转正申请表》填写评价考核意见,评价内容应包括该员工在试用期内的工作态度、技能、配合性、可塑性等方面,并将考核结果填写清楚;总结得出是否转正、延长转正、转岗试用、再试用及辞退等初步意见,主管部门领导签署意见并签字;3、将《转正申请表》提交人力资源部审核;4、人力资源部对该表审核,并填写意见;5、然后交公司行政副总经理审批;6、再交由公司总经理审批;公司总经理批准后,该表由人力资源部办理相关转正手续并进行保存备案。
文档说明(2024年标准版)(以下内容下载后可以自行编辑修改删除)新员工转正流程图及流程说明使用说明一、引言新员工转正流程是企业人力资源管理中的重要环节,它直接关系到员工职业发展、团队稳定以及企业整体运营效率。
本文件《新员工转正流程图流程说明.docx》旨在明确新员工转正的流程、标准与要求,为相关部门及员工提供清晰的指导与参考。
本文将从流程概述、详细步骤、注意事项及优化建议四个方面进行详细阐述。
二、流程概述新员工转正流程主要包括以下几个关键环节:员工提出转正申请、部门主管评估、人力资源部审核、行政副总经理审批、总经理审批以及最终转正手续办理。
该流程体现了从员工自评到上级审核,再到公司高层决策的全面性与规范性,确保了转正决策的公正性与合理性。
三、详细步骤员工提出转正申请:试用期满后,新员工需填写《转正申请表》,对自己的工作表现进行总结,并提出转正申请。
这是员工主动展示自己工作成果与能力的机会,也是正式提出转正意愿的第一步。
部门主管评估:部门主管需与新员工进行面谈,了解其在试用期内的工作表现、技能提升、团队协作等方面的情况。
基于面谈结果,主管需填写评价考核意见,内容涵盖工作态度、技能水平、配合性、可塑性等多个维度,并给出是否转正、延长转正、转岗试用、再试用或辞退等初步意见。
员工三个月转正流程图员工三个月转正流程图员工转正是指员工入职后经过一定时间的考察和培训后,达到公司规定的标准,正式成为该公司的员工。
下面是员工三个月转正的流程图。
1. 入职培训阶段:- 入职前准备:员工在入职前需要提交一些必备的相关材料,如身份证、毕业证等,并与公司签订劳动合同。
- 入职手续办理:员工在入职后需要完成一些必备的手续办理工作,如办理员工登记、开设工资卡等。
- 入职培训:公司将安排新员工参加入职培训,包括公司的组织结构、规章制度、岗位职责等的介绍。
2. 试用期阶段:- 岗位培训:员工在试用期内将接受公司指定的岗位培训,以了解和掌握自己的工作任务和工作方法。
- 监督和评价:公司将对员工的工作进行监督和评价,以评估员工的工作表现和适应能力。
- 反馈和沟通:公司将定期与员工进行反馈和沟通,明确员工在试用期内的工作表现和改进方向。
3. 转正评估阶段:- 工作表现评估:公司将对员工的工作表现进行评估,包括工作态度、工作能力、工作质量等方面。
- 双向评价:员工和公司相互评价,员工对公司的评价主要是对公司的工作环境、发展机会等的评价;公司对员工的评价主要是对员工的工作表现和潜力的评价。
- 决策:根据对员工的评估和双向评价结果,公司将决定是否转正。
4. 转正确认阶段:- 转正面谈:公司将与员工进行面谈,对员工的转正意愿和福利待遇进行沟通。
- 确认转正:公司将根据面谈的结果,确认员工的转正,并给予转正通知。
- 转正福利待遇:公司将根据员工的工作表现和市场薪资水平,确定员工的转正福利待遇,如薪资、福利、品牌推进计划等。
5. 员工发展阶段:- 培训机会:公司将为转正员工提供进一步的培训机会,以提高员工的职业能力和发展潜力。
- 职业规划:公司将与员工进行职业规划,帮助员工明确自己的职业发展目标和路径。
- 工作分配:公司将根据员工的能力和发展需求,合理安排员工的工作任务和岗位调整。
以上是员工三个月转正的流程图,这个流程图展示了员工从入职培训到转正确认的一系列流程和关键节点。
员工试用与转正管理流程编制日期审核日期批准日期修订记录3、工作程序3.1新员工办理入职手续、接受入职培训3.1.1工作程序:1)新员工办理完入职手续后,进入试用期。
2)新员工参加由行政人力中心/综合行政部组织的对新员工进行公司发展史、公司组织架构、企业文化、理念、公司战略规划、各项人事行政制度等的介绍。
使新员工感受企业文化、了解公司情况,更快融入企业。
3)行政人力中心/综合行政部与用人部门共同确定新员工引导人(一般由新员工直接上级担任,也可指定有丰富工作经验、品行兼优的骨干员工担任);4)引导人对新员工进行工作环境、制度流程、工作规范等方面的培训;5)部门经理每周与新员工面谈,根据实际情况对新员工的个人职业发展规划进行适当调整,总结成绩与不足及时调整改进,并发现新员工工作、生活上的困难,及时给予帮助。
3.2新员工试用期评价3.2.1工作程序:1)新员工试用期内,行政人力中心/综合行政部不定期(至少每月1次)同中心总经/部门经理或引导人以及新员工本人进行面谈,了解新员工的工作、生活状况,在此期间,如发现员工严重不符合招聘岗位需求,应上报并予以劝退;2)新员工在转正前10日就试用期的工作表现和工作业绩形成试用期工作总结,报中心(部门)经理审核后交行政人力中心/综合行政部。
由中心总经理/部门经理针对新员工试用期间对公司制度、流程、专业技能、岗位工作标准、职责、岗位素质等方面的掌握程度做出书面评价,并报主管领导审核后交行政人力中心/综合行政部;行政人力中心/综合行政部对新员工进行公司流程、制度考核对应表单:《新员工试用期工作评价及转正定级审批表》3)行政人力中心/综合行政部会同新员工所在中心总经理/部门经理,根据面谈情况、公司流程制度考核情况、新员工转正总结、新员工试用期工作评价表、试用期间考勤等形成新员工转正及定级意见,提出新员工工作中存在的问题和不足及改进方向,填写《新员工试用期工作评价及转正定级审批表》,给出是否录用的建议,报上报领导逐级审批,审批权限如下表所示:●代表审批,空代表不审批,审批顺序从左到右依次进行4)按领导批示意见,及时通知新员工办理转正手续(或办理终止试用手续)。
试用转正流程图
每月1日,人力资源部提供转正名单给相关人员及其经理
2日前,被考核人根据《员工转正考核表》自评,并写评语
4日前,被考核人将《员工转正考核表》交直接经理,由直接经理考核并写评语。
直接经理在考评时要与该员工进行面谈,其考核意见应得到员工的认可,未经认可的意见由部门经理协调
7日前,部门经理根据员工及其直接经理的意见,确定考核结果,填写《人事变动表》,并报人力资源部批准
20日前,人力资源部根据部门经理及公司领导意见,给被考核人出具《转正通知单》,重要的职位变化同时在全公司范围内通告考核不合格,延长试用期或终止试用。